Intended use
Your Black & Decker inflator is designed to be used in and around the home using its 230 Volt cord or it's own 12 Volt dc cord in most vehicles using its 12 Volt adaptor to inflate car and bike tyres, balls etc. This product is intended for household, consumer use only.
Features
- Storage compartment cover
- Pressure gauge
- Air hose with universal valve adaptor
- 12 Volt dc cord and adaptor
- 230 Volt ac cord and plug
Use
Air hose and cord storage
The air hose (3) and the ac cord (5) are stored in the storage compartment (1) on top of the Inflator (fig. A).
![Black & Decker - Air Station ASI300 - Use - Air hose and cord storage - Step 1 Use - Air hose and cord storage - Step 1]()
The holes in both sides of the cover (1) allow for the hose and cord to exit from the compartment so that the compartment cover can be closed while the Inflator is in use. The dc cord (4) is stored in the storage compartment (9) (fig. D) at the rear of the inflator.
![Black & Decker - Air Station ASI300 - Use - Air hose and cord storage - Step 2 Use - Air hose and cord storage - Step 2]()
Fitting the accessories
(fig. B & E)
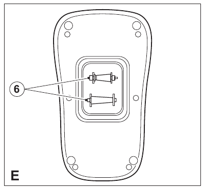
Your inflator is supplied with the standard tapered nozzles and the needle inflator nozzle (6), these are located on the base of the unit (fig. E).
![Black & Decker - Air Station ASI300 - Fitting the accessories - Step 1 Fitting the accessories - Step 1]()
- To use the universal valve adaptor, make sure that the lever is in the up position.
- Place the valve adapter over the stem of the inflation needle or tapered nozzle (fig. B).
![Black & Decker - Air Station ASI300 - Fitting the accessories - Step 2 Fitting the accessories - Step 2]()
- Press the lever on the valve adapter down to lock it in place.
- Place the inflation needle or tapered nozzle into the item to be inflated.
Note: Always make sure that the lever is in the up position when not in use.
Operate your Inflator only with the universal valve adaptor or with the included nozzles.
Note: Make sure that the universal valve adaptor is firmly locked in place before turning the Inflator on.
Many inflatables have an internal flap that prevents air loss during inflation. Unless this flap is displaced by the nozzle the inflatable will not inflate. Push the nozzle firmly into the valve to make sure that you push this flap out of the way.
Store the inflation needle inside one of the tapered nozzles and snap the tapered nozzles into the storage slots located on the bottom of the Inflator (fig. E).
![]()
Excessive air pressure may cause a hazardous risk of bursting or personal injury. Check the manufacturer's maximum pressure rating for the items being inflated.
Note: If the pressure rating for the item being inflated is above 100 psi, note that the maximum run time is 10 minutes, leave to rest for 20 minutes before re-use.
Pressure gauge
(fig. C)
![Black & Decker - Air Station ASI300 - Pressure gauge Pressure gauge]()
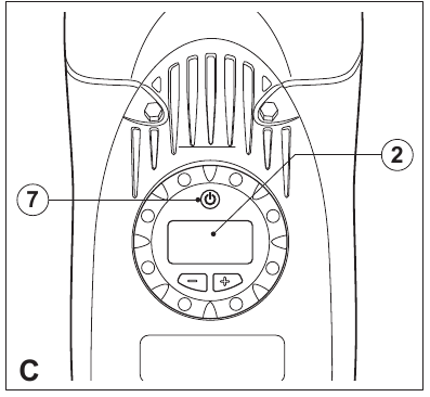
Your Inflator is equipped with a built-in pressure gauge (2) that will automatically shut off when a predetermined air pressure is reached. The gauge, which is located on the top of the Inflator, will give a pressure reading in psi, bar or kPa. In the case of vehicle tyres, it is recommended that the pressure reading be verified by checking with a separate tyre gauge.
Powering the unit
(fig. C and D)
![]()
Do not operate the unit from both power sources at the same time.
230 Vac mode
Always fully extend the 230 Vac cord before each use.
- Connect the 230 Volt cord (5) to a suitable mains supply.
12 Vdc mode
![]()
Do not operate the inflator when the car engine is running.
Note: Make sure that your 12 Volt accessory socket is live. On some vehicles the accessory socket may only become live when the ignition key is in the accessory position.
- Always fully extend the 12 Vdc cord before each use.
- Connect the 12 Volt cord to the socket (8) in the storage compartment and plug the 12 Volt adaptor (4) into your vehicle's 12 Volt accessory socket.
Setting the required pressure
(fig. C)
![]()
Do not leave the inflator running unattended. It could burst tyres or other items.
Note: You must set the automatic shut-off feature before the unit will operate.
When you connect to either an ac or dc power source the digital display will be illuminated.
- Press and hold - and + buttons at the same time to select the required units, psi bar or kPa.
![]()
Excessive air pressure may cause a hazardous risk of bursting or personal injury. Check the manufacturer's maximum pressure rating for items being inflated.
- Press the - or + buttons to set the pressure that you require.
- When set, the LCD will flash for 3 seconds and the digital display will show zero.
- Connect the universal valve adaptor and accessories if required to the item to be inflated making sure that the lever of the valve adaptor is in the down position to lock it in place.
- To turn the inflator on, press the on off switch (7) located on the digital gauge.
Note: If the power source is removed all of the settings will be lost and will need to be re-entered following the instructions under the heading 'Setting the required pressure'.
- When the item being inflated has reached the pre-set value the unit will automatically turn off.
Note: To turn the inflator off at any time, press the on/off switch (7) located on the digital gauge.
- Remove the valve adaptor or accessory from the inflated item and disconnect the unit from the power source.
Using your inflator as a pressure gauge
- Make sure that the unit is powered as described in the section 'Powering the unit'.
- Connect the universal valve adaptor and accessories if required to the item to be inflated, making sure that the lever of the valve adaptor is in the down position to lock it in place.
- The display will now display the actual pressure value in the item.
Maintenance
Your Black & Decker tool has been designed to operate over a long period of time with a minimum of maintenance. Continuous satisfactory operation depends upon proper tool care and regular cleaning.
![]()
Before performing any maintenance or cleaning on the appliance, unplug the appliance.
- From time to time wipe the appliance with a damp cloth. Do not use any abrasive or solvent-based cleaner. Do not immerse the appliance in water.
Troubleshooting
| Problem | Possible cause | Possible solution |
| Appliance will not start. | Cord is not plugged in. | Plug the tool into a working outlet. |
| | Automatic shut-off value not set. | Set the automatic shutoff feature. |
| | Preset value may be below the actual pressure. | Adjust the preset value to a higher value. |
| | The fuse in the 12 Volt adaptor is blown. | Replace the fuse with one of the same size and type (8A/250V). |
| | Cord or switch is damaged. | Have the cord or switch replaced at a Black & Decker Service Centre or Authorized Service Centre. |
Mains plug replacement
(U.K. & Ireland only)
If a new mains plug needs to be fitted:
- Safely dispose of the old plug.
- Connect the brown lead to the live terminal in the new plug.
- Connect the blue lead to the neutral terminal.
![]()
No connection is to be made to the earth terminal. Follow the fitting instructions supplied with good quality plugs. Recommended fuse: 3 A.
Technical data
| | ASI300 |
| Input voltage | Vac/Vdc 230/12 |
| Input current | A 0.5/8 |
| Noise value | db 84 |
| Pressure (max) | kPa / psi / bar 1103 / 160 / 11.03 |
| Weight | kg 1.93 |
Safety instructions
![]()
When using mains-powered appliances, basic safety precautions, including the following, should always be followed to reduce the risk of fire, electric shock, personal injury and material damage.
- Read all of this manual carefully before using the appliance.
- The intended use is described in this manual. The use of any accessory or attachment or the performance of any operation with this appliance other than those recommended in this instruction manual may present a risk of personal injury.
- Retain this manual for future reference.
Using your appliance
Always take care when using the appliance.
- This appliance is not intended for use by young or infirm persons without supervision.
- The appliance is not to be used as a toy.
- Do not allow children or animals to come near the work area or touch the appliance or power supply cord.
- Close supervision is necessary when the appliance is used near children.
- Use in a dry location only. Do not allow the appliance to become wet.
- Do not immerse the appliance in water.
- Do not open body casing. There are no userserviceable parts inside.
- Do not operate the appliance in explosive atmospheres, such as in the presence of flammable liquids, gases or dust.
- To reduce the risk of damage to plugs and cords never pull the cable to remove the plug from a socket.
Safety of others
- This appliance is not intended for use by persons (including children) with reduced physical, sensory or mental capabilities, or lack of experience and knowledge, unless they have been given supervision or instruction concerning use of the appliance by a person responsible for the their safety.
- Children should be supervised to ensure that they do not play with the appliance.
After use
- When not in use, the appliance should be stored in a dry, well ventilated place out of the reach of children.
- Children should not have access to stored appliances.
- When the appliance is stored or transported in a vehicle it should be placed in the boot or restrained to prevent movement following sudden changes in speed or direction.
Inspection and repairs
- Before use, check the appliance for damaged or defective parts. Check for breakage of parts, damage to switches and any other conditions that may affect its operation.
- Do not use the appliance if any part is damaged or defective.
- Have any damaged or defective parts repaired or replaced by an authorised repair agent.
- Never attempt to remove or replace any parts other than those specified in this manual.
Additional safety instructions for inflators
- For home and car use only. Inflate car and bike tyres, balls, swimming pool floats and more in and around the home.
- The compressed air from your inflator is not safe for breathing. Never inhale air from your inflator or from a breathing device connected to the inflator.
- Inflate items only to their manufacturer's recommendations. Exceeding the pressure rating could cause them to explode resulting in personal injury.
- Do not leave the inflator running unattended. It could burst tyres or other items.
- Since the vibrations produced by the inflator may cause it to "walk", do not operate on a high shelf or other surface. Operate at ground or bench level only.
- Do not modify or attempt to repair. Never drill into, weld, or make any modifications to the inflator or its attachments.
- Do not operate the inflator when the engine is running.
- Operate only with the accessories included or those rated for 11.03 bar/160 psi or higher. The use of any accessory not recommended for use with this tool could be hazardous.
- Do not play with the tool. High pressure air is dangerous. Do not direct air-flow at yourself or others.
- The inflator can become hot during use. Allow the inflator to cool for 30 minutes before storing away.
- Never carry the inflator by the hose.
- Do not direct the nozzle or hose at animals or bystanders.
- Store the inflator out of reach of small children.
- The gauge is intended as a guide only. Tyre pressures should be regularly checked with a certified gauge.
- Before use, check the power supply cord for signs of damage, ageing and wear.
- Do not use the appliance if the power supply cord or mains plug is damaged or defective (where applicable).
Electrical safety
![]()
This tool/appliance is double insulated; therefore no earth wire is required. Always check that the power supply corresponds to the voltage on the rating plate.
Electrical safety can be further improved by using a high sensitivity (30mA / 30mS) Residual Current Device (RCD).
If the supply cord is damaged, it must be replaced by the manufacturer or an authorised Black & Decker Service Centre in order to avoid a hazard.
The following warning symbols are found on the tool/ appliance:
![]() | Read the instruction manual before using the inflator. |
![]() | Do not expose the appliance to rain or high humidity. |
![]() | Before performing maintenance or cleaning on the appliance, unplug the supply cord. |
![]() | Do not leave the inflator unattended. |
Please visit our website www.blackanddecker.co.uk to register your new Black & Decker product and to be kept up to date on new products and special offers. Further information on the Black & Decker brand and our range of products is available at www.blackanddecker.co.uk.
Here you can download full pdf version of manual, it may contain additional safety instructions, warranty information, FCC rules, etc.
Need help?
Do you have a question about the Air Station ASI300 and is the answer not in the manual?
Questions and answers