Makita DSS610, DSS611, DSS610RMJ, DSS610Z, DSS610ZJ Manual
![]()
SPECIFICATIONS
| Model | DSS610 | DSS611 |
| Blade diameter | 165 mm |
| Max. Cutting depth | at 90° | 57 mm |
| at 45° | 40 mm |
| at 50° | 36 mm |
| No load speed (min-1) | 3,700 |
| Overall length | 347 mm |
| Net weight | 3.0 - 3.4 kg | 2.9 - 3.2 kg |
| Rated voltage | D.C. 18V |
- Due to our continuing program of research and development, the specifications herein are subject to change without notice.
- Specifications may differ from country to country.
- The weight may differ depending on the attachment(s), including the battery cartridge. The lightest and heaviest combination, according to EPTA-Procedure 01/2014, are shown in the table.
| Applicable battery cartridge and charger |
| Battery cartridge | BL1815N/BL1820B/BL1830B/BL1840B/BL1850B/BL1860B |
| Charger | DC18RC/DC18RD/DC18RE/DC18SD/DC18SE/DC18SF/DC18SH/DC18WC |
- Some of the battery cartridges and chargers listed above may not be available depending on your region of residence.
![burn hazard]()
![]()
![burn hazard]()
- Only use the battery cartridges and chargers listed above. Use of any other battery cartridges and chargers may cause injury and/or fire.
Intended use
The tool is intended for performing lengthways and crossways straight cuts and mitre cuts with angles in wood while in firm contact with the workpiece.
![burn hazard]()
![]()
![burn hazard]()
Read all safety warnings, instructions, illustrations and specifications provided with this power tool. Failure to follow all instructions listed below may result in electric shock, fire and/or serious injury.
Save all warnings and instructions for future reference.
The term "power tool" in the warnings refers to your mains-operated (corded) power tool or battery-operated (cordless) power tool.
Cutting procedures
![]()
Keep hands away from cutting area and the blade. Keep your second hand on auxiliary handle, or motor housing. If both hands are holding the saw, they cannot be cut by the blade. - Do not reach underneath the workpiece. The guard cannot protect you from the blade below the workpiece.
- Adjust the cutting depth to the thickness of the workpiece. Less than a full tooth of the blade teeth should be visible below the workpiece.
- Never hold the workpiece in your hands or across your leg while cutting. Secure the workpiece to a stable platform. It is important to support the work properly to minimise body exposure, blade binding, or loss of control.(Fig. 1)
![Makita - DSS610 - Securing the workpiece for cutting Securing the workpiece for cutting]()
Hold the power tool by insulated gripping surfaces, when performing an operation where the cutting tool may contact hidden wiring or its own cord. Contact with a "live" wire will also make exposed metal parts of the power tool "live" and could give the operator an electric shock. - When ripping, always use a rip fence or straight edge guide. This improves the accuracy of cut and reduces the chance of blade binding.
- Always use blades with correct size and shape (diamond versus round) of arbour holes. Blades that do not match the mounting hardware of the saw will run off-centre, causing loss of control.
- Never use damaged or incorrect blade washers or bolt. The blade washers and bolt were specially designed for your saw, for optimum performance and safety of operation.
Kickback causes and related warnings
- kickback is a sudden reaction to a pinched, jammed or misaligned saw blade, causing an uncontrolled saw to lift up and out of the workpiece toward the operator;
- when the blade is pinched or jammed tightly by the kerf closing down, the blade stalls and the motor reaction drives the unit rapidly back toward the operator;
- if the blade becomes twisted or misaligned in the cut, the teeth at the back edge of the blade can dig into the top surface of the wood causing the blade to climb out of the kerf and jump back toward the operator.
Kickback is the result of saw misuse and/or incorrect operating procedures or conditions and can be avoided by taking proper precautions as given below.
- Maintain a firm grip with both hands on the saw and position your arms to resist kickback forces. Position your body to either side of the blade, but not in line with the blade. Kickback could cause the saw to jump backwards, but kickback forces can be controlled by the operator, if proper precautions are taken.
- When blade is binding, or when interrupting a cut for any reason, release the trigger and hold the saw motionless in the material until the blade comes to a complete stop. Never attempt to remove the saw from the work or pull the saw backward while the blade is in motion or kickback may occur. Investigate and take corrective actions to eliminate the cause of blade binding.
- When restarting a saw in the workpiece, centre the saw blade in the kerf so that the saw teeth are not engaged into the material. If a saw blade binds, it may walk up or kickback from the workpiece as the saw is restarted.
- Support large panels to minimise the risk of blade pinching and kickback. Large panels tend to sag under their own weight. Supports must be placed under the panel on both sides, near the line of cut and near the edge of the panel. (Fig. 2 & 3)
![Makita - DSS610 - Correct cutting of large panels Correct cutting of large panels]()
![Makita - DSS610 - Incorrect cutting of large panels Incorrect cutting of large panels]()
- Do not use dull or damaged blades. Unsharpened or improperly set blades produce narrow kerf causing excessive friction, blade binding and kickback.
- Blade depth and bevel adjusting locking levers must be tight and secure before making the cut. If blade adjustment shifts while cutting, it may cause binding and kickback.
- Use extra caution when sawing into existing walls or other blind areas. The protruding blade may cut objects that can cause kickback.
- ALWAYS hold the tool firmly with both hands. NEVER place your hand, leg or any part of your body under the tool base or behind the saw, especially when making cross-cuts. If kickback occurs, the saw could easily jump backwards over your hand, leading to serious personal injury. (Fig. 4)
![Makita - DSS610 - Holding the tool correctly Holding the tool correctly]()
- Never force the saw. Push the saw forward at a speed so that the blade cuts without slowing. Forcing the saw can cause uneven cuts, loss of accuracy, and possible kickback.
Lower guard function
- Check the lower guard for proper closing before each use. Do not operate the saw if the lower guard does not move freely and close instantly. Never clamp or tie the lower guard into the open position. If the saw is accidentally dropped, the lower guard may be bent. Raise the lower guard with the retracting handle and make sure it moves freely and does not touch the blade or any other part, in all angles and depths of cut.
- Check the operation of the lower guard spring. If the guard and the spring are not operating properly, they must be serviced before use. Lower guard may operate sluggishly due to damaged parts, gummy deposits, or a build-up of debris.
- The lower guard may be retracted manually only for special cuts such as "plunge cuts" and "compound cuts". Raise the lower guard by the retracting handle and as soon as the blade enters the material, the lower guard must be released. For all other sawing, the lower guard should operate automatically.
- Always observe that the lower guard is covering the blade before placing the saw down on bench or floor. An unprotected, coasting blade will cause the saw to walk backwards, cutting whatever is in its path. Be aware of the time it takes for the blade to stop after switch is released.
- To check lower guard, open lower guard by hand, then release and watch guard closure. Also check to see that retracting handle does not touch tool housing. Leaving blade exposed is VERY DANGEROUS and can lead to serious personal injury.
Additional safety warnings
- Use extra caution when cutting damp wood, pressure treated lumber, or wood containing knots. Maintain smooth advancement of tool without decrease in blade speed to avoid overheating the blade tips.
- Do not attempt to remove cut material when blade is moving. Wait until blade stops before grasping cut material. Blades coast after turn off.
- Avoid cutting nails. Inspect for and remove all nails from lumber before cutting.
- Place the wider portion of the saw base on that part of the workpiece which is solidly supported, not on the section that will fall off when the cut is made. If the workpiece is short or small, clamp it down. DO NOT TRY TO HOLD SHORT PIECES BY HAND! (Fig. 5)
![Makita - DSS610 - Cutting short workpieces Cutting short workpieces]()
- Before setting the tool down after completing a cut, be sure that the guard has closed and the blade has come to a complete stop.
- Never attempt to saw with the circular saw held upside down in a vise. This is extremely dangerous and can lead to serious accidents. (Fig. 6)
![Makita - DSS610 - Never saw with the saw held upside down in a vise Never saw with the saw held upside down in a vise]()
- Some material contains chemicals which may be toxic. Take caution to prevent dust inhalation and skin contact. Follow material supplier safety data.
- Do not stop the blades by lateral pressure on the saw blade.
- Do not use any abrasive wheels.
- Only use the saw blade with the diameter that is marked on the tool or specified in the manual. Use of an incorrectly sized blade may affect the proper guarding of the blade or guard operation which could result in serious personal injury.
- Keep blade sharp and clean. Gum and wood pitch hardened on blades slows saw and increases potential for kickback. Keep blade clean by first removing it from tool, then cleaning it with gum and pitch remover, hot water or kerosene. Never use gasoline.
- Wear a dust mask and hearing protection when use the tool.
- Always use the saw blade intended for cutting the material that you are going to cut.
- Only use the saw blades that are marked with a speed equal or higher than the speed marked on the tool.
- (For European countries only)
Always use the blade which conforms to EN847-1, if intended for wood and analogous materials. - Place the tool and the parts on a flat and stable surface. Otherwise the tool or the parts may fall and cause an injury.
SAVE THESE INSTRUCTIONS.
![]()
DO NOT let comfort or familiarity with product (gained from repeated use) replace strict adherence to safety rules for t he subject product. MISUSE or failure to follow the safety rules stated in this instruction manual may cause serious personal injury.
FUNCTIONAL DESCRIPTION
![]()
Always be sure that the tool is switched off and the battery cartridge is removed before adjusting or checking function on the tool.
Installing or removing battery cartridge
![]()
- Always switch off the tool before installing or removing of the battery cartridge.
- Hold the tool and the battery cartridge firmly when installing or removing battery cartridge. Failure to hold the tool and the battery cartridge firmly may cause them to slip off your hands and result in damage to the tool and battery cartridge and a personal injury.
![Makita - DSS610 - Installing or removing battery cartridge Installing or removing battery cartridge]()
- Red indicator
- Button
- Battery cartridge
(Fig. 7)
To remove the battery cartridge, slide it from the tool while sliding the button on the front of the cartridge.
To install the battery cartridge, align the tongue on the battery cartridge with the groove in the housing and slip it into place. Insert it all the way until it locks in place with a little click. If you can see the red indicator on the upper side of the button, it is not locked completely.
![]()
- Always install the battery cartridge fully until the red indicator cannot be seen. If not, it may accidentally fall out of the tool, causing injury to you or someone around you.
- Do not install the battery cartridge forcibly. If the cartridge does not slide in easily, it is not being inserted correctly.
The tool is equipped with a tool/battery protection system. This system automatically cuts off the power to extend tool and battery life. The tool will automatically stop during operation if the tool or battery is placed under one of the following conditions:
Overload protection
This protection works when the tool is operated in a manner that causes it to draw an abnormally high current. In this situation, turn the tool off and stop the application that caused the tool to become overloaded. Then turn the tool on to restart.
Overheat protection
This protection works when the tool or battery is overheated. In this situation, let the tool and battery cool before turning the tool on again.
Overdischarge protection
This protection works when the remaining battery capacity gets low. In this situation, remove the battery from the tool and charge the battery.
Indicating the remaining battery capacity
![Makita - DSS610 - Indicating the remaining battery capacity Indicating the remaining battery capacity]()
- Indicator lamps
- Check button
Only for battery cartridges with the indicator (Fig. 8)
Press the check button on the battery cartridge to indicate the remaining battery capacity. The indicator lamps light up for a few seconds.
| Indicator lamps | Remaining capacity |
![]() Lighted | ![]() Off | ![]() Blinking |
| 75% to 100% |
| 50% to 75% |
| 25% to 50% |
| 0% to 25% |
| Charge the battery. |
| The battery may have malfunctioned. |
NOTE:
- Depending on the conditions of use and the ambient temperature, the indication may differ slightly from the actual capacity.
- The first (far left) indicator lamp will blink when the battery protection system works.
Adjusting depth of cut
![]()
- After adjusting the depth of cut, always tighten the lever securely.
![Makita - DSS610 - FUNCTIONAL DESCRIPTION - Adjusting depth of cut FUNCTIONAL DESCRIPTION - Adjusting depth of cut]()
- Lever
(Fig. 9)
Loosen the lever on the side of the rear handle and move the base up or down. At the desired depth of cut, secure the base by tightening the lever.
For cleaner, safer cuts, set cut depth so that no more than one blade tooth projects below workpiece. Using proper cut depth helps to reduce potential for dangerous KICKBACKS which can cause personal injury.
Bevel cutting
![Makita - DSS610 - FUNCTIONAL DESCRIPTION - Bevel cutting FUNCTIONAL DESCRIPTION - Bevel cutting]()
- Lever
![Makita - DSS610 - FUNCTIONAL DESCRIPTION - Bevel cutting with DSS610 FUNCTIONAL DESCRIPTION - Bevel cutting with DSS610]()
- Stopper
(Fig. 10)
For Model DSS610 (Fig. 11)
Loosen the lever on the bevel scale plate on the front base. Set for the desired angle (0° – 50°) by tilting accordingly, then tighten the lever securely. Use the 45° stopper when you do precise 45° angle cutting. Turn the stopper counterclockwise fully for bevel cut (0° - 45°) and turn it clockwise for 0° - 50° bevel cuts.
For Model DSS611
Loosen the lever on the bevel scale plate on the front base. Set for the desired angle (0° – 50°) by tilting accordingly, then tighten the lever securely.
Sighting
![Makita - DSS610 - FUNCTIONAL DESCRIPTION - Sighting FUNCTIONAL DESCRIPTION - Sighting]()
- Cutting line
(Fig. 12)
For straight cuts, align the A position on the front of the base with your cutting line. For 45° bevel cuts, align the B position with it.
Switch action
![]()
- Before inserting the battery cartridge into the tool, always check to see that the switch trigger actuates properly and returns to the "OFF" position when released.
- Do not pull the switch trigger hard without pressing the lock-off lever. This can cause switch breakage. To prevent the switch trigger from being accidentally pulled, a lock-off lever is provided. To start the tool, press the lock-off lever and pull the switch trigger. Release the switch trigger to stop.
![]()
- For your safety, this tool is equipped with lock-off lever which prevents the tool from unintended starting. NEVER use the tool if it runs when you simply pull the switch trigger without pressing the lock-off lever. Return tool a MAKITA service center for proper repairs BEFORE further usage.
- NEVER tape down or defeat purpose and function of lock-off lever.
![Makita - DSS610 - FUNCTIONAL DESCRIPTION - Switch action FUNCTIONAL DESCRIPTION - Switch action]()
(Fig. 13)
- Switch trigger
- Lock-off lever
Lighting the lamp
For Model DSS610 only
![]()
Do not look in the light or see the source of light directly.
Only to turn on the light, pull the switch trigger without pressing the lock-off lever. To turn on the light and run the tool, press the lock-off lever and pull the switch trigger with the lock-off lever being pressed.
NOTE:
- Use a dry cloth to wipe the dirt off the lens of lamp. Be careful not to scratch the lens of lamp, or it may lower the illumination.
- Do not use gasoline, thinner or the like to clean the lens of lamp. Using such substances will damage the lens.
ASSEMBLY
![]()
Always be sure that the tool is switched off and the battery cartridge is removed before carrying out any work on the tool.
Installing and removing the blade
![]()
- Be sure the circular saw blade is installed with teeth pointing up at the front of the tool.
- Use only the Makita wrench to install or remove the circular saw blade.
Installing the blade
NOTE:
- The circular saw blade may have already been installed at the time of shipment.
To install the circular saw blade, do the following steps.
- Loosen the lever on the side of the rear handle and move the base down.
- Press the shaft lock fully so that the mounting shaft cannot revolve and use the wrench to loosen the hex bolt. Then remove the hex bolt and outer flange. (Fig. 14)
- Lever
- Shaft lock
- Hex wrench
- Tighten
- Loosen
- Install the inner flange, ring (country specific), circular saw blade, outer flange and hex bolt. At this time, align the direction of the arrow on the blade with the arrow on the tool.
For tool without the ring (Fig. 15)
For tool with the ring (Fig. 16)
- Inner flange
- Circular saw blade
- Outer flange
- Hex bolt
- Arrow on the tool
- Arrow on the circular saw blade
- Press the shaft lock and tighten the hex bolt.
![]()
- BE SURE TO TIGHTEN THE HEX BOLT SECURELY.
Also be careful not to tighten the bolt forcibly.
Slipping your hand from the hex wrench can cause a personal injury. - If the ring is needed to mount the blade onto the spindle, always be sure that the correct ring for the blade's arbor hole you intend to use is installed between the inner and the outer flanges. Use of the incorrect arbor hole ring may result in the improper mounting of the blade causing blade movement and severe vibration resulting in possible loss of control during operation and in serious personal injury.
Removing the blade
- Loosen the lever on the side of the rear handle and move the base down.
- Press the shaft lock fully so that the mounting shaft cannot revolve and use the wrench to loosen the hex bolt. Then remove the hex bolt, outer flange, circular saw blade and ring (country specific).
- When storing the tool, install the outer flange and lightly tighten the hex bolt by hand to prevent loss.
Blade guard cleaning
When changing the circular saw blade, make sure to also clean the upper and lower blade guards of accumulated sawdust as discussed in the Maintenance section. Such efforts do not replace the need to check lower guard operation before each use.
Hex wrench storage
![Makita - DSS610 - ASSEMBLY - Hex wrench storage ASSEMBLY - Hex wrench storage]()
- Hex wrench
(Fig. 17)
When not in use, store the hex wrench as shown in the figure to keep it from being lost.
Connecting a vacuum cleaner
![Makita - DSS610 - ASSEMBLY - Connecting a vacuum cleaner ASSEMBLY - Connecting a vacuum cleaner]()
- Dust nozzle
- Screw
Optional accessory (Fig. 18)
When you wish to perform clean cutting operation, connect a Makita vacuum cleaner to your tool. Install the dust nozzle on the tool using the screw. Then connect a hose of the vacuum cleaner to the dust nozzle as shown in the figure.
OPERATION
![]()
- Always insert the battery cartridge all the way until it locks in place. If you can see the red part on the upper side of the button, it is not locked completely. Insert it fully until the red part cannot be seen. If not, it may accidentally fall out of the tool, causing injury to you or someone around you.
- Be sure to move the tool forward in a straight line gently. Forcing or twisting the tool will result in overheating the motor and dangerous kickback, possibly causing severe injury.
- If the tool is operated continuously until the battery cartridge has discharged, allow the tool to rest for 15 minutes before proceeding with a fresh battery.
![Makita - DSS610 - OPERATION - Operating the tool OPERATION - Operating the tool]()
- Base
- Rear handle
- Front grip
(Fig. 20)
Hold the tool firmly. The tool is provided with both a front grip and rear handle. Use both to best grasp the tool. If both hands are holding saw, they cannot be cut by the blade. Set the base on the workpiece to be cut without the blade making any contact. Then turn the tool on and wait until the blade attains full speed. Now simply move the tool forward over the workpiece surface, keeping it flat and advancing smoothly until the sawing is completed. To get clean cuts, keep your sawing line straight and your speed of advance uniform. If the cut fails to properly follow your intended cut line, do not attempt to turn or force the tool back to the cut line. Doing so may bind the blade and lead to dangerous kickback and possible serious injury. Release switch, wait for blade to stop and then withdraw tool. Realign tool on new cut line, and start cut again. Attempt to avoid positioning which exposes operator to chips and wood dust being ejected from saw. Use eye protection to help avoid injury.
![Makita - DSS610 - OPERATION - Installing the rip fence OPERATION - Installing the rip fence]()
- Clamping screw
- Rip fence (Guide rule)
Rip fence (Guide rule) (Fig. 21)
The handy rip fence allows you to do extra-accurate straight cuts. Simply slide the rip fence up snugly against the side of the workpiece and secure it in position with the screw on the front of the base. It also makes repeated cuts of uniform width possible.
MAINTENANCE
![]()
- Always be sure that the tool is switched off and the battery cartridge is removed before attempting to perform inspection or maintenance.
- Clean out the guard to ensure there is no accumulated sawdust and chips which may impede the operation of the guarding system. A dirty guarding system may limit the proper operation which could result in serious personal injury. The most effective way to accomplish this cleaning is with compressed air. If the dust is being blown out of the guard, be sure the proper eye and breathing protection is used.
- Never use gasoline, benzine, thinner, alcohol or the like. Discoloration, deformation or cracks may result.
Adjusting for accuracy of 90-degree vertical cut and 45-degree cut
For Model DSS610
This adjustment has been made at the factory. But if it is off, adjust the adjusting screws with a hex wrench while inspecting 90° or 45° the blade with the base using a triangular rule or square rule, etc.
Adjusting for accuracy of 90-degree vertical cut
![Makita - DSS610 - Adjusting for accuracy of vertical cut - Step 1 Adjusting for accuracy of vertical cut - Step 1]()
- Adjusting screw for 45° (DSS610 only)
- Adjusting screw for 90°
![Makita - DSS610 - Adjusting for accuracy of vertical cut - Step 2 Adjusting for accuracy of vertical cut - Step 2]()
- Triangular rule
For Model DSS611
This adjustment has been made at the factory. But if it is off, adjust the adjusting screws with a hex wrench while inspecting 90° the blade with the base using a triangular rule or square rule, etc. (Fig. 22 & 23)
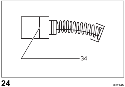
Replacing carbon brushes
![Makita - DSS610 - Replacing carbon brushes - Step 1 Replacing carbon brushes - Step 1]()
- Limit mark
Remove and check the carbon brushes regularly. Replace when they wear down to the limit mark. Keep the carbon brushes clean and free to slip in the holders. Both carbon brushes should be replaced at the same time. Use only identical carbon brushes. (Fig. 24)
![Makita - DSS610 - Replacing carbon brushes - Step 2 Replacing carbon brushes - Step 2]()
- Brush holder cap
- Screwdriver
Use a screwdriver to remove the brush holder caps. Take out the worn carbon brushes, insert the new ones and secure the brush holder caps. (Fig. 25)
To maintain product SAFETY and RELIABILITY, repairs, any other maintenance or adjustment should be performed by Makita Authorized Service Centers, always using Makita replacement parts.
OPTIONAL ACCESSORIES
![]()
These accessories or attachments are recommended for use with your Makita tool specified in this manual. The use of any other accessories or attachments might present a risk of injury to persons. Only use accessory or attachment for its stated purpose.
If you need any assistance for more details regarding these accessories, ask your local Makita Service Center.
- Saw blades
- Rip fence (Guide rule)
- Hex wrench 5
- Dust nozzle
- Makita genuine battery and charger
NOTE:
- Some items in the list may be included in the tool package as standard accessories. They may differ from country to country.
Noise
The typical A-weighted noise level determined according to EN62841-2-5:
Model DSS610
Sound pressure level (LpA): 94 dB (A)
Sound power level (LWA): 102 dB (A) Uncertainty (K): 3 dB (A)
Model DSS611
Sound pressure level (LpA): 96 dB (A)
Sound power level (LWA): 104 dB (A)
Uncertainty (K): 3 dB (A)
- The declared noise emission value(s) has been measured in accordance with a standard test method and may be used for comparing one tool with another.
- The declared noise emission value(s) may also be used in a preliminary assessment of exposure.
![]()
- Wear ear protection.
- The noise emission during actual use of the power tool can differ from the declared value(s) depending on the ways in which the tool is used especially what kind of workpiece is processed.
- Be sure to identify safety measures to protect the operator that are based on an estimation of exposure in the actual conditions of use (taking account of all parts of the operating cycle such as the times when the tool is switched off and when it is running idle in addition to the trigger time).
Vibration
The vibration total value (tri-axial vector sum) determined according to EN62841-2-5:
Work mode: cutting wood
Vibration emission (ah, W): 2.5 m/s2 or less
Uncertainty (K): 1.5 m/s2
- The declared vibration total value(s) has been measured in accordance with a standard test method and may be used for comparing one tool with another.
- The declared vibration total value(s) may also be used in a preliminary assessment of exposure.
![]()
- The vibration emission during actual use of the power tool can differ from the declared value(s) depending on the ways in which the tool is used especially what kind of workpiece is processed.
- Be sure to identify safety measures to protect the operator that are based on an estimation of exposure in the actual conditions of use (taking account of all parts of the operating cycle such as the times when the tool is switched off and when it is running idle in addition to the trigger time).
Documents / Resources
Download manual
Here you can download full pdf version of manual, it may contain additional safety instructions, warranty information, FCC rules, etc.
Download Makita DSS610, DSS611, DSS610RMJ, DSS610Z, DSS610ZJ Manual
Need help?
Do you have a question about the DSS610 and is the answer not in the manual?
Questions and answers