Advertisement


*Included with select models. Picture may vary from product depending on model.
| ACCESSORY | USE TO MIX | SUGGESTED ITEMS |
| Flat Beater | Normal to heavy mixtures | Cakes, biscuits, creamed frostings, quick breads, candies, meat loaf, cookies, mashed potatoes, pie pastry |
| Wire Whip | Mixtures that need air incorporated | Eggs, sponge cakes, egg whites, angel food cakes, heavy cream, mayonnaise, boiled frostings, some candies |
| Dough Hook | Mixing and kneading yest dough | Breads, coffee cakes, rolls, buns |
Your KitchenAid Stand Mixer will mix faster and more thoroughly than most other electric Stand Mixers. Therefore, the mixing time in most recipes must be adjusted to avoid overbeating. With cakes, for example, beating time may be half as long as with other Stand Mixers.
All speeds feature soft start operation, which minimizes splash-out and flour puff. The Stand Mixer will start slowly before increasing to the selected speed.
| SPEED | USED FOR | DESCRIPTION |
| Stir | Stir | For slow stirring, combining, mashing, and starting all mixing procedures. Use to add flour and dry ingredients to batter, and add liquids to dry ingredients. Do not use stir speed to mix or knead yeast doughs. |
| 2 | Slow mixing | For slow mixing, mashing, and faster stirring. Use to mix and knead yeast doughs, heavy batters, and candies; start mashing potatoes or other vegetables; cut shortening into flour; mix thin or splashy batters. |
| 4 | Mixing, Beating | For mixing semi-heavy batters, such as cookies. Use to combine sugar and shortening and to add sugar to egg whites for meringues. Medium speed for cake mixes. |
| 6 | Beating, Creaming | For medium-fast beating (creaming) or whipping. Use to finish mixing cake, doughnut, and other batters. High speed for cake mixes. |
| 8 | Fast beating, Whipping | For whipping cream, egg whites, and boiled frostings. |
| 10 | Fast whipping | For whipping small amounts of cream, egg whites, or for final whipping of mashed potatoes. |
NOTE: Use speed 2 to mix or knead yeast dough or fondants. Use of any other speed with heavy doughs may cause mixer to stop rotating to limit mixer damage. This is normal operation. If this occurs, turn the speed selector to off (Off/0), and then turn back on to a lower speed.
Electrical Shock Hazard
Plug into a grounded 3 prong outlet.
Do not remove ground prong.
Do not use an adapter.
Do not use an extension cord.
Failure to follow these instructions can result in death, fire, or electrical shock.
TO ATTACH BOWL
TO REMOVE BOWL
TO RAISE BOWL

TO LOWER BOWL
Rotate lever back and down.
TO ATTACH FLAT BEATER, WIRE WHIP, OR DOUGH HOOK
TO REMOVE FLAT BEATER, WIRE WHIP, OR DOUGH HOOK
COMMERCIAL STAND MIXER SPEED CONTROL AND LEVER GUARD
The soft start feature minimizes splash-out by starting the Stand Mixer slowly before increasing to the selected speed. To further reduce the potential for splash-out, always begin mixing using the stir speed, then gradually move to higher speeds as needed. See "Speed Control Guide" section.

AUTO-RESET MOTOR PROTECTION
If the Stand Mixer stops due to overload, slide the Speed Control Lever to off (Off/0). After a few minutes, the Stand Mixer will automatically reset. Slide the Speed Control Lever to the desired speed and continue mixing. If the Stand Mixer does not restart, see "Troubleshooting " section.
REMOVABLE POURING CHUTE*
The removable Pouring Chute* is easily attached to the front of the guard as shown in the illustration. It provides a convenient way to add ingredients to the Stand Mixer Bowl.

*Included with select models. Picture may vary from product depending on model.
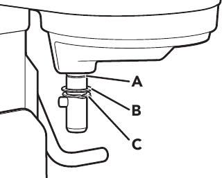
BEATER TO BOWL CLEARANCE
Your Stand Mixer is adjusted at the factory so the Flat Beater just clears the bottom of the Bowl. If, for any reason, the Flat Beater hits the bottom of the Bowl or is too far away from the Bowl, you can correct the clearance easily.
NOTE: When properly adjusted, the Flat Beater will not strike on the bottom or side of the Bowl. If the Flat Beater or the Wire Whip is so close that it strikes the bottom of the Bowl, the Flat Beater or Wire Whip may wear.
Injury Hazard
Unplug mixer before touching beaters.
Failure to do so can result in broken bones, cuts, or bruises.
NOTE: Do not scrape Bowl while Stand Mixer is operating.
The Bowl and beater are designed to provide thorough mixing without frequent scraping. Scraping the Bowl once or twice during mixing is usually sufficient. Turn Stand Mixer off (Off/0) before scraping.
The Stand Mixer may warm up during use. Under heavy loads with extended mixing time, you may not be able to comfortably touch the top of the Stand Mixer. This is normal.
If the Stand Mixer becomes overloaded, it will automatically shut off to prevent damage. See "Auto-Reset Motor Protection" section.
USING THE BOWL GUARD*
If your Stand Mixer comes with a Bowl Guard*, make sure that the guard is returned to the down position before beginning to use the Stand Mixer. The Stand Mixer will not run if the Bowl Guard is not in the proper position.

*Included with select models. Picture may vary from product depending on model.
USING YOUR RECIPES WITH THE MIXER
There are a number of methods that can be used for making cake with your KitchenAid Stand Mixer.
For example, the "quick mix" method (sometimes referred to as the "dump" method) is ideal for simple cakes, such as yellow cake and white cake. This method calls for combining dry ingredients with most or all liquid ingredients in one step.
More elaborate cakes, such as a torte, should be prepared using the traditional cake mixing method. With this method, sugar and the shortening, butter, or margarine are thoroughly mixed (creamed) before other ingredients are added. For all cakes, mixing times may change because your KitchenAid Stand Mixer works more quickly than other mixers. In general, mixing a cake with the KitchenAid Stand Mixer will take about half the time called for in most cake recipes.
To help determine the ideal mixing time, observe the batter or dough and mix only until it has the desired appearance described in your recipe, such as "smooth and creamy".
To select the best mixing speeds, see "Speed Control Guide" section.
ADDING INGREDIENTS
Always add ingredients as close to side of Bowl as possible, not directly into moving beater.
NOTE: If ingredients in very bottom of bowl are not thoroughly mixed, then the Flat Beater is not far enough into the Bowl. See "Beater to Bowl Clearance".
CAKE MIXES
When preparing packaged cake mixes, use speed 2 for low speed, speed 4 for medium speed, and speed 6 for high speed. For best results, mix for the time stated on the package directions.
ADDING NUTS, RAISINS, OR CANDIED FRUITS
In general, solid materials should be folded in the last few seconds of mixing on stir speed. The batter should be thick enough to prevent the fruit or nuts from sinking to the bottom of the pan during baking. Sticky fruits should be dusted with flour for better distribution in the batter.
LIQUID MIXTURES
Mixtures containing large amounts of liquid ingredients should be mixed at lower speeds to avoid splashing. Increase speed only after mixture has thickened.
Ingredients:
Allow the appliance to cool completely before putting on or taking off parts, and before cleaning the appliance.
To clean the drain hole in the Flat Beater, use a small round brush, toothpick, or skewer to run through the hole.
Electrical Shock Hazard
Plug into a grounded 3 prong outlet.
Do not remove ground prong.
Do not use an adapter.
Do not use an extension cord.
Failure to follow these instructions can result in death, fire, or electrical shock.
| PROBLEM | SOLUTION |
| If Stand Mixer warms up during use | Under heavy loads with extended mixing time periods, you may not be able to comfortably touch the top of the unit. This is normal. |
| The Stand Mixer may emit a pungent odor, especially when new | This is common with electric motors. |
| If the Flat Beater hits the Bowl, stop the Stand Mixer | See "Beater to Bowl Clearance" section. |
| If your Stand Mixer should malfunction or fail to operate, please check the following | Is the Stand Mixer plugged in? |
| Is the fuse in the circuit to the Stand Mixer in working order? If you have a circuit breaker box, be sure the circuit is closed. | |
| Turn the Stand Mixer off (Off/0) for 10-15 seconds, then turn it back on. If the mixer still does not start, allow it to cool for 30 minutes before turning it back on. |
If the problem is not due to one of the above items, see the "Limited Warranty And Service". Do not return the Stand Mixer to the retailer, as they do not provide service.
Your safety and the safety of others are very important.
We have provided many important safety messages in this manual and on your appliance. Always read and obey all safety messages.
This is the safety alert symbol.
This symbol alerts you to potential hazards that can kill or hurt you and others.
All safety messages will follow the safety alert symbol and either the word "DANGER" or "WARNING." These words mean:
You can be killed or seriously injured if you don't immediately follow instructions.
You can be killed or seriously injured if you don't follow instructions.
All safety messages will tell you what the potential hazard is, tell you how to reduce the chance of injury, and tell you what can happen if the instructions are not followed.
When using electrical appliances, basic safety precautions should always be followed, including the following:
Electrical Shock Hazard
Plug into a grounded 3 prong outlet.
Do not remove ground prong.
Do not use an adapter.
Do not use an extension cord.
Failure to follow these instructions can result in death, fire, or electrical shock.
Voltage: 120 V~
Frequency: 60 Hz
The power rating for your Stand Mixer is printed on the trim brand or on the serial plate.
Model KSM7990 Only:
Voltage: 120 V~
Frequency: 60 Hz
Power: 500 Watt
Do not use an extension cord. If the power supply cord is too short, have a qualified electrician or serviceman install an outlet near the appliance.
A short power supply cord (or detachable power supply cord) should be used to reduce the risk resulting from becoming entangled in or tripping over a longer cord.
In the United States and Puerto Rico:
For service information, or to order accessories or replacement parts, call toll-free at 1-800-541-6390 or write to:
Customer eXperience Center, KitchenAid Small Appliances, P.O. Box 218, St. Joseph, MI 49085-0218
Outside the United States and Puerto Rico:
Consult your local KitchenAid dealer or the store where you purchased the product for information on how to obtain service.
For service information in Canada:
Call toll-free 1-800-807-6777.
For service information in Mexico:
Call toll-free 01-800-0022-767.
Here you can download full pdf version of manual, it may contain additional safety instructions, warranty information, FCC rules, etc.
Advertisement


Need help?
Do you have a question about the KSMC895 and is the answer not in the manual?
Questions and answers