Whirlpool WVU7130JS - 30-inch Vented 300-CFM Under-Cabinet Hood Manual

Whirlpool WVU7130JS - 30-inch Vented 300-CFM Under-Cabinet Hood Manual

Advertisement

Whirlpool WVU7130JS - 30-inch Vented 300-CFM Under-Cabinet Hood Manual


READ AND SAVE THESE INSTRUCTIONS.
FOR RESIDENTIAL USE ONLY.

INSTALLATION REQUIREMENTS

Tools and Parts

Gather the required tools and parts before starting installation. Read and follow the instructions provided with any tools listed here.

Tools needed

  • Drill
  • 1 1/4" (3.0 cm) drill bit
  • 1/8" (3.0 mm) drill bit for pilot holes
  • Pencil
  • Wire stripper or utility knife
  • Tape measure or ruler
  • Caulking gun and weatherproof caulking compound
  • Flat-blade screwdriver
  • Phillips screwdriver
  • Saber or keyhole saw
  • Vent clamps
  • Metal snips
  • Compass or 8" (20.3 cm) circle template

Parts supplied

Remove parts from package. Check that all parts are included.

  • 2 - Metal filters
  • 3 - 3.5 x 9.5 mm damper screws
  • 4 - 4.5 x 13 mm mounting screws
  • 2 - 3.5 x 9.5 mm mounting top/rear exhaust cover
  • Top/rear exhaust cover
  • 3¼" x 10" (8.3 x 25.4 cm) damper/vent connector
  • T-20 Torx®† adapter

®TORX is a registered trademark of Acument Intellectual Properties, LLC.

Parts needed

  • 3¼" x 10" (8.3 x 25.4 cm) or 6" (15.2 cm) or larger round metal venting
  • 6" (15.2 cm) or larger round damper, if using 6" (15.2 cm) or larger round vent system
  • 3¼" x 10" (8.3 x 25.4 cm) to 6" (15.2 cm) or larger diameter transition piece if using 6" (15.2 cm) or larger diameter round vent system.
  • 3 - UL listed wire connectors
  • 1/2" (12.7 mm) UL listed

For cabinets with recessed bottoms:

  • Two 2" (5.1 cm) wide filler strips. Length and thickness determined by recess dimensions.
  • Four flat head wood screws or machine screws with washers and nuts (to attach filler strips).

Location Requirements


Observe all governing codes and ordinances.

  • It is the installer's responsibility to comply with installation clearances specified on the model/serial rating plate. The model/serial rating plate is located inside the range hood on the left wall.
  • Range hood location should be away from strong draft areas, such as windows, doors and strong heating vents.
  • Cabinet opening dimensions that are shown must be used. Given dimensions provide minimum clearance. Consult the cooktop/range manufacturer installation instructions before making any cutouts.
  • Grounded electrical supply is required. See "Electrical Requirements" section.
  • The hood is factory-set for vented installations.
  • All openings in ceiling and wall where range hood will be installed must be sealed.

For Mobile Home Installations

The installation of this range hood must conform to the Manufactured Home Construction Safety Standards, Title 24 CFR, Part 328 (formerly the Federal Standard for Mobile Home Construction and Safety, title 24, HUD, Part 280) or when such standard is not applicable, the standard for Manufactured Home Installation 1982 (Manufactured Home Sites, Communities and Setups) ANSI A225.1/NFPA 501A*, or latest edition, or with local codes.

Product Dimensions

Product Dimensions

Installation Clearances

Installation Clearances

  1. 18" (45.7 cm) min. clearance - upper cabinet to countertop
  2. 24" (61.0 cm) min. for electric cooking surfaces
    27" (68.6 cm) min. for gas cooking surfaces
    30" (76.2 cm) suggested max. - bottom of range hood to cooking surface
  3. 30" (76.2 cm) min. cabinet opening width
  4. 13" (33.0 cm) cabinet depth
  5. 36" (91.4 cm) base cabinet height

Venting Requirements

  • Vent system must terminate to the outdoors.
  • Do not terminate the vent system in an attic or other enclosed area.
  • Do not use a 4" (10.2 cm) laundry-type wall cap.
  • Use a 6" (15.2 cm) or larger round metal vent or a 3¼" x 10" (8.3 x 25.4 cm) rectangular metal vent. Rigid metal vent is recommended. Plastic or metal foil vent is not recommended.
  • The length of vent system and number of elbows should be kept to a minimum to provide efficient performance.

For the most efficient and quiet operation:

  • Use no more than three 90° elbows.
  • Make sure there is a minimum of 24" (61 cm) of straight vent between the elbows if more than 1 elbow is used.
  • Do not install 2 elbows together.
  • Use clamps to seal all joints in the vent system.
  • The vent system must have a damper. If roof or wall cap has a damper, do not use damper supplied with the range hood.
  • Use caulking to seal exterior wall or roof opening around the cap.

Cold Weather Installations

An additional back draft damper should be installed to minimize backward cold air flow and a thermal break should be installed to minimize conduction of outside temperatures as part of the vent system. The damper should be on the cold air side of the thermal break.

The break should be as close as possible to where the vent system enters the heated portion of the house.

Makeup Air

Local building codes may require the use of make up air systems when using ventilation systems greater than specified CFM of air movement. The specified CFM varies from locale to locale. Consult your HVAC professional for specific requirements in your area.

Venting Methods

Vent system can terminate either through the roof or wall. Use 3¼" x 10" (8.3 x 25.4 cm) with a maximum vent length of 35 ft (10.7 m) or 6" (15.2 cm) or larger round vent with a maximum length of 50 ft (15.2 m) for vent system.

NOTE: Flexible vent is not recommended. Flexible vent creates back pressure and air turbulence that greatly reduces performance.

The ducting from this fan to the outside of the building has a strong effect on the air flow, noise and energy use of the fan. Use the shortest, straightest duct routing possible for best performance, and avoid installing the fan with smaller ducts than recommended. Insulation around the ducts can reduce energy loss and inhibit mold growth. Fans installed with existing ducts may not achieve their rated airflow.

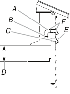
  1. 6" (15.2 cm) or larger round vent or a 31/4" x 10" (8.3 x 25.4 cm) rectangular vent through roof
  2. Round vent: use 6" (15.2 cm) or larger round damper (purchased separately)
  3. Round vent: use 31/4" x 10" (8.3 x 25.4 cm) to 6" (15.2 cm) or larger diameter transition piece (purchased separately)
  4. 27" (68.6 cm) - 30" (76.2 cm) above gas cooking surface 24" (61.0 cm) - 30" (76.2 cm) above electric cooking surface
  5. Roof cap
  6. Seal duct joints with duct tape/caulk

  1. 6" (15.2 cm) or larger round vent or a 31/4" x 10" (8.3 x 25.4 cm) rectangular vent through the wall
  2. Round vent: use 31/4" x 10" (8.3 x 25.4 cm) to 6" (15.2 cm) or larger diameter transition piece (purchased separately)
  3. 31/4" x 10" (8.3 x 25.4 cm) through the wall
  4. 27" (68.6 cm) - 30" (76.2 cm) above gas cooking surface 24" (61.0 cm) - 30" (76.2 cm) above electric cooking surface
  5. Wall cap
  6. Seal duct joints with duct tape/caulk

Ensure duct joints and exterior penetrations are sealed with caulk or other similar material to create an air-tight path and to minimize building heat loss and gain and reduce the potential for condensation.

Place/wrap insulation around duct and/or fan in order to minimize possible condensation buildup within the duct, building heat loss and gain.

Calculating Vent System Length

To calculate the length of the system you need, add the equivalent feet (meters) for each vent piece used in the system.

6" (15.2 cm) or Larger Round Vent System
15.2 cm or Larger Round Vent System

Example vent system

Maximum Recommended Length = 50 ft (15.2 m)
1 - 90° elbow = 5.0 ft (1.5 m)
1 - wall cap = 0.0 ft (0.0 m)
8 ft (2.4 m) straight = 8.0 ft (2.4 m)
Length of 7" (17.8 cm) system = 13.0 ft (3.9 m)

3¼" x 10" (8.3 cm x 25.4 cm) Vent System
8.3 cm x 25.4 cm Vent System

Example vent system
Example Vent System

Maximum Recommended Length = 35 ft (10.7 m)
1 - 90° elbow = 5.0 ft (1.5 m)
8 ft (2.4 m) straight = 8.0 ft (2.4 m)
1 - wall cap = 0.0 ft (0.0 m)
Length of 3¼" x 10" (8.3 cm x 25.4 cm) system = 13.0 ft (3.9 m)

Electrical Requirements

Observe all governing codes and ordinances.

Ensure that the electrical installation is adequate and in conformance with National Electrical Code, ANSI/NFPA 70 (latest edition), or CSA Standards C22.1-94, Canadian Electrical Code, Part 1 and C22.2 No. 0-M91 (latest edition) and all local codes and ordinances.

If codes permit and a separate ground wire is used, it is recommended that a qualified electrician determine that the ground path is adequate.

A copy of the above code standards can be obtained from:

National Fire Protection Association
1 Batterymarch Park
Quincy, MA 02269

CSA International
8501 East Pleasant Valley Road
Cleveland, OH 44131-5575

  • A 120 volt, 60 Hz., AC only, 15-amp, fused electrical circuit is required.
  • If the house has aluminum wiring, follow the procedure below:
    1. Connect a section of solid copper wire to the pigtail leads.
    2. Connect the aluminum wiring to the added section of copper wire using special connectors and/or tools designed and UL listed for joining copper to aluminum.
      Follow the electrical connector manufacturer's recommended procedure. Aluminum/copper connection must conform with local codes and industry accepted wiring practices.
  • Wire sizes and connections must conform with the rating of the appliance as specified on the model/serial rating plate. The model/serial plate is located behind the filter on the rear wall of the range hood.
  • Wire sizes must conform to the requirements of the National Electrical Code, ANSI/NFPA 70 (latest edition), or CSA Standards C22. 1-94, Canadian Electrical Code, Part 1 and C22.2 No. 0-M91 (latest edition) and all local codes and ordinances.

INSTALLATION INSTRUCTIONS

Prepare Location

NOTE: It is recommended that the vent system be installed before hood is installed.

Before making cutouts, make sure there is proper clearance within the ceiling or wall for exhaust vent.

  1. Disconnect power.
  2. Determine which venting method to use: roof or wall.
  3. Select a flat surface for assembling the range hood. Place covering over that surface.
  4. Lift the range hood and set it upside down onto covered surface.
  5. If cabinet has recessed bottom, add wood filler strips on each side. Install screws to attach filler strips in locations shown.

Determine Wiring Hole Location

Cut only one 11⁄4" (3.2 cm) diameter wiring access hole. See Steps 2 or 3 for wiring hole location instructions.

  1. Determine and clearly mark a vertical centerline on the wall and cabinet in the area the vent opening will be made.
  2. To wire through top:
    Mark a line distance "A" from the right of the centerline on the underside of the cabinet. Mark the point on this line that is 1 3⁄4" (4.4 cm) from back wall. Drill a 1¼" (3.2 cm) diameter hole through the cabinet at this point.
  3. To wire through wall:
    Mark a line distance "A" from the right of the centerline on the underside of the wall. Mark the point on this line that is 3⁄4" (1.9 cm) from the underside of the cabinet. Drill a 1 1⁄4" (3.2 cm) diameter hole through the rear wall at this point.

Style 1 - Cut Openings for 3¼" x 10" (8.3 x 25.4 cm) Rectangular Vent System

Roof Venting

To make a 4 1⁄4" x 10½" (10.8 cm x 26.7 cm) rectangular cutout on the underside of cabinet top and bottom:

  1. Mark lines 1⁄2" (1.3 cm) and 4 3⁄4" (12.1 cm) from the back wall on the centerline of the underside of cabinet.
  2. Mark lines 5¼" (13.3 cm) to the right and left of the centerline on the underside of cabinet.
  3. Use saber or keyhole saw to cut a rectangular opening in the wall for the vent.
  4. Repeat steps 1-3 for the underside of the top of the cabinet.

Wall Venting

To make a 3½" x 10½" (8.9 cm x 26.7 cm) rectangle in the wall:

  1. Make 2 lines by measuring 3⁄8 " (0.9 cm) and 3 7⁄8" (9.8 cm) down from underside of cabinet and mark on the centerline on the back wall.
  2. Mark lines 5¼" (13.3 cm) to the right and left of the centerline on the wall.
  3. Use saber or keyhole saw to cut a rectangular opening in the wall for the vent.

Style 2 - Cut Openings for 3¼" x 10" (8.3 x 25.4 cm) Rectangular Vent to Round Vent Transition

Roof Venting

To make a 4 1⁄4" x 10½" (10.8 cm x 26.7 cm) rectangular cutout on the underside of cabinet bottom:

  1. Mark lines 1⁄2" (1.3 cm) and 4 3⁄4" (12.1 cm) from the back wall on the centerline of the underside of cabinet.
  2. Mark lines 5¼" (13.3 cm) to the right and left of the centerline on the underside of cabinet.
  3. Use saber or keyhole saw to cut a rectangular opening for vent.

To make a circular vent opening on the underside of the cabinet top:

  1. Mark a centerline on the underside of the top of cabinet.
  2. Mark a line 5" (12.7 cm) from the back wall on the underside of the top of cabinet.
  3. Use a compass or a circle template to draw a circle with a diameter that is ¼" (0.64 cm) larger than the vent.
  4. Use saber or keyhole saw to cut the circular vent opening.

Install Vent System

  1. Install vent through the vent opening in upper cabinet or wall. Complete venting system according to the selected venting method. See "Venting Requirements" section.
  2. Use caulking to seal exterior wall or roof opening around the cap.

Install Range Hood

Complete Preparation

  1. Remove the grease filters. See the "Range Hood Care" section.
    • Depending on your installation, remove either top or rear rectangular vent knockout. If using round vent, remove top rectangular knockout.
      NOTE: In case you decide to change your venting outlet, your range hood is provided with a top/rear exhaust cover to close the exit hole previously made.
      Complete Preparation - Step 1
    • Make sure damper pivot is nearest to top/back edge of range hood.
    • Remove tape from damper flap.
      NOTE: The exhaust adapter/damper can be installed up to 1" (2.5 cm) on either side of the hood center to accommodate off-center ductwork.
    • If using rectangular vent, attach rectangular damper/vent connectors to the range hood using sheet metal screws.
      Complete Preparation - Step 2
      NOTE: If the wall cap is directly behind the vent connector, the dampers in the connector and wall cap must not interfere with each other. Remove the vent connector damper if they interfere.
    • If using round vent, attach vent transition piece (purchased separately) to range hood top using sheet metal screws.
  2. Lift the range hood up under cabinet and determine final location by centering beneath cabinet. Mark on the underside of cabinet the location of the 4 keyhole mounting slots on the range hood. Set range hood aside on a covered surface.
  3. Use 1/8" (3 mm) drill bit and drill 4 pilot holes as shown.
  4. Install the 4 - 4.5 mm x 13 mm mounting screws in pilot holes. Leave about 1/4" (6.4 mm) space between screw heads and cabinet to slide range hood into place.
  5. Run the home power supply cable according to the National Electric Code or CSA standards and local codes and ordinances. There must be enough wiring from the fused disconnect (or circuit breaker) box to make the connection in the hood electrical terminal box.
    NOTE: Do not reconnect power until the installation is complete.
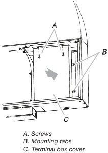
  6. Remove the screws from the terminal box cover. Then slide the cover toward the outside edge of range hood to position the large end of the keyhole slots over the mounting tabs.
  7. Tip the terminal box cover at the screw flange area to remove. Remove the terminal box cover and set it aside.
  8. Remove the power supply knockout from the top or rear of the vent hood (depending on the incoming location of your home power supply cable) and install a UL Listed or CSA approved ½" (1.3 cm) strain relief.
  9. Using 2 or more people, lift the hood into final position. Feed enough electrical wire through the ½" UL listed or CSA approved strain relief to make connections in the terminal box. Tighten the strain relief screws.
  10. Position the range hood so that the large end of the keyhole slots are over the mounting screws. Then push the hood toward the wall so that the screws are in the neck of the slots. Tighten the mounting screws, making sure the screws are in the narrow neck of slots.
  11. Connect ventwork to hood. Seal joints with clamps to make secure and airtight.
  12. Check that back draft dampers work properly.

Make Electrical Connection



Electrical Shock Hazard

Disconnect power before servicing.

Replace all parts and panels before operating.

Failure to do so can result in death or electrical shock.

  1. Disconnect power.
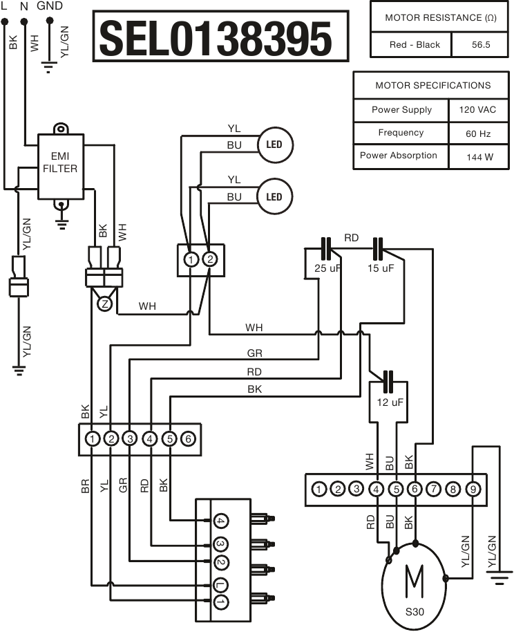
  1. White wires
  2. Black wires
  3. UL listed wire connector
  4. Green (or bare) and yellow-green ground wire
  5. Home power supply cable
  6. UL listed or CSA approved ½" strain relief
  1. Use UL listed wire connectors and connect white wires (A) together.
  2. Use UL listed wire connectors and connect black wires (B) together.


    Electrical Shock Hazard

    Disconnect power before servicing.

    Replace all parts and panels before operating.

    Failure to do so can result in death or electrical shock.

  3. Connect green (or bare) ground wire from home power supply to yellow-green ground wire (C) in terminal box using UL listed wire connectors.
  4. Reinstall terminal box cover.
  5. Check that the light bulb is secure in its socket. See "Replacing the LED Lamp" in the Range Hood Care section.
  6. Reconnect power.

Complete Installation

  1. Replace grease filters. See the "Range Hood Care" section.
  2. Check the operation of the range hood fan and light. See "Range Hood Use" section.
    If range hood does not operate, check to see whether a circuit breaker has tripped or a household fuse has blown. Disconnect power and check wiring connections.

NOTE: To get the most efficient use from your new range hood, read the "Range Hood Use" section.

RANGE HOOD USE

The range hood is designed to remove smoke, cooking vapors and odors from the cooktop area. For best results, start the hood before cooking and allow it to operate several minutes after the cooking is complete to clear all smoke and odors from the kitchen.

The hood controls are located on the front panel on the right side of the range hood.

  1. LED lamps
  2. Grease filter handle
  3. Blower and light controls
  4. Grease filter

Range Hood Controls

  1. On/Off light button
  2. Blower Off and speed minimum button
  3. Blower speed medium button
  4. Blower speed maximum button

Operating the light

The On/Off light button controls the light. Press once for On and again for Off.

Operating the blower

The BLOWER SPEED buttons turn the blower on and control the blower speed and sound level for quiet operation. The speed can be changed anytime during fan operation by pressing the desired blower speed button.

Press the BLOWER OFF button a second time to turn the blower off.

RANGE HOOD CARE

Cleaning


Clean the hood and grease filters frequently according to the following instructions. Replace grease filters before operating the hood.

Exterior Surfaces


Do not use soap-filled scouring pads, abrasive cleaners, Cooktop Polishing Creme, steel wool, gritty washcloths or paper towels.

Cleaning Method:

  • Rub in the direction of the grain to avoid scratching or damaging the surface.
  • Stainless Steel Cleaner and Polish (not included). See "Assistance or Service" section to order.
  • Liquid detergent or all-purpose cleaner:
    Rinse with clean water and dry with soft, lint-free cloth.
  • Glass cleaner to remove fingertips.

Metal Grease Filter

  1. Remove each filter by pulling the spring release handle and then pulling down the filter.
  2. Wash metal filters as needed in dishwasher or hot detergent solution.
  3. Reinstall the filter by making sure the spring release handles are toward the front. Insert aluminum filter into upper rack.
  4. Push in spring release handle.
  5. Push up on metal filter and release handle to latch into place.
  6. Repeat steps 1-5 for the other filter.

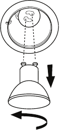
Replacing LED Lamps

To avoid damage or decreasing the life of the new lamp, do not touch lamp with bare fingers. Replace lamp, using tissue or wearing cotton gloves to handle lamp.

If new lamps do not operate, make sure the lamps are inserted correctly before calling service.

  1. Disconnect power.
  2. Push up on the lens and turn it counterclockwise.
  3. Remove and replace it with an appropriate Energy Star lamp for the fixture: 12-volt, 6.5-watt maximum with a GU10 base. Turn it clockwise to lock it into place.
  4. Repeat steps 2-3 for the other lamps if needed.
  5. Reconnect power.

WIRING DIAGRAM

WIRING DIAGRAM

ASSISTANCE OR SERVICE

When calling for assistance or service, please know the purchase date and the complete model and serial number of your appliance. This information will help us to better respond to your request.

If you need replacement parts

If you need to order replacement parts, we recommend that you use only factory specified parts. Factory specified parts will fit right and work right because they are made with the same precision used to build every new appliance. To locate factory specified replacement parts in your area, call us or your nearest designated service center.

In the U.S.A.

Call the Whirlpool Customer eXperience Center toll-free: 1-800-253-1301.

Our consultants provide assistance with:

  • Features and specifications on our full line of appliances.
  • Installation information.
  • Use and maintenance procedures.
  • Accessory and repair parts sales.
  • Specialized customer assistance (Spanish speaking, hearing impaired, limited vision, etc.).
  • Referrals to local dealers, repair parts distributors and service companies. Whirlpool designated service technicians are trained to fulfill the product warranty and provide afterwarranty service anywhere in the United States.
    To locate the Whirlpool designated service company in your area, you can also look in your telephone directory Yellow Pages.

For further assistance

If you need further assistance, you can write to Whirlpool Corporation with any questions or concerns at:

Whirlpool Brand Home Appliances
Customer eXperience Center
553 Benson Road
Benton Harbor, MI 49022-2692

Please include a daytime phone number in your correspondence.

In Canada

Call the Whirlpool Canada LP Customer eXperience Centre tollfree: 1-800-807-6777.

Our consultants provide assistance with:

  • Features and specifications on our full line of appliances.
  • Use and maintenance procedures.
  • Accessory and repair parts sales.
  • Specialized customer assistance (Spanish speaking, hearing impaired, limited vision, etc.).
  • Referrals to local dealers, repair parts distributors, and service companies. Whirlpool Canada LP designated service technicians are trained to fulfill the product warranty and provide after-warranty service anywhere in Canada.

For further assistance

If you need further assistance, you can write to Whirlpool Canada LP with any questions or concerns at:

Customer eXperience Centre
Whirlpool Canada LP
200 - 6750 Century Ave.
Mississauga, Ontario L5N 0B7

Please include a daytime phone number in your correspondence.

Accessories

Stainless Steel Cleaner and Polish
Order Part Number 31462A

RANGE HOOD SAFETY

Your safety and the safety of others are very important.

We have provided many important safety messages in this manual and on your appliance. Always read and obey all safety messages.

warning This is the safety alert symbol.
This symbol alerts you to potential hazards that can kill or hurt you and others.
All safety messages will follow the safety alert symbol and either the word "DANGER" or "WARNING." These words mean:


You can be killed or seriously injured if you don't immediately follow instructions.


You can be killed or seriously injured if you don't follow instructions.

All safety messages will tell you what the potential hazard is, tell you how to reduce the chance of injury, and tell you what can happen if the instructions are not followed.

IMPORTANT SAFETY INSTRUCTIONS


TO REDUCE THE RISK OF FIRE, ELECTRIC SHOCK, OR INJURY TO PERSONS, OBSERVE THE FOLLOWING:

  • Use this unit only in the manner intended by the manufacturer. If you have questions, contact the manufacturer.
  • Before servicing or cleaning unit, switch power off at service panel and lock the service disconnecting means to prevent power from being switched on accidentally. When the service disconnecting means cannot be locked, securely fasten a prominent warning device, such as a tag, to the service panel.
  • Installation work and electrical wiring must be done by qualified person(s) in accordance with all applicable codes and standards, including fire-rated construction.
  • Do not operate any fan with a damaged cord or plug. Discard fan or return to an authorized service facility for examination and/or repair.
  • Sufficient air is needed for proper combustion and exhausting of gases through the flue (chimney) of fuel-burning equipment to prevent backdrafting. Follow the heating equipments manufacturer's guideline and safety standards such as those published by the National Fire Protection Association (NFPA), and the American Society for Heating, Refrigeration and Air Conditioning Engineers (ASHRAE), and the local code authorities.
  • When cutting or drilling into wall or ceiling, do not damage electrical wiring and other hidden utilities.
  • Ducted fans must always be vented to the outdoors.

    For general ventilating use only. Do not use to exhaust hazardous or explosive materials and vapors.

    To reduce risk of fire and to properly exhaust air, be sure to duct air outside - do not vent exhaust air into spaces within walls or ceilings, attics or into crawl spaces, or garages.


TO REDUCE THE RISK OF FIRE, USE ONLY METAL DUCTWORK.


TO REDUCE THE RISK OF A RANGE TOP GREASE FIRE:

  • Never leave surface units unattended at high settings. Boilovers cause smoking and greasy spillovers that may ignite. Heat oils slowly on low or medium settings.
  • Always turn hood ON when cooking at high heat or when flambeing food (i.e. Crepes Suzette, Cherries Jubilee, Peppercorn Beef Flambé).
  • Clean ventilating fans frequently. Grease should not be allowed to accumulate on fan or filter.
  • Use proper pan size. Always use cookware appropriate for the size of the surface element.


TO REDUCE THE RISK OF INJURY TO PERSONS IN THE EVENT OF A RANGE TOP GREASE FIRE:

  • SMOTHER FLAMES with a close-fitting lid, cookie sheet or metal tray, then turn off the burner. BE CAREFUL TO PREVENT BURNS. If the flames do not go out immediately, EVACUATE AND CALL THE FIRE DEPARTMENT.
  • NEVER PICK UP A FLAMING PAN - you may be burned.
  • DO NOT USE WATER, including wet dish cloths or towels - a violent steam explosion may result.
  • Use a fire extinguisher ONLY if:
    • You have a Class ABC extinguisher, and you already know how to operate it.
    • The fire is small and contained in the area where it started.
    • The fire department is being called.
    • You can fight the fire with your back to an exit
      * Based on "Kitchen Fire Safety Tips" published by NFPA.

  • To reduce the risk of fire or electrical shock, do not use this fan with any solid-state speed control device.

READ AND SAVE THESE INSTRUCTIONS

Documents / Resources

Download manual

Here you can download full pdf version of manual, it may contain additional safety instructions, warranty information, FCC rules, etc.

Download Whirlpool WVU7130JS - 30-inch Vented 300-CFM Under-Cabinet Hood Manual

Available languages

Advertisement

Need help?

Need help?

Do you have a question about the WVU7130JS and is the answer not in the manual?

Questions and answers

Table of Contents