Whirlpool UXW7324BSS - 24" Wall-Mount Canopy Manual

Whirlpool UXW7324BSS - 24" Wall-Mount Canopy Manual

Also See for UXW7324BSS:

Advertisement

Whirlpool UXW7324BSS - 24" Wall-Mount Canopy Manual

INSTALLATION REQUIREMENTS

Tools and Parts

Gather the required tools and parts before starting installation. Read and follow the instructions provided with any tools listed here.

Tools Needed

  • Level
  • Drill with 11/4" (3.0 cm), 3/8" (9.5 mm), and 5/16" (7.9 mm) drill bits
  • Pencil
  • Wire stripper or utility knife
  • Tape measure or ruler
  • Pliers
  • Caulking gun and weatherproof caulking compound
  • Vent clamps
  • Jigsaw or keyhole saw
  • Flat-blade screwdriver
  • Metal snips
  • Phillips screwdriver
  • Metric hex key set

Parts Needed

  • Home power supply cable
  • 1/2" (12.7 mm) UL listed or CSA approved strain relief
  • 3 UL listed wire connectors

For Vented Installations, you will also need:

  • 1 wall or roof cap
  • Metal vent system

For Non-Vented (Recirculating) Installations, You Will Also Need:

  • Recirculation Kit for non-vented (recirculating) installations only. See "Assistance or Service" section to order.
  • 6" (15.2 cm) diameter round metal vent duct - length required is determined by ceiling height.

Parts Supplied

Remove parts from packages. Check that all parts are included.

  • Hood canopy assembly with blower and LED lights installed
  • Vent transition with back draft dampers installed
  • Metal grease filter(s)
  • Vent cover support bracket
  • Mounting template
  • 2-piece vent cover
  • 2 - 3.5 x 9.5 mm screws
  • 2 - 2.9 x 6.5 mm screws
  • 6 - 5 x 45 mm mounting screws
  • 2 - 8 x 40 mm wall anchors
  • 4 - 10 x 50 mm wall anchors
  • T20 Torx adapter

Location Requirements


Observe all governing codes and ordinances.

Have a qualified technician install the range hood. It is the installer's responsibility to comply with installation clearances specified on the model/serial/rating plate. The model/serial/ rating plate is located behind the left filter on the rear wall of the vent hood.

Canopy hood location should be away from strong draft areas, such as windows, doors, and strong heating vents.

Cabinet opening dimensions that are shown must be used. Given dimensions provide minimum clearance.

Grounded electrical outlet is required. See "Electrical Requirements" section.

The canopy hood is factory set for venting through the roof or wall. For non-vented (recirculating) installation, see "For nonvented (recirculating) installation only" in the "Connect Vent System" section. Recirculation Kit is available from your dealer or an authorized parts distributor. See "Assistance or Service" section to order.

All openings in ceiling and wall where canopy hood will be installed must be sealed.

For Mobile Home Installations
The installation of this range hood must conform to the Manufactured Home Construction Safety Standards, Title 24 CFR, Part 328 (formerly the Federal Standard for Mobile Home Construction and Safety, Title 24, HUD, Part 280) or when such standard is not applicable, the standard for Manufactured Home Installation 1982 (Manufactured Home Sites, Communities and Setups) ANSI A225.1/NFPA 501A, or latest edition, or with local codes.

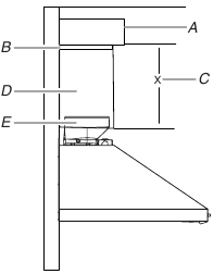
Product Dimensions

Location Requirements - Product Dimensions
* For non-vented (recirculating) installations
** For vented installations

Cabinet Dimensions

Location Requirements - Cabinet Dimensions
*For non-vented (recirculating) installations


Minimum distance "X": 24" (61 cm) from electric cooking surface
Minimum distance "X": 27" (68.6 cm) from gas cooking surface
Suggested maximum distance "X": 36" (91.4 cm)

The chimneys can be adjusted for different ceiling heights. See the following chart.

Vented Installations
Min. ceiling height Max. ceiling height
Electric cooking surface 7' 5" (2.26 m) 9' 2" (2.79 m)
Gas cooking surface 7' 8" (2.34 m) 9' 2" (2.79 m)
Non-Vented (Recirculating) Installations
Min. ceiling height Max. ceiling height
Electric cooking surface 7' 5" (2.26 m) 9' 6" (2.9 m)
Gas cooking surface 7' 8" (2.34 m) 9' 6" (2.9 m)

*NOTE: The range hood chimneys are adjustable and designed to meet varying ceiling or soffit heights, depending on the distance "X" between the bottom of the range hood and the cooking surface. For higher ceilings, a Stainless Steel Chimney Extension Kit is available from your dealer or an authorized parts distributor. See "Assistance or Service" section to order. The chimney extension replaces the upper chimney shipped with the range hood.

Venting Requirements

(vented models only)

  • Vent system must terminate to the outdoors except for non-vented (recirculating) installations.
  • Do not terminate the vent system in an attic or other enclosed area.
  • Do not use 4" (10.2 cm) laundry-type wall cap.
  • Use metal vent only. Rigid metal vent is recommended. Plastic or metal foil vent is not recommended.
  • The length of vent system and number of elbows should be kept to a minimum to provide efficient performance.

For the Most Efficient and Quiet Operation:

  • Use no more than three 90° elbows.
  • Make sure there is a minimum of 24" (61 cm) of straight vent between the elbows if more than 1 elbow is used.
  • Do not install 2 elbows together.
  • Use clamps to seal all joints in the vent system.
  • The vent system must have a damper. If the roof or wall cap has a damper, do not use the damper supplied with the range hood.
  • Use caulking to seal exterior wall or roof opening around the cap.
  • The size of the vent should be uniform.

Cold Weather Installations
An additional back draft damper should be installed to minimize backward cold air flow and a thermal break should be installed to minimize conduction of outside temperatures as part of the vent system. The damper should be on the cold air side of the thermal break.
The break should be as close as possible to where the vent system enters the heated portion of the house.

Makeup Air
Local building codes may require the use of makeup air systems when using ventilation systems greater than specified CFM of air movement. The specified CFM varies from locale to locale. Consult your HVAC professional for specific requirements in your area.

Venting Methods

This canopy hood is factory set for venting through the roof or wall.
A 6" (15.2 cm) round vent system is needed for installation (not included). The hood exhaust opening is 6" (15.2 cm) round.

NOTE: Flexible vent is not recommended. Flexible vent creates back pressure and air turbulence that greatly reduce performance.

Vent system can terminate either through the roof or wall. To vent through a wall, a 90° elbow is needed.

Rear Discharge
A 90° elbow may be installed immediately above the hood.

For Non-Vented (recirculating) Installations
If it is not possible to vent cooking fumes and vapors to the outside, the hood can be used in the non-vented (recirculating) version, using a Recirculation Kit (which includes charcoal filters and a deflector). To order, see the "Assistance or Service" section.


Roof Venting

  1. Roof cap
  2. 6" (15.2 cm) round vent


Wall Venting

  1. Wall cap
  2. 6" (15.2 cm) round vent


Non-Vented (Recirculating)

  1. Deflector
  2. 6" (15.2 cm) round vent

Calculating Vent System Length

To calculate the length of the system you need, add the equivalent feet (meters) for each vent piece used in the system.

Vent Piece 6" (15.2 cm) Round
45° elbow 2.5 ft (0.8 m)
90° elbow 5 ft (1.5 m)

Maximum equivalent vent length is 35 ft (10.7 m).

Example Vent System
The following example falls within the maximum recommended vent length of 35 ft (10.7 m).
Example of Calculating Vent System Length

1 - 90° Elbow = 5 ft (1.5 m)
1 - Wall cap = 0 ft (0 m)
8 ft (2.4 m) straight = 8 ft (2.4 m)
Length of system = 13 ft (3.9 m)

Electrical Requirements

Observe all governing codes and ordinances.
Ensure that the electrical installation is adequate and in conformance with National Electrical Code, ANSI/NFPA 70 (latest edition) or CSA Standards C22.1-94, Canadian Electrical Code, Part 1 and C22.2 No. 0-M91 (latest edition), and all local codes and ordinances.

If codes permit and a separate ground wire is used, it is recommended that a qualified electrician determine that the ground path is adequate.

A copy of the above code standards can be obtained from:
National Fire Protection Association
1 Batterymarch Park
Quincy, MA 02169-7471

CSA International
8501 East Pleasant Valley Road
Cleveland, OH 44131-5575

  • A 120 volt, 60 Hz., AC only, 15-amp, fused electrical circuit is required.
  • If the house has aluminum wiring, follow the procedure below:
  1. Connect a section of solid copper wire to the pigtail leads.
  2. Connect the aluminum wiring to the added section of copper wire using special connectors and/or tools designed and UL listed for joining copper to aluminum.

Follow the electrical connector manufacturer's recommended procedure. Aluminum/copper connection must conform with local codes and industry accepted wiring practices.

  • Wire sizes and connections must conform with the rating of the appliance as specified on the model/serial/rating plate. The model/serial/rating plate is located behind the left filter on the rear wall of the range hood.
  • Wire sizes must conform to the requirements of the National Electrical Code, ANSI/NFPA 70 (latest edition), or CSA Standards C22. 1-94, Canadian Electrical Code, Part 1 and C22.2 No. 0-M91 (latest edition) and all local codes and ordinances.

INSTALLATION INSTRUCTIONS

Prepare Location

  • It is recommended that the vent system be installed before hood is installed.
  • Before making cutouts, make sure there is proper clearance within the ceiling or wall for exhaust vent.
  • Check your ceiling height and the hood height maximum before you select your hood.
  1. Disconnect power.
  2. Determine which venting method to use: roof, wall, or non-vented.
  3. Select a flat surface for assembling the range hood. Place covering over that surface.


Excessive Weight Hazard
Use two or more people to move and install range hood.

Failure to do so can result in back or other injury.

  1. Using 2 or more people, lift range hood onto covered surface.

Device Mounting Screws Installation

  1. Determine and mark the centerline on the wall where the canopy hood will be installed.
  2. Select a mounting height between a minimum of 24" (61 cm) for an electric cooking surface, a minimum of 27" (68.6 cm) for a gas cooking surface, and a suggested maximum of 36" (91.4 cm) above the range to the bottom of the hood. Mark a reference line on the wall.
  3. Tape template in place, aligning the template centerline and bottom of template with hood bottom line and with the centerline marked on the wall.
    Device Mounting Screws Installation
    1. Centerline
    2. Fastener locations
    3. Mounting height reference (hood bottom line)
  4. Mark centers of the fastener locations through the template to the wall.

    All canopy mounting screws must be installed into wood where possible. If there is no wood to screw into, additional wall framing supports may be required or use the (4) 10 x 60 mm wall anchors and 5.4 x 75 mm screws (not included).
    Remove the template.
  5. Drill 3/16" (4.8 mm) pilot holes at all locations where screws are being installed into wood.
  6. Install 2 - 5 x 45 mm mounting screws. Leave a 1/4" (6.4 mm) gap between the wall and the back of the screw head to slide range hood into place.

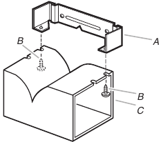
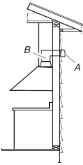
Vent Cover Support Bracket Installation

Installations using telescoping upper and lower vent cover assembly

  1. Position vent cover bracket on wall about 1 away from the ceiling. 1/8" (3 mm)
  2. Mark the hole locations.
  3. Drill (2) 3/8" (9.5 mm) holes for 8 x 40 mm wall anchors and insert anchors flush with the wall.
    1. 8 x 40 mm wall anchors
    2. Centerline on wall
    3. Vent cover support bracket
    4. 5 x 45 mm screws
  4. Attach vent cover support bracket to wall.

Complete Preparation

  1. Determine and make all necessary cuts in the wall for the vent system. Install the vent system before installing the hood. See "Venting Requirements" section.
  2. Determine the required height for the home power supply cable and drill a 1 1/4" (3.2 cm) hole at this location.
  3. Run the home power supply cable according to the National Electrical Code or CSA Standards and local codes and ordinances. There must be enough 1/2" conduit and wires from the fused disconnect (or circuit breaker) box to make the connection in the hood's electrical terminal box.
    NOTE: Do not reconnect power until installation is complete.
  4. Use caulk to seal all openings.

Install the Unit

  1. Using 2 or more people, hang range hood on 2 mounting screws through the mounting slots on back of hood.
    Installing the Unit
    1. Mounting screws
    2. Mounting slots
    3. Lower mounting screws
  2. Remove the grease filter. See "Product Care" section.
  3. Level the range hood and tighten upper mounting screws.
  4. Install 2 - 5 x 45 mm lower mounting screws and tighten.

Connect Vent System

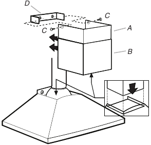
  1. Install transition on top of hood (if removed for shipping) with 2 - 3.5 x 9.5 mm sheet metal screws.
    1. Vent transition
    2. 3.5 x 9.5 mm screw

For vented installations only:

  1. Fit vent system over transition piece.
  2. Seal connection with clamps.
  3. Check that back draft dampers work properly.

For non-vented (recirculating) installation only:

  1. Assemble the air deflector with the duct cover bracket with 2 assembly screws provided with the Recirculation Kit.
    1. Vent cover bracket
    2. Assembly screws
    3. Deflector
  2. Measure from the bottom of the air deflector to the bottom of the hood outlet.
    1. Air deflector
    2. Vent clamp
    3. X = length to cut vent duct
    4. Vent duct
    5. Exhaust outlet
  3. Cut the duct to the measured size "X."
  4. Remove the air deflector.
  5. Slide the duct onto the bottom of the air deflector.
  6. Place the assembled air deflector and duct over the exhaust outlet from the hood.
  7. Reassemble the air deflector to the duct cover bracket with the 2 assembly screws.
  8. Seal connections with vent clamps.

Make Electrical Connection


Electrical Shock Hazard
Disconnect power before servicing.
Replace all parts and panels before operating.
Failure to do so can result in death or electrical shock.

  1. Disconnect power.
  2. Remove terminal box cover.
  3. Remove the knockout in the terminal box and install a UL listed or CSA approved 1/2" strain relief.
  4. Run home power supply cable through strain relief into terminal box.
    1. UL listed wire connectors
    2. White wires
    3. Black wires
    4. Green (or bare) wire connected to yellow-green wires
    5. Home power supply
  5. Use UL listed wire connectors and connect black wires (E) together.
  6. Use UL listed wire connectors and connect white wires (C) together


Electrical Shock Hazard
Electrically ground blower.
Connect ground wire to green and yellow ground wire in terminal box.
Failure to do so can result in death or electrical shock.

  1. Connect green (or bare) ground wire from home power supply to the 2 yellow-green ground wires (D) in terminal box using UL listed wire connectors
  2. Tighten strain relief screw.
  3. Install terminal box cover.
  4. Reconnect power.

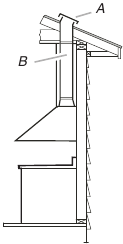
Install Vent Covers

  1. When using both upper and lower vent covers, push lower cover down onto hood and lift upper cover to ceiling and install with 2 - 2.9 x 6.5 mm screws.
    NOTE: For vented installations, the upper vent cover may be reversed to hide slots.
    1. Upper vent cover
    2. Lower vent cover
    3. 2.9 x 6.5 mm screws
    4. Bracket

Complete Installation

  1. For non-vented (recirculating) installations only, install charcoal filters over the grease filters, using the clips provided in the kit. See the "Product Care" section.
  2. Install metal filters. See the "Product Care" section.
  3. Check the operation of the range hood blower and light. See the "Product Use" section.

NOTE: To get the most efficient use from your new range hood, read the Product Use" section.

PRODUCT USE

The range hood is designed to remove smoke, cooking vapors, and odors from the cooktop area. For best results, start the hood before cooking and allow it to operate several minutes after the cooking is complete to clear all smoke and odors from the kitchen.
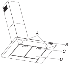
The hood controls are located on the front side of the canopy.
Parts of the unit

  1. Halogen lamp housings
  2. Blower and light controls
  3. Grease filter handle
  4. Grease filter

Device Controls

Device Controls

  1. Light On/Off button
  2. Blower On/Off button
  3. Blower speed minimum button
  4. Blower speed medium button
  5. Blower speed maximum button

NOTE: Control buttons will light up when range hood is On.

Operating the light

The Light On/Off button (A) controls both lights. Press once for On and again for Off.

Operating the blower

The Blower On/Off button (B) turns the blower On or Off. The Blower Speed buttons (C, D and E) set the desired speed and control the sound level for quiet operation. The speed can be changed anytime during fan operation by pressing the desired blower speed button.

  1. To turn the blower On, press the Blower On/Off button (B) and the desired speed button (C, D or E).
  2. To turn the blower Off, press the Blower On/Off button (B).

Any of the 3 blower speed buttons can be in the On position at the same time. The blower will operate at the highest speed button that is pushed in. For lower blower speeds, the higher speed buttons must not be pushed in.

PRODUCT CARE


Clean the hood and grease filters frequently according to the following instructions. Replace grease filters before operating hood.

Exterior Surfaces

To avoid damage to the exterior surface, do not use steel wool or soap-filled scouring pads.
Always wipe dry to avoid water marks.

Cleaning Method:

  • Liquid detergent soap and water, or all-purpose cleanser
  • Wipe with damp soft cloth or nonabrasive sponge, and then rinse with clean water and wipe dry.

Metal Grease Filter

  1. Remove the filter by pulling the spring release handle and then pulling down the filter.
    1. Spring release handle
  2. Wash metal filter as needed in dishwasher or hot detergent solution.
  3. Reinstall the filter by making sure the spring release handles are toward the front. Insert aluminum filter into upper track.
  4. Push in spring release handle.
  5. Push up on metal filter and release handle to latch into place.
  6. Repeat steps 1-5 for the other filter.

Non-Vented (recirculating) Installation Filters

The charcoal filter is not washable. It should last up to 6 months with normal use. Replace with Charcoal Filter Kit. See the "Assistance or Service" section for information on ordering.

To replace charcoal filter:

  1. Remove metal grease filter from range hood. See "Metal Grease Filter" in this section.
  2. Bend spring clips away from metal grease filter
  3. Place charcoal filter into top side of metal filter.
  4. Bend spring clips back into place to secure the charcoal filter to the metal filter.
  5. Replace metal grease filter. See "Metal Grease Filter" in this section.

Replacing a Halogen Lamp

Turn off the range hood and allow the halogen lamp to cool. To avoid damage or decreasing the life of the new lamp, do not touch lamp with bare fingers. Replace lamp, using tissue or wearing cotton gloves to handle lamp.

If new lights do not operate, make sure the lamps are inserted correctly before calling service.

  1. Disconnect power.
  2. Use a flat-blade screwdriver and gently pry the light cover loose.
  3. Remove the lamp and replace with a 12-volt, 20-watt maximum, halogen lamp made for a G-4 base.
  4. Replace the light cover.
  5. Reconnect power.

WIRING DIAGRAM

WIRING DIAGRAM

Switch operation
Position Connection
Off No connection
Lamps BK/Y (1-3)
Low speed BK/W (1-4)
Medium speed BK/R (1-5)
High speed BR/GY (1-6)
Motor characteristics
Power supply 120 VAC
Frequency 60 Hz
Power absorption 240 W

ASSISTANCE OR SERVICE

When calling for assistance or service, please know the purchase date and the complete model and serial number of your appliance. This information will help us to better respond to your request.

If you need replacement parts
If you need to order replacement parts, we recommend that you use only factory specified parts. Factory specified parts will fit right and work right because they are made with the same precision used to build every new appliance. To locate factory specified replacement parts in your area, call the following customer assistance telephone number or your nearest designated service center.

In the USA

Call the Whirlpool Customer eXperience Center toll free: 1-800-253-1301.

Our consultants provide assistance with:

  • Features and specifications on our full line of appliances.
  • Installation information.
  • Use and maintenance procedures.
  • Accessory and repair parts sales.
  • Specialized customer assistance (Spanish speaking, hearing impaired, limited vision, etc.).
  • Referrals to local dealers, repair parts distributors and service companies. Whirlpool designated service technicians are trained to fulfill the product warranty and provide afterwarranty service, anywhere in the United States.
    To locate the Whirlpool designated service company in your area, you can also look in your telephone directory Yellow Pages.

For further assistance
If you need further assistance, you can write to Whirlpool Corporation with any questions or concerns at:
Whirlpool Brand Home Appliances
Customer eXperience Center
553 Benson Road
Benton Harbor, MI 49022-2692

Please include a daytime phone number in your correspondence.

In Canada

Call the Whirlpool Canada LP Customer eXperience Centre toll free: 1-800-807-6777.

Our Consultants Provide Assistance With:

  • Features and specifications on our full line of appliances.
  • Use and maintenance procedures.
  • Accessory and repair parts sales.
  • Referrals to local dealers, repair parts distributors, and service companies. Whirlpool Canada LP designated service technicians are trained to fulfill the product warranty and provide after-warranty service, anywhere in Canada.

For Further Assistance
If you need further assistance, you can write to Whirlpool Canada with any questions or concerns at:
Customer eXperience Centre
Whirlpool Canada LP
200 - 6750 Century Ave.
Mississauga, Ontario L5N 0B7

Please include a daytime phone number in your correspondence.

Accessories

Charcoal Filter Kit
(for non-vented installations only)
Order Part Number W10412939

Recirculation Kit
(for non-vented installations only)
Order Part Number W10349327

Chimney Extension Kit
Order Part Number W10337357

PRODUCT SAFETY

Your safety and the safety of others are very important.
We have provided many important safety messages in this manual and on your appliance. Always read and obey all safety messages.

warning This is the safety alert symbol.
This symbol alerts you to potential hazards that can kill or hurt you and others.
All safety messages will follow the safety alert symbol and either the word "DANGER" or "WARNING." These words mean:

You can be killed or seriously injured if you don't immediately follow instructions.
You can be killed or seriously injured if you don't follow instructions.

All safety messages will tell you what the potential hazard is, tell you how to reduce the chance of injury, and tell you what can happen if the instructions are not followed.

IMPORTANT SAFETY INSTRUCTIONS
burn hazardburn hazard
TO REDUCE THE RISK OF FIRE, ELECTRIC SHOCK, OR INJURY TO PERSONS, OBSERVE THE FOLLOWING:

  • Use this unit only in the manner intended by the manufacturer. If you have questions, contact the manufacturer.
  • Before servicing or cleaning unit, switch power off at service panel and lock the service disconnecting means to prevent power from being switched on accidentally. When the service disconnecting means cannot be locked, securely fasten a prominent warning device, such as a tag, to the service panel.
  • Installation work and electrical wiring must be done by qualified person(s) in accordance with all applicable codes and standards, including fire-rated construction.
  • Do not operate any fan with a damaged cord or plug. Discard fan or return to an authorized service facility for examination and/or repair.
  • Sufficient air is needed for proper combustion and exhausting of gases through the flue (chimney) of fuel burning equipment to prevent back drafting. Follow the heating equipment manufacturer's guideline and safety standards such as those published by the National Fire Protection Association (NFPA), and the American Society for Heating, Refrigeration and Air Conditioning Engineers (ASHRAE), and the local code authorities.
  • When cutting or drilling into wall or ceiling, do not damage electrical wiring and other hidden utilities.
  • Ducted fans must always be vented to the outdoors.

    For general ventilating use only. Do not use to exhaust hazardous or explosive materials and vapors.

    To reduce risk of fire and to properly exhaust air, be sure to duct air outside - Do not vent exhaust air into spaces within walls or ceilings or into attics, crawl spaces, or garages.


TO REDUCE THE RISK OF FIRE, USE ONLY METAL DUCTWORK

burn hazardburn hazard
TO REDUCE THE RISK OF A RANGE TOP GREASE FIRE:

  • Never leave surface units unattended at high settings. Boilovers cause smoking and greasy spillovers that may ignite. Heat oils slowly on low or medium settings.
  • Always turn hood ON when cooking at high heat or when flambeing food (i.e. Crepes Suzette, Cherries Jubilee, Peppercorn Beef Flambe).
  • Clean ventilating fans frequently. Grease should not be allowed to accumulate on fan or filter.
  • Use proper pan size. Always use cookware appropriate for the size of the surface element.

burn hazardburn hazard
TO REDUCE THE RISK OF INJURY TO PERSONS IN THE EVENT OF A RANGE TOP GREASE FIRE, OBSERVE THE FOLLOWING*:


  • SMOTHER FLAMES with a close-fitting lid, cookie sheet, or metal tray, then turn off the burner. BE CAREFUL TO PREVENT BURNS. If the flames do not go out immediately, EVACUATE AND CALL THE FIRE DEPARTMENT.
  • NEVER PICK UP A FLAMING PAN - You may be burned.
  • DO NOT USE WATER, including wet dishclothes or towels - a violent steam explosion will result.
  • Use an extinguisher ONLY if:
    • You know you have a Class ABC extinguisher, and you already know how to operate it.
    • The fire is small and contained in the area where it started.
    • The fire department is being called.
    • You can fight the fire with your back to an exit.

*Based on "Kitchen Fire Safety Tips" published by NFPA.


  • To reduce the risk of fire or electric shock, do not use this fan with any solid-state speed control device.

READ AND SAVE THESE INSTRUCTIONS

For questions about features, operation/performance, parts, accessories or service, call: 1-800-253-1301 or visit our website at www.whirlpool.com
In Canada, call 1-800-807-6777 or visit our website at www.whirlpool.ca

Download manual

Here you can download full pdf version of manual, it may contain additional safety instructions, warranty information, FCC rules, etc.

Download Whirlpool UXW7324BSS - 24" Wall-Mount Canopy Manual

Documents / Resources

References

Advertisement

Need help?

Need help?

Do you have a question about the UXW7324BSS and is the answer not in the manual?

Questions and answers

Table of Contents