Whirlpool UXT5530AAS - 30" Convertible Under-Cabinet Hood Manual

Whirlpool UXT5530AAS - 30" Convertible Under-Cabinet Hood Manual

Also See for UXT5530AAS:

Advertisement

Whirlpool UXT5530AAS - 30" Convertible Under-Cabinet Hood Manual

INSTALLATION REQUIREMENTS

Tools and Parts

Gather the required tools and parts before starting installation. Read and follow the instructions provided with any tools listed here.

Tools Needed

  • Drill
  • 11/4" (3 cm) drill bit
  • 1/8" (3 mm) drill bit for pilot holes
  • Pencil
  • Wire stripper or utility knife
  • Tape measure or ruler
  • Caulking gun and weatherproof caulking compound
  • Flat-blade screwdriver
  • Phillips screwdriver

For vented installations, you also need:

  • Saber or keyhole saw
  • Vent clamps
  • Metal snips
  • Compass or 8" (20.3 cm) circle template

Parts Supplied

Remove parts from packages. Check that all parts are included.

  • 2 - Metal filters
  • 6 - 4.5 x 13 mm mounting screws
  • 3 - 4 x 8 mm damper screws
  • 3 1/4" x 10" (8.3 x 25.4 cm) damper/vent connector
  • 4 - 5 x 45 mm screws
  • 4 - 8 x 40 mm wall anchors
  • Recirculating kit
  • Charcoal filters for non-vented (recirculating) installations. See the "Assistance or Service" section to order replacement filters.

Parts Needed

For vented installations:

  • 3 1/4" x 10" (8.3 x 25.4 cm) or 6" (15.2 cm) or larger round metal venting
  • 6" (15.2 cm) or larger round damper, if using 6" (15.2 cm) or larger round vent system
  • 3 1/4" x 10" (8.3 x 25.4 cm) to 6" (15.2 cm) or larger diameter transition piece if using 6" (15.2 cm) or larger diameter round vent system.

For cabinets with recessed bottoms:

  • Two 2" (5.1 cm) wide filler strips. Length and thickness determined by recess dimensions.
  • Four flat-head wood screws or machine screws with washers and nuts (to attach filler strips).

Location Requirements


Observe all governing codes and ordinances.

  • It is the installer's responsibility to comply with installation clearances specified on the model/serial/rating plate. The model/serial/rating plate is located inside the range hood on the left wall.
  • Range hood location should be away from strong draft areas, such as windows, doors and strong heating vents.
  • Cabinet opening dimensions that are shown must be used. Given dimensions provide minimum clearance. Consult the cooktop/range manufacturer installation instructions before making any cutouts.
  • Grounded electrical outlet is required. See "Electrical Requirements" section.
  • The hood is factory-set for vented installations. For non-vented (recirculating) installations, the Recirculation Kit is included. See the "Assistance or Service" section to order Replacement Charcoal Filters Part Number W10272068.
  • All openings in ceiling and wall where range hood will be installed must be sealed.

For Mobile Home Installations
The installation of this range hood must conform to the Manufactured Home Construction Safety Standards, Title 24 CFR, Part 328 (formerly the Federal Standard for Mobile Home Construction and Safety, title 24, HUD, Part 280) or when such standard is not applicable, the standard for Manufactured Home Installation 1982 (Manufactured Home Sites, Communities and Setups) ANSI A225.1/NFPA 501A, or latest edition, or with local codes.

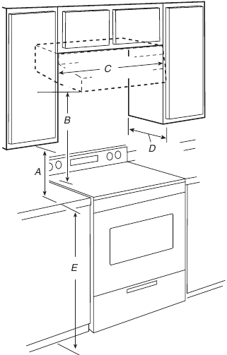
Product Dimensions

Location Requirements - Product Dimensions

Installation Clearances

Location Requirements - Installation Clearances

  1. 18" (45.7 cm) min. clearance - upper cabinet to countertop
  2. 24" (61 cm) min. for electric cooking surfaces
    27" (68.6 cm) min. for gas cooking surfaces
    30" (76.2 cm) suggested max. - bottom of range hood to cooking surface
  3. 30" or 36" (76.2 cm or 91.4 cm) min. cabinet opening width
  4. 13" (33 cm) cabinet depth
  5. 36" (91.4 cm) base cabinet height

Venting Requirements

(Vented Models Only)

  • Vent system must terminate to the outdoors, except for non-vented (recirculating) installations.
  • Do not terminate the vent system in an attic or other enclosed area.
  • Do not use a 4" (10.2 cm) laundry-type wall cap.
  • Use a 6" (15.2 cm) or larger round metal vent or a 3 1/4" x 10" (8.3 x 25.4 cm) rectangular metal vent. Rigid metal vent is recommended. Plastic or metal foil vent is not recommended.
  • The length of vent system and number of elbows should be kept to a minimum to provide efficient performance.

For the Most Efficient and Quiet Operation:

  • Use no more than three 90° elbows.
  • Make sure there is a minimum of 24" (61 cm) of straight vent between the elbows if more than 1 elbow is used.
  • Do not install 2 elbows together.
  • Use clamps to seal all joints in the vent system.
  • The vent system must have a damper. If roof or wall cap has a damper, do not use damper supplied with the range hood.
  • Use caulking to seal exterior wall or roof opening around the cap.

Cold Weather Installations
An additional back draft damper should be installed to minimize backward cold air flow and a thermal break should be installed to minimize conduction of outside temperatures as part of the vent system. The damper should be on the cold air side of the thermal break.
The break should be as close as possible to where the vent system enters the heated portion of the house.

Makeup Air
Local building codes may require the use of makeup air systems when using ventilation systems greater than specified CFM of air movement. The specified CFM varies from locale to locale. Consult your HVAC professional for specific requirements in your area.

Venting Methods

Vent system can terminate either through the roof or wall. Use 3 1/4" x 10" (8.3 x 25.4 cm) with a maximum vent length of 35 ft (10.7 m) or 6" (15.2 cm) or larger round vent with a maximum length of 50 ft (15.2 m) for vent system.

NOTE: Flexible vent is not recommended. Flexible vent creates back pressure and air turbulence that greatly reduce performance.


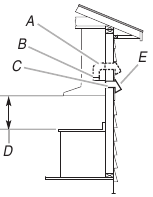
Roof Venting

  1. 6" (15.2 cm) or larger round vent or a 3 1/4" x 10" (8.3 x 25.4 cm) rectangular vent through roof
  2. Round vent: use 6" (15.2 cm) or larger round damper (purchased separately)
  3. Round vent: use 3 1/4" x 10" (8.3 x 25.4 cm) to 6" (15.2 cm) or larger diameter transition piece (purchased separately)
  4. 24" to 30" (61 to 76.2 cm) above electric cooking surface
    27" to 30" (68.6 to 76.2 cm) above gas cooking surface
  5. Roof cap


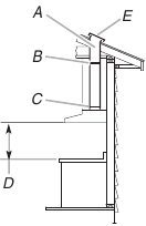
Wall Venting

  1. 6" (15.2 cm) or larger round vent or a 3 1/4" x 10" (8.3 x 25.4 cm) rectangular vent through the wall
  2. Round vent: use 3 1/4 (8.3 x 25.4 cm) to 6" (15.2 cm) or larger diameter transition piece (purchased separately)
  3. 3 1/4" x 10" (8.3 x 25.4 cm) through the wall
  4. 24" to 30" (61 to 76.2 cm) above electric cooking surface
    27" to 30" (68.6 to 76.2 cm) above gas cooking surface
  5. Wall cap

Calculating Vent System Length

To calculate the length of the system you need, add the equivalent feet (meters) for each vent piece used in the system.

6" (15.2 cm) or Larger Round Vent System

Vent Piece Round
45° elbow 2.5 ft (0.8 m)
90° elbow 5 ft (1.5 m)
6" (15.2 cm) or larger wall cap 0 ft (0 m)
3 1/4" x 10" (8.3 cm x 25.4 cm) to 6" (15.2 cm) or larger 4.5 ft (1.4 m)
3 1/4" x 10" (8.3 cm x 25.4 cm) to 6" (15.2 cm) or larger 90° elbow 5 ft (1.5 m)

Example Vent System
Maximum Recommended Length = 50 ft (15.2 m)

1 - 90° elbow = 5 ft (1.5 m)
1 - wall cap = 0 ft (0 m)
8 ft (2.4 m) straight = 8 ft (2.4 m)
Length of 6" (15.2 cm) system = 13 ft (3.9 m)

3 1/4" x 10" (8.3 cm x 25.4 cm) Vent System

Vent Piece
3 1/4" x 10"
(8.3 cm x 25.4 cm)
90° elbow
5 ft (1.5 m)
3 1/4" x 10"
(8.3 cm x 25.4 cm)
flat elbow
12 ft (3.7 m)
3 1/4" x 10"
(8.3 cm x 25.4 cm)
wall cap
0 ft (0 m)

Example vent system
Maximum Recommended Length = 35 ft (10.7 m)

Example Vent System

1 - 90° elbow = 5 ft (1.5 m)
8 ft (2.4 m) straight = 8 ft (2.4 m)
1 - wall cap = 0 ft (0 m)
Length of 3 1/4" x 10"
(8.3 cm x 25.4 cm) system
= 13 ft (3.9 m)

Electrical Requirements

burn hazardburn hazard
Electrical Shock Hazard
Plug into a grounded 3 prong outlet.
Do not remove ground prong.
Do not use an adapter.
Do not use an extension cord.
Failure to follow these instructions can result in death, fire, or electrical shock.


The range hood must be electrically grounded in accordance with local codes and ordinances, or in the absence of local codes, with the National Electrical Code, ANSI/NFPA 70 (latest edition) or Canadian Electrical Code, CSA C22.1 No. 0-M91 (latest edition).

If codes permit and a separate ground wire is used, it is recommended that a qualified electrician determine that the ground path is adequate.

A copy of the above code standards can be obtained from:
National Fire Protection Association
1 Batterymarch Park
Quincy, MA 02169-7471

CSA International
8501 East Pleasant Valley Road
Cleveland, OH 44131-5575

  • A 120 volt, 60 Hz, AC only, 15- or 20-amp, fused electrical circuit is required. A time-delay fuse or circuit breaker is also recommended. It is recommended that a separate circuit serving only this range hood be provided.
  • This range hood is equipped with a power supply cord having a 3 prong grounding plug.

  • To minimize possible shock hazard, the cord must be plugged into a mating, 3 prong, grounding-type outlet, grounded in accordance with local codes and ordinances. If a mating outlet is not available, it is the personal responsibility and obligation of the customer to have the properly grounded outlet installed by a qualified electrician.
  • The grounded 3 prong outlet is to be located inside the cabinet above the range hood at a maximum distance of 33 7/16" (85 cm) from where the power cord exits the hood.
    Grounded 3 prong outlet length and location

GROUNDING INSTRUCTIONS

  • burn hazard For a grounded, cord-connected range hood: This range hood must be grounded. In the event of an electrical short circuit, grounding reduces the risk of electric shock by providing an escape wire for the electric current. This range hood is equipped with a cord having a grounding wire with a grounding plug. The plug must be plugged into an outlet that is properly installed and grounded.


Improper grounding can result in a risk of electric shock.

Consult a qualified electrician if the grounding instructions are not completely understood, or if doubt exists as to whether the range hood is properly grounded.

Do not use an extension cord. If the power supply cord is too short, have a qualified electrician install an outlet near the range hood.

SAVE THESE INSTRUCTIONS

INSTALLATION INSTRUCTIONS

Prepare Location

NOTE: For vented installations, it is recommended that the vent system be installed before hood is installed.

Before making cutouts, make sure there is proper clearance within the ceiling or wall for exhaust vent.

  1. For vented installations, determine which venting method to use: roof or wall.
  2. Select a flat surface for assembling the range hood. Place covering over that surface.


Excessive Weight Hazard
Use two or more people to move and install range hood.
Failure to do so can result in back or other injury.

  1. Using 2 or more people, lift the range hood and set it upside down onto covered surface.
  2. If cabinet has recessed bottom, add wood filler strips on each side. Install screws to attach filler strips in locations shown.

Determine Wiring Hole Location

Cut only one 1 1/4" (3.2 cm) diameter wiring access hole. See Step 2 for wiring hole location instructions.

  1. Determine and clearly mark a vertical centerline on the wall and cabinet in the area the vent opening will be made.
    1. Centerline
  2. To wire through top:
    Mark a line distance "A" from the left of the centerline on the underside of the cabinet. Mark the point on this line that is 2" (5.1 cm) from back wall. Drill a 1 1/4" (3.2 cm) diameter hole through the cabinet at this point.
    1. 12" (30.5 cm)

Style 1 - Cut Openings for 3 1/4" x 10" (8.3 cm x 25.4 cm) Rectangular Vent System
Roof Venting
To make a 4 1/4" x 10 1/2" (10.8 cm x 26.7 cm) rectangular cutout on the underside of cabinet top and bottom:

*From wall, not cabinet frame

  1. Mark lines 1/2" (1.3 cm) and 4 3/4" (12.1 cm) from the back wall on the centerline of the underside of cabinet.
  2. Mark lines 5 1/4" (13.3 cm) to the right and left of the centerline on the underside of cabinet.
  3. Use saber or keyhole saw to cut a rectangular opening for vent.
  4. Repeat steps 1 through 3 for the underside of the top of the cabinet.

Wall Venting
To make a 3 1/2" x 10 1/2" (8.9 cm x 26.7 cm) rectangle in the wall:

  1. Make 2 lines by measuring 3/8" (9.5 mm) and 3 7/8 (9.8 cm) down from underside of cabinet and mark on the centerline on the back wall.
  2. Mark lines 5 1/4 (13.3 cm) to the right and left of the centerline on the wall.
  3. Use saber or keyhole saw to cut a rectangular opening in the wall for the vent.

Style 2 - Cut Openings for 3 1/4" x 10" (8.3 x 25.4 cm) Rectangular Vent to Round Vent Transition
Roof Venting
To make a 4 1/4" x 10 1/2" (10.8 cm x 26.7 cm) rectangular cutout on the underside of cabinet bottom:


*From wall, not cabinet frame

  1. Mark lines 1/2" (1.3 cm) and 4 3/4" (12.1 cm) from the back wall on the centerline of the underside of cabinet.
  2. Mark lines 5 1/4" (13.3 cm) to the right and left of the centerline on the underside of cabinet.
  3. Use saber or keyhole saw to cut a rectangular opening for vent.

To make a circular vent opening on the underside of the cabinet top:

  1. Mark a centerline on the underside of the top of cabinet.
  2. Mark a line 5" (12.7 cm) from the back wall on the underside of the top of cabinet.
  3. Use a compass or a circle template to draw a circle with a diameter that is 1/4" (6.4 mm) larger than the vent.
  4. Use saber or keyhole saw to cut the circular vent opening.

Install Vent System

  1. Install vent through the vent opening in upper cabinet or wall. Complete venting system according to the selected venting method. See "Venting Requirements" section.
  2. Use caulking to seal exterior wall or roof opening around the cap.

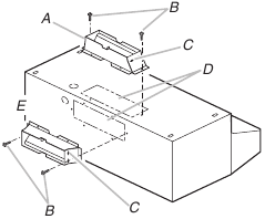
Install the Device

  1. Remove the grease filters. See the "Product Care" section.
    Installing the Device - Step 1
  2. Remove mounting screws and lateral supports.
    Installing the Device - Step 2
    1. Lateral supports
    2. Mounting screws
  3. For vented installations:
    • Depending on your installation, remove either top or rear rectangular vent knockout. If using round vent, remove top rectangular knockout.
      NOTE: Do not remove rectangular knockouts if installation of range hood is to be non-venting (recirculating).
    • Make sure damper pivot is nearest to top/back edge of range hood.
    • Remove tape from damper flap.
      NOTE: The exhaust adaptor/damper can be installed up to 1" (2.5 cm) on either side of the hood center to accommodate off-center ductwork.
    • If using rectangular vent, attach rectangular damper/vent connectors to the range hood using sheet metal screws.
  1. Vertical vent
  2. Sheet metal screws
  3. Hinge pin
  4. Vent knockouts
  5. Horizontal vent
  • If using round vent, attach vent transition piece (purchased separately) to range hood top using sheet metal screws.
    NOTE: If the wall cap is directly behind the vent connector, the dampers in the connector and wall cap must not interfere with each other. Remove the vent connector damper if they interfere.
  1. Lift the range hood up under cabinet and determine final location by centering beneath cabinet. Mark on the underside of cabinet the location of the 4 keyhole mounting slots on the range hood. Set range hood aside on a covered surface.
    1. Keyhole slot
  2. Use 1 / 8 " (3 mm) drill bit and drill 4 pilot holes as shown.
    1. Drill pilot hole
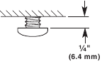
  3. Install the 4 - #10 x 5/8" mounting screws in pilot holes. Leave about 1/4" (6.4 mm) space between screw heads and cabinet to slide range hood into place.
  4. For non-vented (recirculating) installations:
    • Remove screws and rear support.
      Installing the Device - Step 3 - Remove screws
      1. Rear support
    • Remove the blower mounting screws. Push up on the blower to detach the blower from the mounting plate.
    • Remove the vent knockout from the front mounting plate.
      Installing the Device - Step 4
      1. Front mounting plate knockout
      2. Blower mounting screws
      3. Blower
    • Rotate the blower and attach to front mounting plate. Install the blower mounting screws.
      Installing the Device - Step 5 - Rotate the blower
      1. Front mounting plate
      2. Blower mounting screws
    • Install charcoal filters. See the "Product Care" section.
  5. Using 2 people, lift range hood into final position, feeding electrical wire through wiring opening. Position the range hood so that the large end of the keyhole slots are over the screws. Then push the hood toward the wall so that the screws are in the neck of the slots. Tighten mounting screws to cabinet, making sure mounting screws are in narrow neck of slots.
  6. Check that damper, if used, rotates up and down freely.
  7. Reinstall the rear support.
  8. Replace the 2 lateral supports.
  9. Replace filters. See the "Product Care" section.

burn hazardburn hazard
Electrical Shock Hazard
Plug into a grounded 3 prong outlet.
Do not remove ground prong.
Do not use an adapter.
Do not use an extension cord.
Failure to follow these instructions can result in death, fire, or electrical shock.

  1. Plug 3 prong power cord into a grounded 3 prong outlet located inside the cabinet above the range hood.
  2. For Vented Installations Only:
    Connect ventwork to hood. Seal joints with clamps to make secure and airtight.

Complete Installation

  1. Replace grease filters. See the "Product Care" section.
  2. Check the operation of the range hood fan and light. See "Product Use" section.
    If range hood does not operate, check to see whether a circuit breaker has tripped or a household fuse has blown. Disconnect power and check wiring connections.

NOTE: To get the most efficient use from your new range hood, read the "Product Use" section.

PRODUCT USE

The range hood is designed to remove smoke, cooking vapors and odors from the cooktop area. For best results, start the hood before cooking and allow it to operate several minutes after the cooking is complete to clear all smoke and odors from the kitchen.
The hood controls are located on the center of the range hood.
Parts of the unit

  1. Halogen lamp housings
  2. Grease filter handle
  3. Blower and light controls
  4. Grease filter

Device Controls

Device Controls

  1. Blower speed maximum button
  2. Blower speed medium button
  3. Blower speed minimum button
  4. Blower Off button
  5. On/Off light button

Operating the light

The On/Off light button controls both lights. Press once for On and again for Off.

Operating the blower

The Blower Speed buttons turn the blower On and control the blower speed and sound level for quiet operation. The speed can be changed anytime during fan operation by pressing the desired blower speed button.
The Blower Off button turns the blower Off.

PRODUCT CARE


Clean the hood and grease filters frequently according to the following instructions. Replace grease filters before operating hood.

Exterior Surfaces

To avoid damage to the exterior surface, do not use steel wool or soap-filled scouring pads.
Always wipe dry to avoid water marks.

Cleaning Method:

  • Liquid detergent soap and water, or all-purpose cleanser
  • Wipe with damp soft cloth or nonabrasive sponge, and then rinse with clean water and wipe dry.

Metal Grease Filter

  1. Remove the filter by pulling the spring release handle and then pulling down the filter.
    1. Spring release handle
  2. Wash metal filter as needed in dishwasher or hot detergent solution.
  3. Reinstall the filter by making sure the spring release handles are toward the front. Insert aluminum filter into upper track.
  4. Push in spring release handle.
  5. Push up on metal filter and release handle to latch into place.
  6. Repeat steps 1-5 for the other filter.

Non-Vented (recirculating) Installation Filters

The charcoal filter is not washable. It should last up to six months with normal use. Replace with Charcoal Filter Kit Number W10272068.

To replace charcoal filter:

  1. Cover the grille that covers the blower motor with the charcoal filter so that the slots on the filter correspond to the pins on the sides of the motor cover grille.
    Replacing charcoal filter
    1. Charcoal filter
    2. Pins
    3. Blower motor
  2. Turn the charcoal filter clockwise to lock it.
  3. Repeat steps 1 through 2 on the other filter.

Replacing a Halogen Lamp

Turn off the range hood and allow the halogen lamp to cool. To avoid damage or decreasing the life of the new lamp, do not touch lamp with bare fingers. Replace lamp, using tissue or wearing cotton gloves to handle lamp.

If new lights do not operate, make sure the lamps are inserted correctly before calling service.

  1. Disconnect power.
  2. Use a flat-blade screwdriver and gently pry the light cover loose.
  3. Remove the lamp and replace with a 12-volt, 40-watt maximum, halogen lamp made for a G-9 base.
  4. Replace the light cover.
  5. Reconnect power.

WIRING DIAGRAM

WIRING DIAGRAM

Switch Operation
Function Position
Off No connection
Lamps GY/YL (L - LA)
Low speed GY/WH (L - 1)
Med speed GY/RD (L - 2)
High speed GY/BK (L - 3)
Motor Specifications
Power Supply 120 VAC
Frequency 60 Hz
Power Absorption 240 WH
Motor Resistance (Ohms)
BU-BK 28.8
BU-GY 30.3
BU-RD 37.7
BU-WH 45.1
Room temperature 73.4˚F (23˚C)

ASSISTANCE OR SERVICE

If you need replacement parts
If you need to order replacement parts, we recommend that you use only factory specified parts. Factory specified parts will fit right and work right because they are made with the same precision used to build every new appliance.

To locate factory specified replacement parts in your area, call the following customer assistance telephone number or your nearest designated service center.

In the USA

Call the Whirlpool Customer eXperience Center toll free: 1-800-253-1301 or visit our website at www.whirlpool.com.

Our consultants provide assistance with:

  • Scheduling of service. Whirlpool designated service technicians are trained to fulfill the product warranty and provide after-warranty service anywhere in the United States.
  • Features and specifications on our full line of appliances.
  • Referrals to local dealers.
  • Installation information.
  • Use and maintenance procedures.
  • Accessory and repair parts sales.
  • Specialized customer assistance (Spanish speaking, hearing impaired, limited vision, etc.).

For further assistance
If you need further assistance, you can write to Whirlpool Corporation with any questions or concerns at:
Whirlpool Brand Home Appliances
Customer eXperience Center
553 Benson Road
Benton Harbor, MI 49022-2692

Please include a daytime phone number in your correspondence.

In Canada

Call the Whirlpool Canada Customer eXperience Centre toll free: 1-800-807-6777, or visit our website at www.whirlpool.ca.

Our Consultants Provide Assistance With:

  • Scheduling of Service. Whirlpool designated service technicians are trained to fulfill the product warranty and provide after-warranty service anywhere in Canada.
  • Features and specifications on our full line of appliances.
  • Referrals to local dealers.
  • Use and maintenance procedures.
  • Accessory and repair parts sales.

For Further Assistance
If you need further assistance, you can write to Whirlpool Canada with any questions or concerns at:
Whirlpool Brand Home Appliances
Customer eXperience Centre
200 - 6750 Century Ave.
Mississauga, Ontario L5N 0B7

Please include a daytime phone number in your correspondence.

Accessories

Replacement Charcoal Filter Kit (2 Pack of Filters)
(for non-vented installations only)
Order Part Number W10272068

3 1/4" x 10" (8.3 x 25.4 cm) Makeup Air Kit
(consult local building codes)
Order Part Number W10446914

PRODUCT SAFETY

Your safety and the safety of others are very important.
We have provided many important safety messages in this manual and on your appliance. Always read and obey all safety messages.

warning This is the safety alert symbol.
This symbol alerts you to potential hazards that can kill or hurt you and others.
All safety messages will follow the safety alert symbol and either the word "DANGER" or "WARNING." These words mean:

You can be killed or seriously injured if you don't immediately follow instructions.
You can be killed or seriously injured if you don't follow instructions.

All safety messages will tell you what the potential hazard is, tell you how to reduce the chance of injury, and tell you what can happen if the instructions are not followed.

State of California Proposition 65 Warnings:

This product contains one or more chemicals known to the State of California to cause cancer.


This product contains one or more chemicals known to the State of California to cause birth defects or other reproductive harm.

IMPORTANT SAFETY INSTRUCTIONS
burn hazardburn hazard
TO REDUCE THE RISK OF FIRE, ELECTRIC SHOCK, OR INJURY TO PERSONS, OBSERVE THE FOLLOWING:

  • Use this unit only in the manner intended by the manufacturer. If you have questions, contact the manufacturer.
  • Before servicing or cleaning unit, switch power off at service panel and lock the service disconnecting means to prevent power from being switched on accidentally. When the service disconnecting means cannot be locked, securely fasten a prominent warning device, such as a tag, to the service panel.
  • Installation work and electrical wiring must be done by qualified person(s) in accordance with all applicable codes and standards, including fire-rated construction.
  • Do not operate any fan with a damaged cord or plug. Discard fan or return to an authorized service facility for examination and/or repair.
  • Sufficient air is needed for proper combustion and exhausting of gases through the flue (chimney) of fuel burning equipment to prevent back drafting. Follow the heating equipment manufacturer's guideline and safety standards such as those published by the National Fire Protection Association (NFPA), and the American Society for Heating, Refrigeration and Air Conditioning Engineers (ASHRAE), and the local code authorities.
  • When cutting or drilling into wall or ceiling, do not damage electrical wiring and other hidden utilities.
  • Ducted fans must always be vented to the outdoors.

    For general ventilating use only. Do not use to exhaust hazardous or explosive materials and vapors.

    To reduce risk of fire and to properly exhaust air, be sure to duct air outside - Do not vent exhaust air into spaces within walls or ceilings or into attics, crawl spaces, or garages.


TO REDUCE THE RISK OF FIRE, USE ONLY METAL DUCTWORK

burn hazardburn hazard
TO REDUCE THE RISK OF A RANGE TOP GREASE FIRE:

  • Never leave surface units unattended at high settings. Boilovers cause smoking and greasy spillovers that may ignite. Heat oils slowly on low or medium settings.
  • Always turn hood ON when cooking at high heat or when flambeing food (i.e. Crepes Suzette, Cherries Jubilee, Peppercorn Beef Flambe).
  • Clean ventilating fans frequently. Grease should not be allowed to accumulate on fan or filter.
  • Use proper pan size. Always use cookware appropriate for the size of the surface element.

burn hazardburn hazard
TO REDUCE THE RISK OF INJURY TO PERSONS IN THE EVENT OF A RANGE TOP GREASE FIRE, OBSERVE THE FOLLOWING*:


  • SMOTHER FLAMES with a close-fitting lid, cookie sheet, or metal tray, then turn off the burner. BE CAREFUL TO PREVENT BURNS. If the flames do not go out immediately, EVACUATE AND CALL THE FIRE DEPARTMENT.
  • NEVER PICK UP A FLAMING PAN - You may be burned.
  • DO NOT USE WATER, including wet dishclothes or towels - a violent steam explosion will result.
  • Use an extinguisher ONLY if:
    • You know you have a Class ABC extinguisher, and you already know how to operate it.
    • The fire is small and contained in the area where it started.
    • The fire department is being called.
    • You can fight the fire with your back to an exit.

*Based on "Kitchen Fire Safety Tips" published by NFPA.


  • To reduce the risk of fire or electric shock, do not use this fan with any solid-state speed control device.

READ AND SAVE THESE INSTRUCTIONS

Documents / Resources

References

Download manual

Here you can download full pdf version of manual, it may contain additional safety instructions, warranty information, FCC rules, etc.

Download Whirlpool UXT5530AAS - 30" Convertible Under-Cabinet Hood Manual

Available languages

Advertisement

Need help?

Need help?

Do you have a question about the UXT5530AAS and is the answer not in the manual?

Questions and answers

Table of Contents