Advertisement

Whirlpool WVU57UC0F; WVU57UC6F - 36" Range Hood with Boost Function Manual

INSTALLATION REQUIREMENTS

Tools and Pars

Gather the required tools and parts before starting installation. Read and follow the instructions provided with any tools listed here.

Tools needed

  • Drill
  • 1¹⁄ 4 " (3.0 cm) drill bit
  • 1/8" (3.0 mm) drill bit for pilot holes
  • Pencil
  • Wire stripper or utility knife
  • Tape measure or ruler
  • Caulking gun and weatherproof caulking compound
  • Flat-blade screwdriver
  • Phillips screwdriver
  • Saber or keyhole saw
  • Metal snips

Parts supplied
Remove parts from package. Check that all parts are included.

  • #8-18 x 1" (4.2 mm x 25 mm) flat-head screws (2)
  • #8-18 x 5/8" (4.2 mm x 16 mm) truss-head screws (4)
  • Drywall anchors (2)
  • Mounting brackets (2)
  • 9/64" x 13/64" (3.5 mm x 5 mm) T10-head screws (2)
  • T10 TORX ®† adapter (1)
  • 3 / 1 4 " x 10" (8.3 cm x 25.4 cm) rectangular air transition (1)
  • Regular air damper (1)

Parts needed

  • Wall or roof cap with damper to match vent system
  • 3 - UL Listed wire connectors
  • Vent clamps/duct tape as required

For 7" (17.8 cm) round vented installations:

  • 7" (17.8 cm) round metal vent system

For 3¹⁄4" x 10" (8.3 cm x 25.4 cm) rectangular vented installations:

  • 3¹⁄4" x 10" (8.3 cm x 25.4 cm) rectangular metal vent system

For non-vented (recirculation) installations:

  • Charcoal filter kit. For information on ordering, see the "Accessories" section.

Location Requirements


Observe all governing codes and ordinances.

  • It is the installer's responsibility to comply with installation clearances specified on the model/serial/rating plate. The model/serial/rating plate is located inside the range hood on the left wall.
  • Range hood location should be away from strong draft areas, such as windows, doors, and strong heating vents.
  • Cabinet opening dimensions that are shown must be used. Given dimensions provide minimum clearance. Consult the cooktop/range manufacturer installation instructions before making any cutouts.
  • This range hood is recommended for use with cooktops with a maximum total rating of 55,000 BTUs or less.
  • Grounded electrical outlet is required. See the "Electrical Requirements" section.
  • All openings in ceiling and wall where range hood will be installed must be sealed.
  • These range hoods are factory set for vented installations. Models that are capable of being installed as non-vented (recirculating) require charcoal filters. See the "Accessories" section to order charcoal filter kit.

For Mobile Home Installations
The installation of this range hood must conform to the Manufactured Home Construction Safety Standards, Title 24 CFR, Part 328 (formerly the Federal Standard for Mobile Home Construction and Safety, title 24, HUD, Part 280) or when such standard is not applicable, the standard for Manufactured Home Installation 1982 (Manufactured Home Sites, Communities and Setups) ANSI A225.1/NFPA 501A, or latest edition, or with local codes.

Product Dimensions

Product Dimensions

  1. 6 19 / 54 " (16 cm)
  2. 2" (5 cm)
  3. 825/64" (21.3 cm)
  4. 1" (2.54 cm)
  5. 9" (22.8 cm)
  6. 1911/16" (50 cm)
  7. 11/2" (3.8 cm)
  8. 36" (91.4 cm)
    30" (76.2 cm)
  9. 55/64" (2.2 cm)

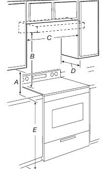
Installation Clearances

Installation Clearances

  1. 18" (45.7 cm) minimum clearance - upper cabinet to countertop
  2. 24" (61.0 cm) minimum - bottom of range hood to cooking surface
  3. 30" (76.2 cm) minimum cabinet opening width for 30" (76.2 cm) models
    36" (91.4 cm) minimum cabinet opening width for 36" (91.4 cm) models
  4. 12" (30.5 cm) minimum cabinet depth
  5. 36" (91.4 cm) base cabinet height

Venting Requirements

  • This range hood is factory set to exhaust the air to the outside through the wall or the roof. A non-vented (recirculating) installation will require a Charcoal Filter Kit. See the "Accessories" section for ordering information.
  • Vent system must terminate to the outdoors, except for nonvented (recirculating) installations.
  • Do not terminate the vent system in an attic or other enclosed area.
  • Do not use a 4" (10.2 cm) laundry-type wall cap.
  • Use a 7" (17.8 cm) round metal vent or a 3¹⁄ 4 " x 10" (8.3 cm x 25.4 cm) rectangular metal vent, depending on your installation requirements. Rigid metal vent is recommended. Plastic or metal foil vent is not recommended.
  • The length of vent system and number of elbows should be kept to a minimum to provide efficient performance.

For the most efficient and quiet operation:

  • Use no more than three 90° elbows.
  • Make sure there is a minimum of 24" (61 cm) of straight vent between the elbows if more than 1 elbow is used.
  • Do not install 2 elbows together.
  • Use clamps or duct tape to seal all joints in the vent system.
  • The vent system must have a damper. If roof or wall cap has a damper, do not use damper supplied with the range hood.
  • Use caulking to seal exterior wall or roof opening around the cap.

Cold Weather Installations
An additional back draft damper should be installed to minimize backward cold air flow and a thermal break should be installed to minimize conduction of outside temperatures as part of the vent system. The damper should be on the cold air side of the thermal break.
The break should be as close as possible to where the vent system enters the heated portion of the house.

Makeup Air
Local building codes may require the use of makeup air systems when using ventilation systems greater than specified CFM of air movement. The specified CFM varies from locale to locale. Consult your HVAC professional for specific requirements in your area.

Venting Methods

Vent system can terminate either through the roof or wall. Use 3¹⁄4" x 10" (8.3 cm x 25.4 cm) rectangular with a maximum vent length of 35 ft (10.7 m) or 7" (17.8 cm) or larger round vent with a maximum length of 50 ft (15.2 m) for vent system.

NOTE: Flexible vent is not recommended. Flexible vent creates both back pressure and air turbulence that greatly reduce performance.

Venting Methods

  1. 7" (17.8 cm) round vent through roof or 314" x 10" (8.3 cm x 25.4 cm) rectangular vent through the roof or wall (purchased separately)
  2. Roof/Wall cap with damper (purchased separately)
  3. 24" (61.0 cm) minimum above the cooking surface
  4. Charcoal Filter Kit (purchased separately)
  5. Recirculating grid

Calculating Vent System Length

To calculate the length of the system you need, add the equivalent feet (meters) for each vent piece used in the system.

7" (17.8 cm) Round Vent System

Vent Piece Round
45° elbow 2.5 ft (0.8 m)
90° elbow 5.0 ft (1.5 m)
7" (17.8 cm) wall cap 0.0 ft (0.0 m)
3¹⁄ 4 " x 10" (8.3 cm x 25.4 cm) to 7" (17.8 cm) 4.5 ft (1.4 m)
3¹⁄ 4 " x 10" (8.3 cm x 25.4 cm) to 7" (17.8 cm) 90° elbow 5.0 ft (1.5 m)

Example vent system
Example vent system - Part 1

Maximum Recommended Length = 50 ft (15.2 m)
1 - 90° elbow = 5.0 ft (1.5 m)
1 - wall cap = 0.0 ft (0.0 m)
8 ft (2.4 m) straight = 8.0 ft (2.4 m)
Length of 7" (17.8 cm) system = 13.0 ft (3.9 m)

3¹⁄ 4 " x 10" (8.3 cm x 25.4 cm) Vent System

Vent Piece
3¹⁄ 4 " x 10" (8.3 cm x 25.4 cm) 90° elbow 5.0 ft (1.5 m)
3¹⁄ 4 " x 10" (8.3 cm x 25.4 cm) flat elbow 12.0 ft (3.7 m)
3¹⁄ 4 " x 10" (8.3 cm x 25.4 cm) wall cap 0.0 ft (0.0 m)

Example vent system
Example vent system - Part 2

Maximum Recommended Length = 35 ft (10.7 m)
1 - 90° elbow = 5.0 ft (1.5 m)
8 ft (2.4 m) straight = 8.0 ft (2.4 m)
1 - wall cap = 0.0 ft (0.0 m)
Length of 3¹⁄ 4 " x 10" (8.3 cm x 25.4 cm) system = 13.0 ft (3.9 m)

Electrical Requirements

Observe all governing codes and ordinances.

Ensure that the electrical installation is adequate and in conformance with National Electrical Code, ANSI/NFPA 70 (latest edition), or CSA Standards C22.1-94, Canadian Electrical Code, Part 1 and C22.2 No. 0-M91 (latest edition) and all local codes and ordinances.

If codes permit and a separate ground wire is used, it is recommended that a qualified electrician determine that the ground path is adequate.

A copy of the above code standards can be obtained from:

National Fire Protection Association
1 Batterymarch Park
Quincy, MA 02169-7471
CSA International
8501 East Pleasant Valley Road
Cleveland, OH 44131-5575

  • A 120 V, 60 Hz, AC only, 15 A, fused electrical circuit is required.
  • If the house has aluminum wiring, follow the procedure below: Connect the aluminum wiring using special connectors and/or tools designed and UL listed for joining copper to aluminum. Follow the electrical connector manufacturer's recommended procedure. Aluminum/copper connection must conform with local codes and industry accepted wiring practices.
  • Wire sizes and connections must conform with the rating of the appliance as specified on the model/serial/rating plate. The model/serial/rating plate is located inside the range hood on the left wall.
  • Wire sizes must conform to the requirements of the National Electrical Code, ANSI/NFPA 70 (latest edition), or CSA Standards C22. 1-94, Canadian Electrical Code, Part 1 and C22.2 No. 0-M91 (latest edition) and all local codes and ordinances.

INSTALLATION INSTRUCTIONS

Prepare Location

NOTE: It is recommended that the vent system be installed before hood is installed.

Before making cutouts, make sure there is proper clearance within the ceiling or wall for exhaust vent.

  1. Disconnect "power."

    Electrical Shock Hazard
    Disconnect power before servicing.

    Replace all parts and panels before operating.
    Failure to do so can result in death or electrical shock.
  2. Depending on your model, determine which venting method to use: roof, wall, or non-vented (recirculating).
  3. Select a flat surface for assembling the range hood. Place covering over that surface.
  4. Lift the range hood and set it upside down onto covered surface.

Determine Wiring Hole Location

Cut only one 1¹⁄4" (3.2 cm) diameter wiring access hole.

  1. Determine and clearly mark a vertical centerline on the wall and cabinet in the area the vent opening will be made.
    Determine Wiring Hole Location - Step 1
    1. Centerline

To wire through top:

  1. Mark a line distance "A" from the right of the centerline on the underside of the cabinet. For 12" (30.5 cm) deep cabinets, mark the "int on this line that is 2" (5.1 cm) from the back wall. For 15" (38.1 cm) deep cabinets, mark the point on this line that is 5" (12.7 cm) from the back wall. Drill a 1¼" (3.2 cm) diameter hole through the cabinet at this point.
    Determine Wiring Hole Location - Step 2
    1. 83/8 " (21.3 cm)
    2. 2" (5.1 cm) for 12" (30.5 cm) deep cabinets* 5" (12.7 cm) for 15" (38.1 cm) deep cabinets* *From wall, not cabinet frame *From wall, not cabinet frame

To wire through wall

  1. Mark a line distance "A" from the right of the centerline on the underside of the wall. Mark the point on this line that is 7/8" (2.2 cm) from the underside of the cabinet. Drill a 1¹⁄4" (3.2 cm) diameter hole through the rear wall at this point.
    Determine Wiring Hole Location - Step 3
    1. 83/8 " (21.3 cm)

Style 1 - Cut Openings for 3¼" x 10" (8.3 cm x 25.4 cm) Rectangular Vent System

Roof Venting
To make a 4¹⁄4" x 10½" (10.8 cm x 26.7 cm) rectangular cutout on the underside of cabinet top and bottom:

  1. Mark lines 1/2" (1.3 cm) and 4³⁄4" (12.1 cm) from the back wall on the centerline of the underside of cabinet.
  2. Mark lines 5¼" (13.3 cm) to the right and left of the centerline on the underside of cabinet.
  3. Use saber or keyhole saw to cut a rectangular opening for vent.
  4. Repeat steps 1-3 for the underside of the top of the cabinet.
    Style 1 - Cut Openings for 3¼
    1. 1/2" (1.3 cm)*
    2. 43 / 4 " (12.1 cm)*

Wall Venting
To make a 3½" x 10½" (8.9 cm x 26.7 cm) rectangle in the wall:

  1. Make 2 lines by measuring 3/8" (9.5 mm) and 378" (9.8 cm) down from underside of cabinet and mark on the centerline on the back wall.
  2. Mark lines 5¼" (13.3 cm) to the right and left of the centerline on the wall.
  3. Use saber or keyhole saw to cut a rectangular opening in the wall for the vent.
    Style 1 - Cut Openings for 3¼

Style 2 - Cut Openings for 3¼" x 10" (8.3 x 25.4 cm) Rectangular Vent to Round Vent Transition

Roof Venting
To make a 4¹⁄4" x 10½" (10.8 cm x 26.7 cm) rectangular cutout on the underside of cabinet bottom:

  1. Mark lines 1/2" (1.3 cm) and 4³⁄4" (12.1 cm) from the back wall on the centerline of the underside of cabinet.
  2. Mark lines 5¼" (13.3 cm) to the right and left of the centerline on the underside of cabinet.
  3. Use saber or keyhole saw to cut a rectangular opening for vent.
    Style 2 - Cut Openings for 3¼
    1. 1/2" (1.3 cm)*
    2. 43/4" (12.1 cm)*

To make a circular vent opening on the underside of the cabinet top:

  1. Mark a centerline on the underside of the top of cabinet.
  2. Mark a line 5" (12.7 cm) from the back wall on the underside of the top of cabinet.
  3. Use a compass or a circle template to draw a circle with a diameter that is 1/4" (6.4 mm) larger than the vent.
  4. Use saber or keyhole saw to cut the circular vent opening.
    1. 5" (12.7 cm)*

Style 3 - Cut Openings for 7" (17.8 cm) Round Vent

To make a circular vent openings on the underside of the cabinet top and bottom:

  1. Mark a centerline on the underside of the top of cabinet.
  2. Mark a line 5" (12.7 cm) from the back wall on the underside of the top and bottom of cabinet.
  3. Use a compass or a circle template to draw a circle with a diameter that is 1/4" (6.4 mm) larger than the vent.
  4. Use saber or keyhole saw to cut the circular vent opening.
    Style 3 - Cut Openings for 7
    1. 5" (12.7 cm)*

Install Vent System

  1. Install vent through the vent opening in upper cabinet or wall. Complete venting system according to the selected venting method. See the "Venting Requirements" section.
  2. Use caulking to seal exterior wall or roof opening around the cap.

Prepare Range Hood

Only for venting through the top/wall options:

  1. Remove vent knockouts, depending on your installation requirements.
    Prepare Range Hood - Step 1
    1. Round vent knockout
    2. Top rectangular vent knockout
    3. Rear rectangular vent knockout
    Round vent system installations - Remove top rectangular and round vent knockouts.
    Rectangular vent system installations - For roof installations, remove the top rectangular vent knockout. For wall installations, remove the rear rectangular vent knockout.
    Non-vent (recirculating) installations - Do not remove any knockouts.
  2. Install 7" (17.8 cm) round vent mounting plate or 3¹⁄ 4 " x 10" (8.3 cm x 25.4 cm) vent damper, depending on your vent system installation. Attach to range hood with 3.5 x 9.5 mm screws provided and remove the tape from the damper flap.
    NOTE: An optional 7" (17.8 cm) round damper is also available as an accessory. For information on ordering, see the "Accessories" section.
    Prepare Range Hood - Step 2
    1. 7" (17.8 cm) round damper (See the "Accessories" section)
    2. 3.5 x 9.5 mm screws
    3. 7" (17.8 cm) round vent mounting plate
    4. Round vent knockout
    5. Rectangular vent knockout
    NOTE: The round vent damper may only be installed on the top of the product.
    Prepare Range Hood - Step 3
    1. Vertical air transition
    2. 3.5 x 9.5 mm screws
    3. Vent knockouts
    4. Horizontal air transition

Only for recirculating options
For this venting method, it is neccesary to purchase a Charcoal Filter Kit. See the "Accessories" section for ordering.

  1. Remove each filter by pulling the spring-release handle and then pulling down the filter.
  2. Remove the venting method screw from the Vented option with a T10 TORX® screwdriver and set aside.
    Prepare Range Hood - Step 4
    1. Venting method screw
  3. Slide the venting lever down as shown in the following image.
    Prepare Range Hood - Step 5
    1. Lever on No Vented option
  4. Replace the venting method screw on the No Vented (recirculating) option.
    Prepare Range Hood - Step 6
    1. No Vented method screw
  5. Remove the no vented (recirculating) vent cover.
    Prepare Range Hood - Step 7
    A. Non-vented (recirculating) vent cover
  6. Bend spring clips away from metal grease filter.
  7. Place charcoal filter into top side of metal filter.
  8. Bend spring clips back into place to secure the charcoal filter to the metal filter.
  9. Replace metal grease filter.

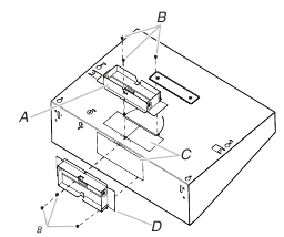
Install Range Hood

  1. Remove the power supply knockout from the top or rear of the vent hood (depending on the incoming location of your home power supply cable) and install a UL Listed or CSA Approved 1/2" strain relief.
    Install Range Hood - Step 1
    1. Power supply knockout
  2. Align the exterior edge of the mounting brackets with the exterior edges of the upper cabinet.

    The brackets should touch the upper cabinet. With a pencil, mark the upper holes on the brackets.
    Install Range Hood - Step 2
  3. Using a #2 Phillips screwdriver, install the drywall anchors. Using #8-18 x 1" (4.2 x 25 mm) flat-head #2 Phillips screws, install the mounting brackets using the upper holes.
    NOTE: For installation to a surface other than drywall, it is recommended that a qualified contractor determine the anchoring method.
    Install Range Hood - Step 3
  4. Lift the range hood into place and insert the mounting bracket tabs through the slots in the back of the range hood.
    Install Range Hood - Step 4
  5. From the inside of the range hood, start a #8-18 x 5/8" (4.2 x 16 mm) truss-head screw into the mounting tab (A) on each side of the range hood as shown in the following inset. Insert the screws approximately 2 turns into the mounting tab holes. Bend each mounting tab upward approximately 45°.
    Install Range Hood - Step 5
    1. Mounting tab
  6. Lift the range hood into place, positioning the rear slots over the mounting brackets.
  7. Using a Phillips screwdriver, push on the screws that are started into the top mounting tabs and bend the tabs against the cabinet side walls. Attach the screws to the cabinet side walls.
  8. For direct wire installations, run the home power supply cable according to the National Electric Code or CSA standards and local codes and ordinances. There must be enough wiring from the fused disconnect (or circuit breaker) box to make the connection in the range hood electrical terminal box.
  9. Tighten the strain relief screws.
    NOTE: Do not reconnect power until the installation is complete.
    OPTIONAL: If you prefer, bend the rear tabs against the rear of the range hood and attach to the wall using #8-18 x 5/8" (4.2 x 16 mm) truss-head screws.
    Install Range Hood - Step 6

Connect Vent System

Connect the ventwork to the range hood. Seal joints with vent clamps or duct tape to make secure and airtight. Check that the backdraft dampers work properly.

Power Supply Cable Installation

  1. For direct wire installations, run the home power supply cable according to the National Electric Code or CSA standards and local codes and ordinances. There must be enough wiring from the fused disconnect (or circuit breaker) box to make the connection in the hood electrical terminal box.
    For optional power supply cord kit (see the "Accessories" section), follow the instructions in the "Make Electrical Connections" section.

NOTES:

  • Use only with range hood cord connection kits that have been investigated and found acceptable for use with this model range hood.
  • Do not reconnect power until the installation is complete.
  1. Remove the screw from the terminal box cover. Remove terminal box cover and set aside.
    Power Supply Cable Installation
    1. Terminal box cover
    2. Screw

Make Electrical Connection

Option 1 - Direct Wire Installations


Electrical Shock Hazard
Disconnect power before servicing.

Replace all parts and panels before operating.

Failure to do so can result in death or electrical shock.

  1. Disconnect power.
    Option 1 - Direct Wire Installations
    1. White wires
    2. Black wires
    3. UL Listed wire connector
    4. Green (or bare) ground wire
    5. Home power supply cable or power cord accessory kit
    6. UL Listed or CSA Approved 1/2" strain relief
    7. Green ground screw
  2. Use UL Listed wire connectors and connect white wires (A) together.
  3. Use UL Listed wire connectors and connect black wires (B) together.

    Fire Hazard
    Electrically ground the blower.
    Use copper wire.
    Connect ground wire to green ground screw in terminal box.
    Failure to do so can result in death, fire, or electrical shock.
  4. Connect green (or bare) ground wire from power supply to green ground screw in terminal box and securely tighten.
  5. Install terminal box cover.
  6. Reconnect power.

Option 2 - Power Cord Kit Installations

For optional power cord kit installations, follow the instructions supplied with the power cord kit. See the "Accessories" section for information on ordering.

NOTE: Use only with range hood cord connection kits that have been investigated and found acceptable for use with this model range hood.

Complete Installation

  1. Replace grease filter if removed. See the "Range Hood Care" section.
  2. Check the operation of the range hood fan and light. See the "Range Hood Use" section.
    If range hood does not operate, check to see whether a circuit breaker has tripped or a household fuse has blown. Disconnect power and check wiring connections.

NOTE: To get the most efficient use from your new range hood, read the "Range Hood Use" section.

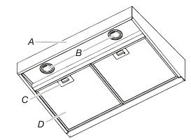
RANGE HOOD USE

The range hood is designed to remove smoke, cooking vapors, and odors from the cooktop area. For best results, start the hood before cooking and allow it to operate several minutes after the cooking is complete to clear all smoke and odors from the kitchen.

The hood controls are located on the front panel of the range hood.

RANGE HOOD USE

  1. Blower and light touch control
  2. LED lamps
  3. Filter retainer
  4. Grease filter

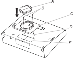
Range Hood Controls

Range Hood Controls

  1. Light button
  2. Boost button
  3. High Speed button
  4. Medium Speed button
  5. Low Speed button
  6. Off button

NOTE: The control buttons will light up when the range hood is ON.

Light button
Press LIGHT once to turn the LED lights on.
Press LIGHT again to turn the LED lights off.

Boost button
Press BOOST to turn the fan on at the highest speed. Boost will automatically turn off after 10 minutes and the fan will switch to high speed.

High button
Press HIGH to turn the fan on at high speed.

Med button
Press MED to turn the fan on at medium speed.

Low button
Press LOW to turn the fan on at low speed.

Off button
Press OFF to turn the fan off at any speed.

Timer
The range hood can be set to automatically turn off after 15 minutes.
Press and hold the desired fan speed button (C, D, or E in the previous image) for 3 seconds. The fan will run on the chosen speed for 15 minutes and the fan speed button light will flash continuously. After 15 minutes, the fan will turn off automatically. To cancel the timer, press a different fan speed button while the timer is running.

Grease Filter Timer
The grease filter timer can remind you when to clean or replace the grease filter. It is OFF by default.

  • To enable the grease filter timer, push and hold the Low button and the Off button at the same time for 3 seconds while the range hood is OFF. Repeat to disable the function.
  • After 40 hours of fan use, the Off button will begin to blink. The blinking light indicates that the grease filter should be cleaned.
  • To reset the grease filter timer, press and hold OFF for 3 seconds.

RANGE HOOD CARE

Cleaning


Clean the hood and grease filters frequently according to the following instructions. Replace grease filter before operating hood.

Exterior Surfaces


Do not use soap-filled scouring pads, abrasive cleaners, cooktop polishing creme, steel wool, gritty washcloths or paper towels.

To avoid damage to the stainless steel, do not use cleaners that contain chlorine.

Cleaning Method:

  • Rub in direction of grain to avoid scratching or damaging the surface.
  • For stainless steel models, Stainless Steel Cleaner and polish Part Number 31462A (not included): See the "Assistance or Service" section to order.
  • All-purpose cleaner: Rinse with clean water and dry with soft, lint-free cloth.
  • Glass cleaner to remove fingerprints.

Metal Grease Filter

For vented installations:

  1. Remove each filter by pulling the spring-release handle and then pulling down the filter.
    Metal Grease Filter
    A. Spring-release handle
  2. Wash metal filter as needed in dishwasher or hot detergent solution.
  3. Reinstall the filter by making sure the spring-release handles are toward the front. Insert aluminum filter into upper track.
  4. Push in spring-release handle.
  5. Push up on metal filter and release handle to latch into place.
  6. Repeat steps 1-5 for the other filter.

For non-vented (recirculating) installations:
The charcoal filter is not washable. It should last up to 6 months with normal use. Replace with Charcoal Filter Kit. See the "Assistance or Service" section for information on ordering.

Replacing an LED Lamp

The LED lights are replaceable by a service technician only. See the "Warranty" for service contact information.

WIRING DIAGRAM

WIRING DIAGRAM

ASSISTANCE OR SERVICE

If you need service
Please refer to the warranty.

If you need replacement parts
If you need to order replacement parts, we recommend that you use only factory specified parts. Factory specified parts will fit right and work right because they are made with the same precision used to build every new appliance.

To locate factory specified replacement parts in your area, call the following customer assistance telephone number or your nearest designated service center.

In the U.S.A.

Call the Whirlpool Customer eXperience Center toll free:

  • Scheduling of service. Whirlpool designated service technicians are trained to fulfill the product warranty and provide after-warranty service, anywhere in the United States.
  • Features and specifications on our full line of appliances.
  • Referrals to local dealers.
  • Installation information.
  • Use and maintenance procedures.
  • Accessory and repair parts sales.
  • Specialized customer assistance (Spanish speaking, hearing impaired, limited vision, etc.).

1-800-253-1301 or visit our website at www.whirlpool.com. Our consultants provide assistance with: impaired, limited vision, etc.).

For further assistance

If you need further assistance, you can write to Whirlpool Corporation with any questions or concerns at:
Whirlpool Brand Home Appliances
Customer eXperience Center
553 Benson Road
Benton Harbor, MI 49022-2692
Please include a daytime phone number in your correspondence.

In Canada

Call the Whirlpool Canada LP Customer eXperience Centre toll free: 1-800-807-6777 or visit our webpage www.whirlpool.ca.

Our consultants provide assistance with:

  • Scheduling of service. Whirlpool designated service technicians are trained to fulfill the product warranty and provide after-warranty service, anywhere in Canada.
  • Features and specifications on our full line of appliances.
  • Referrals to local Whirlpool dealers.
  • Use and maintenance procedures.
  • Accessory and repair parts sales.
  • Referrals to local dealers, repair parts distributors, and service companies. Whirlpool Canada LP designated service technicians are trained to fulfill the product warranty and provide after-warranty service, anywhere in Canada.

For further assistance
If you need further assistance, you can write to Whirlpool Canada LP with any questions or concerns at:
Whirlpool Brand Home Appliances
Customer eXperience Centre Whirlpool Canada LP
200 - 6750 Century Ave.
Mississauga, Ontario L5N 0B7
Please include a daytime phone number in your correspondence.

Accessories

Stainless Steel Cleaner and Polish
Order Part Number 31462A

Charcoal Filter Kit
For 30" (76.2 cm) models, order Part Number W10905734
For 36" (91.4 cm) models, order Part Number W10905735

Power Cord Kit
Order Part Number W10613691

7" (17.8 cm) Round Damper
Order Part Number W10355451

7" Round Damper Vent Mounting Plate
Order Part Number W10388168

RANGE HOOD SAFETY

Your safety and the safety of others are very important.

We have provided many important safety messages in this manual and on your appliance. Always read and obey all safety messages.

This is the safety alert symbol.

This symbol alerts you to potential hazards that can kill or hurt you and others.

All safety messages will follow the safety alert symbol and either the word "DANGER" or "WARNING." These words mean:


You can be killed or seriously injured if you don't immediately follow instructions.


You can be killed or seriously injured if you don't follow WARNING instructions.

All safety messages will tell you what the potential hazard is, tell you how to reduce the chance of injury, and tell you what can happen if the instructions are not followed.

IMPORTANT SAFETY INSTRUCTIONS

Documents / Resources

References

Download manual

Here you can download full pdf version of manual, it may contain additional safety instructions, warranty information, FCC rules, etc.

Download Whirlpool WVU57UC0F; WVU57UC6F - 36" Range Hood with Boost Function Manual

Advertisement

Need help?

Need help?

Do you have a question about the WVU57UC0F and is the answer not in the manual?

Questions and answers

Table of Contents