Craftsman PRO Series, 247.888760 Manual

Also See for PRO Series:

Advertisement

Craftsman PRO Series, 247.888760 Manual

PRODUCT SPECIFICATIONS

Engine Oil Type: 5W-30
Engine Oil Capacity: 37 ounces
Fuel Capacity: Approx. 5 Quarts
Spark Plug: F6RTC (Sears Part #951-10292)
Spark Plug Gap: .020" to.030"

SAFETY INSTRUCTIONS


This symbol points out important safety instructions which, if not followed, could endanger the personal safety and/or property of yourself and others. Read and follow all instructions in this manual before attempting to operate this machine. Failure to comply with these instructions may result in personal injury. When you see this symbol, HEED ITS WARNING!

CALIFORNIA PROPOSITION 65
Engine Exhaust, some of its constituents, and certain vehicle components contain or emit chemicals known to State of California to cause cancer and birth defects or other reproductive harm.

This machine was built to be operated according to the safe operation practices in this manual. As with any type of power equipment, carelessness or error on the part of the operator can result in serious injury. This machine is capable of amputating fingers, hands, toes and feet and throwing debris. Failure to observe the following safety instructions could result in serious injury or death.

Your Responsibility — Restrict the use of this power machine to persons who read, understand and follow the warnings and instructions in this manual and on the machine.

TRAINING

  • Read, understand, and follow all instructions on the machine and in the manual(s) before attempting to assemble and operate. Failure to do so can result in serious injury to the operator and/or bystanders. Keep this manual in a safe place for future and regular reference and for ordering replacement parts.
  • Be familiar with all controls and their proper operation. Know how to stop the machine and disengage them quickly.
  • Never allow children under 14 years of age to operate this machine. Children 14 and over should read and understand the instructions and safe operation practices in this manual and on the machine and be trained and supervised by an adult.
  • Never allow adults to operate this machine without proper instruction.
  • Thrown objects can cause serious personal injury. Plan your snow-throwing pattern to avoid discharge of material toward roads, bystanders and the like.
  • Keep bystanders, pets and children at least 75 feet from the machine while it is in operation. Stop machine if anyone enters the area.
  • Exercise caution to avoid slipping or falling, especially when operating in reverse.

PREPARATION

  • Thoroughly inspect the area where the equipment is to be used. Remove all doormats, newspapers, sleds, boards, wires and other foreign objects, which could be tripped over or thrown by the auger/impeller.
  • Always wear safety glasses or eye shields during operation and while performing an adjustment or repair to protect your eyes. Thrown objects which ricochet can cause serious injury to the eyes.
  • Do not operate without wearing adequate winter outer garments. Do not wear jewelry, long scarves or other loose clothing, which could become entangled in moving parts. Wear footwear which will improve footing on slippery surfaces.
  • Use a grounded three-wire extension cord and receptacle for all machines with electric start engines.
  • Disengage all control levers before starting the engine.
  • Adjust collector housing height to clear gravel or crushed rock surfaces.
  • Never attempt to make any adjustments while engine is running, except where specifically recommended in the operator's manual.
  • Let engine and machine adjust to outdoor temperature before starting to clear snow.

Safe Handling of Gasoline:
To avoid personal injury or property damage use extreme care in handling gasoline. Gasoline is extremely flammable and the vapors are explosive. Serious personal injury can occur when gasoline is spilled on yourself or your clothes which can ignite. Wash your skin and change clothes immediately.

  • Use only an approved gasoline container.
  • Never fill containers inside a vehicle or on a truck or trailer bed with a plastic liner. Always place containers on the ground away from your vehicle before filling.
  • When practical, remove gas-powered equipment from the truck or trailer and refuel it on the ground. If this is not possible, then refuel such equipment on a trailer with a portable container, rather than from a gasoline dispenser nozzle.
  • Keep the nozzle in contact with the rim of the fuel tank or container opening at all times until fueling is complete. Do not use a nozzle lock-open device.
  • Extinguish all cigarettes, cigars, pipes and other sources of ignition.
  • Never fuel machine indoors.
  • Never remove gas cap or add fuel while the engine is hot or running. Allow engine to cool at least two minutes before refueling.
  • Never over fill fuel tank. Fill tank to no more than ½ inch below bottom of filler neck to allow space for fuel expansion.
  • Replace gasoline cap and tighten securely.
  • If gasoline is spilled, wipe it off the engine and equipment. Move unit to another area. Wait 5 minutes before starting the engine.
  • To reduce fire hazards, keep machine free of grass, leaves, or other debris build-up. Clean up oil or fuel spillage and remove any fuel soaked debris.
  • Never store the machine or fuel container inside where there is an open flame, spark or pilot light as on a water heater, space heater, furnace, clothes dryer or other gas appliances.

OPERATION

  • Do not put hands or feet near rotating parts, in the auger/impeller housing or chute assembly. Contact with the rotating parts can amputate hands and feet.
  • The auger/impeller control lever is a safety device. Never bypass its operation. Doing so makes the machine unsafe and may cause personal injury.
  • The control levers must operate easily in both directions and automatically return to the disengaged position when released.
  • Never operate with a missing or damaged chute assembly. Keep all safety devices in place and working.
  • Never run an engine indoors or in a poorly ventilated area. Engine exhaust contains carbon monoxide, an odorless and deadly gas.
  • Do not operate machine while under the influence of alcohol or drugs.
  • Muffler and engine become hot and can cause a burn. Do not touch. Keep children away.
  • Exercise extreme caution when operating on or crossing gravel surfaces. Stay alert for hidden hazards or traffic.
  • Exercise caution when changing direction and while operating on slopes. Do not operate on steep slopes.
  • Plan your snow-throwing pattern to avoid discharge towards windows, walls, cars etc. Thus, avoiding possible property damage or personal injury caused by a ricochet.
  • Never direct discharge at children, bystanders and pets or allow anyone in front of the machine.
  • Do not overload machine capacity by attempting to clear snow at too fast of a rate.
  • Never operate this machine without good visibility or light. Always be sure of your footing and keep a firm hold on the handles. Walk, never run.
  • Disengage power to the auger/impeller when transporting or not in use.
  • Never operate machine at high transport speeds on slippery surfaces. Look down and behind and use care when backing up.
  • If the machine should start to vibrate abnormally, stop the engine, disconnect the spark plug wire and ground it against the engine. Inspect thoroughly for damage. Repair any damage before starting and operating.
  • Disengage all control levers and stop engine before you leave the operating position (behind the handles). Wait until the auger/impeller comes to a complete stop before unclogging the chute assembly, making any adjustments, or inspections.
  • Never put your hand in the discharge or collector openings. Do not unclog chute assembly while engine is running. Shut off engine and remain behind handles until all moving parts have stopped before unclogging.
  • Use only attachments and accessories approved by the manufacturer (e.g. wheel weights, tire chains, cabs etc.).
  • When starting engine, pull cord slowly until resistance is felt, then pull rapidly. Rapid retraction of starter cord (kickback) will pull hand and arm toward engine faster than you can let go. Broken bones, fractures, bruises or sprains could result.
  • If situations occur which are not covered in this manual, use care and good judgment.

CLEARING A CLOGGED DISCHARGE CHUTE
Hand contact with the rotating impeller inside the discharge chute is the most common cause of injury associated with snow throwers. Never use your hand to clean out the discharge chute.
To clear the chute:

  1. SHUT THE ENGINE OFF!
  2. Wait 10 seconds to be sure the impeller blades have stopped rotating.
  3. Always use a clean-out tool, not your hands.

MAINTENANCE & STORAGE

  • Never tamper with safety devices. Check their proper operation regularly. Refer to the maintenance and adjustment sections of this manual.
  • Before cleaning, repairing, or inspecting machine disengage all control levers and stop the engine. Wait until the auger/impeller come to a complete stop. Disconnect the spark plug wire and ground against the engine to prevent unintended starting.
  • Check bolts and screws for proper tightness at frequent intervals to keep the machine in safe working condition. Also, visually inspect machine for any damage.
  • Do not change the engine governor setting or over-speed the engine. The governor controls the maximum safe operating speed of the engine.
  • Snow thrower shave plates and skid shoes are subject to wear and damage. For your safety protection, frequently check all components and replace with original equipment manufacturer's (OEM) parts only as listed in the Parts pages of this operator's manual. Use of parts which do not meet the original equipment specifications may lead to improper performance and compromise safety!
  • Check control levers periodically to verify they engage and disengage properly and adjust, if necessary. Refer to the adjustment section in this operator's manual for instructions.
  • Maintain or replace safety and instruction labels, as necessary.
  • Observe proper disposal laws and regulations for gas, oil, etc. to protect the environment.
  • Prior to storing, run machine a few minutes to clear snow from machine and prevent freeze up of auger/impeller.
  • Never store the machine or fuel container inside where there is an open flame, spark or pilot light such as a water heater, furnace, clothes dryer etc.
  • Always refer to the operator's manual for proper instructions on off-season storage.
  • Check fuel line, tank, cap, and fittings frequently for cracks or leaks. Replace if necessary.
  • Do not crank engine with spark plug removed.
  • According to the Consumer Products Safety Commission (CPSC) and the U.S. Environmental Protection Agency (EPA), this product has an Average Useful Life of seven (7) years, or 60 hours of operation. At the end of the Average Useful Life have the machine inspected annually by an authorized service dealer to ensure that all mechanical and safety systems are working properly and not worn excessively. Failure to do so can result in accidents, injuries or death.

DO NOT MODIFY ENGINE
To avoid serious injury or death, do not modify engine in any way. Tampering with the governor setting can lead to a runaway engine and cause it to operate at unsafe speeds. Never tamper with factory setting of engine governor.

NOTICE REGARDING EMISSIONS
Engines which are certified to comply with California and federal EPA emission regulations for SORE (Small Off Road Equipment) are certified to operate on regular unleaded gasoline, and may include the following emission control systems: Engine Modification (EM), Oxidizing Catalyst (OC), Secondary Air Injection (SAI) and Three Way Catalyst (TWC) if so equipped.

SAFETY SYMBOLS

This page depicts and describes safety symbols that may appear on this product. Read, understand, and follow all instructions on the machine before attempting to assemble and operate.

Symbol Description
READ THE OPERATOR'S MANUAL(S)
Read, understand, and follow all instructions in the manual(s) before attempting to assemble and operate.

ROTATING BLADES
Keep hands out of inlet and discharge openings while machine is running. There are rotating blades inside.

ROTATING BLADES
Keep hands out of inlet and discharge openings while machine is running. There are rotating blades inside.

ROTATING AUGER
Do not put hands or feet near rotating parts, in the auger/impeller housing or chute assembly. Contact with the rotating parts can amputate hands and feet.

THROWN OBJECTS
This machine may pick up and throw and objects which can cause serious personal injury.

GASOLINE IS FLAMMABLE
Allow the engine to cool at least two minutes before refueling.

CARBON MONOXIDE
Never run an engine indoors or in a poorly ventilated area. Engine exhaust contains carbon monoxide, an odorless and deadly gas.

ELECTRICAL SHOCK
Do not use the engine's electric starter in the rain.

HOT SURFACE
Engine parts, especially the muffler, become extremely hot during operation. Allow engine and muffler to cool before touching.


Your Responsibility — Restrict the use of this power machine to persons who read, understand and follow the warnings and instructions in this manual and on the machine.

ASSEMBLY

NOTE: References to right or left side of the snow thrower are determined from the operating position looking forward to the front of the machine.

Removing From Crate

  1. Remove staples from the bottom of the crate securing the sides and ends of the shipping crate.
  2. Remove top of the crate and set aside.
  3. Remove and discard plastic bag that covers unit.
  4. Remove any loose parts included with unit (e.g., Operator's Manual, etc.).
  5. Push down on the lower handle and pull unit back out of crate.
  6. Make certain the crate has been completely emptied before discarding it.

Assembly

  1. Remove any packaging material from the upper handle.
  2. Place the speed selector on the right side of the handle panel in the fastest forward speed.
  3. Remove the lower plastic wing nut, belleville washer and carriage bolt from each end of the right and left upper handle; then raise the upper handles by pulling up and back on the grips of the upper handles until they are aligned with the lower handle.
    Assembly - Step 1
  4. Looking beneath the handle panel, check that all of the cables (steering, auger, shift, and drive) are properly routed and not pinched or kinked. Make certain the springs at the lower end of the auger and drive cables are securely hooked into their respective actuator brackets. See Figure 13.
  5. Secure the upper handle and lower handle with the two wing nuts, belleville washers, and carriage bolts removed in Step 3. Tighten the two wing nuts already installed in the upper holes to firmly secure the upper handle and support tubes.
    Assembly - Step 2

Chute Assembly

  1. Remove lock nuts and screws securing one of the flange keepers to the chute assembly. Loosen the fasteners of the other two flange keepers.
    Assembly - Step 3 - Chute Assembly
  2. Loosen, but do not remove, the chute crank bracket in order to attach the chute assembly.
    Assembly - Step 4
  3. Place chute assembly onto chute base as shown in Figure 4. Make sure that the chute notches engage with the spiral end of chute directional control, and the two flange keepers are beneath the flange on the chute base.
    Assembly - Step 5
  4. Secure flange keeper removed in Step 1 with lock nuts and screws. Tighten down nuts securing the other two flange keepers. See Figure 5.
  5. Re-tighten the hardware securing the chute crank bracket.
  6. Check that the chute cables are properly routed through the cable guide on top of engine shroud.
    Assembly - Step 6

Set-Up

Shear Pins

A pair of replacement auger shear pins and bow tie cotter pins have been included with your snow thrower. They are stored in the holes provided in the plastic dash panel as seen in Figure 7. For information regarding replacing the shear pins, see Replacing Shear Pins in the Operation section of this manual.
Set-Up - Step 1 - Shear Pins
NOTE: If the shear pins are not installed in the panel they can be found in the manual bag.

Chute Clean-Out Tool

The chute clean-out tool is fastened to the top of the auger housing with a mounting clip and a cable tie at the factory. Cut the cable tie before operating the snow thrower.
Set-Up - Step 2 - Chute Clean-Out Tool

Drift Cutters

The snow thrower drift cutters are mounted inverted at the factory for shipping purposes.

  1. Remove the four wing knobs (two on each side) and carriage bolts. Place drift cutter in upright position and re-secure.

    Make sure to install the wing nuts on the outside of the auger housing when re-assembling the drift cutters. The wing nuts are only positioned on the inside of the housing for shipping purposes.
    Set-Up - Step 3 - Drift Cutters

Tire Pressure (Pneumatic Tires)


Under any circumstance do not exceed manufacturer's recommended psi. Equal tire pressure should be maintained at all times. Excessive pressure when seating beads may cause tire/rim assembly to burst with force sufficient to cause serious injury. Refer to sidewall of tire for recommended pressure.
The tires can be over-inflated for shipping purposes. Check the tire pressure before operating the snow thrower. Refer to the tire side wall for manufactures's recommended psi and deflate (or inflate) the tires as necessary.
NOTE: Equal tire pressure is to be maintained at all times for performance purposes.

Fuel Recommendations

Use automotive gasoline (unleaded or low leaded to minimize combustion chamber deposits) with a minimum of 87 octane. Gasoline with up to 10% ethanol or 15% MTBE (Methyl Tertiary Butyl Ether) can be used. Never use an oil/gasoline mixture or dirty gasoline. Avoid getting dirt, dust, or water in the fuel tank. DO NOT use E85 gasoline.

  • Refuel in a well-ventilated area with the engine stopped. Do not smoke or allow flames or sparks in the area where the engine is refueled or where gasoline is stored.
  • Do not overfill the fuel tank. After refueling, make sure the tank cap is closed properly and securely.
  • Be careful not to spill fuel when refueling. Spilled fuel or fuel vapor may ignite. If any fuel is spilled, make sure the area is dry before starting the engine.
  • Avoid repeated or prolonged contact with skin or breathing of vapor.

Adding Fuel


Use extreme care when handling gasoline. Gasoline is extremely flammable and the vapors are explosive. Never fuel the machine indoors or while the engine is hot or running. Extinguish cigarettes, cigars, pipes and other sources of ignition.

Always keep hands and feet clear of equipment moving parts. Do not use a pressurized starting fluid. Vapors are flammable.

  1. Clean around fuel fill before removing cap to fuel.
  2. Fill tank until fuel reaches 1⁄2 inch below the bottom of the filler neck to allow space for fuel expansion. Be careful not to overfill.

Checking Oil Level


The engine is shipped with oil in the engine. You must, however, check the oil level prior to operating the snow thrower. Running the engine with insufficient oil can cause serious engine damage and void the engine warranty.
NOTE:
Be sure to check the engine on a level surface with the engine stopped.
To avoid engine damage, it is important to:

  • Check oil level before each use and every 5 operating hours when engine is warm. Check oil level more frequently during engine break-in.
  • Keep oil level between "H" and "L" marks on dipstick.
    Set-Up - Step 4 - Checking Oil Level
  • Be sure oil fill cap/plug is tightened securely when checking.
  1. Remove the oil filler cap/dipstick and wipe the dipstick clean. See Figure 10.
  2. Insert the cap/dipstick into the oil filler neck, and tighten the cap turning clockwise until cap is seated.
    NOTE: On some engines, a threaded screw cap will be present instead of the quarter turn locking cap. In the instance of a threaded oil cap/dipstick, DO NOT screw the cap/dipstick in to check. Check the oil by resting the cap/dipstick on the threads, but not screwing it in.
  3. Remove the oil filler cap/dipstick. If the level is low, slowly add oil until oil level registers between high (H) and low (L). See Figure 10.
  4. Replace and tighten cap/dipstick firmly before starting engine.

NOTE: Do not overfill. Overfilling with oil may cause smoking, hard starting, or spark plug fouling.
NOTE: DO NOT allow oil level to fall below the "L" mark on the dipstick. Doing so may result in equipment malfunctions or damage.
NOTE: To change the oil on your engine, see Changing Engine Oil of the Service and Maintenance section of this Operator's Manual.

Adjustments

Skid Shoes

The snow thrower skid shoes are adjusted at the factory to have the bottom surface approximately 1/8" below the shave plate. Adjust them downward prior to operating the snow thrower.

It is not recommended that you operate this snow thrower on gravel as it can easily pick up and throw loose gravel, causing personal injury or damage to the snow thrower and surrounding property.
For close snow removal on a smooth surface, adjust the skid shoes so that the shave plate on the bottom of the auger housing is just off the ground.
Adjust the skid shoes to a lower position to raise the shave plate off the ground when clearing uneven areas, such as a ribbon type driveway or a gravel driveway.
NOTE: If you choose to operate the snow thrower on a gravel surface, keep the skid shoes in position for maximum clearance between the ground and the shave plate.

To adjust the skid shoes:

  1. Adjust skid shoes by loosening the six (three on each side) hex nuts, flat washers, and carriage bolts securing the skid shoes to the auger housing.
    To adjust the skid shoes
  2. While observing the distance between the shave plate and the ground, adjust the skids shoes up or down to achieve the desired shave plate height. See Figure 11.
  3. Make certain the entire bottom surface of skid shoes are against the ground to avoid uneven wear on the skid shoes; then tighten nuts and bolts securely.

Auger and Drive Control Cables


Prior to operating your snow thrower, carefully read and follow all instructions below. Perform all adjustments to verify your snow thrower is operating safely and properly.

Testing Auger Drive Control

  1. When the auger control is released and in the disengaged "UP" position, the cable should have very little slack. It should NOT be tight.
    Testing Auger Drive Control
  2. In a well-ventilated area, start the snow thrower engine as instructed in Starting Engine of the Operation section of this manual. Make sure the throttle is set in the FAST (rabbit) position.
  3. While standing in the operator's position (behind the snow thrower), engage the auger.
  4. Allow the auger to remain engaged for approximately ten (10) seconds before releasing the auger control. Repeat this several times.
    NOTE: When engaging the auger, you may hear a "chirp" sound. This is normal, it is the belt engaging the pulley. As the belt wears, this sound will not be heard when engaging the auger.
  5. With the throttle control in the FAST (rabbit) position and the auger control in the disengaged "up" position, walk to the front of the machine.
  6. Confirm that the auger has completely stopped rotating and shows NO signs of motion. If the auger shows ANY signs of rotating, immediately return to the operator's position and shut OFF the engine. Wait for ALL moving parts to stop before re-adjusting the auger control. See Adjusting Drive and Auger Controls section.

Testing Drive Control & Speed Selector Lever

  1. With the engine turned OFF, move the speed selector lever into sixth (6) position. Refer to Figure 12.
  2. With the wheel drive control released, push the snow thrower forward, then pull it back. The machine should move freely.
  3. Engage the drive control and attempt to move the machine both forward and back, resistance should be felt.
  4. Move the speed selector lever into the fast reverse (R2) position and repeat Steps 2 and 3.
  5. If you experienced resistance rolling the unit, either when repositioning the speed selector lever from (6) to (R2) position or when attempting to move the machine with the drive control released, adjust the drive control immediately. See Adjusting Drive and Auger Controls section.

Adjusting Drive and Auger Controls

  1. From beneath the handle, pull downward on the appropriate cable and unhook the spring found on the end of the cable from its respective actuator bracket.
    Adjusting Drive and Auger Controls - Step 1
  2. Slide the spring up the cable to expose the cable coupler threads and lock nut.
    Adjusting Drive and Auger Controls - Step 2
  3. Adjust the lock nut as follows: If adjusting the drive cable, thread the lock nut outward (down the coupler) to lengthen the cable and allow the unit to move freely when the control is released. Thread the lock nut inward (up the coupler) to shorten the cable to reduce slippage and prevent the machine from being easily moved with the drive control engaged.

    Do not adjust the cables too tight. Over-tightening may prevent the auger and wheel drive from disengaging when the control levers are released and compromise the safety of the snow thrower.
  4. If adjusting the auger cable, thread the lock nut outwards towards end of thread to lengthen the cable as necessary to stop the auger shaft from turning when the control is released.
  5. Securely hook each cable's spring into the appropriate hole of the respective actuator bracket. Both cables hook into the rearward-most hole in each bracket, as shown in Figure 13.
    NOTE: For ease of removal for adjustment, assemble the hooks of the springs facing towards the wheels as shown in Figure 13.
  6. Repeat the wheel drive and auger control tests to verify proper adjustment. Repeat Step 1 through Step 5 if necessary to attain proper adjustment of each cable.

OPERATION

Snow thrower controls and features are described below and illustrated in Figure 15.
Controls and Features Overview

Speed Selector Lever
The speed selector lever is located in the right side of the handle panel and is used to determine ground speed and direction of travel.
Forward
There are six forward (F) speeds. Position one (1) is the slowest and position six (6) is the fastest.
Reverse
There are two reverse (R) speeds. Position one (R1) is the slower and position two (R2) is the faster.

Choke Control

The choke control is found on the rear of the engine and is activated by rotating the control counter-clockwise. Activating the choke control closes the choke plate on the carburetor and aids in starting the engine.

Safety Key
The safety key is a safety device. It must be fully inserted into the ignition in order for the engine to start. Remove the safety key when the snow thrower is not in use.


Do not turn the safety key in an attempt to start the engine. Doing so may cause it to break.

Throttle Control

The throttle control is located on the rear of the engine. It regulates the speed of the engine and will shut OFF the engine when moved into the STOP position.

Primer

Pressing the primer forces fuel directly into the engine's carburetor to aid in starting a "Cold" engine, or restarting a warm engine.

Oil Fill
Engine oil level can be checked and oil added through the oil fill.

Oil Drain
Engine oil can be drained through the oil drain.

Fuel Cap
Un-thread the gas cap to add gasoline to the fuel tank.

Muffler
Engine exhaust exits the engine via the muffler.

Electric Starter Outlet
Requires the use of a three-prong outdoor extension cord and a 120V power source/ wall outlet.

Recoil Starter Handle
This handle is used to manually start the engine.

Electric Starter Button
Pressing the electric starter button engages the engine's electric starter when plugged into a 120V power source.

Auger
When engaged, the augers rotate and draw snow towards the center of the auger housing.

Chute Assembly
Snow drawn into the auger housing is discharged out the chute assembly.

Drift Cutters
The drift cutters are designed for use in deep snow. Their use is optional for normal snow conditions. Maneuver the snow thrower so that the cutters penetrate a high standing snow drift to assist snow falling into the path of the augers.

Skid Shoes
Position the skid shoes based on surface conditions. Adjust upward for hard-packed snow. Adjust downward when operating on gravel or crushed rock surfaces.

Auger Control

The auger control is located on the left handle. Squeeze the control grip against the handle to engage the auger and start snow throwing action. Release to stop.

Drive Control/Auger Clutch Lock

The drive control is located on the right handle. Squeeze the control grip against the handle to engage the wheel drive. Release the handle to stop.
The drive control also locks the auger control so that you can operate the chute directional control without interrupting the snow throwing process. If the auger control is engaged simultaneously with the drive control, the operator can release the auger control (on the left handle) and the auger will remain engaged. Release both controls to stop the auger and wheel drive.
NOTE: Always release the drive control before changing speeds. Failure to do so will result in increased wear on your machine's drive system.

Headlight
The headlight is located inside of the handle panel and is ON when the engine is running.

Two-Way Chute-Pitch Control™
The two-way chute-pitch control is located on the left side of the handle panel and is used to control the distance of snow discharge from the chute.

  • To change the upper chute angle to control the distance that snow is thrown, pivot the lever forward or backward.
  • Move the lever forward to pivot the upper chute down and reduce the distance snow is thrown.
  • Move the lever rearward to pivot the upper chute upward and increase the distance snow is thrown.
    NOTE: To increase or decrease the tension on the two-way chute-pitch control, tighten or loosen the wing knob on the chute assembly.

Chute Directional Control

The chute directional control is located on the left side of the snow thrower.

  • To change the direction in which snow is thrown, crank clockwise to discharge to the left and counter-clockwise to discharge to the right.

Wheel Steering Controls
The left and right wheel steering controls are located on the underside of the handles. Squeeze the right control to turn right; squeeze the left control to turn left.
NOTE: Operate the snow thrower in open areas until you are familiar with these controls.

Heated Grips/Heated Grip Switch


It is recommended that you wear gloves when using the heated grip. If the heated grip becomes too hot, turn it OFF.
To activate the heated grips, move the switch found on the rear of the dash panel into the ON position. To turn OFF the heated grips, move the switch found on the rear of the dash panel to the OFF position.

Chute Clean-Out Tool
The chute clean-out tool is conveniently fastened to the rear of the auger housing with a mounting clip. Should snow and ice become lodged in the chute assembly during operation, proceed as follows to safely clean the chute assembly and chute opening:

Never use your hands to clear a clogged chute assembly. Shut OFF engine and remain behind handles until all moving parts have stopped before unclogging.

  1. Release both the Auger Control and the Drive Control.
  2. Stop the engine by removing the safety key.
  3. Remove the clean-out tool from the clip which secures it to the rear of the auger housing.
  4. Use the shovel-shaped end of the clean-out tool to dislodge and scoop any snow and ice which has formed in and near the chute assembly.
  5. Refasten the clean-out tool to the mounting clip on the rear of the auger housing, reinsert the safety key and start the snow thrower's engine per the Engine Starting Instruction.
  6. While standing in the operator's position (behind the snow thrower), engage the auger control for a few seconds to clear any remaining snow and ice from the chute assembly.

Before Starting Engine


Read, understand, and follow all instructions and warnings on the machine and in this manual before operating.

Oil

The unit was shipped with oil in the engine. Check oil level before each operation to ensure adequate oil in the engine. For further instructions, refer to Checking Engine Oil of the Service and Maintenance section of this manual.
NOTE: Be sure to check the engine on a level surface with the engine stopped.

  1. Remove the oil filler cap/dipstick and wipe the dipstick clean.
  2. Insert the cap/dipstick into the oil filler neck, and tighten the cap turning clockwise until cap is seated.
    NOTE: On some engines, a threaded screw cap will be present instead of the quarter turn locking cap. In the instance of a threaded oil cap/dipstick, DO NOT screw the cap/dipstick in to check. Check the oil by resting the cap/ dipstick on the threads, but not screwing it in.
  3. Remove the oil filler cap/dipstick. If the level is low, slowly add oil (5W-30, with a minimum classification of SF/SG) until oil level registers between high (H) and low (L).
    NOTE: Do not overfill. Overfilling with oil may result in engine smoking, hard starting or spark plug fouling.
  4. Replace and tighten cap/dipstick firmly before starting engine.

Gasoline


Use extreme care when handling gasoline. Gasoline is extremely flammable and the vapors are explosive. Never fuel the machine indoors or while the engine is hot or running. Extinguish cigarettes, cigars, pipes and other sources of ignition.
Use automotive gasoline (unleaded or low leaded to minimize combustion chamber deposits) with a minimum of 87 octane. Gasoline with up to 10% ethanol or 15% MTBE (Methyl Tertiary Butyl Ether) can be used. Never use an oil/gasoline mixture or dirty gasoline. Avoid getting dirt, dust, or water in the fuel tank. DO NOT use E85 gasoline.

  • Refuel in a well-ventilated area with the engine stopped. Do not smoke or allow flames or sparks in the area where the engine is refueled or where gasoline is stored.
  • Do not overfill the fuel tank. After refueling, make sure the tank cap is closed properly and securely.
  • Be careful not to spill fuel when refueling. Spilled fuel or fuel vapor may ignite. If any fuel is spilled, make sure the area is dry before starting the engine.
  • Avoid repeated or prolonged contact with skin or breathing of vapor.
  1. Clean around fuel fill before removing cap to fuel to prevent debris from entering fuel tank.
  2. Fill tank until fuel reaches 1⁄2 inch below the bottom of the filler neck to allow space for fuel expansion. Be careful not to overfill.

Starting Engine


Always keep hands and feet clear of moving parts. Do not use a pressurized starting fluid. Vapors are flammable.
NOTE:
Allow the engine to warm up for a few minutes after starting. The engine will not develop full power until it reaches operating temperatures.

  1. Make certain both the auger control and drive control are in the disengaged (released) position.
  2. Insert safety key into slot. Make sure it snaps into place. Do not attempt to turn the safety key.

NOTE: The engine cannot start without the safety key fully inserted into the ignition switch.

Electric Starter


The optional electric starter is equipped with a grounded three-wire power plug, and is designed to operate on 120V AC household current. It must be used with a properly grounded three-prong extension cord and receptacle at all times to avoid the possibility of electric shock. Follow all instructions carefully prior to operating the electric starter. DO NOT use electric starter in the rain.
Determine that your home's wiring is a three-wire grounded system. Ask a licensed electrician if you are not certain.

The extension cord can be any length, but must be rated for 15A at 125V, grounded and rated for outdoor use.
If you have a grounded three-prong receptacle, proceed as follows. If you do not have the proper house wiring, DO NOT use the electric starter under any conditions.

  1. Plug the extension cord into the outlet located on the engine's surface. Plug the other end of extension cord into a three-prong 120V, grounded, AC outlet in a well-ventilated area.
  2. Move throttle control to FAST (rabbit) position.
  3. Move choke to the CHOKE position (cold engine start).
    NOTE: If the engine is already warm, place choke control in the RUN position instead of CHOKE position.
  4. Push primer three times (3x), making sure to cover vent hole in primer bulb when pushing. If engine is warm, push primer only once. Always cover vent hole when pushing. Cool weather may require priming to be repeated.
  5. Push starter button to start engine. Once the engine starts, immediately release starter button. Electric starter is equipped with thermal overload protection; system will temporarily shut down to allow starter to cool if electric starter becomes overloaded.

    To prolong starter life, use short starting cycles (5 seconds maximum, then wait one minute).
  6. As the engine warms, slowly rotate the choke control to the RUN position. If the engine falters, restart engine and run with choke at half-choke position for a short period of time, and then slowly rotate the choke into the RUN position.
  7. After engine is running, disconnect power cord from electric starter. When disconnecting, always unplug the end at the wall outlet before unplugging the opposite end from the engine.

Recoil Starter


Do not pull the starter handle while the engine is running.

  1. Move throttle control to FAST (rabbit) position.
  2. Move choke to the CHOKE position (cold engine start). If engine is warm, place choke in the RUN position.
  3. Push primer three times, making sure to cover vent hole when pushing. If engine is warm, push primer only once. Always cover vent hole when pushing. Cool weather may require priming to be repeated.
  4. Pull gently on the starter handle until it begins to resist, then pull quickly and forcefully to overcome the compression. Engine should start. Do not release the handle and allow it to snap back. Return rope SLOWLY to original position. If required, repeat this step.
  5. As the engine warms, slowly rotate the choke control to the RUN position. If the engine falters, restart engine and run with choke at half-choke position for a short period of time, and then slowly rotate the choke into the RUN position.


To avoid unsupervised engine operation, never leave the machine unattended with the engine running. Turn the engine OFF after use and remove safety key.

Stopping Engine

After you have finished snow-throwing, run engine for a few minutes before stopping to help dry any moisture on the engine.

  1. Move throttle control to STOP position.

    Do NOT move the choke control to CHOKE position to stop the engine. Backfire or engine damage may occur.
  2. Remove the safety key. Removing the safety key will reduce the possibility of unauthorized starting of the engine while equipment is not in use. Keep the safety key in a safe place. The engine cannot start without the safety key.
  3. Wipe all snow and moisture from the area around the engine as well as the area in and around the wheel drive control and auger control. Also, engage and release both controls several times.

To Engage Drive

  1. With the throttle control in the Fast (rabbit) position, move speed selector lever into one of the six forward (F) positions or two reverse (R) positions. Select a speed appropriate for the snow conditions and a pace you are comfortable with.
    NOTE: When selecting a Drive Speed, use the slower speeds until you are comfortable and familiar with the operation of the snow thrower.
  2. Squeeze the drive control against the handle and the snow thrower will move. Release it and drive motion will stop.

NOTE: NEVER reposition the speed selector lever (change speeds or direction of travel) without first releasing the drive control and bringing the snow thrower to a complete stop. Doing so will result in premature wear to the snow thrower's drive system.

To Engage Auger

  1. To engage the auger and start throwing snow, squeeze the auger control against the left handle. Release to stop the auger.

Replacing Shear pins

The augers are secured to the spiral shaft with shear pins and bow-tie cotter pins. If the auger should strike a foreign object or ice jam, the snow thrower is designed so that the pins may shear. If the augers will not turn, check to see if the pins have sheared.
Replacing Shear pins
NOTE: Two extra shear pins are supplied in the handle panel or manual bag.


NEVER replace the auger shear pins with anything other than Sears SKU# 88389/OEM Part No. 738-04155 replacement shear pins. Any damage to the auger gearbox or other components as a result of failing to do so will NOT be covered by your snow thrower's warranty.

Always turn OFF the snow thrower's engine and remove the safety key prior to replacing shear pins.

SERVICE AND MAINTENANCE

MAINTENANCE SCHEDULE


Before performing any type of maintenance/service, disengage all controls and stop the engine. Wait until all moving parts have come to a complete stop. Remove the safety key to prevent unintended starting. Always wear safety glasses during operation or while performing any adjustments or repairs.
Follow the maintenance schedule given below. This chart describes service guidelines only. Use the Service Log column to keep track of completed maintenance tasks. To locate the nearest Sears Service Center or to schedule service, call the following toll free number: 1-888-331-4569.

Interval Item Service
Each Use
  1. Engine oil level
  2. Loose or missing hardware
  3. Unit and engine
  1. Check
  2. Tighten or replace
  3. Clean
1st 5 - 8 hours
  1. Engine oil
  1. Change
Annually or 25 hours
  1. Control linkages and pivots
  2. Spark plug
  1. Lube with light oil
  2. Check
Annually or 50 hours
  1. Engine oil
  1. Change
Annually or 100 hours
  1. Spark plug
  1. Clean and re-gap, or else replace with new plug.
Before Storage
  1. Fuel system
  1. Run engine until it stops from lack of fuel or add a gasoline additive to the gas in the tank.

Engine Maintenance

Checking Engine Oil

NOTE: Check the oil level before each use to be sure correct oil level is maintained. When adding oil to the engine, refer to viscosity chart. Engine oil capacity is approximately 37 ounces. Do not over-fill. Use a 4-stroke, or an equivalent high detergent, premium quality motor oil certified to meet or exceed U.S. automobile manufacturer's requirements for service classification SG, SF. Motor oils classified SG, SF will show this designation on the container.

  1. Remove the oil filler cap/dipstick and wipe the dipstick clean.
  2. Insert the cap/dipstick into the oil filler neck, but do not screw it in.
    NOTE: On some engines, a threaded screw cap will be present instead of the quarter turn locking cap. In the instance of a threaded oil cap/dipstick, DO NOT screw the cap/dipstick in to check. Check the oil by resting the cap/ dipstick on the threads, but not screwing it in.
  3. Remove the oil filler cap/dipstick. If level is low, slowly add oil until oil level registers between high (H) and low (L).
    Engine Maintenance - Step 1 - Checking Engine Oil
  4. Replace and tighten cap/dipstick firmly before starting engine.

Changing Engine Oil

NOTE: Change the engine oil after the first 5 hours of operation and once a season or every 50 hours thereafter.

  1. Drain fuel from tank by running engine until the fuel tank is empty. Be sure fuel fill cap is secure.
  2. Place suitable oil collection container under oil drain plug.
  3. Remove oil drain plug.
    Engine Maintenance - Step 2 - Changing Engine Oil
  4. Tip engine to drain oil into the container. Used oil must be disposed of at a proper collection center.

    Used oil is a hazardous waste product. Dispose of used oil properly. Do not discard with household waste. Check with your local authorities or Sears Service Center for safe disposal/recycling facilities.
  5. Reinstall the drain plug and tighten it securely.
  6. Refill with the recommended oil and check the oil level. See Recommended Oil Usage chart. The engine's oil capacity is 37 ounces.

    DO NOT use non-detergent oil or 2-stroke engine oil. It could shorten the engine's service life.
  7. Reinstall the oil filler cap/dipstick securely.

    Thoroughly wash your hands with soap and water as soon as possible after handling used oil.

Checking Spark Plug


DO NOT check for spark with spark plug removed. DO NOT crank engine with spark plug removed.

If the engine has been running, the muffler will be very hot. Be careful not to touch the muffler.
NOTE:
Check the spark plug once a season or every 25 hours of operation. Change the spark plug once a season or every 100 hours.
To ensure proper engine operation, the spark plug must be properly gapped and free of deposits.

  1. Remove the spark plug boot and use a spark plug wrench to remove the plug.
    Engine Maintenance - Step 3 - Checking Spark Plug
  2. Visually inspect the spark plug. Discard the spark plug if there is apparent wear, or if the insulator is cracked or chipped. Clean the spark plug with a wire brush if it is to be reused.
    NOTE: An F6RTC spark plug must be used for replacement. For Sears purchase, visit a Sears Parts & Repair Center or call 1-888-331-4569. Ask for replacement spark plug 951-10292.
  3. Measure the plug gap with a feeler gauge. Correct as necessary by bending side electrode. See Figure 20. The gap should be set to 0.020-0.030 inches (0.60-0.80 mm).
    Engine Maintenance - Step 4
  4. Check that the spark plug washer is in good condition and thread the spark plug in by hand to prevent cross-threading.
  5. After the spark plug is seated, tighten with a spark plug wrench to compress the washer.
    NOTE: When installing a new spark plug, tighten 1⁄2-turn after the spark plug seats to compress the washer. When reinstalling a used spark plug, tighten 1⁄8- to 1⁄4-turn after the spark plug seats to compress the washer.


The spark plug must be tightened securely. A loose spark plug can become very hot and can damage the engine.

Carburetor Adjustment

The carburetor is not user adjustable. Contact Sears Parts & Repair for adjustment.

Lubrication

Drive and Shifting Mechanism
At least once a season or after every 25 hours of operation, remove rear cover.
Lubricate all chains, sprockets, gears, bearings, shafts, and the shifting mechanism. Use engine oil or a spray lubricant.
Lubrication - Step 1
NOTE: Before tipping the unit on the front housing, run the fuel tank empty so fuel does not leak out of the fuel cap.

  1. Carefully pivot the snow thrower up and forward so that it rests on the auger housing.
  2. Remove the frame cover from the underside of the snow thrower by removing the self-tapping screws which secure it. Refer to Figure 26.
  3. Apply a light coating of engine oil (or 3-in-1 oil) to the hex shaft. See Figure 21.
    NOTE: Be careful not to get any oil on the aluminum drive plate or rubber friction wheel. Doing so will hinder the snow thrower's drive system. Wipe off any excess or spilled oil.
  4. At least once a season grease the wheel axle support tube with Arctic grease (part number 737-0318). The grease fitting is located on the wheel axle tube behind the wheel axle support bracket.

Wheels
At least once a season, remove both wheels. Clean and coat the axles with a multipurpose automotive grease before reinstalling wheels.

Chute Directional Control
Once a season, lubricate the eye bolt bushing and the spiral with 3-in-1 oil.

Auger Shaft
At least once a season, one at a time, remove all of the shear pins from the auger shaft. Spray lubricant inside the hub of each auger spiral assembly and around the spacers on the auger shaft.
Grease fittings can also be found at each end of the auger shaft and can be lubricated. Lubricate with a grease gun once a season.
Lubrication - Step 2 - Auger Shaft

Gear Case
The auger gear case is equipped with a grease fitting. Lubricate with grease once a season (part number 737-0168). See Figure 22.
NOTE: To relieve pressure, remove the vent plug before lubricating the gear case. See Figure 22. Failure to do so could result in damage to the gear case seals.

Augers
Each of the auger spiral assemblies is secured to the spiral shaft with a shear pin and cotter pin. If the auger should strike a foreign object or ice jam, the snow thrower is designed so that the pins may shear.

  1. If augers do not turn, check to see if pins have sheared.
  2. Replace the pins if needed. Replacement shear pins and cotter pins have been provided with the snow thrower. Spray an oil lubricant into shaft before inserting new pins and securing with new cotter pins. See Figure 22.

Shave Plate and Skid Shoes

The shave plate and skid shoes on the bottom of the snow thrower are subject to wear. They should be checked periodically and replaced when necessary.

Skid Shoes
NOTE: The skid shoes on this machine have two wear edges. When one side wears out, they can be rotated 180° to use the other edge.

  1. Remove the six carriage bolts and hex nuts that secure the two skid shoes to the sides of the auger housing.
  2. Position the new skid shoes and secure with the carriage bolts and hex nuts. Make certain the skid shoes are adjusted to be level.

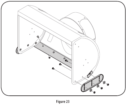
Shave Plate

  1. Allow the engine to run until it is out of fuel. Do not attempt to pour fuel from the engine.
  2. Carefully pivot unit up and forward so that it rests on the auger housing.
  3. Remove the four hex nuts and carriage bolts that secure the shave plate to the bottom of the housing. Refer to Figure 23.
  4. Remove the rear most hex nut and carriage bolt securing the back of each skid shoe to the sides of the housing. Loosen the four remaining hex nuts securing the skid shoes.
  5. Slide the shave plate out of the off-set slot at the bottom of the housing, and from between the skid shoes and side panels of the housing.
  6. With the mounting holes toward the back of the unit, slide the new shave plate into position and secure with the fasteners removed in Steps 3 and 4.

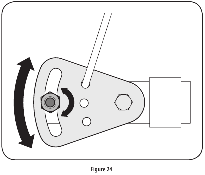
Adjustments

Shift Cable

If the full range of speeds (forward and reverse) cannot be achieved, refer to Figure 24 and adjust the shift cable as follows:
Shift Cable Adjustment

  1. Place the shift lever in the fastest forward speed position (F6).
  2. Loosen the hex nut on the shift cable index bracket. See Figure 24.
  3. Pivot the bracket downward to take up slack in the cable.
  4. Retighten the hex nut.

NOTE: Extra cable holes are provided for further cable adjustment if required to assist in removing the slack from the cable.

Chute Bracket Adjustment

If the spiral at the bottom of the chute directional control is not fully engaging with the chute assembly, the chute bracket can be adjusted. To do so:

  1. Loosen the two nuts which secure the chute bracket and reposition it slightly.
    Chute Bracket Adjustment
  2. Retighten the nuts.

Chute Control

The distance snow is thrown can be adjusted by adjusting the angle of the chute assembly. Refer to Two-Way Chute-Pitch Control in the Operation section for instructions.
The remote chute control cables have been pre-adjusted at the factory. Move the remote chute lever on the control panel forward to pivot the upper chute down; move the lever rearward to pivot the upper chute up.

Wheel Drive Control Adjustment Check

Refer to Adjusting Drive and Auger Controls of the Assembly instructions to adjust the wheel drive control. To further check the adjustment, proceed as follows:

  1. With the snow thrower tipped forward (be certain to run the fuel tank empty before tipping the unit forward), remove the frame cover underneath the snow thrower by removing the four self-tapping screws which secure it to the engine frame.
    Wheel Drive Control Adjustment Check - Step 1
  2. Locate the opening between the axle support bracket and the front frame support. See Figure 27. Looking through this opening, with the wheel drive control released, there must be clearance between the friction wheel and the drive plate in all positions of the speed selector lever.
    Wheel Drive Control Adjustment Check - Step 2
  3. With the wheel drive control engaged, the friction wheel must contact the drive plate. See Figure 27.
  4. If there is no friction wheel clearance, or the friction wheel does not solidly contact the drive plate, re-adjust the lock nut on the lower end of the drive cable following the instructions in Adjusting Drive and Auger Controls of the Assembly section.
  5. Reassemble the frame cover.

Auger Control

Refer to Auger and Drive Control Cables in the Adjustments section of the Assembly section for instructions on adjusting the auger control cable.

Skid Shoes

Refer to Skid Shoes in the Adjustments section of the Assembly section for instructions on adjusting the skid shoes.

Tire Pressure

Refer to Tire Pressure of the Set-Up section in the Assembly section for instructions on adjusting the tire pressure.

Belt Replacement

Belt Removal Preparation

  1. Remove the chute crank rod from the chute crank assembly by removing the hair pin clip shown in Figure 28. Move the chute crank rod away from the assembly as shown.
    Belt Removal Preparation - Step 1
  2. Remove three self-tap screws on both sides of the transmission housing as shown in Figure 28.
  3. Remove the plastic belt cover, located near the engine, by removing the self-tapping screws that secure it.
    Belt Removal Preparation - Step 2
  4. Loosen the bolt shown in Figure 30 securing the belt keeper bracket and remove the other bolt. Push the belt keeper and bracket up off the engine pulley.
    Belt Removal Preparation - Step 3

Auger Belt Replacement

  1. Remove the bow-tie clip and flat washer from the ferrule in order to disconnect the auger idler rod from the brake bracket assembly.
    Auger Belt Replacement - Step 1
    NOTE: Maintain the location of the ferrule on the auger idler rod.
  2. Slip the auger control belt (the front belt) off the engine pulley.
  3. Pull the brake bracket assembly towards the cable guide roller and unhook the auger cable z-fitting.
    Auger Belt Replacement - Step 2
  4. Place a block of wood underneath the auger housing as shown in Figure 33 and separate auger housing from the frame by tilting the housing forward and pulling up the handles.
    Auger Belt Replacement - Step 3
  5. Block the impeller with a piece of wood to prevent it from spinning and use a 1/2" wrench to remove the hex screw and flat washer from the center of the pulley on the auger housing. See (A) in Figure 34.
    Auger Belt Replacement - Step 4
    NOTE: The pulley adapter may slide off the auger input shaft when removing the pulley. Use extra caution to ensure the adapter does fall and/or get damaged when removing the pulley.
  6. Lift the brake bracket assembly out of the pulley groove (B) in Figure 34 and slide the pulley assembly off the posts of the auger pulley adapter (C) to remove the old belt.
  7. Place the new auger belt in the V-groove of the auger pulley and place the pulley with the belt inside the belt keepers.
  8. Turn the pulley as necessary to align its three slots approximately with the posts of the pulley adapter, then pivot the brake bracket assembly away from the pulley groove. While aligning the pulley slots and adapter posts, push the auger pulley fully onto the adapter. Refer to Figure 34. Ensure the brake puck of the brake bracket assembly aligns and is fully seated in the pulley groove.
    NOTE: If the pulley adapter was removed with the pulley, align the splines of the pulley adapter and auger input shaft, and push the pulley and adapter onto the input shaft. Refer to Figure 34.
  9. Slide the washer onto the hex screw removed in Step 6 and apply Loctite 262 to the threads of the hex screw.
  10. Insert the hex screw through the pulley assembly and into the threads of the input shaft. Torque the hex screw to 250-325 in-lb to secure the auger pulley assembly on the input shaft.
  11. If also replacing the drive belt, proceed to the Drive Belt Replacement instructions. If not, reposition the transmission frame back onto the auger housing.
  12. Install the drive belt on the engine pulley, re-connect the auger cable z-fitting and auger idler rod ferrule to the brake bracket. Reposition and secure the engine pulley belt guard, and re-install the belt cover.
    NOTE: Make sure to remove the piece of wood blocking the impeller. Check the auger drive belt adjustment. With the auger clutch lever in the disengaged position, the top surface of the new belt should be even with the outside diameter of the pulley.

To adjust, disconnect ferrule from brake bracket assembly. Thread ferrule in (towards idler) to increase tension on belt, or out to decrease belt tension.
NOTE: The brake puck must always be firmly seated in the pulley groove when auger control is disengaged.

Repeat the Auger Drive Control Test in the Assembly section before operating snow thrower.

Drive Belt Replacement

If not already done, remove the auger drive belt from the front pulley of the engine double pulley. Refer to Auger Belt Replacement instructions.

  1. Pull the idler pulley away from the backside of the drive belt to relieve the tension. See (1a) in Figure 35.
    Drive Belt Replacement
  2. Slip the drive belt off the idler pulley. Carefully release the idler pulley. See (1b) in Figure 35.
  3. Roll the drive belt off the lower drive pulley. See (2) in Figure 35.
  4. Remove the belt from the engine pulley. See (3) in Figure 35.
  5. Install the new belt on the pulleys in the reverse order and re-tension with the idler pulley.
  6. Reassemble by performing the previous steps in the opposite order and manner of removal.

Changing Friction Wheel

The rubber on the friction wheel is subject to wear and should be checked periodically. Replace the friction wheel if any signs of wear or cracking are found.

  1. Run the unit's fuel tank empty before performing Step 2. Do not attempt to pour fuel from the engine.
  2. Tip the snow thrower up and forward, so that it rests on the housing.
  3. Remove screws from the frame cover underneath the snow thrower. See Figure 36. Remove the right wheel from the axle.
    Changing Friction Wheel - Step 1
  4. Using a 3/4" wrench, hold the hex shaft and remove the hex screw and belleville washer and bearing from left side of the frame.
    Changing Friction Wheel - Step 2
  5. Holding the friction wheel assembly, slide the hex shaft out of the friction wheel assembly and the right side of the frame. The spacer on the left side of the hex shaft will fall and the sprocket should remain hanging loose in the chain.
  6. Lift the friction wheel assembly out between the axle shaft and the drive shaft assemblies.
  7. Remove four screws securing the friction wheel to the hub assembly. See Figure 38. Discard old friction wheel.
    Changing Friction Wheel - Step 3
  8. Reassemble the new friction wheel onto the hub assembly, tightening the four screws in rotation and with equal force (6-9 ft-lb of torque). It is important to assemble the friction wheel symmetrically for proper functioning.
  9. Reposition the friction wheel assembly in the snow thrower frame. Insert the pin from the speed selector arm assembly into the friction wheel assembly and hold assembly in position.
    Changing Friction Wheel - Step 4
  10. Slide the hex shaft through the right side of the frame toward the left side and through the friction wheel assembly.
  11. Ensure that the chain is on both the large and the small sprocket. Align the hex shaft with the hex hub of the small sprocket, and slide the shaft through the sprocket.
    NOTE: If the sprocket fell from the snow thrower while removing the hex shaft, place the sprocket on the chain. Realign the sprocket on the chain with the hex hub facing the right side of unit. Position the hex hub of the sprocket toward the friction wheel when sliding the sprocket onto the hex shaft.
  12. Slide the spacer onto the end of the hex shaft.
    NOTE: The spacer is to be placed on the hex shaft between the sprocket and bearing removed in Step 5 on the left side of the frame.
  13. Align the bearing on the right end of the hex shaft with the hole in the right side of the frame, then push the hex shaft to the left into position in the frame.
  14. Slide the bearing onto the left end of the hex shaft and press into the hole on the left side the frame.
  15. Place the belleville washer (rounded side toward head) onto the hex screw removed in Step 4, and insert the screw into the threaded hole of the hex shaft.
  16. Using a 3/4" wrench, hold the hex shaft and tighten the hex screw to fully seat the bearings in each side of the frame and to secure the hex shaft.
  17. Position the frame cover on the bottom of the frame and secure with the self-tapping screws. Pivot the snow thrower down to it normal operating position.

    Repeat the Drive Control Test from the Assembly section of this manual before operating the snow thrower.

OFF-SEASON STORAGE

If the snow thrower will not be used for 30 days or longer, or if the end of the snow season, the equipment needs to be stored properly. Follow storage instructions below to ensure top performance from the snow thrower for future use.

Preparing Engine

Engines stored over 30 days need to be drained of fuel to prevent deterioration and gum from forming in fuel system or on essential carburetor parts. If the gasoline in your engine deteriorates during storage, you may need to have the carburetor, and other fuel system components, serviced or replaced.

  1. Remove all fuel from tank by running engine until it stops. Do not attempt to pour fuel from the engine.
  2. Change the engine oil.
  3. Remove spark plug and pour approximately 1 oz. (30 ml) of clean engine oil into the cylinder. Pull the recoil starter several times to distribute the oil, and reinstall the spark plug.
  4. Clean debris from around engine, and under, around, and behind muffler. Apply a light film of oil on any areas that are susceptible to rust.
  • Store in a clean, dry and well ventilated area away from any appliance that operates with a flame or pilot light, such as a furnace, water heater, or clothes dryer. Avoid any area with a spark producing electric motor, or where power tools are operated.

    Never store snow thrower with fuel in tank indoors or in poorly ventilated areas, where fuel fumes may reach an open flame, spark or pilot light as on a furnace, water heater, clothes dryer or gas appliance.
  • If possible, avoid storage areas with high humidity.
  • Keep the engine level during storage. Tilting can cause fuel or oil leakage.

Preparing Snow Thrower

  • When storing the snow thrower in an unventilated or metal storage shed, care should be taken to rustproof the equipment. Using a light oil or silicone, coat the equipment, especially any chains, springs, bearings and cables.
  • Remove all dirt from exterior of engine and equipment.
  • Follow lubrication recommendations.
  • Store equipment in a clean, dry area.
  • Inflate the tires to the tire manufacturers recommended pressure. Refer to tire sidewall.
  • Store snow thrower in operating position with both wheels and shave plate on level ground surface.

TROUBLESHOOTING


Disconnect the spark plug wire and ground it against the engine to prevent unintended starting. Before performing any type of maintenance/service, disengage all controls and stop the engine. Wait until all moving parts have come to a complete stop. Always wear safety glasses during operation or while performing any adjustments or repairs.
This section addresses minor service issues. To locate the nearest Sears Service Center or to schedule service, call the following toll free number: 1-888-331-4569.

Problem Cause Remedy
Engine fails to start
  1. Choke control not in CHOKE position.
  2. Spark plug wire disconnected.
  3. Faulty spark plug.
  4. Fuel tank empty or stale fuel.
  5. Engine not primed.
  6. Safety key not inserted.
  7. Extension cord not connected (when using electric start button, on models so equipped).
  1. Move choke control to CHOKE position.
  2. Connect wire to spark plug.
  3. Clean, adjust gap, or replace.
  4. Fill tank with clean, fresh gasoline.
  5. Prime engine as instructed in the Operation Section.
  6. Insert safety key fully into the switch.
  7. Connect one end of the extension cord to the electric starter outlet and the other end to a three-prong 120-volt, grounded, AC outlet.
Engine running erratically/ inconsistent RPM (hunting or surging)
  1. Engine running on CHOKE.
  2. Stale fuel.
  3. Water or dirt in fuel system.
  4. Carburetor out of adjustment.
  5. Over-governed engine.
  1. Move choke control to RUN position.
  2. Fill tank with clean, fresh gasoline.
  3. Drain fuel tank by running engine until it stops. Refill with fresh fuel.
  4. Contact your Sears Parts & Repair Center.
  5. Contact your Sears Parts & Repair Center.
Excessive vibration
  1. Loose parts or damaged auger or impeller.
  1. Stop engine immediately and disconnect spark plug wire. Tighten all bolts and nuts. If vibration continues, have unit serviced by a Sears Parts & Repair Center.
Loss of power
  1. Spark plug wire loose.
  2. Gas cap vent hole plugged.
  1. Connect and tighten spark plug wire.
  2. Remove ice and snow from gas cap. Be certain vent hole is clear.
Unit fails to propel itself
  1. Drive cable in need of adjustment.
  2. Drive belt loose or damaged.
  3. Worn friction wheel.
  1. Adjust drive control cable. Refer to Service and Maintenance section.
  2. Replace drive belt. Refer to Service and Maintenance section.
  3. Replace friction wheel. Refer to Service and Maintenance section.
Unit fails to discharge snow
  1. Chute assembly clogged.
  2. Foreign object lodged in auger.
  3. Auger cable in need of adjustment.
  4. Auger belt loose or damaged.
  5. Shear pin(s) sheared.
  1. Stop engine immediately and disconnect spark plug wire. Clean chute assembly and inside of auger housing with clean-out tool.
  2. Stop engine immediately and disconnect spark plug wire. Remove object from auger with clean-out tool.
  3. Adjust auger control cable. Refer to Assembly section.
  4. Replace auger belt. Refer to Service and Maintenance section.
  5. Replace with new shear pin(s). Refer to Operation section.
Chute fails to easily rotate 180-200 degrees
  1. Chute assembled incorrectly.
  1. Disassemble chute control and reassemble as directed in the Assembly section.
Unit plows snow instead of blowing it
  1. Low/slow ground speed in wet/slushy snow 1-3" deep.
  2. Shear pin(s) sheared.
  1. Increase ground speed. Always operate engine at FULL throttle.
  2. Replace with new shear pin(s). Refer to Operation section.

For prices and additional information in the U.S.A. call 1-800-827-6655.
Coverage in Canada varies on some items. For full details call Sears Canada at 1-800-361-6665.
Sears Installation Service

For Sears professional installation of home appliances, garage door openers, water heaters, and other major home items, in the U.S.A. call 1-888-331-4569, and in Canada call 1-800-469-4663.
Sears Brands Management Corporation, Hoffman Estates, IL 60179, U.S.A.
Visit our website: www.craftsman.com

Documents / Resources

References

Download manual

Here you can download full pdf version of manual, it may contain additional safety instructions, warranty information, FCC rules, etc.

Download Craftsman PRO Series, 247.888760 Manual

Available languages

Advertisement

Need help?

Need help?

Do you have a question about the PRO Series and is the answer not in the manual?

Questions and answers

Table of Contents