Black & Decker BDEJS4C - VARIABLE SPEED JIG SAW Manual

Black & Decker BDEJS4C - VARIABLE SPEED JIG SAW Manual

Also See for BDEJS4C:

Advertisement

Black & Decker BDEJS4C - VARIABLE SPEED JIG SAW Manual

SAFETY GUIDELINES DEFINITIONS

It is important for you to read and understand this manual. The information It contains relates to protecting YOUR SAFETY and PREVENTING PROBLEMS. The symbols below are used to help you recognize this information.


Indicates an imminently hazardous situation which, if not avoided, will result in death or serious injury.


Indicates a potentially hazardous situation which, if not avoided, could result in death or serious injury.


Indicates a potentially hazardous situation which, if not avoided, may result in minor or moderate injury.

NOTICE: Used without the safety alert symbol indicates potentially hazardous situation which, it not avoided, may result in property damage.

GENERAL POWER TOOL SAFETY WARNINGS

burn hazardburn hazard
Read all safety warnings and all Instructions. Failure to follow the warnings and instructions may result in electric shook, fire and/or serious injury.

SAVE ALL WARNINGS AND INSTRUCTIONS FOR FUTURE REFERENCE

The term "power tool" in the warnings refers to your mains-operated (corded) power tool or battery-operated (cordless) power tool.

  1. WORK AREA SAFETY
    1. Keep work area clean and well lit. Cluttered or dark areas invite accidents.
    2. Do not operate power tools In explosive atmospheres, such as in the presence of flammable liquids, gases or dust. Power tools create sparks which may ignite the dust or fumes.
    3. Keep children and bystanders away while operating a power tool. Distractions can cause to lose control.
  2. ELECTRICAL SAFETY
    1. Power tool plugs must match the outlet. Never modlfy the plug In any way. Do not use any adapter plugs with earthed (grounded) power tools. Unmodified plugs and matching outlets will reduce risk of electric shock.
    2. Avoid body contact with earthed or grounded surfaces such as pipes, radiators, ranges and refrigerators. There is an increased risk of electric shock if your body is earthed or grounded
    3. Do not expose power tools to rain or wet conditions. Water entering a power tool will increase the risk of electric shock.
    4. Do not abuse the cord. Never use the cord for carrying, pulling or unplugging the power tool. Keep cord away from heat, oil, sharp edges or moving parts. Damaged or entangled cords increase the risk of electric shock.
    5. When operating a power tool outdoors, use an extension cord suitable for outdoor use. Use of a cord suitable for outdoor use reduces the risk of electric shock.
    6. If operating a power tool in a damp location ie unavoidable, use a ground fault circuit interrupter (GFCI) protected supply. Use of a GFCI reduces the risk of electric shock.
  3. PERSONAL SAFETY
    1. Stay alert, watch what you are doing and use common sense when operating a power tool. Do not use a power tool while you are tired or under the influence of drugs, alcohol or medication. A moment of in attention while operating power tools may result in serious personal injury.
    2. Use personal protective equipment. Always wear eye protection. Protective equipment such as dust mask, nonskid safety shoes, hard hat, or hearing protection used for appropriate conditions will reduce personal injuries
    3. Prevent unintentional starting. Ensure the switch is in the off position before connecting to power source and/or battery pack, picking up or carrying the tool. Carrying power tools with your finger on the switch or energizing power tools that have the switch on invites accidents.
    4. Remove any adjusting key or wrench before turning the power tool on. A wrench or a key left attached to a rotating part of the power tool may result in personal injury.
    5. Do not overreach. Keep proper footing and balance at all times. This enables better control of the power too/ in unexpected situations
    6. Dress properly. Do not wear loose clothing or jewelry. Keep your hair, clothing and gloves away from moving parts. Loose clothes, jewelry or long hair can be caught in moving parts.
    7. If devices are provided for the connection of dust extraction and collection facilities, ensure these are connected and properly used. Use of dust collection can reduce dust-related hazards.
  4. POWER TOOL USE AND CARE
    1. Do not force the power tool. use the correct power tool for your application. The correct power tool will do the job better and safer at the rate for which it was designed.
    2. Do not use the power tool If the switch does not turn It on and off. Any power tool that cannot be controlled with the switch is dangerous and must be repaired
    3. Disconnect the plug from the power source and/or the battery pack from the power tool before making any adjustments, changing accessories, or storing power tools. Such preventive safety measures reduce the risk of starting the power tool accidentally.
    4. Store Idle power tools out of the reach of children and do not allow persons unfamiliar with the power tool or these Instructions to operate the power tool. Power tools are dangerous in the hands of untrained users.
    5. Maintain power tools. Check for misalignment or binding of moving parts, breakage of parts and any other condition that may affect the power tool's operation. If damaged, have the power tool repaired before use. Many accidents are caused by poorly maintained power tools.
    6. Keep cutting tools sharp and clean. Properly maintained cutting tools with sharp cutting edges are less likely to bind and are easier to control.
    7. Use the power tool. accessories and tool bits. etc. in accordance with the instructions, taking into account the working conditions and the work to be performed. Use of the power tool for operations different from those intended must result in a hazardous situation.
  5. SERVICE
    1. Have your power tool serviced by a qualified repair person using only identical replacement parts. This will ensure that the safety ot the power tool is maintained.

UNIT SAFETY WARNINGS

  • Hold power tool by Insulated gripping surfaces, when performing an operation where the cutting accessory may contact hidden wiring or Its own cord. Cutting accessory contacting a "live" wire may make exposed metal pans of the power tool "live" and could give the operator an electric shock.
  • Use clamps or another practical way to secure and support the workpiece to a stable platform. Holding the work by hand or against your body leaves it unstable and may lead to loss of control.
  • Keep hands away from cutting area. Never reach underneath the material for any reason. Hold front of saw by grasping the contoured gripping area. Do not insert fingers or thumb into the vicinity of the reciprocating blade and blade clamp. Do not stabilize the saw by gripping the shoe.
  • Keep blades sharp. Dull blades may cause the saw to swerve or stall under pressure.
  • Use extra caution when cutting overhead and pay particular attention to overhead wire: which may be hidden from view. Anticipate the path of falling branches and debris ahead of time.
  • When cutting pipe or conduit ensure that they are free from water, electrical wiring, etc.


Some dust created by power sanding, sawing, grinding, drilling, and other construction activlties contains chemicals known to cause cancer, birth defects or other reproductive harm. Some examples of these chemicals are:

  • lead from lead-based paints,
  • crystalline silica from bricks and cement and other masonry products, and
  • arsenic and chromium from chemically treated lumber (CCA).

Your risk from these exposures vanes, depending on how often you do this type of work. To reduce your exposure to these chemicals: work in a well ventilated area, and work with approved safety equipment, such as those dust masks that are specially designed to filter out microscopic particles.

  • Avoid prolonged contact with dust from power sanding, sawing, grinding, drilling, and other construction activities. Wear protective clothing and wash exposed areas with soap and water. Allowing dust to aet into your mouth, eyes, or lay on the skin may promote absorption ot harmful chemicals.


ALWAYS use safety glasses Everyday eyeglasses are NOT safety glasses. Also use face or dust mask if drilling operation is dusty. ALWAYS WEAR CERTIFIED SAFETY EQUIPMENT:

  • ANSI Z8Z1 (CAN/CPA Z94.3),
  • ANSI S12.6 (S3.19) hearing protection,
  • NOSH/OSHA respiratory protection.


Use ot this tool can generate and/or disperse dust, which may cause serious and permanent respiratory or other injury. Always use NIOSH/OSHA approved respiratory protection appropriate for the dust exposure. Direct particles away from face and body.


Wear appropriate hearing protection during use. Under some conditions and duration of use, nose from this product may contribute to hearing loss.

  • When using an extension cord, be sure to use one heavy enough to carry the current your product will draw. An undersized cord will cause a drop in line voltage result in a in loss of power and overheating. The following table shows the correct size fo use depending on cord length and nameplate ampere rating. If in doubt, use the next heavier gage. The smaller the gage number, the heavier the cord.
Minimum Gage for Cord Sets
Volts Total Length of Cord in Feet
120V 0-25
(0-7,6m)
26-50
(7,6m-15,2m)
51-100
(15,2-30,4m)
101-150
(30,4-45,7m)
Ampere Rating American Wire Gage
More
Than
Not more
Than
0 - 6 18 16 16 14

SYMBOLS

  • The label on your tool may include the following symbols. The symbols and their definitions are as follows:
V volts
Hz hertz
min minutes
direct current
Class I Construction (grounded)
Class II Construction (double Insulated)
Use proper eye protection
sfpm surface feet per minute
A amperes
W watts
alternating current
n0 no load speed
earthing terminal
warning safety alert symbol
.../min revolutions or reciprocation per minute
Use proper respiratory protection
Use proper hearing protection

FUNCTIONAL DESCRIPTION

Functional Description

  1. Trigger switch
  2. Lock-on button
  3. Saw blade locking lever
  4. Saw blade
  5. Blade guide roller
  6. Shoe
  7. Speed control wheel
  8. Cutting action lever
  9. Vacuum adaptor
  10. Hex wrench

OPERATING INSTRUCTIONS


Before attempting any of the following operations, make sure that the tool is switched off and unplugged and that the saw blade has stopped. Used saw blades can be hot.

INSTALLING A BLADE

This jig saw accepts both T shank and universal blades

  • To install a blade (4) in the jig saw, push upward on the blade locking lever (3) (Fig. A).
  • With teeth facing forward, insert the shank ot the saw blade into the blade holder as far as it will go.

NOTE: Make sure the rear edge of the blade is nested in the blade guide roller (5).

  • Release the blade locking lever.

NOTE: The blade will automatically be locked into the blade holder.
Pull downward on the blade to ensure it is properly locked into the blade holder.

REMOVING A BLADE

To remove a blade, push upward on the blade locking lever (3) and remove the blade from the blade holder.

HEX KEY STORAGE

The 1/8" (3.125 mm) hex wrench (10) for adjusting the edge guide and bevel cutting angle is stored in power cord holder at the rear of the jigsaw.

RIP FENCE / CIRCLE GUIDE

(not provided)
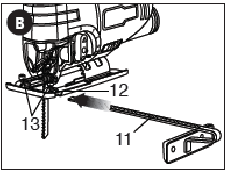
This jigsaw can be equipped with a rip fence/circle guide that will assist in cutting narrow edges from a workpiece. See (Fig. B)

  • Insert the rip fence (11) through the mounting slots (12).
  • Set the rip fence at the desired distance from the blade and lack it into place by tightening the mounting screws (13) supplied with the accessory.
  • Make a test cut on a scrap workpiece to ensure the edge guide is set correctly.
  • Adjust the edge guide as required.

SETTING THE BEVEL CUTTING ANGLE


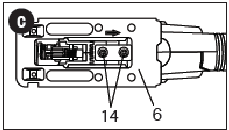
Never use the tool when the shoe is loose or removed. Bevel cutting angles may be adjusted from 0° to 45° either left or right. To adjust the bevel angle:

  • Loosen both pivot screws(14) until the shoe (6) can be rotated (Fig. C) with the hex wrench (10).
  • Bevel angles are marked on a scale (15) located on the side of the shoe (Fig. D).
  • Slide the base toward the rear ot the jigsaw and align the bevel angle index mark (16) with the desired bevel angle on the shoe.
  • Slide the shoe forward to engage the bevel angle slot (17) with the indexing pin (18) (Fig. E)

NOTE: Use a protractor to check the bevel angle between the blade and the base.
NOTE: To set the bevel angle at intermediate angles, do not slide the base forward.

  • Once the desired bevel angle is obtained, lock the shoe in place by tightening pivot screws.
  • Make a test cut in a scrap piece of material and measure the bevel angle. Adjust the bevel angle if necessary.

SWITCHING ON AND OFF

  • To switch the tool on, squeeze the trigger switch (1).
  • For continuous operation, squeeze the trigger switch then depress the lock-on button (2). Once lock-on button is depressed, release the trigger switch.
  • To switch the tool off, the trigger switch: To switch the tool off, when in continuous operation, squeeze the trigger and the lock will disengage.

VARIABLE SPEED CONTROL

  • A speed control wheel (7) is located on the top of the saw. Rotating the variable speed control wheel toward the rear ot the jigsaw will result in slower speeds. Position the speed control dial at 1 for the slowest speed, 3 for medium speed, and 6 for the highest speed. (FIGURE F)

CUTTING ACTION

ORBITAL OR STRAIGHT


Check that the tool is not locked ON before connecting it to a power supply. If the trigger switch Is locked ON when the tool Is connected to the power supply, it will start immediately. Damage to your tool or personal injury may result.
The variable cutting action allows you to select one ot tour different cutting actions.

  • To set the action, rotate the cutting action lever (8) forward or backward to the desired setting number (Fig. G).
  • Position 0 is straight outing.
  • Positions 1, 2, and 3 are orbital cutting.
  • The aggressiveness of the cut increases as the lever is adjusted from one to three, with three being the most aggressive out.

NOTE: The orbital setting button will "click" at each of the four positions. Slide the orbital button slightly forward or backward until it locks into place.

INSTALLING THE VACUUM ADAPTOR

To reduce the amount ot loose sawdust produced while outing, a workshop vacuum can be attached to the jigsaw by using the vacuum adapter that is attached to the jigsaw.

  • To install the vacuum into the adapter slide a workshop vacuum nozzle into the vacuum adapter (Fig. H).

NOTE: The vacuum adapter is slightly tapered. If the adapter is too large to be inserted into the vacuum port, insert the opposite end ot the adaptor into the vacuum part.

NOTE: Twist the adapter slightly as it is pressed into the vacuum port to ensure it is fully inserted.

HINTS FOR OPTIMUM

USE SAWING LAMINATES
As the saw blade cuts on the upward stroke, splintering may occur on the surface closest to the shoe plate.

  • Use a fine-tooth saw blade.
  • Saw from the back surface ot the workpiece.
  • To minimize splintering, clamp a piece ot scrap wood or hardboard to both sides ot the workpiece and saw through this sandwich.

SAWING METAL

  • Be aware that sawing metal takes much more time than sawing wood.
  • Use a saw blade suitable for sawing metal.
  • When cutting thin metal, clamp a piece of scrap wood to the back surface of the workpiece and cut through this sandwich.
  • Spread a film of oil along the intended line ot cut for easier operation and longer blade lite. For cutting aluminum, kerosene is preferred.

RIP/CIRCLE CUTTING

(FIGURE l, J)
Ripping and circle cutting without a pencil line are easily done with the rip fence circle guide (not included - available at extra cost). Using the screw supplied with the accessory guide, position as shown in figure I and thread the screw into tie shoe to clamp the fence securely.
When ripping, position as shown in figure I and slide the rip fence under he screw from either side of the saw. Set the cross bar at desired distance from blade and tighten screw. For ripping, the cross bar should be down and against the straight edge ot the workpiece as shown.
When circle cutting, adjust rip fence so that distance from blade to hole in fence arm is at the desired radius and tighten screws. Place saw so that hole in fence arm is over center of circle to be cut (drill hole tor blade or cut inward from edge ot material to get blade into position). When saw is properly positioned, drive a small nail through hale in fence arm. using rip fence as a pivot arm, begin cutting circle. For circle cutting, the cross bar should be up, as shown in figure J.

MAKING A POCKET CUT

IT IS NOT NECESSARY TO DRILL A PILOT HOLE:


(FIGURE K)

  • Mark the desired starting point.
  • Tilt the tool forward and place the rounded front edge of the saw shoe on the workpiece so the blade does not touch the surface.
  • Switch the tool on and slowly feed the saw blade into the workpiece at the desired starting point.

TROUBLESHOOTING

Problem Possible Cause Possible Solution
  • Unit will not start
  • Cord not plugged in.
  • Plug tool into a working outlet
  • Circuit fuse is blown.
  • Replace circuit fuse. (If the product repeatedly causes the circuit fuse to blow, discontinue immediately and have it serviced at a BLACK+DECKER service center or authorized servicer.)
  • Circuit breaker is tripped.
  • Reset circuit breaker. (It the product repeatedly causes the circuit breaker to trip, discontinue use immediately and have it serviced at a BLACK+DECKER service center or authorized servicer.)
  • Cord or switch is damaged.
  • Have cord or switch replaced at a BLACK+DECKER Service Center or Authorized Servicer

For assistance with your product visit our website www.blackanddecker.com for the location of the service center nearest you or call the BLACK+DECKER help line at 1-800 544-6986

MAINTENANCE

Use only mild soap and damp cloth to clean the tool. Never let any liquid get inside the tool; never immerse any part of the tool into a liquid.


To assure product SAFETY and RELIABILITY, repairs, maintenance and adjustment (other than those listed in this manual) should be performed by authorized service centers or other qualified service personnel, always using identical replacement parts.

ACCESSORIES


Since accessories, other than those offered by BLACK+DECKER,have not been tested with this product, use of such accessories with this tool could be hazardous. To reduce the risk ot injury, only BLACK+DECKER recommended accessories should be used with this product. A complete line of accessories is available from your BLACK+DECKER Factory service center or a BLACK+DECKER Authorized Warranty Service Center. Please Visit our Web Site www.blackanddecker.com for a catalog or for the name ot your nearest supplier.

SERVICE INFORMATION

All BLACK+DECKER Service Centers are staffed with trained personnel to provide customers with efficient and reliable power tool service. Whether you need technical advice, repair, or genuine factory replacement parts, contact the BLACK+DECKER location nearest you. To find your local service location call: 1-800 544-6986

If you have a question or experience a problem with your BLACK+DECKER purchase, go to http://www.blackanddecker.com/lnstantanswers
If you can't find the answer or do not have access to the Internet, call 1-800-544-6986 from 8 a.m. to 5 P.m. EST Mon. - Fri. to speak with an agent.
Please have the catalog number available when u call.
SAVE THIS MANUAL FOR FUTURE REFERENCE.

To register your new product, visit www.BlackandDecker.com/NewOwner

Imported by
Black & Decker (U.S.) Inc.,
701 E. Joppa Rd.
Towson, MD 21286 U.S.A.

BlackandDecker.com
1-800-544 6986

Documents / Resources

References

Download manual

Here you can download full pdf version of manual, it may contain additional safety instructions, warranty information, FCC rules, etc.

Download Black & Decker BDEJS4C - VARIABLE SPEED JIG SAW Manual

Advertisement

Need help?

Need help?

Do you have a question about the BDEJS4C and is the answer not in the manual?

Questions and answers

Table of Contents