Black & Decker BHFEA18 - POWERSERIES+ 20V MAX Cordless Vacuum Manual
![]()
Components
![Black & Decker - POWERSERIES+ BHFEA18 - Components Components]()
- On/off power button
- Main handle
- State of charge indicator
- Dust bowl release button
- Clear dust bowl
- Cyclonic filter assembly
- Extension pole release button
- Extension pole
- Floorhead (with in‑built floor sense)
- Beater bar release button
- Crevice tool
- Battery
- Battery release button
- Storage station
![burn hazard]()
![]()
![burn hazard]()
Read all safety warnings and all instructions. Failure to follow the warnings and instructions may result in electric shock, fire and/ or serious injury.
![]()
To reduce the risk of injury, read the instruction manual.
Intended Use
Your BLACK+DECKER vacuum has been designed for vacuuming everyday dry messes. This appliance is intended for household use only.
Definitions: Safety Alert Symbols and Words
This instruction manual uses the following safety alert symbols and words to alert you to hazardous situations and your risk of personal injury or property damage.
![]()
Indicates an imminently hazardous situation which, if not avoided, will result in death or serious injury.
![]()
Indicates a potentially hazardous situation which, if not avoided, could result in death or serious injury.
![]()
Indicates a potentially hazardous situation which, if not avoided, may result in minor or moderate injury.
(Used without word)
Indicates a safety related message.
NOTICE: Indicates a practice not related to personal injury which, if not avoided, may result in property damage.
ASSEMBLY AND ADJUSTMENTS
![]()
To reduce the risk of serious personal injury, turn unit off and remove battery pack before making any adjustments or removing/installing attachments or accessories. An accidental start‑up can cause injury.
![Black & Decker - POWERSERIES+ BHFEA18 - ASSEMBLY AND ADJUSTMENTS ASSEMBLY AND ADJUSTMENTS]()
- Align the top of the extension tube
with the vacuum inlet
as shown in figure above. - Push the extension tube
onto the vacuum inlet
so it locks into position. - To remove an accessory, press the extension pole release button
located on the vacuum inlet or the bottom of the extension tube and gently pull the connected accessory off.
![]()
When not in use position the unit with the rear of the vacuum facing a wall so that any inadvertent fall of the unit would contact a wall and not people or pets.
OPERATION
![]()
To reduce the risk of serious personal injury, turn unit off and remove battery pack before making any adjustments or removing/installing attachments or accessories. An accidental start‑up can cause injury.
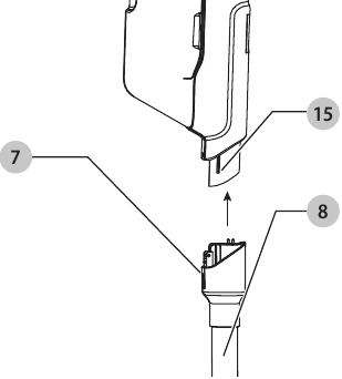
Installing and Removing the Battery Pack
NOTE: For best results, make sure your battery pack is fully charged.
To install the battery pack
into the tool handle, align the battery pack with the rails inside the tool's handle and slide it into the handle until the battery pack is firmly seated in the tool and ensure that it does not disengage.
To remove the battery pack from the tool, press the release button
and firmly pull the battery pack out of the tool handle. Insert it into the charger as described in the charger section of this manual.
Use
This vacuum cleaner can be used in one of two ways.
- With the extension tube
and the floor head
. - With the crevice tool
.
Switching ON and OFF
![Black & Decker - POWERSERIES+ BHFEA18 - OPERATION - Switching ON and OFF OPERATION - Switching ON and OFF]()
- To switch ON, push the ON/OFF button
. - For increased power, push the ON/OFF button
again.
NOTE: The state of charge indicator LEDs will illuminate while the vacuum is ON. - To switch OFF, press the ON/OFF button
a third time.
Floor Sense
Floor Sense is active in the low speed. When a carpet is detected, the performance of the unit is automatically increased to high speed. When a hard floor is detected, the performance of the unit reduces to low speed.
The crevice tool
allows for vacuuming in narrow and hard to‑reach places.
- To attach the crevice tool
press into vacuum inlet
so it locks into position as shown in Fig. G. - To release the crevice tool
press the crevice tool release button
and gently pull the extension tube off.
MAINTENANCE
![]()
To reduce the risk of serious personal injury, turn unit off and remove battery pack before making any adjustments or removing/installing attachments or accessories. An accidental start‑up can cause injury.
Cleaning
![]()
Blow dirt and dust out of all air vents with clean, dry air at least once a week. To minimize the risk of eye injury, always wear ANSI Z87.1 approved eye protection when performing this procedure.
![]()
Never use solvents or other harsh chemicals for cleaning the non‑metallic parts of the tool. These chemicals may weaken the plastic materials used in these parts. Use a cloth dampened only with water and mild soap. Never let any liquid get inside the tool; never immerse any part of the tool into a liquid.
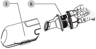
Cleaning and Emptying the Unit
![]()
Projectile/Respiratory Hazard: Never use the vac without its filter.
NOTE: The filter is re‑usable, do not confuse it with a disposable dust bag, and do not throw it away when the product is emptied. We recommend that you replace the filter every 6–9 months depending on frequency of use.
To Empty the Dust Bowl
- Push down the dust bowl release button
to release and remove the dust bowl
from the vacuum.
![Black & Decker - POWERSERIES+ BHFEA18 - Cleaning and Emptying the Unit - Step 1 Cleaning and Emptying the Unit - Step 1]()
- Use your index finger and thumb to pinch the filter housing tabs and pull the filter housing
from the dust bowl as shown.
![Black & Decker - POWERSERIES+ BHFEA18 - Cleaning and Emptying the Unit - Step 2 Cleaning and Emptying the Unit - Step 2]()
- Place the dust bowl over a trash can and empty the dust bowl as illustrated.
![]()
- Remove the foam filter
from the filter housing as shown.
![Black & Decker - POWERSERIES+ BHFEA18 - Cleaning and Emptying the Unit - Step 3 Cleaning and Emptying the Unit - Step 3]()
- Shake or lightly brush any loose dust off of the foam filter
and filter
. - Rinse out the dust bowl
with warm soapy water. - Wash the filters with warm soapy water.
- Ensure the filters are completely dry before refitting the filters into the filter housing.
- Refit the clean and dry foam filter
into the filter housing
. - Install the filter housing into the dust bowl
. - Install the dust bowl onto the vacuum, until it "clicks" firmly into position.
Removing and Cleaning the Beater Bar
![]()
To reduce the risk of injury from moving parts, disconnect the floor head and extension tube from the vacuum before cleaning or servicing.
- To remove the beater bar
from the floor head
Slide the beater bar release button
to the rear of the unit.
![Black & Decker - POWERSERIES+ BHFEA18 - Removing and Cleaning the Beater Bar - Step 1 Removing and Cleaning the Beater Bar - Step 1]()
- The beater bar
can now be removed and cleaned.
Troubleshooting
if the product does not work, check the following:
Unit will not start
- Battery pack not charged.
- Check battery pack charging requirements.
Battery pack will not charge
- Charger not plugged in.
- Plug charger into a working outlet. Refer to Important Charging Notes for more details.
- Surrounding air temperature too hot or too cold.
- Move charger and battery pack to a 39 degrees F (4°C) or below 104 degrees F (+40°C).
if vacuum performance is poor, check the following:
- Clean the filters. (See Cleaning and Emptying the vacuum section.)
- Empty the dust bowl. (See Cleaning and Emptying the vacuum section.)
- Clean the beater bar. (See Removing and Cleaning the Beater Bar section.)
Safe Storage
![Black & Decker - POWERSERIES+ BHFEA18 - Safe Storage Safe Storage]()
The unit can be safely stored, when not in use, by placing the catch on the rear of the motor unit onto the storage station
as shown.
Accessories
![]()
Since accessories, other than those offered by BLACK+DECKER, have not been tested with this product, use of such accessories with this tool could be hazardous. To reduce the risk of injury, only BLACK+DECKER recommended accessories should be used with this product.
Recommended accessories for use with your tool are available at extra cost from your local dealer or authorized service center. If you need assistance in locating any accessory, please contact BLACK+DECKER call 1‑800‑544‑6986 .
Replacement Filter
The filter should be replaced every 6 to 9 months and whenever worn or damaged. Replacement filters are available from your BLACK+DECKER dealer. Visit www.blackanddecker.com to locate dealers.
Replacement BlACK+DECKER filter: BHFEAF1
Repairs
The charger and battery pack are not serviceable. There are no serviceable parts inside the charger or battery pack.
![]()
To assure product SAFETY and RELIABILITY, repairs, maintenance and adjustment (including brush inspection and replacement, when applicable) should be performed by a BLACK+DECKER factory service center or a BLACK+DECKER authorized service center. Always use identical replacement parts.
Register Online
Thank you for your purchase. Register your product now for:
- WARRANTY SERVICE: Registering your product will help you obtain more efficient warranty service in case there is a problem with your product.
- CONFIRMATION OF OWNERSHIP: In case of an insurance loss, such as fire, flood or theft, your registration of ownership will serve as your proof of purchase.
- FOR YOUR SAFETY: Registering your product will allow us to contact you in the unlikely event a safety notification is required under the Federal Consumer Safety Act.
- Register online at www.BlackandDecker.com/NewOwner
IMPORTANT SAFETY INSTRUCTIONS
When using an electrical appliances, basic precautions should always be followed, including the following:
READ ALL INSTRUCTIONS BEFORE USING THIS APPLIANCE.
![burn hazard]()
![]()
![burn hazard]()
Read all safety warnings and all instructions. Failure to follow the warnings and instructions listed below may result in electric shock, fire and/or serious injury.
![]()
Some household dust contains chemicals known to the State of California to cause cancer, birth defects or other reproductive harm such as asbestos and lead in lead based paint.
![]()
Do not attempt to modify or repair the appliance.
![burn hazard]()
![]()
![burn hazard]()
Do not charge the battery at ambient temperatures below 39°F (4°C) or above 104°F (40°C). Follow all charging instructions and do not charge the appliance outside of the temperature range specified in the instructions. Charging improperly or at temperatures outside of the specified range may damage the battery and increase risk of fire.
![burn hazard]()
![]()
![burn hazard]()
To reduce the risk of fire, electrical shock or injury:
- Shock Hazard. To protect against risk of electrical shock, do not put charging base in water or other liquid.
- Do not allow to be used as a toy. Close attention is necessary when used by or near children.
- Use only as described in this manual. Use only manufacturer's recommended attachments.
- If appliance is not working as it should, has been dropped, damaged, left outdoors, or dropped into water, return it to a service center.
- Do not handle charger, including charger plug, and charger terminals with wet hands.
- Do not put any object into openings. Do not use with any opening blocked; keep free of dust, lint, hair, and anything that may reduce air flow.
- Keep hair, loose clothing, fingers, and all parts of body away from openings and moving parts.
- Use extra care when cleaning on stairs.
- Do not use to pick up flammable or combustible liquids, such as gasoline, or use in areas where they may be present.
- Do not pick up anything that is burning or smoking, such as cigarettes, matches, or hot ashes.
- Do not use without dust bag and/or filters in place.
- Do not charge the unit outdoors.
- Use only the charger supplied by the manufacturer to recharge.
- Do not incinerate the appliance even if it is severely damaged. The batteries can explode in a fire.
- This appliance is intended for household use only and not for commercial or industrial use. The unit should be placed or mounted away from sinks and hot surfaces.
- Plug the charger directly into an electrical outlet.
- Use the charger only in a standard electrical outlet (120V/60Hz).
- Unplug the charger from outlet before any routine cleaning or maintenance.
- Do not look into the air vents when the unit is switched on, as sometimes there is a possibility of small debris being discharged from the air vents, especially after cleaning / replacement of the filters as debris inside the unit can be disturbed.
- Leaks from battery cells can occur under extreme conditions. If the liquid, which is a 20‑35% solution of potassium hydroxide, gets on the skin
- wash quickly with soap and water or
- neutralize with a mild acid such as lemon juice or vinegar.
If the liquid gets into the eyes, flush them immediately with clean water for a minimum of 10 minutes. Seek medical attention.
SAVE THESE INSTRUCTIONS
Additional Safety Warnings
- Prevent unintentional starting. Ensure the switch is in the off‑position before picking up or carrying the appliance. Carrying the appliance with your finger on the switch or energizing appliance that have the switch on invites accidents.
- Disconnect the battery pack from the appliance before making any adjustments, changing accessories, or storing appliance. Such preventive safety measures reduce the risk of starting the appliance accidentally.
Recharge only with the charger specified by the manufacturer. A charger that is suitable for one type of battery pack may create a risk of fire when used with another battery pack.
Use appliance only with specifically designed battery packs. Use of any other battery packs may create a risk of injury and fire. ![]()
When battery pack is not in use, keep it away from other metal objects, like paper clips, coins, keys, nails, screws or other small metal objects, that can make a connection from one terminal to another. Shorting the battery terminals together may cause burns or a fire. ![]()
Under abusive conditions, liquid may be ejected from the battery; avoid contact. If contact accidentally occurs, flush with water. If liquid contacts eyes, additionally seek medical help. Liquid ejected from the battery may cause irritation or burns.
Do not use a battery pack or appliance that is damaged or modified. Damaged or modified batteries may exhibit unpredictable behavior resulting in fire, explosion or risk of injury. - Do not expose a battery pack or appliance to fire or excessive temperature. Exposure to fire or temperature above 266°F (130°C) may cause explosion.
Follow all charging instructions and do not charge the battery pack or appliance outside of the temperature range specified in the instructions. Charging improperly or at temperatures outside of the specified range may damage the battery and increase the risk of fire. - Have servicing performed by a qualified repair person using only identical replacement parts. This will ensure that the safety of the product is maintained.
- Do not modify or attempt to repair the appliance or the battery pack except as indicated in the instructions for use and care.
![]()
Never modify the power tool or any part of it. Damage or personal injury could result
![]()
ALWAYS use safety glasses. Everyday eyeglasses are NOT safety glasses. Also use face or dust mask if cutting operation is dusty. ALWAYS WEAR CERTIFIED SAFETY EQUIPMENT:
- ANSI Z87.1 eye protection (CAN/CSA Z94.3),
- ANSI S12.6 (S3.19) hearing protection,
- NIOSH/OSHA/MSHA respiratory protection.
![]()
Some dust created by power sanding, sawing, grinding, drilling, and other construction activities contains chemicals known to the State of California to cause cancer, birth defects or other reproductive harm. Some examples of these chemicals are:
- lead from lead‑based paints,
- crystalline silica from bricks and cement and other masonry products, and
- arsenic and chromium from chemically‑treated lumber.
Your risk from these exposures varies, depending on how often you do this type of work. To reduce your exposure to these chemicals: work in a well ventilated area, and work with approved safety equipment, such as those dust masks that are specially designed to filter out microscopic particles.
- Wear protective clothing and wash exposed areas with soap and water. Allowing dust to get into your mouth, eyes, or lay on the skin may promote absorption of harmful chemicals. Direct particles away from face and body.
- Use the appropriate dust extractor vacuum to remove the vast majority of static and airborne dust. Failure to remove static and airborne dust could contaminate the working environment or pose an increased health risk to the operator and those in close proximity.
- Use clamps or other practical ways to secure and support the workpiece to a stable platform. Holding the work by hand or against your body is unstable and may lead to loss of control and injury.
- Air vents often cover moving parts and should be avoided. Loose clothes, jewelry or long hair can be caught in moving parts.
![]()
When not in use, place tool on its side on a stable surface where it will not cause a tripping or falling hazard. Some tools with large battery packs will stand upright on the battery pack but may be easily knocked over.
The label on your tool may include the following symbols. The symbols and their definitions are as follows:
| V | volts | Wh | watt hours |
| Hz | hertz | Ah | amp hours |
| min | minutes | or AC | alternating current |
or DC | direct current | or AC/DC | alternating or direct current |
![]() | Class I Construction (grounded) | ![]() | Class II Construction (double insulated) |
| .../min | per minute | n0 | no load speed |
| BPM | beats per minute | n | rated speed |
| IPM | impacts per minute | ![]() | earthing terminal |
| RPM | revolutions per minute | ![warning]() | safety alert symbol |
| sfpm | surface feet per minute | ![]() | visible radiation |
| SPM | strokes per minute | ![]() | wear eye protection |
| A | amperes | ![]() | wear hearing protection |
| W | watts | ![]() | wear respiratory protection |
BATTERIES AND CHARGERS
The battery pack is not fully charged out of the carton. Before using the battery pack and charger, read the safety instructions below and then follow charging procedures outlined. When ordering replacement battery packs, be sure to include the catalog number and voltage.
READ ALL INSTRUCTIONS
Important Safety Instructions for All Battery Packs
![burn hazard]()
![]()
![burn hazard]()
Read all safety warnings, instructions, and cautionary markings for the battery pack, charger and product. Failure to follow the warnings and instructions may result in electric shock, fire and/or serious injury.
- Do not charge or use the battery pack in explosive atmospheres, such as in the presence of flammable liquids, gases or dust. Inserting or removing the battery pack from the charger may ignite the dust or fumes.
- NEVER force the battery pack into the charger. DO NOT modify the battery pack in any way to fit into a non‑compatible charger as battery pack may rupture causing serious personal injury.
- Charge the battery packs only in BLACK+DECKER chargers.
- Consult the chart at the end of this manual for compatible battery packs and chargers
- DO NOTsplash or immerse in water or other liquids.
- DO NOTallow water or any liquid to enter battery pack.
- Do not store or use the tool and battery pack in locations where the temperature may reach or exceed 104°F (40°C) (such as outside sheds or metal buildings in summer). For best life store battery packs in a cool, dry location.
NOTE: Do not store the battery packs in a tool with the trigger switch locked on. Never tape the trigger switch in the ON position. - Do not incinerate the battery pack even if it is severely damaged or is completely worn out. The battery pack can explode in a fire. Toxic fumes and materials are created when lithium‑ion battery packs are burned.
- If battery contents come into contact with the skin, immediately wash area with mild soap and water. If battery liquid gets into the eye, rinse water over the open eye for 15 minutes or until irritation ceases. If medical attention is needed, the battery electrolyte is composed of a mixture of liquid organic carbonates and lithium salts.
- Contents of opened battery cells may cause respiratory irritation. Provide fresh air. If symptoms persist, seek medical attention.
- Battery liquid may be flammable if exposed to spark or flame.
- Never attempt to open the battery pack for any reason. If the battery pack case is cracked or damaged, do not insert into the charger. Do not crush, drop or damage the battery pack. Do not use a battery pack or charger that has received a sharp blow, been dropped, run over or damaged in any way (e.g., pierced with a nail, hit with a hammer, stepped on). Damaged battery packs should be returned to the service center for recycling.
Storage Recommendations
The best storage place is one that is cool and dry, away from direct sunlight and excess heat or cold. Store the fully charged battery pack out of the charger.
Battery Pack Cleaning Instructions
Dirt and grease may be removed from the exterior of the battery using a cloth or soft non‑metallic brush. Do not use water or any cleaning solutions.
Transportation
![]()
Fire hazard. Do not store, carry, or transport the battery pack so that metal objects can contact exposed battery terminals.
For example, do not place the battery pack in aprons, pockets, tool boxes, product kit boxes, drawers, etc., with loose nails, screws, keys, coins, hand tools, etc. When transporting individual battery packs, make sure that the battery terminals are protected and well insulated from materials that could contact them and cause a short circuit.
NOTE: Li‑ion battery packs should not be put in checked baggage on airplanes and must be properly protected from short circuits if they are in carry‑on baggage.
Important Safety Instructions for All Battery Chargers
![burn hazard]()
![]()
![burn hazard]()
Read all safety warnings, instructions, and cautionary markings for the battery pack, charger and product. Failure to follow the warnings and instructions may result in electric shock, fire and/or serious injury.
- DO NOT attempt to charge the battery pack with any chargers other than a BLACK+DECKER charger. BLACK+DECKER chargers and battery packs are specifically designed to work together.
![burn hazard]()
![shock hazard]()
These chargers are not intended for any uses other than charging BLACK+DECKER rechargeable battery packs. Charging other types of battery packs may cause them to overheat and burst, resulting in personal injury, property damage, fire, electric shock or electrocution. - Do not expose the charger to rain or snow.
- Do not allow water or any liquid to enter charger.
- Pull by the plug rather than the cord when disconnecting the charger. This will reduce the risk of damage to the electric plug and cord.
- Make sure that the cord is located so that it will not be stepped on, tripped over or otherwise subjected to damage or stress.
![burn hazard]()
![shock hazard]()
Do not use an extension cord unless it is absolutely necessary. Use of improper extension cord could result in risk of fire, electric shock or electrocution.
When operating a charger outdoors, always provide a dry location and use an extension cord suitable for outdoor use. Use of a cord suitable for outdoor use reduces the risk of electric shock. - An extension cord must have adequate wire size (AWG or American Wire Gauge) for safety. The smaller the gauge number of the wire, the heavier the cord and thus the greater its capacity. An undersized cord will cause a drop in line voltage resulting in loss of power and overheating. The following table shows the correct size to use depending on total length of all extension cords plugged together, and nameplate ampere rating. If in doubt, use the next heavier gauge.
| Minimum gauge for Cord sets |
| Volts | Total length of Cord in Feet (meters) |
| 120V | 25 (7.6) | 50 (15.2) | 100 (30.5) | 150 (45.7) |
| Ampere Rating | American Wire gauge |
| More Than | Not More Than |
| 0 | 6 | 18 | 16 | 16 | 14 |
| 6 | 10 | 18 | 16 | 14 | 12 |
| 10 | 12 | 16 | 16 | 14 | 12 |
| 12 | 16 | 14 | 12 | Not Recommended |
- Do not place any object on top of the charger. Place the charger in a position away from any heat source.
- Do not operate the charger with a damaged cord or plug–have them replaced immediately.
- Do not operate the charger if it has received a sharp blow, been dropped or otherwise damaged in any way. Take it to an authorized service center.
![burn hazard]()
![shock hazard]()
Do not disassemble the charger; take it to an authorized service center when service or repair is required. Incorrect reassembly may result in a risk of electric shock, electrocution or fire. - The charger is designed to operate on standard 120V household electrical power. Do not attempt to use it on any other voltage. This does not apply to the vehicular charger.
- Foreign materials of a conductive nature, such as, but not limited to, grinding dust, metal chips, steel wool, aluminum foil or any buildup of metallic particles should be kept away from the charger cavities.
- Always unplug the charger from the power supply when there is no battery pack in the cavity.
Charging a Battery
- Plug the charger into an appropriate outlet.
- Insert and fully seat battery pack. Green charging light will continuously blink while charging.
![]()
![]()
- Charging is complete when the green light remains continuously ON. Battery pack can be left in charger or removed.
![]()
Only charge batteries in air temperature over 40°F (4.5°C) and below 105°F (+40.5°C).
- Charger will not charge a faulty battery pack, which may be indicated by the light staying OFF or the red light rapidly blinking. Take charger and battery pack to an authorized service center if light stays OFF or red light rapidly blinks.
NOTE: Refer to label near charging light on charger for blink patterns.
| Indicators |
![]() | Charging | ![]() |
![]() | Fully Charged | ![]() |
![]() | Hot/Cold Pack Delay | ![]() |
![]() | Bad Battery | ![]() |
Hot/Cold Pack Delay
When the charger detects a battery pack that is too hot or too cold, it automatically starts a Hot/Cold Pack Delay, suspending charging until the battery pack has reached an appropriate temperature. The charger then automatically switches to the pack charging mode. This feature ensures maximum battery pack life.
A cold battery pack may charge at a slower rate than a warm battery pack.
The hot/cold pack delay will be indicated by the red light continuously flashing a short ON followed by a longer ON (see charger for blink pattern). Once the battery pack has reached an appropriate temperature, the charger will resume the charging procedure.
Electronic Protection System
Li‑Ion tools are designed with an Electronic Protection System that will protect the battery pack against overloading, overheating or deep discharge. The tool will automatically turn off and the battery pack will need to be recharged.
Important Charging Notes
- The charger and battery pack may become warm to the touch while charging. This is a normal condition, and does not indicate a problem. To facilitate the cooling of the battery pack after use, avoid placing the charger or battery pack in a warm environment such as in a metal shed or an uninsulated trailer.
- If the battery pack does not charge properly:
- Check operation of receptacle by plugging in a lamp or other appliance;
- Check to see if receptacle is connected to a light switch which turns power off when you turn out the lights;
- If charging problems persist, take the tool, battery pack and charger to your local service center.
- You may charge a partially used pack whenever you desire with no adverse effect on the battery pack.
Charger Cleaning Instructions
![burn hazard]()
![]()
![burn hazard]()
Shock hazard. Disconnect the charger from the AC outlet before cleaning. Dirt and grease may be removed from the exterior of the charger using a cloth or soft non‑metallic brush. Do not use water or any cleaning solutions.
SAVE THESE INSTRUCTIONS FOR FUTURE USE
Imported by Black & Decker (U.S.) Inc.,
701 E. Joppa Rd.
Towson, MD 21286
BlackandDecker.com
(1‑800‑544‑6986)
![]()
Documents / Resources
References
Download manual
Here you can download full pdf version of manual, it may contain additional safety instructions, warranty information, FCC rules, etc.
Download Black & Decker BHFEA18 - POWERSERIES+ 20V MAX Cordless Vacuum Manual
Need help?
Do you have a question about the POWERSERIES+ BHFEA18 and is the answer not in the manual?
Questions and answers