KitchenAid KRFC302ESS - 22 cu. ft. 36-Inch Width Counter Depth French Door Refrigerator Manual

KitchenAid KRFC302ESS - 22 cu. ft. 36-Inch Width Counter Depth French Door Refrigerator Manual

Advertisement

Table of Contents
Contents
KitchenAid KRFC302ESS - 22 cu. ft. 36-Inch Width Counter Depth French Door Refrigerator Manual

REFRIGERATOR CARE

Cleaning


Explosion Hazard Risk of Fire or Explosion.
Flammable Refrigerant Used.
Do Not Use Mechanical Devices to Defrost Refrigerator.
Do Not Puncture Refrigerant Tubing.

Both the refrigerator and freezer sections defrost automatically.

However, clean both sections about once a month to avoid odor buildup. Wipe up spills immediately.

  • Because air circulates between all sections, any odors formed in one section will transfer to the other. You must thoroughly clean all sections to eliminate odors. To avoid odor transfer and drying out of food, wrap or cover foods tightly.
  • Do not use abrasive or harsh cleaners such as window sprays, scouring cleansers, flammable fluids, muriatic acid, cleaning waxes, concentrated detergents, bleaches or cleansers containing petroleum products on doors and cabinet, plastic parts, interior and door liners or gaskets. Do not use paper towels, scouring pads, or other harsh cleaning tools.
  • For stainless steel models, stainless steel is corrosion resistant and not corrosion-proof. To help avoid corrosion of your stainless steel, keep your surfaces clean by using the following cleaning instructions.

Cleaning the Touch Screen Display on the Dispenser Panel (on some models):

  1. Make sure the refrigerator is unplugged or the power is disconnected before wiping the screen to avoid unintentionally changing the settings.
  2. Mix a solution of mild detergent in warm water. Dampen a soft, lint-free cloth with the solution and gently wipe the screen. NOTE: Do not spray or wipe liquids directly onto the screen or over-saturate the cloth.
  3. Plug in refrigerator or reconnect power.

Cleaning the Interior:

Refrigerator shelves with under-shelf, LED lighting are not dishwasher safe.

  1. Unplug refrigerator or disconnect power.
  2. Hand wash, rinse, and dry removable parts and interior surfaces thoroughly. Use a clean sponge or soft cloth and a mild detergent in warm water.
  3. Plug in refrigerator or reconnect power.

Cleaning the Exterior:

Damage to smooth finish due to improper use of cleaning products or using non-recommended cleaning products is not covered under the warranty. Sharp or blunt instruments will mar the finish.

  1. Unplug refrigerator or disconnect power.
  2. Using a clean sponge or soft cloth and a mild detergent in warm water, wash, rinse, and thoroughly dry stainless steel and painted metal exteriors.
    To keep your stainless steel refrigerator looking like new and to remove minor scuffs or marks, it is suggested that you use the manufacturer's approved stainless steel cleaner and polish. This cleaner is for stainless steel parts only. Refer to the Quick Start Guide for ordering information.
    NOTE: When cleaning stainless steel, always wipe in the direction of the grain to avoid cross-grain scratching.
    Do not allow the stainless steel cleaner and polish to come into contact with any plastic parts such as the trim pieces, dispenser covers, or door gaskets. If unintentional contact does occur, clean plastic part with a sponge and mild detergent in warm water. Dry thoroughly with a soft cloth.
  3. Plug in refrigerator or reconnect power.

Style 1:Smooth Door/Painted Metal

DO USE DO NOT USE
Soft, clean cloth
  • Abrasive cloths
  • Paper towels or newsprint
  • Steel-wool pads
Warm, soapy water with a mild detergent
  • Abrasive powders or liquids
  • Window sprays
  • Ammonia
  • Acidic or vinegar-based cleaners
  • Oven cleaners
  • Flammable fluids

NOTE: Paper towels scratch and may dull the clear coat of the painted door. To avoid possible damage, use only soft, clean cloths to polish and wipe the door.

Style 2: Stainless Steel

DO USE DO NOT USE
Soft, clean cloth
  • Abrasive cloths
  • Paper towels or newsprint
  • Steel-wool pads
Warm, soapy water with a mild detergent
  • Abrasive powders or liquids
  • Ammonia
  • Citrus-based cleaners
  • Acidic or vinegar-based cleaners
  • Oven cleaners
For heavy soil, use only a manufacturer's approved stainless steel cleaner and polish
  • Abrasive powders or liquids
  • Ammonia
  • Citrus-based cleaners
  • Acidic or vinegar-based cleaners
  • Oven cleaners
  • Abrasive cloths
  • Paper towels or newsprint
  • Steel-wool pads

NOTES:

  • If unintentional contact does occur, clean plastic part with a sponge and mild detergent in warm water. Dry thoroughly with a soft cloth.
  • Avoid exposing stainless steel appliances to caustic or corrosive elements such as high-salt, high-moisture, or highhumidity environments. Damage due to exposure to these elements is not covered under the warranty.
  • Just because a cleaner is a liquid does not mean it is nonabrasive. Many liquid cleansers formulated to be gentle on tile and smooth surfaces still damage stainless steel.
  • When cleaning stainless steel, always wipe in the direction of the grain to avoid cross-grain scratching.
  • Citric acid permanently discolors stainless steel. To avoid damaging the finish of your stainless steel refrigerator:

Do not allow these substances to remain on the finish:

  • Mustard
  • Citrus-based sauces
  • Tomato juice
  • Citrus-based products
  • Marinara sauce

Condenser Cleaning

Explosion Hazard
Risk of Fire or Explosion due to Puncture of Refrigerant Tubing;
Follow Handling Instructions Carefully.
Flammable Refrigerant Used.

There is no need for routine condenser cleaning in normal home operating environments. If the environment is particularly greasy or dusty or there is significant pet traffic in the home, the condenser should be cleaned every 6 months to ensure maximum efficiency.

  1. Unplug refrigerator or disconnect power.
  2. Remove the base grille.
  3. Use a vacuum cleaner with a soft brush to clean the grille, the open areas behind the grille, and the front surface area of the condenser.
  4. Replace the base grille when finished.
  5. Plug in refrigerator or reconnect power.
    NOTE: If you are unable to clean the condenser, please call for service.

Changing the LED Module


The lights in both the refrigerator and freezer compartments use LED technology that do not need to be replaced. If the lights do not illuminate when the door or drawer is opened, call for assistance or service. Refer to the Quick Start Guide for contact information.
If an LED module(s) do not illuminate when the refrigerator and/or freezer door is opened, call for assistance or service.

Refrigerator Shelves

Important information to know about glass shelves and covers:

Do not clean glass shelves or covers with warm water when they are cold. Shelves and covers may break if exposed to sudden temperature changes or impact, such as bumping. Tempered glass is designed to shatter into many small, pebble-size pieces. This is normal. Glass shelves and covers are heavy. Use both hands when removing them to avoid dropping. The shelves in your refrigerator are adjustable to match your individual storage needs.

Storing similar food items together in your refrigerator and adjusting the shelves to fit different heights of items will make finding the exact item you want easier. It will also reduce the amount of time the refrigerator door is open, and save energy

Glass Shelves

To remove a shelf:

  1. Remove items from the shelf.
  2. Slide the shelf straight out to the stop.
  3. Depending on your model, lift the back or front of the shelf past the stop. Pull the shelf out the rest of the way.

To replace a shelf:

  1. Slide the back of the shelf into the track in the wall of the cabinet.
  2. Guide the front of the shelf into the shelf track. Be sure to slide the shelf in all the way.

Shelves with Shelf Frames

To remove and replace a shelf/shelf frame:

  1. Remove the shelf/frame by tilting it up at the front and lifting it out of the shelf supports.
  2. Replace the shelf/frame by guiding the rear shelf hooks into the shelf supports. Tilt the front of the shelf up until rear shelf hooks drop into the shelf supports.
  3. Lower the front of the shelf and make sure that the shelf is in position.

Shelves with Under-Shelf Lighting (on some models)

By moving LED lighting to a new spot under the shelves, this leading-edge technology improves interior refrigerator lighting and aids in locating storage items.

  • For models with the shelf frames, the hooks on the rear of the shelf must be fully engaged in the shelf supports to maintain proper electrical flow.
  • No more than two shelves with under-shelf lighting may be used in the refrigerator at one time.

Shelves with Shelf Mounts

Shelf height can be adjusted by changing the adjustable shelf mounts between their vertical and horizontal positions.

  1. Carefully lift the shelf off the shelf mounts and turn the flipper to the desired orientation.
  2. Repeat for remaining shelf mounts.
  3. Apply pressure to the top of the shelf to ensure the shelf is properly seated on the shelf mounts.

To remove and replace shelves:

  1. Make sure adjustable shelf mounts are in the lower position before removing shelves. Also doors will need to be open at a 90˚ angle. If open wider, it will make it harder to remove the shelves.
  2. Remove the middle shelf or top shelf by lifting it up and out of the shelf supports. Then pull the shelf forward and tilt down to a vertical position. Turn the shelf at an angle and pull out of the refrigerator.
    Infinity slide glass shelves should be pushed back in. When tilted up, make sure glass does not slide to front.
    NOTE: Remove middle shelf first before removing top shelf.
  3. Remove the bottom shelf by lifting it up and out of the shelf supports. Then pull the shelf forward and tilt up to a vertical position. Turn the shelf at an angle and pull out of the refrigerator.
  4. Replace the middle and top shelves by putting the shelf in the refrigerator at an angle with the shelf front down. Lift the front of the shelf up and slide in until rear shelf drops into the shelf supports. Lower the front of the shelf and make sure that the shelf is in position.
  5. Replace the bottom shelf by putting the shelf in the refrigerator at an angle with the shelf up. Lift the front of the shelf down and slide in until rear shelf drops into the shelf supports. Lower the front of the shelf and make sure that the shelf is in position.

Tuck/Slide Away Shelf (on some models)

Some shelves will tuck/slide away to create room for taller objects.

To retract and extend the front section of the shelf:

  1. To retract the front-section of the shelf, slightly lift up on the front edge and push the adjustable portion of the shelf back toward the rear of the refrigerator.
  2. Extend the front of the shelf by pulling the retracted portion of the shelf outward until it is fully extended.

Foldaway Shelf (on some models)

To retract the fold away shelf:
Retract the fold away section of the shelf by holding the front of the shelf with one hand and lifting up on the center front of the shelf. Then push back and down on the shelf until it slides beneath the back section of the shelf.

To replace the fold away shelf:
Replace the fold away section of the shelf by holding the front of the shelf with one hand and pulling the center of the shelf until the fold away section is returned to its full shelf position.

MicroEdge® Glo Shelves (on some models)

The hooks on the rear of the shelf must be fully engaged in the shelf supports to maintain proper electrical flow. No more than two shelves with under-shelf lighting may be used in the refrigerator at one time.

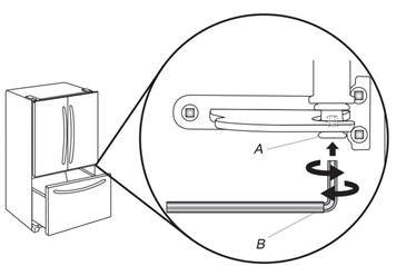
Opening and Closing Doors

There are two refrigerator compartment doors. The doors can be opened and closed either separately or together. On some models, there is a, automatic closing mechanism so the door(s) will not unintentionally be left open. If a door is open at a 40° or smaller angle, the door will automatically, softly close.


If the doors do not automatically close at a 40° or smaller angle, see "Bottom Door Hinge."

There is a vertically-hinged seal on the left refrigerator door.

  • When the left-hand door is opened, the hinged seal automatically folds inward so that it is out of the way.
  • When both doors are closed, the hinged seal automatically forms a seal between the two doors.

    A. Hinged seal
    The refrigerator compartment door switch is located in the top left and right hinge cover.
  • The door switch uses magnet to sense door opening/closing.
  • Ensure there are no magnet or electronic devices (Speaker, CoolVox®, etc) within 3 inches of the hinge cap.
    NOTE: The light and internal user interface (UI) will not turn on if the door opening is not detected.

    A. Hinged cover

Vacation and Moving Care

Vacation

If You Choose to Leave the Refrigerator On While You're Away:

  1. Use up any perishables and freeze other items.
  2. If your refrigerator has an automatic ice maker, and is connected to the household water supply, turn off the water supply to the refrigerator. Property damage can occur if the water supply is not turned off.
  3. If you have an automatic ice maker, turn off the ice maker. NOTE: Depending on your model, raise the wire shutoff arm to Off (up) position or press the switch to Off.
  4. Empty the ice bin.
    Models with Vacation Mode Feature
    Turn on Vacation mode. See the "Quick Start Guide" for details.
    NOTE: Activating Vacation mode does not turn off the ice maker.

If You Choose to Turn Off the Refrigerator Before You Leave:

  1. Remove all food from the refrigerator.
  2. If your refrigerator has an automatic ice maker:
    • Turn off the water supply to the ice maker at least one day ahead of time.
    • When the last load of ice drops, raise the wire shutoff arm to the Off (up) position or press the switch to Off, depending on your model.
  3. Empty the ice bin.
  4. Turn off the Temperature control(s). See the "Quick Start Guide."
  5. Clean refrigerator, wipe it, and dry well.
  6. Tape rubber or wood blocks to the tops of both doors to prop them open far enough for air to get in. This stops odor and mold from building up.

Moving

When you are moving your refrigerator to a new home, follow these steps to prepare it for the move.

  1. If your refrigerator has an automatic ice maker:
    • Turn off the water supply to the ice maker at least one day ahead of time.
    • Disconnect the water line from the back of the refrigerator.
    • When the last load of ice drops, raise the wire shutoff arm to the Off (up) position or press the switch to Off, depending on your model.
  2. Remove all food from the refrigerator and pack all frozen food in dry ice.
  3. Empty the ice bin.
  4. Turn off the Temperature control(s). See the "Quick Start Guide."
  5. Unplug refrigerator
  6. Clean, wipe, and dry thoroughly.
  7. Take out all removable parts, wrap them well, and tape them together so they don't shift and rattle during the move.
  8. Depending on the model, raise the front of the refrigerator so it rolls more easily or raise the leveling screws so they don't scrape the floor. See "Adjust the Door(s)" or "Door Closing and Door Alignment."
  9. Tape the doors closed and tape the power cord to the back of the refrigerator.
    When you get to your new home, put everything back and refer to the "Installation Instructions" section for preparation instructions. Also, if your refrigerator has an automatic ice maker, remember to reconnect the water supply to the refrigerator.

INSTALLATION INSTRUCTIONS

Unpack the Refrigerator


Excessive Weight Hazard
Use two or more people to move and install or uninstall appliance.
Failure to do so can result in back or other injury.

Refrigerator Delivery

  • A minimum door opening of 33" (838 mm) is required. If door opening is 36" (914 mm) or less, then removal of doors, drawer, and hinges is required.
  • Cart the refrigerator from the side for all door openings.

Remove the Packaging

  • Remove tape and glue residue from surfaces before turning on the refrigerator. Rub a small amount of liquid dish soap over the adhesive with your fingers. Wipe with warm water and dry.
  • Do not use sharp instruments, rubbing alcohol, flammable fluids, or abrasive cleaners to remove tape or glue. These products can damage the surface of your refrigerator. For more information, see "Refrigerator Safety." Dispose of/recycle all packaging materials.

When Moving Your Refrigerator:
Your refrigerator is heavy. When moving the refrigerator for cleaning or service, be sure to cover the floor with cardboard or hardboard to avoid floor damage. Always pull the refrigerator straight out when moving it. Do not wiggle or "walk" the refrigerator when trying to move it, as floor damage could occur.

Clean Before Using

After you remove all of the packaging materials, clean the inside of your refrigerator before using it. See the cleaning instructions in "Refrigerator Care."


Important information to know about glass shelves and covers:
Do not clean glass shelves or covers with warm water when they are cold. Shelves and covers may break if exposed to sudden temperature changes or impact, such as bumping. Tempered glass is designed to shatter into many small, pebble-size pieces. This is normal. Glass shelves and covers are heavy. Use both hands when removing them to avoid dropping

Location Requirements


Explosion Hazard
Keep flammable materials and vapors, such as gasoline, away from appliance.
Use nonflammable cleaner.
Failure to do so can result in death, explosion, or fire.


This appliance is intended to be used indoor for household and similar applications such as:

  • Staff kitchen areas in shops, offices and other working environments.
  • Farm houses and by clients in hotels, motels and other residential type environments.
  • Bed and breakfast type environments.
  • Catering and similar non-retail applications.
    NOTE: If the manufacturer wants to limit the use of the appliance to less than the above, this has to be clearly stated in the instructions.

To ensure proper ventilation for your refrigerator, allow for 1/2" (1.25 cm) of space on each side and at the top. Allow for 1" (2.54 cm) of space behind the refrigerator. If your refrigerator has an ice maker, allow extra space at the back for the water line connections. When installing your refrigerator next to a fixed wall, leave 2 1/2" (6.3 cm) minimum on the hinge side (some models require more) to allow for the door to swing open.

NOTE: This refrigerator is intended for use in a location where the temperature ranges from a minimum of 55°F (13°C) to a maximum of 110°F (43°C). The preferred room temperature range for optimum performance, which reduces electricity usage and provides superior cooling, is between 60°F (15°C) and 90°F (32°C). It is recommended that you do not install the refrigerator near a heat source, such as an oven or radiator.

Electrical Requirements


Electrical Shock Hazard Plug into a grounded 3 prong outlet.
Do not remove ground prong.
Do not use an adapter.
Do not use an extension cord.
Failure to follow these instructions can result in death, fire, or electrical shock

Before you move your refrigerator into its final location, it is important to make sure you have the proper electrical connection. If the supply cord is damaged, it must be replaced by the manufacturer or its service agent or a similarly qualified person. Do not use a cord that shows cracks or abrasion damage along its length or at either the plug or connector end.

Recommended Grounding Method
A 115 V, 60 Hz, AC-only 15 A or 20 A fused, grounded electrical supply is required. It is recommended that a separate circuit serving only your refrigerator and approved accessories be provided. Use an outlet that cannot be turned off by a switch. Do not use an extension cord.


If this product is connected to a GFCI (Ground Fault Circuit Interrupter) protected outlet, nuisance tripping of the power supply may occur, resulting in loss of cooling. Food quality and flavor may be affected. If nuisance tripping has occurred, and if the condition of the food appears poor, dispose of the food.

NOTE: Before performing any type of installation or cleaning, or removing a light bulb, turn cooling off or turn the control (Thermostat, Refrigerator or Freezer Control depending on the model) to Off. On models with a digital temperature control, press the minus sign touch pads repeatedly until a dash (-) appears in both the freezer and refrigerator displays. Disconnect the refrigerator from the electrical source. When you are finished, reconnect the refrigerator to the electrical source and turn cooling on or reset the control (Thermostat, Refrigerator or Freezer Control depending on the model) to the desired setting. See the "Quick Start Guide".

Water Supply Requirements

Gather the required tools and parts before starting installation. Read and follow the instructions provided with any tools listed here.

Tools Needed:

  • Flat-blade screwdriver
  • 1/4" Nut driver
  • 7/16" and 1/2" Open-end or two
  • 1/4" Drill bit adjustable wrenches
  • Cordless drill
  • Connect to potable water supply only
    Do not use with water that is microbiologically unsafe or of unknown quality without adequate disinfection before or after the system. Systems certified for cyst reduction may be used on disinfected waters that may contain filterable cysts.
  • All installations must meet local plumbing code requirements. Do not use a piercing-type or 3/16" (4.76 mm) saddle valve which reduces water flow and clogs more easily.
  • Use copper or PEX tubing and check for leaks. Install copper or PEX tubing only in areas where the household temperatures will remain above freezing.
  • For models with water filters, the disposable water filter should be replaced at least every 6 months.

Water Pressure

A cold water supply with water pressure of between 35 psi and 120 psi (241 kPa and 827 kPa) is required to operate the water dispenser and ice maker. If you have questions about your water pressure, call a licensed, qualified plumber.

NOTE: If the water pressure is less than what is required, the flow of water from the water dispenser could decrease or ice cubes could be hollow or irregular shaped.

Reverse Osmosis Water Supply


The pressure of the water supply coming out of a reverse osmosis system going to the water inlet valve of the refrigerator needs to be between 35 psi and 120 psi (241 kPa and 827 kPa).

If a reverse osmosis water filtration system is connected to your cold water supply, the water pressure to the reverse osmosis system needs to be a minimum of 40 psi to 60 psi (276 kPa to 414 kPa).

If the water pressure to the reverse osmosis system is less than 40 psi to 60 psi (276 kPa to 414 kPa):

  • Check to see whether the sediment filter in the reverse osmosis system is blocked. Replace the filter if necessary.
  • Allow the storage tank on the reverse osmosis system to refill after heavy usage. The tank capacity could be too small to keep up with the requirements of the refrigerator.
    NOTE: Faucet-mounted reverse osmosis systems are not recommended.
  • If your refrigerator has a water filter, it may further reduce the water pressure when used in conjunction with a reverse osmosis system. Remove the water filter. See "Water Filtration System".

If you have questions about your water pressure, call a licensed, qualified plumber.

Connect the Water Supply

Read all directions before you begin.

  • Plumbing shall be installed in accordance with the International Plumbing Code and any local codes and ordinances.
  • The water tubing on the back of the refrigerator (which is used to connect to the household water line) is a PEX (cross-linked polyethylene) tube. Copper and PEX tubing connections from the household water line to the refrigerator are acceptable, and will help avoid off-taste or odor in your ice or water. Check for leaks. If PEX tubing is used instead of copper, we recommend contacting Service to obtain current part numbers.
  • Install tubing only in areas where temperatures will remain above freezing.
  • Connect to a potable water supply only.
    Do not use with water that is microbiologically unsafe or of unknown quality without adequate disinfection before or after the system. Systems certified for cyst reduction may be used on disinfected waters that may contain filterable cysts.

Tools Needed:
Gather the required tools and parts before starting installation.

  • Flat-blade screwdriver
  • 1/4" Nut driver
  • 7/16" and 1/2" Open-end or two
  • 1/4" Drill bit adjustable wrenches
  • Cordless drill

NOTE: Your refrigerator dealer has a kit available with a 1/4" (6.35 mm) saddle-type shutoff valve, a union, and copper or PEX tubing. Before purchasing, make sure a saddle-type valve complies with your local plumbing codes. Do not use a piercingtype or 3/16" (4.76 mm) saddle valve which reduces water flow and clogs more easily.

Connect to Water Line


If you turn on the refrigerator before the water line is connected, turn off the ice maker.

  1. Unplug refrigerator or disconnect power.
  2. Turn off main water supply. Turn on nearest faucet long enough to clear line of water.
  3. Use a quarter-turn shutoff valve or the equivalent, served by a 1/2" copper or PEX household supply line.
    NOTE: To allow sufficient water flow to the refrigerator, a minimum 1/2" size copper or PEX household supply line is recommended.
    Connect to Water Line - Step 1
    1. Bulb
    2. Nut
    3. Copper or PEX tubing (to refrigerator)
    4. Household supply line (½" minimum)
  4. Now you are ready to connect the copper or PEX tubing to the shutoff valve. Use 1/4" (6.35 mm) O.D. (outside diameter) soft copper or PEX tubing to connect the shutoff valve and the refrigerator.
    • Ensure that you have the proper length needed for the job. Be sure both ends of the copper tubing are cut square.
    • Slip compression sleeve and compression nut onto copper tubing as shown. (PEX tubing has compression sleeves and compression nuts preinstalled.) Insert end of tubing into outlet end squarely as far as it will go. Screw compression nut onto outlet end with adjustable wrench. Do not overtighten.
      Connect to Water Line - Step 2
      1. Compression
      2. Compression nut
      3. Copper or PEX tubing sleeve
  5. Place the free end of the tubing into a container or sink, and turn on main water supply to flush out tubing until water is clear. Turn off shutoff valve on the water pipe.
    NOTE: Always drain the water line before making the final connection to the inlet of the water valve, to avoid possible water valve malfunction.
  6. Bend the copper or PEX tubing to meet the water line inlet, which is located on the back of the refrigerator cabinet. Leave a coil of copper or PEX tubing to allow the refrigerator to be pulled out of the cabinet or away from the wall for service.

Connect to Refrigerator

Depending on your model, the water line may come down from the top or up from the bottom. Follow the connection instructions for your model.

Style 1

  1. Remove plastic cap from water valve inlet port. Attach the copper or PEX tube to the valve inlet using a compression nut and sleeve as shown. Tighten the compression nut. Do not overtighten. Confirm copper or PEX tubing is secure by pulling on tubing.
  2. Create a service loop with the copper tubing. Avoid kinks when coiling the tubing. Secure copper or PEX tubing to refrigerator cabinet with a "P" clamp.
    Connect to Refrigerator - Step 1
    1. Copper or PEX tubing
    2. "P" clamp
    3. Compression nut
    4. Compression sleeve
  3. Turn on water supply to refrigerator and check for leaks.
    Correct any leaks.

Style 2

  1. Unplug refrigerator or disconnect power.
  2. Remove and discard the short, black plastic part from the end of the water line inlet.
  3. Thread the nut onto the end of the tubing. Tighten the nut by hand. Then tighten it with a wrench two more turns. Do not overtighten. NOTE: To avoid rattling, be sure the copper tubing does not touch the cabinet's side wall or other parts inside the cabinet.
    Connect to Refrigerator - Step 2
    1. Household water line
    2. Nut (purchased)
    3. Ferrule (purchased)
    4. Refrigerator water tubing
  4. Install the water supply tube clamp around the water supply line to reduce strain on the coupling.
  5. Turn shutoff valve on.
  6. Check for leaks. Tighten any connections (including connections at the valve) or nuts that leak.
  7. On some models, the ice maker is equipped with a built-in water strainer. If your water conditions require a second water strainer, install in the 1/4ʺ (6.35 mm) water line at either tube connection. Obtain a water strainer from your appliance dealer.

Style 3

  1. Unplug refrigerator or disconnect power.
  2. Turn OFF main water supply. Turn ON nearest faucet long enough to clear line of water.
  3. Find a 1/2" to 11⁄4" (12.7 mm to 31.8 mm) vertical cold water pipe near the refrigerator.
    NOTE:
    • Make sure it is a cold water pipe.
    • Horizontal pipe will work, but the following procedure must be followed: Drill on the top side of the pipe, not the bottom. This will help keep water away from the drill. This also keeps normal sediment from collecting in the valve.
  4. Determine the length of copper tubing you need. Measure from the connection on the rear of the refrigerator to the water pipe. Add 7 ft (2.1 m) to allow for cleaning. Use 1/4" (6.35 mm) O.D. (outside diameter) copper tubing. Be sure both ends of copper tubing are cut square.
  5. Using a cordless drill, drill a 1/4" hole in the cold water pipe you have selected.
    Connect to Refrigerator - Step 3
    1. Cold water pipe
    2. Pipe clamp
    3. Copper tubing
    4. Compression nut
    5. Compression sleeve
    6. Shutoff valve
    7. Packing nut
  6. Fasten the shutoff valve to the cold water pipe with the pipe clamp. Be sure the outlet end is solidly in the 1/4" drilled hole in the water pipe and that the washer is under the pipe clamp. Tighten the packing nut. Tighten the pipe clamp screws slowly and evenly so the washer makes a watertight seal. Do not overtighten.
  7. Slip the compression sleeve and compression nut on the copper tubing as shown. Insert the end of the tubing into the outlet end squarely as far as it will go. Screw compression nut onto outlet end with adjustable wrench. Do not overtighten or you may crush the copper tubing.
  8. Place the free end of the tubing in a container or sink, and turn ON the main water supply. Flush the tubing until water is clear. Turn OFF the shutoff valve on the water pipe.

Connect to Refrigerator

  1. Create a service loop (minimum diameter of 2 ft [61 cm]) with the copper tubing. Avoid kinks when coiling the copper tubing.
  2. Remove the plastic cap from water valve inlet port. Place a compression nut and sleeve on the copper tubing.
  3. Insert the end of the copper tubing into the water valve inlet port. Shape tubing slightly so that the tubing feeds straight into the port to avoid kinks.
  4. Slide the compression nut over the sleeve and screw into the water valve inlet port.
    Connect to Refrigerator - Step 4
    1. Plastic water tubing
    2. Sleeve
    3. Compression nut
    4. Copper tubing
  5. Using an adjustable wrench, hold the nut on the plastic water line to keep it from moving. Then, with a second wrench turn the compression nut on the copper tubing counterclockwise to completely tighten. Do not overtighten.
    Connect to Refrigerator - Step 5
    1. "P" clamp
    2. Plastic water line
    3. Water valve inlet port
    4. Compression nut
    5. Copper tubing
  6. Check connection by pulling on copper tubing. Attach the plastic water line to the refrigerator cabinet with a "P" clamp.
  7. Turn on water supply to the refrigerator and check for leaks. Correct any leaks.

Complete the Installation


Electrical Shock Hazard Plug into a grounded 3 prong outlet.
Do not remove ground prong.
Do not use an adapter.

Do not use an extension cord.
Failure to follow these instructions can result in death, fire, or electrical shock

  1. Plug into a grounded 3–prong outlet. NOTE: Allow 24 hours to produce the first batch of ice. Discard the first three batches of ice produced. Allow 3 days to completely fill the ice storage bin.
  2. Flush the water system. See "Water and Ice Dispensers."

Install Air Filter (on some models)

The air filter reduces the buildup of odors. This helps to maintain a cleaner environment inside your refrigerator. An air filter is 15 times more powerful than baking soda at reducing common food odors inside the refrigerator.

Your refrigerator's accessory packet includes an air filter, which must be installed prior to use. On some models, the air filter is already installed at the factory.

Installing the Air Filter

Depending on your model, the air filter can be installed in one of the following ways:

Style 1–Behind Vented Door:

Install the air filter behind the vented door, located on the rear wall near the top of the refrigerator compartment.

  1. Remove the air filter from its packaging. NOTE: An air filter status indicator is included with the air filter. The indicator is not needed for models that display the air filter status on the control panel.
  2. Lift open the vented door.
  3. Snap the filter into place.
    Installing the Air Filter - Step 1
    A. Air filter

Style 2–Behind LED Vent Cover

Install the air filter behind the blue LED-lighted vent cover, located on the rear wall near the middle of the refrigerator.

  1. Remove the air filter from its packaging.
  2. Firmly grasp plastic cover on the vented cover with both hands and pull out to remove.
    Installing the Air Filter - Step 2
    NOTE: When cover is removed for the first time, a small foam part the size of the filter will need to be discarded.
  3. Snap the filter into place.
    Installing the Air Filter - Step 3
    A. Air filter

Installing the Filter Status Indicator (on some models)

The air filter icon on the control panel displays the air filter status.

  • Blue: Good.
  • Yellow: Order a replacement.
  • Red: Replace air filter.
  • Red and flashing "Replace Filter": Expired.

After replacing the air filter, press and hold the Air Filter button for 3 seconds. The filter icons will turn off. See "Quick Start Guide." When the system is reset, the air filter icon will return to its blue color and the words "Replace Filter" will disappear from the control panel.

NOTE: At any filter status, pressing and holding the Air Filter button for 3 seconds will reset the air filter status to Good and the air filter icon will turn off.

Replacing the Air Filter
The disposable air filter should be replaced every 6 months, or when the status indicator air filter icon turns on and starts flashing when the refrigerator door is opened.
To order a replacement air filter, see ordering information in the Quick Start Guide.

  1. Remove the used air filter by squeezing in on the side tabs.
  2. Install the new air filter and status indicator using the instructions in the previous sections.

Air Filter Status Indicator - Standard Installation

The filter comes with a status indicator, which should be activated and installed at the same time the air filter is installed.

  1. Place the indicator facedown on a firm, flat surface.
  2. Apply pressure to the bubble on the back of the indicator, until the bubble pops to activate the indicator.
  3. Lift open the vented air filter door. On some models, there are notches behind the door.

On models with notches:

  • With the indicator screen facing outward, slide the indicator down into the notches. NOTE: The indicator will not easily slide into the notches if the rear bubble has not been popped.
  • Close the air filter door, and check that the indicator is visible through the window in the door.
    Air Filter Status Indicator - Standard Installation
    1. Status indicator window
    2. Air filter status indicator
    3. Notches
  • Place the indicator in a visible place you will easily remember —either inside the refrigerator or elsewhere in your kitchen or home.

Replacing the Air Filter

The disposable air filter should be replaced every 6 months, when the status indicator has completely changed from white to red.

To order a replacement air filter, see ordering information in the Quick Start Guide.

  1. Remove the used air filter by squeezing in on the side tabs.
  2. Remove the used status indicator.
  3. Install the new air filter and status indicator using the instructions in the previous sections.

Install Produce Preserver (on some models)

Your refrigerator's accessory packet includes a Produce Preserver, which should be installed prior to use. On some models, the Produce Preserver is already installed at the factory. To order a replacement produce preserver, use part number W10346771.

The Produce Preserver absorbs ethylene, allowing the ripening process of many produce items to slow down. As a result, certain produce items will stay fresh longer.

Ethylene production and sensitivity varies depending on the type of fruit or vegetable. To preserve freshness, it is best to separate produce with sensitivity to ethylene from fruits that produce moderate to high amounts of ethylene.

Sensitivity to Ethylene Ethylene Production
Apples High Very High
Asparagus Medium Very Low
Berries Low Low
Broccoli High Very Low
Cantaloupe Medium High
Carrots Low Very Low
Citrus Fruit Medium Very Low
Grapes Low Very Low
Lettuce High Very Low
Pears High Very High
Spinach High Very Low

Installing the Produce Preserver


IRRITANT. MAY IRRITATE EYES AND SKIN. DANGEROUS FUMES FORM WHEN MIXED WITH OTHER PRODUCTS.

Do not mix with cleaning products containing ammonia, bleach, or acids. Do not get in eyes, on skin or clothing. Do not breathe dust. Keep out of reach of children.

FIRST AID TREATMENT: Contains potassium permanganate. If swallowed, call a Poison Control Center or doctor immediately. Do not induce vomiting. If in eyes, rinse with water for 15 minutes. If on skin, rinse with water.

Style 1–Located Inside the Refrigerator:

  1. Find the Produce Preserver housing inside the refrigerator.
  2. Lift up on the housing to remove it from the mounting tab.
  3. Open the housing by pulling up and out on the back of the top of the housing.
  4. Remove the Produce Preserver pouches from the packaging. Place them into the housing then snap housing back together. NOTE: For best performance, always use two pouches.
  5. Adhere the Produce Preserver housing to the back wall of the crisper drawer according to the instructions included in the package.
  6. Place housing back on mounting tab.

Style 2–Located in Crisper or Refrigerator Drawers:

For your convenience, the suction-mounted produce preserver can be installed in either the crisper or the refrigerated drawers.

  1. Wash the interior of a drawer with a solution of mild dish soap and warm water and dry thoroughly.
  2. Find the package containing the Produce Preserver inside the refrigerator and install the Produce Preserver into the drawer, according to the instructions provided in the package.

Installing the Status Indicator

The Produce Preserver comes with a status indicator, which should be activated and installed at the same time the pouch is installed.

  1. Place the indicator facedown on a firm, flat surface.
  2. Apply pressure to the bubble on the back of the indicator, until the bubble pops to activate the indicator.
  3. Slide open the cap on the Produce Preserver housing.
  4. Place the indicator in the top of the housing, facing outward.
  5. Slide the cap closed, and check that the indicator is visible through the rectangular hole in the cap.

NOTE: The cap will not close easily if the indicator's rear bubble has not been popped.

Replacing the Produce Preserver Pouches

The disposable pouches should be replaced every 6 months, when the status indicator has completely changed from white to red.

To order replacements, see the contact information in the Quick Start Guide. Order part number W10346771A or FRESH1.

  1. Remove the used pouches from the produce preserver housing.
  2. Remove the used status indicator.
  3. Install the new pouches and status indicator using the instructions in the previous sections or instructions included in the replacement packets.

REFRIGERATOR FEATURES

Crisper Humidity Control (on some models)

You can control the amount of humidity in the moisture-sealed crisper. Depending on your model, adjust the control to any setting between Fruit and Vegetables or Low and High.

Fruit/Low (open):
Move control to allow moist air out of the crisper for best storage of fruits and vegetables with skins.

  • Fruit: Wash, let dry and store in refrigerator in plastic bag or crisper. Do not wash or hull berries until they are ready to use. Sort and keep berries in original container in crisper, or store in a loosely closed paper bag on a refrigerator shelf.
  • Vegetables with skins: Place in plastic bags or plastic container and store in crisper.

Vegetables/High (closed):q
Move control to keep moist air in the crisper for best storage of fresh, leafy vegetables.

  • Leafy vegetables: Wash in cold water, drain and trim or tear off bruised and discolored areas. Place in plastic bag or plastic container and store in crisper.

Water and Ice Dispensers (on some models)

For additional information on how to use your water and ice dispensers, see the online "Dispensing Guide."

  • After connecting the refrigerator to a water source or replacing the water filter, flush the water system. Use a sturdy container to depress and hold the water dispenser pad for 5 seconds, then release it for 5 seconds. Repeat until water begins to flow. Once water begins to flow, continue depressing and releasing the dispenser pad (5 seconds on, 5 seconds off) until a total of 1 gallon (3.8 L) has been dispensed. This will flush air from the filter and water dispensing system, and prepare the water filter for use. Additional flushing may be required in some households. As air is cleared from the system, water may spurt out of the dispenser.
  • Allow 24 hours for the refrigerator to cool down and chill water. Dispense enough water every week to maintain a fresh supply.
  • Allow 24 hours to produce the first batch of ice. Discard the first three batches of ice produced.
  • The dispenser will dispense either water or ice.
  • The dispensing system will not operate when the refrigerator door is open.
  • On some models, the display screen on the dispenser control panel will turn off automatically and enter "sleep" mode when the control buttons and dispenser levers have not been used for 2 minutes or more. While in "sleep" mode, the first press of a control button will only reactivate the display screen without changing any settings. After reactivation, changes to any settings can then be made. If no changes are made within 2 minutes, the display will re-enter "sleep" mode.

Flush the Water System

Air in the water dispensing system can cause the water dispenser to drip. After connecting the refrigerator to a water source or replacing the water filter, flush the water system. Flushing the water dispensing system forces air from the water line and filter and prepares the water filter for use. Additional flushing may be required in some households. NOTE: As air is cleared from the system, water may spurt out of the dispenser.

  1. Using a sturdy container, depress and hold the water dispenser paddle for 5 seconds.
  2. Release the dispenser paddle for 5 seconds. Repeat steps 1 and 2 until water begins to flow.
  3. Once water begins to flow, continue depressing and releasing the dispenser pad (5 seconds on, 5 seconds off) until a total of 1 gallon (3.8 L) has been dispensed.

The Water Dispenser

Dispense at least 1 qt. (1 L) of water every week to maintain a fresh supply.
If the flow of water from the dispenser decreases, it could be caused by low water pressure.

  • With the water filter removed, dispense 1 cup (237 mL) of water. If 1 cup of water is dispensed in 8 seconds or less, the water pressure to the refrigerator meets the minimum requirement.
  • If it takes longer than 8 seconds to dispense 1 cup (237 mL) of water, the water pressure to the refrigerator is lower than recommended. See "Water Supply Requirements" and online "Troubleshooting" for more information.

Cleaning the Ice Dispenser Chute

Humidity causes ice to naturally clump together. Ice particles can build up until the ice dispenser chute becomes blocked.

If ice is not dispensed regularly, it may be necessary to empty the ice storage bin and clean the ice delivery chute, the ice storage bin and the area beneath the storage bin every 2 weeks.

  • If necessary, remove the ice clogging the storage bin and delivery chute, using a plastic utensil.
  • Clean the ice delivery chute and the bottom of the ice storage bin using a warm, damp cloth and dry thoroughly.

Ice Maker and Storage Bin

To avoid low ice production and poor quality ice, flush the water system before turning on the ice maker. See "Water and Ice Dispenser" for details.

  • Following installation, allow 24 hours to produce the first batch of ice. Allow 2 to 3 days to fill the ice storage bin.
  • For models with a water filter, after connecting the refrigerator to a water source or replacing the water filter, fill and discard three full containers of ice to prepare the water filter for use.
  • The quality of your ice will be only as good as the quality of the water supplied to your ice maker. Avoid connecting the ice maker to a softened water supply. Water softener chemicals (such as salt) can damage parts of the ice maker and lead to poor quality ice. If a softened water supply cannot be avoided, make sure the water softener is operating properly and is well maintained.
  • If the ice in the storage bin clumps together, break up ice using a plastic utensil and discard ice. Do not use anything sharp to break up the ice. This can cause damage to the ice bin and the dispenser mechanism.
  • Do not store anything on top of the ice maker or in the ice storage bin.

Ice Production Rate

Allow 24 hours to produce the first batch of ice. Discard the first three batches of ice produced.

Allow 3 days to completely fill the ice storage bin. The ice maker should produce approximately 3 lbs (1.4 kg) (8 to 12 batches) of ice in a 24-hour period.

To increase ice production, lower the freezer and refrigerator temperature, or see "Control Panel Descriptions" in the Quick Start Guide for details. Wait 24 hours between adjustments.

Ice Maker in the Freezer

Turn the Ice Maker On/Off:
Turn the Ice Maker On/Off for Icemaker without a switch:
To turn on the ice maker, simply lower the wire shutoff arm.
To manually turn the ice maker off, lift the wire shutoff arm to the off (arm up) position and listen for the click.
Your ice maker has an automatic shutoff. As ice is made, the ice cubes will fill the ice storage bin and the ice cubes will raise the wire shutoff arm to the off (arm up) position. Do not force the wire shutoff arm up or down.

For icemakers with a switch:
For icemakers with a switch, use the switch to turn ON or Off the icemaker.
Ice Maker in the Freezer

NOTE: Turn off the ice maker before removing the ice storage bin to serve ice or to clean the bin. This will keep the ice cubes from dropping out of the ice maker and into the freezer compartment. After replacing the ice storage bin, turn on the ice maker.

Wash the ice storage bin with mild soap and warm water.

Slide the ice storage bin under the ice maker and push it toward the back as far as it will go.

Auto Ice Storage Bin (on some models):
Your ice storage bin has a lever which allows the storage bin to slide out with the drawer when it is pulled open or to stay in place.

  • Move the lever to the right to attach the ice storage bin to the freezer drawer.
  • Move the lever to the left to release the ice storage bin from the freezer drawer.
    Auto Ice Storage Bin
    A. Ice storage bin lever

Ice Maker in the Refrigerator (on some models)

Style 1—Left-Hand Refrigerator Door

The ice maker is located on the left-hand side of the refrigerator door. Ice cubes are ejected into the ice storage bin, located on the left-hand refrigerator door.

Turn the Ice Maker On/Off:

  1. Push up on the latch on the left-hand side of the ice compartment to open the door.
    Turn the Ice Maker On/Off - Step 1
    A. Ice compartment door latch
  2. Turn on the ice maker by moving the switch to the (left) on position.
    • To manually turn off the ice maker, move the control to the off (right) position.
    • Your ice maker has an automatic shutoff. The sensor will automatically stop ice production if the storage bin is full, if the door is open or the storage bin is removed. The control will remain in the on (left) position.
      Turn the Ice Maker On/Off - Step 2
      A. Ice storage bin release latch
  3. Close the ice compartment door.

Remove and Replace the Ice Storage Bin:

  • Remove the ice storage bin by inserting your fingers into the hole at the base of the bin and squeezing the latch to release the bin from the compartment. Lift the storage bin up and pull it straight out.
  • Replace the storage bin inside the ice compartment and push down to make sure it is firmly in place.

Style 2-Upper Left-Hand Side of the Refrigerator Compartment

The ice maker and storage bin are located in the upper left-hand side of the refrigerator compartment.

Some models have an on/off switch located on the ice maker. To turn on the ice maker, press the switch to the On position. To manually turn off the ice maker, press the switch to the Off position.

To manually turn off the ice maker, see the Quick Start Guide for more information.

Remove and Replace the Ice Storage Bin:

  1. Hold the base of the storage bin and press the release button on the lower right.
  2. Pull out the storage bin until resistance is felt. Lift up the front of the ice bin and remove.
  3. Press the switch to Off (on some models).


To remove the ice storage bin, it may be necessary to turn the auger driver, behind the ice bin, counterclockwise to properly align the ice bin with the auger driver. The ice storage bin must be locked in place for proper ice dispensing.

Remove and Replace the Ice Storage Bin

  1. On position (on some models)
  2. Auger driver
  1. Press the switch to On (on some models).
  2. Slide the ice bin into the guide rails located on either side of the enclosure.
  3. Push the ice bin in until resistance is felt. Raise the front slightly and push the ice bin in until an audible "click" is heard.

Style 3-Left-Hand Door Behind the Refrigerator Bins

The ice maker is located on the left door behind the bins. Ice cubes are ejected into the ice storage bin located on the left-hand refrigerator door.

Turn the Ice Maker On/Off:

  1. Push up on the latch on the left-hand side of the ice compartment to open the door.
  2. Turn on the ice maker by moving the switch to the On (I) position.
  3. Close the ice compartment door.

Remove and Replace the Ice Storage Bin:

  • Remove the ice storage bin by inserting your fingers into the hole at the base of the bin and squeezing the latch to release the bin from the compartment. Lift the storage bin up and pull it straight out.
  • Replace the storage bin inside the ice compartment and push down to make sure it is firmly in place.

Water Filtration System

Do not use with water that is microbiologically unsafe or of unknown quality without adequate disinfection before or after the system. Systems certified for cyst reduction may be used on disinfected waters that may contain filterable cysts.


The disposable water filter should be replaced at least every 6 months. If the water flow to the water dispenser or ice maker decreases noticeably before 6 months have passed, replace the water filter more often.

Install the Water Filter

To order a replacement filter, contact us at www.whirlpool.com/ Parts & Accessories. See the "Quick Start Guide" for details.

NOTE: If the filter is not installed correctly, water may dispense at a lower flow rate and there will be slower ice production. Improper filter installation may also cause the water filter housing to leak.

Right-Hand Side of Refrigerator Ceiling

  1. Locate the accessory packet in the refrigerator and remove the water filter.
  2. Take the water filter out of its packaging and remove the cover from the O-rings. Be sure the O-rings are still in place after the cover is removed.
  3. The water filter compartment is located in the right-hand side of the refrigerator ceiling. Push latch on the filter door to release the catch, then lower the door.
  4. Align the arrow on the water filter label with the cutout notch in the filter housing and insert the filter into the housing.
  5. Turn the filter knob clockwise 180 degrees (1/2 turn), until it locks into the housing.
    NOTE: If the filter is not correctly locked into the housing, the water dispenser will not operate. Water will not flow from the dispenser.
  6. While the compartment door is still open, lift the filter up into the compartment. Then, close the filter compartment door completely.
  7. Flush the water system. See "Water and Ice Dispensers" for details.

    If you do not flush the water system, you may experience dripping and/or decreased flow from the water dispenser.

Replacing the Water Filter

To purchase a replacement water filter, use model number Filter A, contact your dealer, or call 1-800-422-9991 in the U.S.A. or 1-800-807-6777 in Canada.

Replacement filter part number and filter model names can be found on Performance Data Sheet page.


Air trapped in the water system may cause water and filter to eject. Always dispense water for at least 2 minutes before removing the filter or blue bypass cap.

  1. If applicable, press upward on the water filter cover to access the filter.
  2. Turn filter counterclockwise, and pull straight out to remove.
    NOTE: There may be some water in the filter. Some spilling may occur. Use a towel to wipe up any spills.
  3. Remove sealing label from replacement filter and insert the filter end into the filter head.
  4. Turn the filter clockwise until it stops. Snap the filter cover closed.
  5. Flush the water system. See "Water and Ice Dispensers" for details.

NOTE: The dispenser feature may be used without a water filter installed. Your water will not be filtered. If this option is chosen, replace the filter with the blue bypass cap.

Reset Water Filter Status

After replacing the water filter, press and hold Reset Filter or Filter Reset (depending on your model) for 3 seconds. The Order and Replace indicator lights will blink and then go off when the system is reset. On some models the indicator light will change to blue when the system is reset. See the "Quick Start Guide" for more information.

On models with Options and Measured Fill buttons located on the control panel:
After changing the water filter, reset the status light. Press the Options button to enter Options mode, then press Lock to initiate the reset, then press Measured Fill to confirm that you want to reset the status light. When the system is reset, the "Order" and "Replace" icons will disappear from the display screen.

On models with Water Filter button located on the control panel:
After changing the water filter, reset the status. Press and hold the Water Filter button for 3 seconds. When the system is reset, the water filter icon will return to Blue and the words "Replace Filter" will disappear from the display.

DOOR AND HANDLE INSTRUCTIONS

Door and Drawers

Depending on the width of your doorway, you may need to remove the doors to move the refrigerator into your home. Also, the door hinges are factory installed on the right-hand side. If you want the door to open from the other direction, you must reverse the door swing.

  • If the refrigerator was previously installed and you are moving it out of the home, before you begin, turn the refrigerator control Off, and unplug the refrigerator or disconnect power. Remove food and any adjustable door or utility bins from doors.
  • Keep the refrigerator doors closed until you are ready to lift them free from the cabinet. Provide additional support for the refrigerator door while the hinges are being removed. Do not depend on the door gasket magnets to hold the door in place while you are working.

Tools Needed: 5/16", 3/8", and 1/4" hex head socket wrenches, Torx®† T25 screwdriver, #2 Phillips screwdriver, and a flat-blade screwdriver.

Remove and Replace Handles

REFRIGERATOR DOOR HANDLES
Refrigerator Door HandleStyle 1

Remove and Replace Handles - Step 1
A. 3/32" Setsrcew

  • Using a 3/32" or 1/8" hex key, loosen the two setscrews located on the side of each handle. Pull the handle straight out from the drawer. Make sure you keep the screws for reattaching the handles.
  • To replace the handles, reverse the directions.

Refrigerator Door Handle Style 2

Remove and Replace Handles - Step 2

  1. Handle Trim
  2. Flat–Head Handle Screws
  3. Refrigerator Door Handle
  • Remove the screw cover.
  • Remove the handle assembly. Keep all parts together.
  • To replace the handles, reverse the directions.

Refrigerator Door Handle Style 3

Remove and Replace Handles - Step 3

  1. Flat–Head Handle Screws
  2. Refrigerator Door Handle
  • Using a 3/32" or 1/8" hex key, loosen the two setscrews located on the side of each handle. Pull the handle straight out from the drawer. Make sure you keep the screws for reattaching the handles.
  • To replace the handles, reverse the directions.

Refrigerator Door Handle Style 4

Remove and Replace Handles - Step 4

  1. 3/32" or 1/8" Setscrews
  • To remove the handle, remove the screw attaching the trim to the upper end of the handle. Using a flat-blade screwdriver wrapped in masking tape, pry the trim piece from the lower end of the handle. Then, remove the screws attaching the handle to the door.
  • To replace the handles, reverse the directions.

Refrigerator Door Handle Style 5

Remove and Replace Handles - Step 5

  • To remove the handle, grasp the lower part of the handle firmly, slide the handle up and pull the handle straight out from the door.
  • To replace the handle, position the handle so that the large holes in the mounting clips are down and align the holes with the door studs. Rotate the handle so that the mounting clips are flat against the door and slide the handle down to engage.

FREEZER DOOR HANDLES
Freezer Door Handle Style 1


A. 3/32" Setscrew

  • Using a 3/32" or 1/8" hex key, loosen the two setscrews located on the side of each handle. Pull the handle straight out from the drawer. Make sure you keep the screws for reattaching the handles.
  • To replace the handles, reverse the directions.

Freezer Door Handle Style 2


A. 3/32" or 1/8" Setscrews

  • Using a 3/32" or 1/8" hex key, loosen the two setscrews located on the side of each handle. Pull the handle straight out from the drawer. Make sure you keep the screws for reattaching the handles.
  • To replace the handles, reverse the directions.

Freezer Door Handle Style 3


A. Flat–Head Handle Screws

  • Remove screws and handle.
  • To replace the handles, reverse the directions.

Freezer Door Handle Style 4

  1. Flat–Head Screws
  2. Freezer Drawer Handle
  • Remove screws and handle.
  • To replace the handles, reverse the directions.

Freezer Door Handle Style 5

  • To remove the handle, grasp the lower part of the handle firmly, slide the handle up and pull the handle straight out from the door.
  • To replace the handle, position the handle so that the large holes in the mounting clips are down and align the holes with the door studs. Rotate the handle so that the mounting clips are flat against the door and slide the handle down to engage.

Remove Refrigerator Doors and Hinges


Electrical Shock Hazard
Disconnect power before removing doors.

Failure to do so could result in death or electrical shock

  1. Unplug refrigerator or disconnect power.
  2. Remove base grille.

BASE GRILLE
Style 1

Remove Refrigerator Doors and Hinges - Step 1

  • Using both hands, grasp the grille firmly and pull it toward you. Open the freezer drawer to access the brake feet.
    NOTE: To allow the refrigerator to roll easier, raise the brake feet by turning them counterclockwise. The front rollers will be touching the floor.

Style 2
Remove Refrigerator Doors and Hinges - Step 2

  • Remove the two screws fastening the base grille to the cabinet and set screws aside.
  • Grasp the grille and pull it toward you.
    NOTE: To allow the refrigerator to roll easier, raise the brake feet by turning them counterclockwise. The front rollers will be touching the floor.

Style 3
Remove Refrigerator Doors and Hinges - Step 3

  • Use a 1/4" hex–nut driver to remove both screws in the base grille.
  • Using both hands, grasp the grille firmly and pull it toward you. Open the freezer drawer to access the brake feet.
    NOTE: To allow the refrigerator to roll easier, raise the brake feet by turning them counterclockwise. The front rollers will be touching the floor.

Remove Right-Hand Refrigerator Door

  1. Starting with the right-hand side door, remove the parts for the top hinge as shown below.
    Remove Refrigerator Doors and Hinges - Step 4
    1. Top hinge cover screw
    2. Top hinge cover
    3. 3/16" Internal hex-head screws
    4. Top Hinge
    5. Locator Screws

NOTE: Do not remove the two locator screws. These screws will help you align the hinge when you replace the door.


Excessive Weight Hazard
Use two or more people to lift the appliance door.

Failure to do so can result in back or other injury.

  1. Lift the refrigerator door from the bottom hinge pin. The top hinge will come away with the door.

Remove Left-Hand Refrigerator Door

On models with a water dispenser, the tubing and wiring for the water dispenser run through the left-hand door hinge, so they must be disconnected before removing the door.

  1. Remove the cover from the top hinge as shown below.
    Remove Refrigerator Doors and Hinges - Step 5
    1. Top hinge cover screw
    2. Top hinge cover
  2. Disconnect the water dispenser tubing located on top of the door hinge (if applicable).

Water Tubing Connection Style 1:
Press the colored outer ring against the face of the fitting and gently pull the dispenser tubing free as shown below.

NOTE: The water dispenser tubing remains attached to the lefthand refrigerator door.

Remove Refrigerator Doors and Hinges - Step 6

  1. Outer ring
  2. Face of fitting

Remove Refrigerator Doors and Hinges - Step 7

  1. Before removing the left-hand side door, disconnect the wiring plug located on top of the top hinge by wedging a flat-blade screwdriver or your fingernail between the two sections.
    Remove Refrigerator Doors and Hinges - Step 8
    NOTE: Do not remove the green, ground wire. It should remain attached to the door hinge.
    Remove Refrigerator Doors and Hinges - Step 9
    1. A. 3/4" Internal hex-head or TORX T25 screws
    2. Ground wire (Do not remove)
    3. Locator screws (do not remove)
  2. Lift the refrigerator door from the bottom hinge pin. The top hinge will come away with the door.
    NOTE: It may not be necessary to remove the bottom hinges and brake feet assemblies to move the refrigerator through a doorway.
    Only if necessary, depending on your model, use a driver with a #2 square bit tip or a TORX T25 screwdriver to remove the bottom hinges and a 3/8" nut driver or a TORX T25 screwdriver to remove the brake feet screws.

Reset Bottom Refrigerator Door Hinge

For your convenience, the refrigerator doors have bottom hinges with door closers. These closers allow the doors to swing fully closed with just a gentle push.


So that the closers feature will operate properly, the doors must be removed only when open to a 90° angle to the front of the cabinet. If one or both doors were not at a 90° angle when removed, the bottom door hinge must be reset.

Reset Bottom Refrigerator Door Hinge - Step 1

RESET THE DOOR HINGE

  1. Lift the door from the bottom hinge pin and place it on a flat surface.
  2. Using a driver with a #2 square bit, remove the bottom hinge with the bushing from the cabinet.
    Reset Bottom Refrigerator Door Hinge - Step 2
    1. Bushing
    2. Hinge base
  3. Insert the bottom hinge and bushing into the corresponding slot in the bottom of the door.
    NOTE: Make sure that the base of the hinge is parallel to the bottom of the door.
    Reset Bottom Refrigerator Door Hinge - Step 3
    A. Hinge base parallel to the bottom edge of the door
  4. Turn the hinge until the hinge base is at a 90° angle to the bottom edge of the door.
    Reset Bottom Refrigerator Door Hinge - Step 4
    A. Hinge base turned to a 90° angle with the bottom edge of the door
  5. Remove the hinge from the door. Reattach the bottom hinge to the refrigerator cabinet.
  6. The hinge is now reset and prepared for the door to be replaced.

Replace Refrigerator Doors and Hinges

Replace Right-Hand Refrigerator Door

  1. Set the right-hand door onto the bottom hinge pin.
  2. Insert the top hinge pin into the open hole in the top of the refrigerator door.
  3. Fasten the hinge to the cabinet. Do not tighten the screws completely.

Replace Left-Hand Refrigerator Door


Do not intertwine the water tubing and wiring bundles when reconnecting them

  1. Set the left-hand door onto the bottom hinge pin.
  2. Fasten the hinge to the cabinet. Do not tighten the screws completely.
  3. If applicable, reconnect the water dispenser tubing.
    Style 1 - Insert the tubing into the fitting until it stops and the outer ring is touching the face of fitting.
    Style 2 - Insert the tubing firmly into the fitting until it stops. Close the clasp around the tubing. The clasp snaps into place between the fitting and the collar.
  4. Reconnect the electrical wiring.
    • Push together the two sections of the wiring plug.

Final Steps

  1. Completely tighten the internal screws
  2. Replace both top hinge covers.

Remove and Replace Refrigerator Drawer

Depending on the width of your door opening, it may be necessary to remove the drawer fronts to move the refrigerator into your home.

REMOVE DRAWER FRONT

  • If the refrigerator was previously installed and you are moving it out of the home, before you begin, turn the refrigerator control Off, and unplug the refrigerator or disconnect power. Remove food and any adjustable door or utility bins from doors.
  • Two people may be required to remove and replace the freezer drawer. Graphics are included later in this section.

Tools Needed: 1/4" Hex head nut driver, Flat-blade screwdriver

Disconnect Wiring (if applicable) NOTES:

  • The exterior refrigerator drawer front is connected to the temperature control on some models. Before removing the drawer front, the wires must be disconnected from the temperature control.
  • The gray cable visible behind and under the pantry drawer at the right side contains wiring for the pantry control and moves with the drawer as it is pulled out. There is no need to disconnect this cable.
  1. Open the drawer to its full extension, and remove the interior bin.
  2. Left-hand drawer only: Remove the wiring connection cover. Press in on the side of the cover to release the tab from the slot, and then pull the cover away from the bracket.
    Replace Refrigerator Doors and Hinges - Step 1
    1. Cover tab
    2. Wiring connection cover
  3. Left–hand drawer only, disconnect the wiring.
    NOTE:
    On one side of the wiring connector, insert the screwdriver blade between the connector tab and the connector to release. Repeat for the opposite side. Pull the wiring connector apart.
    Replace Refrigerator Doors and Hinges - Step 2
  4. Remove the drawer front.
    Style 1: Bottom Release Lever
    • Push up on the lever at the bottom of the drawer glide bracket to release the drawer front from the bracket.
    • Lift the drawer front up and off the drawer glide brackets.
      Replace Refrigerator Doors and Hinges - Step 3
      1. Drawer glide bracket
      2. Release lever
    • Style 2: Bottom Screws
      • Loosen the two top screws attaching the drawer glide brackets to the drawer front.
        NOTE: Loosen screws three to four turns. Keep the screws in the drawer front.
      • Remove the two bottom screws attaching the drawer glide. Lift the drawer front up and off the top screws.
        Replace Refrigerator Doors and Hinges - Step 4
        A. Four Bracket screws
  5. Slide the drawer glides back into the refrigerator.

REPLACE DRAWER FRONT

  1. Pull out the drawer glides until they are full extended.
  2. Style 1: Bottom Release Lever
    • Push up on the lever at the bottom of the drawer glide bracket to open. Insert the drawer front bracket into the drawer glide bracket and release the lever.

    Style 2: Bottom Screws

    • Lower the loosened screws in the top of the door front into the upper notches in the drawer glide.
    • Align the holes in the bottom of the drawer glides.
    • Replace two screws removed previously and tighten all four screws.NOTE: It helps if one person holds the drawer glides steady while another person aligns the drawer front and inserts the screws into the notches.
  3. Reconnect Wiring (if applicable)
    • Align the two ends of the wiring connector and push them together until you hear a click sound and feel the tabs snap into place on the connector.
      Replace Refrigerator Doors and Hinges - Step 5
    • Gently pull on the wiring connection to ensure the wiring connection is completely seated. Replace the wiring cover. NOTE: The wiring connection must be complete for the drawer temperature control to operate.
  4. Replace the drawer bins onto the drawer glides.

Remove and Replace Freezer Drawer Front

Depending on the width of your door opening, it may be necessary to remove the freezer drawer front to move the refrigerator into your home.

  • If the refrigerator was previously installed and you are moving it out of the home, before you begin, turn the refrigerator control Off, and unplug the refrigerator or disconnect power. Remove food and any adjustable door or utility bins from doors.
  • Two people may be required to remove and replace the freezer drawer

Tools Needed: 1/4" hex driver

REMOVE DRAWER
Front Style 1 & 2

  1. Open the freezer drawer to its full extension.
  2. Loosen the two screws at the top, inside the drawer front (one on the left-hand side and one on the right-hand side) that fasten the drawer front to the drawer glides as shown below.
  3. Remove the 2 screws at the bottom, inside the drawer front that fasten the drawer front to the drawer glides as shown below.
  4. Lift up on the drawer front to release the plastic studs from the drawer glide bracket slots as shown below.
    Style 1
    Replace Refrigerator Doors and Hinges - Step 6
    A. Drawer glide bracket slots

    Style 2
    Replace Refrigerator Doors and Hinges - Step 7
    A. Drawer glide bracket slots
  5. Slide the drawer glides back into the freezer.

Front Style 3

  1. Open the freezer drawer to full extension.
  2. Loosen the four screws attaching the drawer glides to the drawer front as shown below.
    NOTE: Loosen screws three to four turns. Keep the screws in the drawer front.
    Replace Refrigerator Doors and Hinges - Step 8
    A. Four Bracket screws
  3. Lift drawer front upward and off the screws.
    Replace Refrigerator Doors and Hinges - Step 9

REPLACE DRAWER
Front Style 1 and 2

  1. Pull out the freezer drawer glides to their full extension.
  2. Holding the drawer front by its sides, align the two plastic studs, located at the bottom, inside the drawer front, with the drawer glide bracket slots.
    NOTE: It helps if one person holds the drawer glides steady while another person aligns the drawer front and inserts the studs into the slots.
    Style 1
    Replace Refrigerator Doors and Hinges - Step 10
    A. Drawer front screw
    B. Drawer front plastic stud

    Style 2
    Replace Refrigerator Doors and Hinges - Step 11
    A. Drawer front screw
  3. Replace and tighten the two screws at the top of the drawer front (one on the left-hand side and one on the right-hand side).

Front Style 3

  1. Slide the drawer glides out of the freezer compartment.
  2. Insert the screws in the top of the drawer into the slots in the drawer brackets.
    Replace Refrigerator Doors and Hinges - Step 12
  3. Completely tighten all four screws.

Door Closing and Alignment

The base grille covers the adjustable brake feet and roller assemblies located at the bottom of the refrigerator below the freezer drawer. Before making any adjustments, remove the base grille and move the refrigerator to its final location.

Tools Needed: 1/4" hex driver
Tools Provided: 1/8" hex key

  1. Remove base grille.
    BASE GRILLE
    Style 1

    Door Closing and Alignment - Step 1
    • Using both hands, grasp the grille firmly and pull it toward you. Open the freezer drawer to access the brake feet.
      NOTE: To allow the refrigerator to roll easier, raise the brake feet by turning them counterclockwise. The front rollers will be touching the floor.

    Style 2
    Door Closing and Alignment - Step 2

    • Remove the two screws fastening the base grille to the cabinet and set screws aside.
    • Grasp the grille and pull it toward you.
      NOTE: To allow the refrigerator to roll easier, raise the brake feet by turning them counterclockwise. The front rollers will be touching the floor.

    Style 3

    • Use a 1/4" hex–nut driver to remove both screws in the base grille.
    • Using both hands, grasp the grille firmly and pull it toward you. Open the freezer drawer to access the brake feet.
      NOTE: To allow the refrigerator to roll easier, raise the brake feet by turning them counterclockwise. The front rollers will be touching the floor.
  2. Move the refrigerator to its final location.
  3. Make sure the doors close easily. If you are satisfied with the door opening and closing, skip the next section and go to "Align the Doors." If, however, the doors do not close easily or the doors pop open, adjust the tilt.
  4. Using a 1/4" hex driver, lower the brake feet. Turn them clockwise until the rollers are off the floor and both brake feet are snug against the floor. This keeps the refrigerator from rolling forward when operating the refrigerator doors freezer drawer.

    If you need to make further adjustments involving the brake feet, you must turn both brake feet the same amount to keep the refrigerator level.
  5. Use a level to make sure the refrigerator is level from side to side and front to back.
  6. Make sure the doors are even at the top and that the space between the bottom of the refrigerator doors and the top of the freezer drawer is even. If necessary, align the doors.

To Adjust the Cabinet Tilt:

  1. Open the freezer drawer. Use a 1/4" hex driver to turn both brake feet clockwise the same amount. This will raise the front of the refrigerator. It may take several turns to allow the doors to close easier.
    NOTE: Having someone push against the top of the refrigerator takes some weight off the brake feet. This makes it easier to turn them.
    Door Closing and Alignment - Step 3
    1. Brake foot
    2. Front roller

    Door Closing and Alignment - Step 4
    A. Brake front

  2. Make sure the doors are even at the top and that the space between the bottom of the refrigerator doors and the top of the freezer drawer is even. If necessary, align the doors.
    • To Align the Doors:
    • Keeping both refrigerator doors closed, pull out the freezer drawer. Locate the bottom hinge pin of the right-hand refrigerator door. The alignment screw is inside the bottom hinge pin.
    • Insert the short end of the 1/8" hex key (packed with the Door Handle Installation Instructions) into the bottom hinge pin until it is fully engaged in the alignment screw.
      To raise the refrigerator door, turn the hex key to the right.
      To lower the door, turn the hex key to the left.
    • Continue to turn the alignment screw until the doors are aligned.
      Door Closing and Alignment - Step 5
      1. Bottom Hinge Pin
      2. 1/8" hex key
  3. Make sure the refrigerator is steady. If the refrigerator seems unsteady or rolls forward when a door or drawer is pulled open, adjust the brake feet.
    To Steady the Refrigerator:
    • Open the freezer drawer. Using a 1/4" hex driver, turn both brake feet clockwise the same amount until the brake feet are snug against the floor. Check again. If you are not satisfied, continue to adjust the brake feet by half turns of the screw until the refrigerator does not roll forward when the drawer is opened.
      NOTE: Having someone push against the top of the refrigerator takes some weight off the leveling screws. This makes it easier to turn the screws.

After making all appropriate adjustments, replace the base grille by aligning the ends of the grille with the leveling assemblies on each side and snapping the grille into place. Use a 1/4" hex driver to reinstall screws if applicable.

Final Steps


Electrical Shock Hazard Plug into a grounded 3 prong outlet.
Do not remove ground prong.

Do not use an adapter.
Do not use an extension cord.

Failure to follow these instructions can result in death, fire, or electrical shock.

  1. Plug into a grounded 3 prong outlet
  2. Reset the controls. See "Control Panel Descriptions" in the Quick Start Guide for details.
  3. Return all removable door parts to doors and the food to refrigerator.

Align Refrigerated Drawer Fronts (on some models)

When the drawer fronts are aligned, the width of the vertical space (A) between the refrigerator doors (B) and the drawer fronts (C) is the same thickness, and the drawers appear level.
Door Closing and Alignment - Step 6

  1. Vertical space between doors
  2. Drawer fronts
  3. Drawer fronts

Aligning the drawer fronts is a two-step process. The first step is to adjust the drawer fronts up and down. The second step shifts the drawer fronts from side to side. Visually inspect the refrigerator for alignment and adjust the drawer fronts as needed.

Step 1 - Adjust the Drawer Fronts Up/Down


Each refrigerated drawer can be adjusted up and down on both the left and the right sides.

Door Closing and Alignment - Step 7

Tools Needed: Phillips screwdriver

  1. With the drawers closed, identify the drawer front that needs to be raised or lowered.
  2. Open the drawer to its full extension, and remove the interior bin.
    Door Closing and Alignment - Step 8
  3. Locate the drawer glide brackets.
    Door Closing and Alignment - Step 9
    A. Drawer glide brackets
  4. Insert the Phillips screwdriver into tightening screw and turn counterclockwise to loosen the drawer front.
    Door Closing and Alignment - Step 10
    1. Tightening screw
    2. Adjusting screw
  5. Insert the Phillips screwdriver into adjusting screw to adjust the drawer front.

    The direction you turn the adjusting screw depends on which side of the drawer you are adjusting.
    Left-Hand Side Drawer Glide
    Door Closing and Alignment - Step 11

    Right-Hand Side Drawer Glide

    • To raise the drawer front, turn adjusting screw clockwise.
    • To lower the drawer front, turn adjusting screw counterclockwise.

Step 2 - Adjust the Drawer Fronts Side to Side


Each refrigerated drawer can be adjusted side to side on both the left and right side.

  1. With the drawers closed, identify the drawer that is not aligned.
    Door Closing and Alignment - Step 12
  2. Open the drawer to its full extension, and remove the interior bin.
  3. Locate the drawer glide brackets.
  4. Starting with the glide bracket closest to the vertical gap, press and hold the release lever up. With your other hand, lift the door clip from the drawer glide bracket.
    Door Closing and Alignment - Step 13
    1. Drawer front clip
    2. Drawer glide bracket
    3. Release lever
  5. Reposition the drawer front clip onto the drawer glide bracket in the direction you want to move the drawer front. Make sure that the glide bracket is vertically level.
  6. Release the lever to lock the glide bracket into position.
  7. Repeat steps 3 through 6 for the other side of the drawer front. NOTE: Adjust the clip on the top of the second glide bracket so that it is in the same position as the side you adjusted first.
  8. Close the drawer and visually inspect the gap. Repeat steps 2 though 7 until the drawer fronts are aligned.

FINAL STEPS

  1. Replace the interior drawer bins. NOTE: The bins must be placed into the drawers correctly so that the refrigerated drawers will close and operate properly. See "Remove and Replace Drawer Fronts."
  2. Close the refrigerated drawers.

REFRIGERATOR SAFETY

We have provided many important safety messages in this manual and on your appliance. Always read and obey all safety messages.

This is the safety alert symbol. This symbol alerts you to potential hazards that can kill or hurt you and others. All safety messages will follow the safety alert symbol and either the word "DANGER" or "WARNING." These words messages.


You can be killed or seriously injured if you don't immediately follow instructions.


You can be killed or seriously injured if you don't follow instructions.

All safety messages will tell you what the potential hazard is, tell you how to reduce the chance of injury, and tell you what can happen if the instructions are not followed.

IMPORTANT SAFETY INSTRUCTIONS


To reduce the risk of fire, electric shock, or injury to persons when using your appliance, follow basic precautions, including the following:

  • Children should be supervised to ensure that they do not play with the appliance.
  • This appliance is not intended for use by persons (including children) with reduced physical, sensory, or mental capabilities, or lack of experience and knowledge, unless they have been given supervision or instruction concerning use of the appliance by a person responsible for their safety.
  • Do not use an extension cord.
  • If power supply cord is damaged, it must be replaced by the manufacturer, its service agent, or a similarly qualified person in order to avoid a hazard.
  • Connect to potable water supply only.
  • This appliance is intended to be used in household and similar applications such as: staff kitchen areas in shops, offices, and other working environments; farm houses and by clients in hotels, motels, and other residential-type environments; bed and breakfast-type environments; and catering and similar non-retail applications.
  • Do not store explosive substances such as aerosol cans with a flammable propellant in this appliance.
  • Do not use replacement parts that have not been recommended by the manufacturer (e.g., parts made at home using a 3D printer).
  • Keep ventilation openings, in the appliance enclosure or in the built-in structure, clear of obstruction.
  • Do not use mechanical devices or other means to accelerate the defrosting process, other than those recommended by the manufacturer.
  • Do not damage the refrigerant circuit.
  • Do not use electrical appliances inside the food storage compartments of the appliance, unless they are of the type recommended by the manufacturer.
  • Ice maker kit can be added to some models. See serial tag inside the food compartment of appliance for ice maker kit model information.
  • A qualified service technician must install the water line and ice maker. See installation instructions supplied with ice maker kit for complete details.

Proper Disposal of Your Old Refrigerator


Risk of child entrapment. Before you throw away your old refrigerator or freezer:

  • Take off the doors.
  • Leave the shelves in place so that children may not easily climb inside.


Suffocation Hazard
Remove doors or lid from your old appliance.
Failure to do so can result in death or brain damage.


Child entrapment and suffocation are not problems of the past. Junked or abandoned freezers or refrigerators, are still dangerous, even if they will sit for "just a few days." If you are getting rid of your old refrigerator or freezer, please follow these instructions to help prevent accidents.


Important information to know about disposal of refrigerants: Dispose of refrigerator in accordance with Federal and Local regulations. Refrigerants must be evacuated by a licensed, EPA certified refrigerant technician in accordance with established procedures.

Download manual

Here you can download full pdf version of manual, it may contain additional safety instructions, warranty information, FCC rules, etc.

Download KitchenAid KRFC302ESS - 22 cu. ft. 36-Inch Width Counter Depth French Door Refrigerator Manual

Documents / Resources

References

Advertisement

Need help?

Need help?

Do you have a question about the KRFC302ESS and is the answer not in the manual?

Questions and answers

Table of Contents