KitchenAid KRMF706ESS - 25.8 Cu. Ft. 36" Multi-Door Freestanding Refrigerator Manual

KitchenAid KRMF706ESS - 25.8 Cu. Ft. 36" Multi-Door Freestanding Refrigerator Manual

Also See for KRMF706ESS:

Advertisement

Table of Contents
Contents
KitchenAid KRMF706ESS - 25.8 Cu. Ft. 36" Multi-Door Freestanding Refrigerator Manual

INSTALLATION INSTRUCTIONS

Unpack the Refrigerator


Excessive Weight Hazard Use two or more people to move and install refrigerator. Failure to do so can result in back or other injury.

When Moving Your Refrigerator:
Your refrigerator is heavy. When moving the refrigerator for cleaning or service, be sure to cover the floor with cardboard or hardboard to avoid floor damage. Always pull the refrigerator straight out when moving it. Do not wiggle or "walk" the refrigerator when trying to move it, as floor damage could occur.

Remove the Packaging

  • Remove tape and glue residue from surfaces before turning on the refrigerator. Rub a small amount of liquid dish soap over the adhesive with your fingers. Wipe with warm water and dry.
  • Do not use sharp instruments, rubbing alcohol, flammable fluids, or abrasive cleaners to remove tape or glue. These products can damage the surface of your refrigerator. For more information, see "Refrigerator Safety."
  • Dispose of/recycle all packaging materials.

Clean Before Using
After you remove all of the packaging materials, clean the inside of your refrigerator before using it. See the cleaning instructions in "Refrigerator Care."


Important information to know about glass shelves and covers:
Do not clean glass shelves or covers with warm water when they are cold. Shelves and covers may break if exposed to sudden temperature changes or impact, such as bumping. Tempered glass is designed to shatter into many small, pebble-size pieces. This is normal. Glass shelves and covers are heavy. Use both hands when removing them to avoid dropping.

Remove and Replace Refrigerator Doors

warning NOTE: Measure the width of your door opening to see whether or not you need to remove the refrigerator doors to move the refrigerator into your home. If door removal is necessary, see the following instructions.


If the refrigerator was previously installed and you are moving it out of the home, before you begin, turn the refrigerator control OFF. Unplug the refrigerator or disconnect power. Remove food and adjustable door or utility bins from doors.
Gather the required tools and read all instructions before removing doors.

TOOLS NEEDED: ³⁄₁₆" hex key and a #2 Phillips screwdriver


Electrical Shock Hazard Disconnect power before removing doors.
Failure to do so can result in death or electrical shock.

Door Removal and Replacement

Door Removal and Replacement

  1. Wiring Plug
  2. Top Left Hinge
    Top Left Hinge
  1. ³⁄₁₆" Internal Hex-Head Screws
  2. Ground Wire (Do Not Remove)
  3. Do Not Remove Screws
  1. Top Right Hinge
    Top Right Hinge
  1. ³⁄₁₆" Internal Hex-Head Screws
  2. Hinge Cover Screw
  3. Top Hinge Cover
  4. Top Hinge
  1. Door at 90˚ Angle to Cabinet
  2. Water Dispenser Tubing Connection

    A. Outer Ring

Bottom Door Hinge

For your convenience, the refrigerator doors have bottom hinges with door closers. These closers allow the doors to swing fully closed with just a gentle push.


So that the closers feature will operate properly, the doors must be removed only when open to a 90° angle to the front of the cabinet. If one or both doors were not at a 90° angle when removed, the bottom door hinge must be reset.

Reset the Door Hinge

  1. Lift the door from the bottom hinge pin and place it on a flat surface.
  2. Using a driver with a #2 square bit, remove the bottom hinge with the bushing from the cabinet.
  1. Bushing
  2. Hinge base
  1. Insert the bottom hinge and bushing into the corresponding slot in the bottom of the door.
    warning NOTE: Make sure that the base of the hinge is parallel to the bottom of the door.

    A. Hinge base parallel to the bottom edge of the door
  2. Turn the hinge until the hinge base is at a 90° angle to the bottom edge of the door.

    A. Hinge base turned to a 90° angle with the bottom edge of the door

  3. Remove the hinge from the door. Using a driver with a #2 square bit, reattach the bottom hinge to the refrigerator cabinet.
  4. The hinge is now reset and prepared for the door to be replaced. See "Replace Refrigerator Doors" later in this section.

Remove Refrigerator Doors


Electrical Shock Hazard
Disconnect power before removing doors.
Failure to do so can result in death or electrical shock.

Remove Right-Hand Refrigerator Door

  1. Unplug refrigerator or disconnect power.
  2. Keep the refrigerator doors closed until you are ready to lift them free from the cabinet.
    warning NOTE: Provide additional support for the refrigerator door while the hinges are being removed. Do not depend on the door gasket magnets to hold the door in place while you are working.
  3. Using a Phillips screwdriver, remove the cover from the top hinge.
  4. Using the ³⁄₁₆" hex key, remove the two internal hex-head screws from the top hinge and set aside.
    warning NOTE: Do not remove the two locator screws. These screws will help you align the hinge when you replace the door.
    Remove Right-Hand Refrigerator Door
  1. Top hinge cover screw
  2. Top hinge cover
  3. ³⁄₁₆ " Internal hex-head screws
  4. Top hinge


Excessive Weight Hazard
Use two or more people to lift the refrigerator door.
Failure to do so can result in back or other injury.

  1. Open the door until it is at a 90° angle to the front of the cabinet.
  2. Lift the refrigerator door from the bottom hinge pin. The top hinge will come away with the door.

Remove Left-Hand Refrigerator Door


The tubing and wiring for the water dispenser run through the left-hand door hinge, so they must be disconnected before removing the door.

  1. Using a Phillips screwdriver, remove the cover from the top hinge.
    Remove Left-Hand Refrigerator Door - Step 1
    1. Top hinge cover screw
    2. Top hinge cover
  2. Disconnect the water dispenser tubing located on top of the door hinge by firmly pulling up on the clasp. Then, pull the tubing out of the fitting.
    warning NOTE: The water dispenser tubing remains attached to the left-hand refrigerator door.
    Remove Left-Hand Refrigerator Door - Step 2
  3. Disconnect the wiring plug located on top of the door hinge.
    • Grasp each side of the wiring plug. With your left thumb, press down to release the catch and pull the sections of the plug apart.
      warning NOTE: Do not remove the green, ground wire. It should remain attached to the door hinge.
  4. Using the ³⁄₁₆" hex key wrench, remove the two internal hex-head screws from the top hinge and set aside.

warning NOTES:

  • Provide additional support for the refrigerator door while the hinges are being removed. Do not depend on the door gasket magnets to hold the door in place while you are working.
  • Do not remove the two locator screws. These screws will help you align the hinge when you replace the door.
    Remove Left-Hand Refrigerator Door - Step 3
  1. ³⁄₁₆" Internal hex-head screws
  2. Ground wire (Do not remove)
  3. Locator screws (Do not remove)
  1. Open the door until it is at a 90° angle to the front of the cabinet.
  2. Lift the refrigerator door from the bottom hinge pin. The top hinge will come away with the door.
    warning NOTE: It may not be necessary to remove the bottom hinges and brake feet assemblies to move the refrigerator through a doorway.
    • Only if necessary, use a driver with a #2 square bit tip to remove the bottom hinges and a ³⁄₈" nut driver to remove the brake feet screws.

Replace Refrigerator Doors


To avoid damage to the refrigerator doors, they must be replaced at a 90° angle to the front of the cabinet. You should not have to force the door onto the hinge if it is at the correct angle.

Replace Right-Hand Refrigerator Door

  1. Holding the right-hand door at a 90° angle to the front of the cabinet, set the door onto the bottom hinge pin.
  2. Insert the top hinge pin into the open hole in the top of the refrigerator door.
  3. Using the two ³⁄₁₆" internal hex-head screws, fasten the hinge to the cabinet. Do not tighten the screws completely.

Replace Left-Hand Refrigerator Door


Do not intertwine the water tubing and wiring bundles when reconnecting them.

  1. Holding the left-hand door at a 90° angle to the front of the cabinet, set the door onto the bottom hinge pin.
  2. Using the two ³⁄₁₆" internal hex-head screws, fasten the hinge to the cabinet. Do not tighten the screws completely.
  3. Reconnect the water dispenser tubing.
    Style 1 - Insert the tubing into the fitting until it stops and the outer ring is touching the face of fitting.
    Style 2 - Insert the tubing firmly into the fitting until it stops. Close the clasp around the tubing. The clasp snaps into place between the fitting and the collar.
  4. Reconnect the electrical wiring.
    • Push together the two sections of the wiring plug.

Final Steps

  1. Completely tighten the four internal hex-head screws (two on the right-hand door hinge and two on the left-hand door hinge).
  2. Replace both top hinge covers.

Remove and Replace Drawer Fronts

Depending on the width of your door opening, it may be necessary to remove the drawer fronts to move the refrigerator into your home.

  • If the refrigerator was previously installed and you are moving it out of the home, before you begin, turn the refrigerator control OFF, and unplug the refrigerator or disconnect power. Remove food from the drawers.
  • Two people may be required to remove and replace the drawer fronts.

Tools Needed: Flat-blade screwdriver

Refrigerated Drawers

Remove the Drawer Fronts

  1. Open the drawer to its full extension. Grasp the sides of the interior bin, and then lift up and out to remove.
  2. Left-hand drawer only: Remove the wiring connection cover. Press in on the side of the cover to release the tab from the slot, and then pull the cover away from the bracket.
    Refrigerated Drawers - Step 1
    1. Cover tab
    2. Wiring connection cover
  3. Left-hand drawer only: Disconnect the wiring.
    warning NOTE: The drawer front of the left-hand refrigerated drawer is connected to the temperature control by wires running underneath the drawer glide. Before removing the drawer front, the wires must be disconnected.
    • On one side of the wiring connector, insert the screwdriver blade between the connector tab and the connector to release. Repeat for the opposite side. Pull the wiring connector apart.
  4. Remove the drawer front.
    • Push up on the lever at the bottom of the drawer glide bracket to release the drawer front from the bracket.
    • Lift the drawer front up and off the drawer glide brackets.
      Refrigerated Drawers - Step 2
      1. Drawer glide bracket
      2. Release lever
  5. Slide the drawer glides back into the refrigerator.

Replace the Drawer Fronts

  1. Pull out the drawer glides until they are fully extended.
  2. Push up on the lever at the bottom of the drawer glide bracket to open. Insert the drawer front bracket into the drawer glide bracket and release the lever.
    warning NOTE: It helps if one person holds the drawer glides steady while another person aligns the drawer front and connects the brackets.
  3. Left-hand drawer only: Reconnect wiring.
    • Align the two ends of the wiring connector and push them together until you hear a "click" sound and feel the tabs snap into place on the connector.
    • Gently pull on the wiring connection to ensure the wiring connection is completely seated. Replace the wiring cover.
      warning NOTE: The wiring connection must be complete for the drawer temperature control to operate.
  4. Left-hand drawer only: Replace the wiring connection cover.
  5. Replace the drawer bins onto the drawer glides with the rear side of the bin facing the back of the refrigerator as shown.


The Door Ajar alarm will sound if the interior drawer bins are not replaced correctly. The bins are designed with a specific front and rear. They must be placed into the drawers, as shown, so that the refrigerated drawers will close and operate properly.

  1. Faces back of refrigerator (insert first)
  2. Faces front of refrigerator

Freezer Drawer

Remove Drawer Front

  1. Open the freezer drawer to its full extension.
  2. Loosen the two top screws that fasten the drawer front to the drawer glides. The two screws (one on the left-hand side and one on the right-hand side) are located inside the drawer front.
  3. Lift up on the drawer front to release the plastic studs from the drawer glide bracket slots.
    Freezer Drawer
    A. Drawer glide bracket slots
  4. Slide the drawer glides back into the freezer.

Replace Drawer Front

  1. Pull out the freezer drawer glides to their full extension.
  2. Holding the drawer front by its sides, align the two plastic studs, located at the bottom, inside the drawer front, with the drawer glide bracket slots.
    warning NOTE: It helps if one person holds the drawer glides steady while another person aligns the drawer front and inserts the studs into the slots.
    1. Drawer front screw
    2. Drawer front plastic stud
  3. Replace and tighten the two screws at the top of the drawer front (one on the left-hand side and one on the right-hand side).

Final Steps


Electrical Shock Hazard Plug into a grounded 3 prong outlet.
Do not remove ground prong.
Do not use an adapter.
Do not use an extension cord.
Failure to follow these instructions can result in death, fire, or electrical shock.

  1. Plug into a grounded 3 prong outlet.
  2. Reset the controls. See "Using the Control(s)" and
    "Temperature Controlled Exterior Drawer."
  3. Return all removable parts and the food to the drawers.

Align Doors and Drawers

Once the doors and drawer fronts are replaced on the refrigerator, you may notice that the doors appear angled or that they are no longer level. Both the refrigerator doors and refrigerated drawers are adjustable.

Align Refrigerator Door

Tools Provided: ¹⁄₈" hex key

  1. Keeping both refrigerator doors closed, pull out the right-hand refrigerated drawer. Locate the bottom hinge pin of the refrigerator door. The alignment screw is inside the bottom hinge pin.
    Align Refrigerator Door
  1. Bottom hinge pin
  2. Turn to the left to lower. ¹⁄₈
  3. Turn to the right to raise.
  4. " Hex key
  1. Insert the short end of the ¹⁄₈" hex key (packed with the Door Handle Installation Instructions) into the bottom hinge pin until it is fully engaged in the alignment screw.
    • To raise the door, turn the hex key to the right.
    • To lower the door, turn the hex key to the left.
  2. Continue to turn the alignment screw until the doors are aligned.

Align Refrigerated Drawer Fronts

When the drawer fronts are aligned, the width of the vertical space (A) between the refrigerator doors (B) and the drawer fronts (C) is the same thickness, and the drawers appear level.

Aligning the drawer fronts is a two-step process. The first step is to adjust the drawer fronts up and down. The second step shifts the drawer fronts from side to side. Visually inspect the refrigerator for alignment and adjust the drawer fronts as needed.

Step 1 - Adjust the Drawer Fronts Up/Down


Each refrigerated drawer can be adjusted up and down on both the left and the right sides.
 Adjust the Drawer Fronts Up/Down - Step 1

Tools Needed: Phillips screwdriver

  1. With the drawers closed, identify the drawer front that needs to be raised or lowered.
  2. Open the drawer to its full extension. Grasp the sides of the interior bin, and then lift it up and out to remove.
  3. Locate the drawer glide brackets (A).

    A. Drawer glide brackets
  4. Insert the Phillips screwdriver into screw (A) and turn counterclockwise to loosen the drawer front.
     Adjust the Drawer Fronts Up/Down - Step 2
    1. Tightening screw
    2. Adjusting screw
  5. Insert the Phillips screwdriver into screw (B) to adjust the drawer front.


The direction you turn screw (B) depends on which side of the drawer you are adjusting.

Left-Hand Side Drawer Glide

Left-Hand Side Drawer Glide

  • To raise the drawer front, turn screw (B) clockwise.
  • To lower the drawer front, turn screw (B) counterclockwise.

Right-Hand Side Drawer Glide

Right-Hand Side Drawer Glide

  • To raise the drawer front, turn screw (B) counterclockwise.
  • To lower the drawer front, turn screw (B) clockwise.
  1. Insert the Phillips screwdriver into screw (A), and turn clockwise to tighten the drawer front.
  2. Close the refrigerated drawer to check the alignment. Repeat steps 2 through 6 until the drawer fronts are level.

Step 2 - Adjust the Drawer Fronts Side-to-Side


Each refrigerated drawer can be adjusted side-to-side on both the left and right side.

Adjust the Drawer Fronts Side-to-Side - Step 1

  1. With the drawers closed, identify the drawer that is not aligned.
  2. Open the drawer to its full extension. Grasp the sides of the interior bin, and then lift it up and out to remove. (See step 1 for further details.)
  3. Locate the drawer glide brackets. (See step 1 for further details.)
  4. Starting with the glide bracket closest to the vertical gap, press and hold the release lever (C) up. With your other hand, lift the door clip (A) from the bracket (B).
    Adjust the Drawer Fronts Side-to-Side - Step 2
    1. Drawer front clip
    2. Drawer glide bracket
    3. Release lever
  5. Reposition the clip (A) onto the glide bracket (B) in the direction you want to move the drawer front. Make sure that the glide bracket is vertically level.
  6. Release the lever (C) to lock the glide bracket into position.
  7. Repeat steps 3 through 6 for the other side of the drawer front.
    warning NOTE: Adjust the clip (A) on the top of the second glide bracket (B) so that it is in the same position as the side you adjusted first.
  8. Close the drawer and visually inspect the gap. Repeat steps 2 though 7 until the drawer fronts are aligned.

Final Steps

  1. Replace the interior drawer bins.
    warning NOTE: The bins must be placed into the drawers correctly so that the refrigerated drawers will close and operate properly. See "Remove and Replace Drawer Fronts."
  2. Close the refrigerated drawers.

Location Requirements


Explosion Hazard
Keep flammable materials and vapors, such as gasoline, away from refrigerator. Failure to do so can result in death, explosion, or fire.


This refrigerator is designed for indoor, household use only.

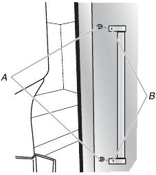
To ensure proper ventilation for your refrigerator, allow for a ¹⁄₂" (1.25 cm) of space on each side and at the top. Allow for a 1" (2.54 cm) space behind the refrigerator. If your refrigerator has an ice maker, allow extra space at the back for the water line connections. When installing your refrigerator next to a fixed wall, leave a 3³⁄₄" (9.5 cm) minimum space between the refrigerator and wall to allow the door to swing open.

warning NOTE: This refrigerator is intended for use in a location where the temperature ranges from a minimum of 55°F (13°C) to a maximum of 110°F (43°C). The preferred room temperature range for optimum performance, which reduces electricity usage and provides superior cooling, is between 60°F (15°C) and 90°F (32°C). It is recommended that you do not install the refrigerator near a heat source, such as an oven or radiator.
Location Requirements

Electrical Requirements


Electrical Shock Hazard
Plug into a grounded 3 prong outlet.

Do not remove ground prong.
Do not use an adapter.
Do not use an extension cord.
Failure to follow these instructions can result in death, fire, or electrical shock.

Before you move your refrigerator into its final location, it is important to make sure you have the proper electrical connection.

Recommended Grounding Method
A 115-volt, 60 Hz, AC-only 15- or 20-amp fused, grounded electrical supply is required. It is recommended that a separate circuit serving only your refrigerator and approved accessories be provided. Use an outlet that cannot be turned off by a switch. Do not use an extension cord.

warning NOTE: Before performing any type of installation, cleaning, or removing a light bulb, turn off Cooling, and then disconnect the refrigerator from the electrical source. When you have finished, reconnect the refrigerator to the electrical source and turn on Cooling. See "Using the Control(s)."

Water Supply Requirements

A cold water supply with water pressure between 35 and 120 psi (241 and 827 kPa) is required to operate the water dispenser and ice maker. If you have questions about your water pressure, call a licensed, qualified plumber.

warning NOTE: If the water pressure is less than what is required, the flow of water from the water dispenser could decrease or ice cubes could be hollow or irregular shaped.

Reverse Osmosis Water Supply


The pressure of the water supply coming out of a reverse osmosis system going to the water inlet valve of the refrigerator needs to be between 35 and 120 psi (241 and 827 kPa).

If a reverse osmosis water filtration system is connected to your cold water supply, the water pressure to the reverse osmosis system needs to be a minimum of 40 to 60 psi (276 to 414 kPa).

  • Check to see whether the sediment filter in the reverse osmosis system is blocked. Replace the filter if necessary.
  • Allow the storage tank on the reverse osmosis system to refill after heavy use. The tank capacity could be too small to keep up with the requirements of the refrigerator.
    warning NOTE: Faucet-mounted reverse osmosis systems are not recommended.
  • If your refrigerator has a water filter, it may further reduce the water pressure when used in conjunction with a reverse osmosis system. Remove the water filter. See "Water Filtration System."

If you have questions about your water pressure, call a licensed, qualified plumber.

Connect the Water Supply

Read all directions before you begin.

  • Plumbing shall be installed in accordance with the International Plumbing Code and any local codes and ordinances.
  • The gray water tubing on the back of the refrigerator (which is used to connect to the household water line) is a PEX (cross-linked polyethylene) tube. Copper and PEX tubing connections from the household water line to the refrigerator are acceptable and will help avoid off-taste or odor in your ice or water. Check for leaks.
    If PEX tubing is used instead of copper, we recommend the following Part Numbers:
    W10505928RP (7 ft [2.14 m] jacketed PEX),
    8212547RP (5 ft [1.52 m] PEX), or
    W10267701RP (25 ft [7.62 m] PEX).
  • Install tubing only in areas where temperatures will remain above freezing.

Tools Needed:
Gather the required tools and parts before starting installation.

  • Flat-blade screwdriver
  • ⁷⁄₁₆" and ¹⁄₂" open-end wrenches or two adjustable wrenches
  • ¹⁄₄" nut driver

warning NOTE: Do not use a piercing-type or ³⁄₁₆" (4.76 mm) saddle valve which reduces water flow and clogs easier.

Connect to Water Line


If you turn the refrigerator on before the water is connected, turn off the ice maker.

  1. Unplug refrigerator or disconnect power.
  2. Turn off main water supply. Turn on nearest faucet long enough to clear line of water.
  3. Use a quarter-turn shut-off valve or the equivalent, served by a ¹⁄₂" household supply line.
    warningNOTE: To allow sufficient water flow to the refrigerator, a minimum ¹⁄₂" (12.7 mm) size household supply line is recommended.
    1. Sleeve
    2. Nut
    3. Copper tubing (to refrigerator)
    4. Household supply line (½" minimum)
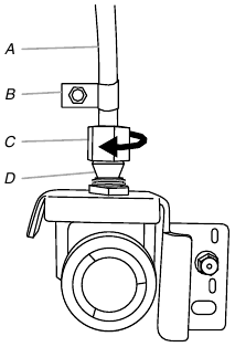
  4. Now you are ready to connect the copper tubing to the shut-off valve. Use ¹⁄₄" (6.35 mm) O.D. (outside diameter) soft copper tubing to connect the shut-off valve and the refrigerator.
    • Ensure that you have the proper length needed for the job. Be sure both ends of the copper tubing are cut square.
    • Slip compression sleeve and compression nut onto copper tubing as shown. Insert end of tubing into outlet end squarely as far as it will go. Screw compression nut onto outlet end with adjustable wrench. Do not overtighten.

  1. Compression sleeve
  2. Compression nut
  3. Copper tubing
  1. Place the free end of the tubing into a container or sink and turn on main water supply to flush out tubing until water is clear. Turn off shut-off valve on the water pipe.
    warning NOTE: Always drain the water line before making the final connection to the inlet of the water valve to avoid possible water valve malfunction.
  2. Bend the copper tubing to meet the water line inlet which is located on the back of the refrigerator cabinet as shown. Leave a coil of copper tubing to allow the refrigerator to be pulled out of the cabinet or away from the wall for service.

Connect to Refrigerator

Follow the connection instructions specific to your model.

Style 1

  1. Remove plastic cap from water valve inlet port. Attach the copper tube to the valve inlet using a compression nut and sleeve as shown. Tighten the compression nut. Do not overtighten. Confirm copper tubing is secure by pulling on copper tubing.
  2. Create a service loop with the copper tubing. Avoid kinks when coiling the copper tubing. Secure copper tubing to refrigerator cabinet with a "P" clamp.
    1. Copper tubing
    2. "P" clamp
    3. Compression nut
    4. Compression sleeve
  3. Turn on water supply to refrigerator and check for leaks. Correct any leaks.

Style 2

  1. Unplug refrigerator or disconnect power.
  2. Remove and discard the short, black plastic part from the end of the water line inlet.
  3. Thread the nut onto the end of the tubing. Tighten the nut by hand. Then tighten it with a wrench two more turns. Do not overtighten.
    warning NOTE: To avoid rattling, be sure the copper tubing does not touch the cabinet's side wall or other parts inside the cabinet.
    Connect to Refrigerator - Style 2
    1. Household water line
    2. Nut (purchased)
    3. Ferrule (purchased)
    4. Refrigerator water tubing
  4. Install the water supply tube clamp around the water supply line to reduce strain on the coupling.
  5. Turn on shut-off valve.
  6. Check for leaks. Tighten any connections (including connections at the valve) or nuts that leak.
  7. On some models, the ice maker is equipped with a built-in water strainer. If your water conditions require a second water strainer, install it in the ¹⁄₄" (6.35 mm) water line at either tube connection. Obtain a water strainer from your appliance dealer.

Complete the Installation


Electrical Shock Hazard
Plug into a grounded 3 prong outlet.

Do not remove ground prong.
Do not use an adapter.
Do not use an extension cord.
Failure to follow these instructions can result in death, fire, or electrical shock

  1. Plug into a grounded 3 prong outlet.
  2. Flush the water system. See "Water and Ice Dispensers."

warning NOTE: Allow 24 hours to produce the first batch of ice. Discard the first three batches of ice produced. Allow 3 days to completely fill the ice storage bin.

Handle Installation and Removal

Parts Included: Refrigerator door handles (2), refrigerated drawer handles (2), freezer drawer handle (1), ³⁄₃₂" hex key, spare setscrew(s)

warning NOTE: The freezer drawer handle is longer than the door handles. Handle style may vary by model.

Install Handles

Refrigerator Doors

warning NOTE: Handle mounting setscrews are preinstalled inside the handle.

  1. Remove the handles from the packaging inside the refrigerator and place them on a soft surface.
  2. Open a refrigerator compartment door. On the closed door, place a handle onto the shoulder screws so that the setscrews are facing the adjacent door.
    1. Shoulder screws
    2. Setscrews inside the handle
  3. Firmly push the handle toward the door until the handle base is flush against the door.
  4. While holding the handle, insert the short end of the hex key into the upper hole and slightly rotate the hex key until it is engaged in the setscrew.
    Refrigerator Doors
  5. Using a clockwise motion, tighten the setscrew just until it begins to contact the shoulder screw. Do not fully tighten.
  6. Repeat steps 4 and 5 to fasten the lower setscrew.
  7. Once both setscrews have been partially tightened as instructed in the previous steps, fully tighten both setscrews.

    When the screws feel tight, tighten them an additional quarter-turn. The handle is not properly installed without this extra tightening.
  8. Repeat steps 2 through 7 to install the other handle onto the adjacent refrigerator door.

Refrigerator and Freezer Drawers

  1. With the drawer closed, place the handle onto the shoulder screws so that the setscrews are facing down toward the floor.
    Refrigerator and Freezer Drawers - Step 1
    1. Shoulder screw
    2. Setscrews inside the handle
  2. Firmly push the handle toward the drawer until the handle base is flush against the drawer.
  3. Insert the short end of the hex key into the left-hand hole and slightly rotate the hex key until it is engaged in the setscrew.
    Refrigerator and Freezer Drawers - Step 2
  4. Using a left-to-right motion, tighten the setscrew a quarterturn at a time just until it begins to contact the shoulder screw. Do not fully tighten.
  5. Repeat steps 11 and 12 to fasten the right-hand setscrew to the shoulder screw.
  6. Once both setscrews have been partially tightened as instructed in the previous steps, fully tighten both setscrews.

    When the screws feel tight, tighten them an additional quarter-turn. The handle is not properly installed without this extra tightening.
  7. Save the hex key and all instructions.

Remove the Handles

  1. While holding the handle, insert the short end of the hex key into a setscrew hole and slightly rotate the hex key until it is engaged in the setscrew.
  2. Using a right-to-left motion, loosen the setscrew a quarterturn at a time.
  3. Repeat steps 1 and 2 for the other setscrew. Slowly pull the handle away from the door or drawer.
  4. If necessary, use a Phillips screwdriver to remove the shoulder screws from the door.

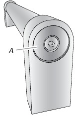
Remove and Replace Handle Medallions (optional)

The handles for your model have red medallions on the ends. Replacement medallions are available for purchase. See "Accessories" to order.

  1. Using a ¹⁄₈" hex key, remove the medallion from the end of the handle.
  2. Replace medallion.
  3. Using the fastener removed in Step 1, attach the medallion to the handle.

    A. Handle medallion

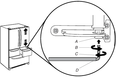
Refrigerator Leveling and Door Closing

The base grille covers the adjustable brake feet and roller assemblies located at the bottom of the refrigerator below the freezer drawer. Before making any adjustments, remove the base grille and move the refrigerator to its final location.
Tools Needed: ¹⁄₄" hex driver
Tools Provided: ¹⁄₈" hex key

  1. Remove the base grille. Using both hands, grasp the grille firmly and pull it toward you. Open the freezer drawer to access the brake feet.
    warning NOTE: To allow the refrigerator to roll easier, raise the brake feet by turning them counterclockwise. The front rollers will be touching the floor.
    Refrigerator Leveling and Door Closing
  2. Move the refrigerator to its final location.
  3. Using the ¹⁄₄" hex driver, lower the brake feet. Turn them clockwise until the rollers are off the floor and both brake feet are snug against the floor. This keeps the refrigerator from rolling forward when opening the refrigerator doors or freezer drawer.

    If you need to make further adjustments involving the brake feet, you must turn both brake feet the same amount to keep the refrigerator level.
  4. Make sure the doors close easily. If you are satisfied with the door opening and closing, skip the next section and go to Step 5. If, however, the doors do not close easily or the doors pop open, adjust the tilt.

To Adjust the Cabinet Tilt:

  • Open the freezer drawer. Use a ¹⁄₄" hex nut driver to turn both brake feet clockwise the same amount. This will raise the front of the refrigerator. It may take several turns to allow the doors to close easier.
    warning NOTE: Having someone push against the top of the refrigerator takes some weight off the brake feet. This makes it easier to turn them.

Style 1

  1. Brake foot
  2. Front roller

Style 2
To Adjust the Cabinet Tilt - Style 2
A.Brake foot

  1. Make sure the refrigerator is steady. If the refrigerator seems unsteady or rolls forward when a door or drawer is pulled open, adjust the brake feet.
    To Steady the Refrigerator:
    • Open the freezer drawer. Using a ¹⁄₄" hex driver, turn both brake feet clockwise the same amount until the brake feet are snug against the floor. Check again. If not satisfied, continue to adjust the brake feet by half turns of the screw until the refrigerator does not roll forward when the drawer is opened.
      warning NOTE: Having someone push against the top of the refrigerator takes some weight off the brake feet. This makes it easier to turn the screws.
  2. Replace the base grille by aligning the ends of the grille with the leveling assemblies on each side and snapping the grille into place.

FILTERS AND ACCESSORIES

Water Filtration System

Do not use with water that is microbiologically unsafe or of unknown quality without adequate disinfection before or after the system. Systems certified for cyst reduction may be used on disinfected waters that may contain filterable cysts.

Install the Water Filter

  1. Locate the accessory packet in the refrigerator and remove the water filter.
  2. Take the water filter out of its packaging and remove the cover from the O-rings. Be sure the O-rings are still in place after the cover is removed.
    Install the Water Filter - Step 1
    1. O-ring cover
    2. O-rings
  3. The water filter compartment is located in the right-hand side of the refrigerator ceiling. Push up on the compartment door to release the catch, and then lower the door.
    Install the Water Filter - Step 2
  4. Align the arrow on the water filter label with the cutout notch in the filter housing and insert the filter into the housing.
  5. Turn the filter clockwise 90 degrees (¹⁄₄ turn) until it locks into the housing.
    warning NOTE: If the filter is not correctly locked into the housing, the water dispenser will not operate. Water will not flow from the dispenser.
    Install the Water Filter - Step 3
  6. While the compartment door is still open, lift the filter up into the compartment. Then, close the filter compartment door completely.
  7. Flush the water system. See "Flushing the Water Filter" in the "Water and Ice Dispensers" section.

    If you do not flush the water system, you may experience dripping and/or decreased flow from the water dispenser.

The Water Filter Status Light

Press OPTIONS on the control panel to launch the Options menu. Press OPTIONS, under Filter Status, again to display the percentage of filter life remaining (from 99% to 0%). Press ICE/ WATER, under Back, to return to the Normal screen.

The Water Filter status lights will help you know when to change your water filter.

  • ORDER FILTER (yellow) - it is almost time to change the water filter. While you are dispensing water, "Order Filter" will blink seven times and sound an alert tone three times.
  • REPLACE FILTER (red) - Replace the water filter. While you are dispensing water, "Replace Filter" will blink seven times and an alert tone will sound three times.
  • RESET the Water Filter status tracking feature. After you replace the disposable filter with a new filter, closing the filter compartment door will automatically reset the filter status tracking feature. See "Using the Control(s)."

warning NOTE: "REPLACE FILTER" will remain illuminated if a filter is not installed or is installed incorrectly.

Replace the Water Filter

To purchase a replacement water filter, see "Accessories" in the User Guide, Use and Care Guide, or User Instructions.
Replace the disposable water filter when indicated on the water filter status display or at least every 6 months. If water flow to your dispenser or ice maker decreases noticeably, change the water filter sooner.

  1. Locate the water filter compartment in the right-hand side of the refrigerator ceiling. Push up to release and lower the compartment door.
  2. Turn the water filter counterclockwise (to the left), and pull it straight out of the compartment.
    warning NOTE: There may be some water in the filter. Some spilling may occur. Use a towel to wipe up any spills.
  3. Install the replacement water filter by following steps 2 through 7 in the "Install the Water Filter" section.

Install Air Filter (on some models)

An air filter is 15 times more powerful than baking soda at reducing common food odors inside the refrigerator.
On some models, your refrigerator's accessory packet includes an air filter which must be installed prior to use.

Installing the Air Filter

Install the air filter behind the vented door, located on the rear wall near the top of the refrigerator compartment.

  1. Remove the air filter from its packaging.
  2. Lift open the vented door.
  3. Snap the filter into place.
    Installing the Air Filter
    A. Air filter

Installing the Filter Status Indicator

The filter comes with a status indicator which should be activated and installed at the same time the air filter is installed.

  1. Place the indicator facedown on a firm, flat surface.
  2. Apply pressure to the bubble on the back of the indicator until the bubble pops to activate the indicator.
  3. Lift open the vented air filter door. On some models, there are notches behind the door.

Models with notches:

  • With the indicator screen facing outward, slide the indicator down into the notches.
    warning NOTE: The indicator will not easily slide into the notches if the bubble has not been popped.
  • Close the air filter door and check that the indicator is visible through the window in the door.
    Models with notches
  1. Status indicator window
  2. Air Filter status indicator
  3. Notches

Models without notches:

  • Place the indicator somewhere it is easily visible - either inside the refrigerator, or elsewhere in your kitchen or home.

Replacing the Air Filter

The disposable air filter should be replaced every 6 months when the status indicator has completely changed from white to red.

To order a replacement air filter, contact us. See "Accessories" in the User Guide, Use and Care Guide, or User Instructions for information on ordering.

  1. Remove the used air filter by squeezing in on the side tabs.
  2. Remove the used status indicator.
  3. Install the new air filter and filter status indicator using the instructions in the previous sections.

Install Produce Preserver (on some models)

The produce preserver absorbs ethylene to slow the ripening process of many produce items. As a result, certain produce items will stay fresh longer.
Ethylene production and sensitivity varies depending on the type of fruit or vegetable. To preserve freshness, it is best to separate produce with sensitivity to ethylene from fruits that produce moderate to high amounts of ethylene.

Sensitivity to Ethylene Ethylene Production
Apples High Very High
Asparagus Medium Very Low
Berries Low Low
Broccoli High Very Low
Cantaloupe Medium High
Carrots Low Very Low
Citrus Fruit Medium Very Low
Grapes Low Very Low
Lettuce High Very Low
Pears High Very High
Spinach High Very Low

Installing the Produce Preserver

For your convenience the suction mounted produce preserver can be installed in either the crisper or the refrigerated drawers.


IRRITANT
MAY IRRITATE EYES AND SKIN. DANGEROUS FUMES FORM WHEN MIXED WITH OTHER PRODUCTS.

Do not mix with cleaning products containing ammonia, bleach or acids. Do not get in eyes, on skin or clothing. Do not breathe dust. Keep out of reach of children.

FIRST AID TREATMENT: Contains potassium permanganate. If swallowed, call a Poison Control Center or doctor immediately. Do not induce vomiting. If in eyes, rinse with water for 15 minutes. If on skin, rinse with water.

  1. Wash the interior of a drawer with a solution of mild dish soap and warm water, and dry thoroughly.
  2. Find the package containing the Produce Preserver inside the refrigerator, and install the Produce Preserver into the drawer according to the instructions provided in the package.

Replacing the Produce Preserver

The disposable packet(s) should be replaced every 6 months or when the status indicator changes completely from white to red.
To order replacements, contact us. See "Accessories" for information on ordering.

  1. Remove the used packets from the produce preserver housing.
  2. Remove the used status indicator.
  3. Install the replacement packets and status indicator using the instructions included in the package.

Accessories

The following accessories are available for your refrigerator.
To order an accessory, contact us and ask for the part number.
In the U.S.A., visit our website www.kitchenaid.com or call 1-800-422-1230.
In Canada, visit our webpage www.kitchenaid.ca or call 1-800-807-6777.

affresh® Stainless Steel Cleaner: In U.S.A., order Part #W10355016 In Canada, order Part #W10355016B
affresh® Stainless Steel Wipes: In U.S.A., order Part #W10355049 In Canada, order Part #W10355049B
affresh® Kitchen & Appliance Cleaner: In U.S.A., order Part #W10355010 In Canada, order Part #W10355010B
Water Filter: In U.S.A., order Part #EDR2RXD1
Air Filter: Order Part #W10311524 or AIR1
Produce Preserver Starter kit: Order Part #P1UB6S1
Produce Preserver Refill kit: Order Part #P1KC6R1
Door Handle Medallions:
Order Part #W10762987 (Black)
Order Part #W10762993 (Chrome)

REFRIGERATOR USE

Opening and Closing Doors

There are two refrigerator compartment doors. The doors can be opened and closed either separately or together. There is also an automatic closing mechanism so the door(s) will not unintentionally be left open. If a door is open at a 40° or smaller angle, the door will automatically, softly close.


If the doors do not automatically close at a 40° or smaller angle, see "Bottom Door Hinge".

There is a vertically hinged seal on the left refrigerator door.

  • When the left-side door is opened, the hinged seal automatically folds inward so that it is out of the way.
  • When both doors are closed, the hinged seal automatically forms a seal between the two doors.

    A. Hinged seal

Using the Controls

The controls are located above the external dispenser.
Using the Controls - Step 1


The display screen on the dispenser control panel will turn off automatically and enter "sleep" mode when the control buttons and dispenser paddles have not been used for 2 minutes or more. Press any control button to reactivate the display screen. The home screen will appear as shown.
Using the Controls - Step 2

Viewing and Adjusting Temperature Set Points

For your convenience, your refrigerator and freezer controls are preset at the factory.
When you first install your refrigerator, make sure that the controls are still set to the recommended set points. The factory recommended set points are 37°F (3°C) for the refrigerator and 0°F (-18°C) for the freezer.

  • Wait 24 hours before you put food into the refrigerator. If you add food before the refrigerator has cooled completely, your food may spoil.
    warning NOTE: Adjusting the set points to a colder than recommended setting will not cool the compartments any faster.
  • If the temperature is too warm or too cold in the refrigerator or freezer, first check the air vents to be sure they are not blocked before adjusting the controls.
  • The recommended settings should be correct for normal household use. The controls are set correctly when milk or juice is as cold as you like and when ice cream is firm.
    warning NOTE: Areas such as a garage, basement, or porch may have higher humidity or extreme temperatures. You may need to adjust the temperature away from the recommended settings to accommodate for these conditions.
  • Wait at least 24 hours between adjustments. Recheck the temperatures before other adjustments are made.

View Temperature Set Points

  1. Press and hold TEMPERATURE for 3 seconds to activate Temperature mode.
    warning NOTE: To view temperature in degrees Celsius, press the Light button, under Units, when Adjust mode is activated. To return the display setting to Fahrenheit, press the Light button again.
    When Temperature mode is activated, press TEMP to toggle between Fridge and Freezer. The display will show the temperature set point of the selected compartment, and temperature adjusting information will appear on the display screen.

Recommended Refrigerator Temperature
Recommended Refrigerator Temperature

Recommended Freezer Temperature
Recommended Freezer Temperature

Adjust Temperature Set Points
Refrigerator set point range: 33°F to 42°F (0°C to 5.5°C)
Freezer set point range: -5°F to 5°F (-21°C to -15°C)

  1. When Temperature mode is activated, press TEMPERATURE to select the Refrigerator zone. The display will show the temperature set point of the selected compartment as shown.
  2. Press LOCK to raise the set point, or press OPTIONS to lower the set point.
  3. When you have finished viewing (and adjusting if desired) the refrigerator set point, press TEMPERATURE, under Select Zone, to change the display to show the freezer set point. When the zone has been changed, "FREEZER" appears on the display screen.
  4. Press the Lock button to raise the set point, or press the Options button to lower the set point.

Save/Confirm Temperature Settings

  • When you have finished adjusting both the refrigerator and freezer set points, press MEASURED FILL to confirm and to save the settings.

warning NOTE: To exit Temperature mode without saving changes, press the Ice/Water button under Back at any time, or allow about 60 seconds of inactivity. The temperature mode will turn off automatically and return to the Normal screen.

When adjusting temperature set points, use the following chart as a guide:

CONDITION: TEMPERATURE ADJUSTMENT:
REFRIGERATOR too cold REFRIGERATOR Setting 1° higher
REFRIGERATOR too warm REFRIGERATOR Setting 1° lower
FREEZER too cold FREEZER Setting 1° higher
FREEZER too warm / Too little ice FREEZER Setting 1° lower

Cooling On/Off

Your refrigerator and freezer will not cool when cooling is turned off.

  • To turn cooling off, press and hold the Lock and Measured Fill buttons at the same time for 3 seconds. The Cooling Off icon will blink seven times and then remain lit as shown.

  • To avoid unintentionally locking the dispenser or changing other settings, press both buttons at exactly the same time.
  • When cooling is OFF, the dispenser paddles and all controls, except Lock and Measured Fill, are disabled.
    Cooling On/Off
    Press LOCK and MEASURED FILL at the same time.
  • Press and hold LOCK and MEASURED FILL for 3 seconds again to turn cooling back on.

Options


All options are OFF (default) until selected.

  • Press the Options button to open the Options menu and select among the Max Ice, Filter Status and Max Cool features.
    warning NOTE: "Max Cool" and "Max Ice" illuminate to indicate when both features are on.
  • Press the Ice/Water button at any time to return to the home screen.
    Options

Max Ice
The Max Ice feature assists with temporary periods of heavy ice use by increasing ice production. Once selected, the Max Ice feature will remain on for 24 hours unless manually turned off.

  • To turn on the Max Ice feature, press the Options button to access the Options menu, then press TEMPERATURE, under Max Ice, to activate the feature. When the feature is ON, the Max Ice icon will appear on the dispenser display screen.
  • To manually turn off the Max Ice feature, press the Options button to enter Options mode (unless you are already in Options mode), then press TEMPERATURE, under Max Ice, again. When the feature has been turned off, the Max Ice icon will disappear from the dispenser display.

Filter Status
Displays the percentage of use remaining in the water filter (from 100% remaining to 0% remaining).
To access Filter Status, press the Options button to access the Options menu, and then press OPTIONS, under Filter Status, to display the percent of life remaining in the water filter.

ALSO
The Water Filter status lights will let you know when to change your water filter.

  • ORDER FILTER (Yellow) - Order a replacement water filter.
  • REPLACE FILTER (Red) - Replace the water filter. Replacing the disposable water filter will automatically reset the water filter status tracking feature. See "Water Filtration System."
    warning NOTE: REPLACE FILTER will remain illuminated if a filter is not installed or installed incorrectly.
    ALSO

Max Cool
The Max Cool feature assists with periods of high refrigerator use, full grocery loads, or temporarily warm room temperatures. Once selected, the Max Cool feature will remain on for 24 hours unless manually turned off.

warning NOTE: If you adjust the refrigerator temperature set point, Max Cool will turn off.

  • To turn on the Max Cool feature, press the Options button to access the Options menu, then press LOCK, under Max Cool, to activate the feature. When the feature is ON, the Max Cool icon will appear on the dispenser display screen.
  • To manually turn off the Max Cool feature, press the Options button to enter Options mode (unless you are already in Options mode), then press LOCK, under Max Cool, again. When the feature has been turned off, the Max Cool icon will disappear from the dispenser display.

Vacation Mode
In Vacation Mode, the freezer will defrost less often to conserve energy.

  • To turn on Vacation Mode, press and hold the Temperature and Options buttons at the same time for 3 seconds. When the feature is on, VAC will appear on the display as shown.
  • To turn off Vacation Mode, press and hold the Temperature and Options buttons at the same time for 3 seconds. VAC will disappear and the display will return to the settings as they were before Vacation Mode was turned on.
    Vacation Mode

warning NOTES:

  • During the first hour after Vacation Mode is turned on, opening and closing the refrigerator door will not affect the setting. After 1 hour has passed, opening and closing the refrigerator door will turn off Vacation Mode.
  • While in Vacation Mode, if Max Ice is turned on or the Door Ajar alarm sounds, Vacation Mode will be canceled.

Additional Features

Sabbath Mode
Sabbath Mode is designed for those whose religious observances require turning off the lights and dispensers.
In Sabbath Mode, the temperature set points remain unchanged, but the interior and dispenser lights turn off and all sounds, alarms, and dispenser paddles are disabled.

  • To turn on Sabbath Mode, press and hold LIGHT and OPTIONS at the same time for 3 seconds. When the feature turns on, "Sabbath Mode" will appear on the dispenser display.
  • To turn off Sabbath Mode, press and hold LIGHT and OPTIONS at the same time for 3 seconds. The screen will display the settings as they were before Sabbath Mode was turned on. However, the Max Cool and Max Ice features, will remain off until they are selected again.
    warning NOTES:
    • Turning "Cooling Off" will cancel Sabbath Mode.
    • If a power outage occurs while in Sabbath Mode, Power Outage will not be indicated on the display, no matter how long the power was out.

Door Ajar Alarm
The Door Ajar Alarm feature sounds an alarm when the refrigerator door(s), drawers, or freezer drawer is open for 5 minutes and cooling is turned on. The alarm will repeat every 2 minutes. Close all doors and drawer to turn it off. The feature then is reset and will reactivate when either door is left open again for 5 minutes.

warning NOTE: To mute the audible alarm while keeping the doors open, such as while cleaning the inside of the refrigerator, press any button on the control panel. The alarm sound will be temporarily turned off, but the Door Ajar icon will still be displayed on the dispenser control panel.

Disabling Sounds

  • To turn off control and dispenser sounds, press and hold ICE/ WATER and MEASURED FILL at the same time for 3 seconds. All normal operating tones are disabled. Only alert tones will be audible.
  • To turn all sounds back on, press and hold ICE/WATER and MEASURED FILL at the same time for 3 seconds again.

Power Outage
The Power Outage indicator lets you know if the power supply to the refrigerator has been off and the freezer temperature has risen to 18°F (-8°C) or higher.
The control panel temperature display will read "PO," and an alert tone will sound three times. "Confirm" will blink until you acknowledge the power outage by pressing MEASURED FILL under "Confirm."
Once the power outage has been confirmed, the "PO" will disappear, and the display will return to the Home screen.

Showroom Mode
This mode is used only when the refrigerator is on display in a retail store. If you unintentionally turn on Showroom mode, the word "Showroom" will light up on the display. Exit Showroom mode by pressing and holding LIGHT and LOCK at the same time for 3 seconds.

Refrigerator Features

Temperature Controlled Exterior Drawer


The left-hand refrigerated drawer has its own temperature control. This control sets the temperature for this drawer only. The temperature for the right-hand drawer is set to the same temperature as the main refrigerator compartment.

Temperatures have been preset for the storage of: Meat/Fish, Cold Drinks, Greens/Herbs, Deli/Cheese, and Thaw/Marinate. These preset temperatures cannot be adjusted.

  • Press SELECT to toggle through the temperature settings. The icon will illuminate when it is selected.
    Temperature Controlled Exterior Drawer
Meat/Fish 32°F (0°C)
Cold Drinks 34°F (1°C)
Greens/Herbs 36°F (2°C)
Deli/Cheese 38°F (3°C)
Thaw/Marinate 39°F (4°C)

Removable Interior Drawer Bins
The drawer bins are removable for ease in cleaning.

To remove and replace the interior bins:

  1. To remove, grasp the sides of the bin and lift up and out.
  2. To replace, with the rear of the bin facing the back of the refrigerator, lower the bin onto the drawer glides. See
    "Remove and Replace Drawer Fronts."

Adjustable Drawer Bin Dividers
Each refrigerated drawer has an interior drawer bin with a divider that can be inserted into one of three different positions or removed to customize the space for your food storage needs.

Easy Slide Bin

A shallow storage compartment with glass lids, which slide from side to side is located below and in front of the crisper drawers.
warning NOTE: This compartment is not temperature or humidity controlled, so it is not recommended for storing leafy vegetables.

Easy Slide Bin

  1. Crisper drawer handles
  2. Easy Slide bin

To remove Easy Slide bin:

  1. Remove all three crisper drawers.
  2. Hold the upper sliding lid near the trim and lift up to remove. Remove the lower lid.
  3. Grasp the front of the bin with both hands and lift up on the front to remove.

To replace Easy Slide bin:

  1. Slightly tilt the rear of the bin upward.
  2. Align the center rib and tabs on the Easy Slide bin with the ribs and slots in the cabinet.
  3. Lower the bin into place.

Herb Box
A box to store herbs and the water to keep them fresh is located within the Easy Slide bin. For your convenience, you can reposition the herb box anywhere along the length of the bin.

  1. Slide open one of the bin doors to access the herb box.
  2. Remove the herb box from the bin using two hands. One hand should hold the box while the other hand holds the lid.
  3. Grasp the handle between your fingers and lift up to remove the lid.
    warning NOTE: The bottom of the herb box is angled so that the roots of the herbs can be submerged in water while the leaves remain dry.
    Herb Box


Important information to know about glass shelves and covers:
Do not clean glass shelves or covers with warm water when they are cold. Shelves and covers may break if exposed to sudden temperature changes or impact, such as bumping. Tempered glass is designed to shatter into many small, pebble-size pieces. This is normal. Glass shelves and covers are heavy. Use both hands when removing them to avoid dropping.

Shelves and Shelf Frames

The shelves in your refrigerator are adjustable to meet your individual storage needs.
Storing similar food items together in your refrigerator and adjusting the shelves to fit different heights of items will make finding the exact item you want easier. It will also reduce the amount of time the refrigerator door is open and save energy.

To remove and replace a shelf/shelf frame:

  1. Remove the shelf/frame by tilting it up at the front and lifting it out of the shelf supports.
  2. Replace the shelf/frame by guiding the rear shelf hooks into the shelf supports. Tilt the front of the shelf up until rear shelf hooks drop into the shelf supports.
  3. Lower the front of the shelf and make sure that the shelf is in position.

Shelves with under-shelf lighting (on some models):

  • The hooks on the rear of the shelf must be fully engaged in the shelf supports to maintain proper electrical flow.
  • No more than two shelves with under-shelf lighting may be used in the refrigerator at one time.

Tuck Away Shelf (on some models)

To retract and extend the front section of the shelf:

  1. To retract the front-section of the shelf, slightly lift up on the front edge and push the adjustable portion of the shelf back toward the rear of the refrigerator.
  2. Extend the front of the shelf by pulling the retracted portion of the shelf outward until it is fully extended.
    Tuck Away Shelf (on some models)

Crisper Drawers

To remove and replace the drawers:

  1. Grasp the handle at the bottom of the drawer and slide the drawer straight out to the stop. Lift the drawer off the bottom guide.
  2. Replace the drawer by placing it on the bottom drawer guide and pushing it past the drawer stop into position.

To remove the crisper(s) cover:

  1. Remove crisper drawers.
  2. Holding the glass insert firmly with one hand, press up in center of glass insert until it rises above the plastic frame. Gently slide the glass insert forward to remove.
  3. Lift the cover frame up and remove it.

To replace crisper(s) cover:

  1. Fit back of cover frame into supports on side walls of the refrigerator and lower the front of the cover frame into place.
  2. Slide rear of glass insert into cover frame and lower front into place.
  3. Replace crisper drawers.

Refrigerator Door Bins

The bins on your refrigerator door are adjustable to meet your individual storage needs.

warning NOTE: The smallest door bin must be installed in the lowest position on the refrigerator door.

Water and Ice Dispensers

  • Allow 3 hours for the refrigerator to cool down and chill water.
  • Allow 24 hours to produce the first batch of ice. Discard the first three batches of ice produced.
  • The dispensing system will not operate when either the refrigerator door or freezer drawer is open.

Flush the Water System

Air in the water dispensing system can cause the water dispenser to drip. After connecting the refrigerator to a water source or replacing the water filter, flush the water system.
Flushing the water dispensing system, forces air from the water line and filter and prepares the water filter for use. Additional flushing may be required in some households.

warning NOTE: As air is cleared from the system water may spurt out of the dispenser.

  1. Using a sturdy container, depress and hold the water dispenser paddle for 5 seconds.
  2. Release the dispenser paddle for 5 seconds. Repeat steps 1 and 2 until water begins to flow.
  3. Once water begins to flow, continue depressing and releasing the dispenser pad (5 seconds on, 5 seconds off) until a total of 3 gal. (12 L) has been dispensed.

Calibrate Measured Fill

Household water pressure may affect the accuracy of the Measured Fill feature. So, for optimum performance of your water dispenser, you must first calibrate Measured Fill.

  • Flush the water system before calibrating Measured Fill.
  • For best results, calibration should be performed when water is not being used in the house.
  1. Place a sturdy measuring cup (1 cup [237 mL] size) on the dispenser tray centered in front of the water dispenser paddle.
    warning NOTE: Depending on your model, a measuring cup may be provided.
    1. Water dispenser paddle
    2. Measuring cup (1 cup)
  2. Press and hold the Options and Lock buttons at the same time for 3 seconds. The words "Back" and "1 Cup" will appear on the display screen. Also, the Calibrate Measured Fill icon will illuminate and remain lit while the Measured Fill feature is being calibrated.

    warning NOTE: You may press ICE MODE "Back" at any time to exit Calibration mode. The Calibrate Measured Fill icon will disappear.
    Calibrate Measured Fill - Step 1
  3. Press and release the dispenser paddle, as needed, to dispense water to the 1 cup fill line.
    warning NOTE: If overfilling or spilling occurs, discard the water and press ICE/WATER "Back" to restart the calibration process.
  4. When 1 cup of water has been correctly dispensed into the measuring cup, press the Measured Fill button under the word "Confirm" to confirm the calibration.
    Calibrate Measured Fill - Step 2
    A. 1 cup of water
  5. When Measured Fill calibration has been confirmed, the icons will disappear and the display will return to the home screen.

Dispensing

Press ICE/WATER to toggle through the following choices in a continuous loop:

  • Water (default) - Dispenses water.
  • Cubed - Dispenses cubed ice.
  • Crushed - Dispenses crushed ice.
    warning NOTES:
    • The word "ICE" appears on the display screen when either crushed or cubed ice is selected.
    • For crushed ice, cubes are crushed before being dispensed. This may cause a slight delay when dispensing crushed ice. Noise from the ice crusher is normal, and pieces of ice may vary in size.
    • When changing from crushed to cubed, a few ounces of crushed ice will be dispensed along with the first cubes.
      Dispensing

The Water Dispenser

  • Dispense at least 1 qt (1 L) of water every week to maintain a fresh supply.
  • If the flow of water from the dispenser decreases, it could be caused by low water pressure.
    • With the water filter removed, dispense 1 cup (237 mL) of water. If 1 cup (237 mL) of water is dispensed in 8 seconds or less, the water pressure to the refrigerator meets the minimum requirement.
    • If it takes longer than 8 seconds to dispense 1 cup (237 mL) of water, the water pressure to the refrigerator is lower than recommended. See "Water Supply Requirements" and "Troubleshooting" for suggestions.

To Dispense Water - Standard:

  1. Select WATER.
  2. Press a sturdy glass against the dispenser paddle.
  3. Remove the glass to stop dispensing.

To Dispense Water - Measured Fill:
Measured Fill allows you to dispense a specified amount of water with the touch of a few buttons.

warning NOTE: The amount of water you select will be dispensed. Make sure the container is empty and that it can hold the entire volume. If ice is in the container, you may need to adjust your selection.

  1. Press MEASURED FILL to turn the feature on. When the feature is ON, the Measured Fill screen appears on the display.
    The Water Dispenser

warning NOTES:

  • The dispenser will automatically turn off Measured Fill after 1 minute of inactivity. When Measured Fill is turned off, any changes you have made will be lost and all defaults will be restored.
  • Press ICE MODE, under "Back," to manually turn off the Measured Fill feature and return to the Home screen.
  1. Press LIGHT, under Units, to toggle among ounce, cup, and liter. The default unit is ounce.
    Default, minimum, and maximum volumes are listed in the following chart:
Units Default Minimum Maximum
Ounces 8 1 128
Cups 1 ¹/₄ 16
Liters 0.25 0.05 4.00
  1. Press the LOCK (+) or OPTIONS (-) button to adjust the volume as desired. The Lock control increases the volume, and the Options control lowers the volume.

warning NOTES:

  • When increasing or decreasing the dispense volumes, if an adjustment button (-/+) is held for approximately 10 seconds or longer, the control may stop responding. Release the button for approximately 2 seconds, and then continue making the adjustment.
  • Most coffee cups (commonly 4 to 6 oz [118 to 177 mL] per cup) are not the same size as a measuring cup (8 oz [237 mL]). You may need to adjust the volume to avoid unintentionally overfilling coffee cups.
  1. Dispense water.
    warning NOTE: While dispensing water, the digital display will count down how much water remains to be dispensed, according to the volume you selected. The flow of water will automatically stop once the desired volume has been dispensed.
    • Press a sturdy glass against the dispenser paddle.
      OR
    • Place the glass below the water dispenser and press MEASURED FILL, under Dispense, for hands-free dispensing.
  2. To stop dispensing before the selected volume has been dispensed, remove the glass from the dispenser lever OR press the Measured Fill button a second time.
    warning NOTE: If you stop dispensing before the desired volume has been dispensed, the digital display will continue to show how much water remains to be dispensed. The display will turn off after 1 minute of inactivity.
  3. To select a new volume or start dispensing the same volume again, you must first finish dispensing the selected volume or turn off the Measured Fill feature (either by waiting 1 minute, so it will automatically turn off, or by pressing ICE MODE to manually turn it off) and then turn it back on.

The Ice Dispenser

  • If the ice cubes are hollow or have an irregular shape, it could be because of low water pressure. See "Water Supply Requirements."
  • Ice travels from the ice storage bin through the dispenser chute to the dispenser. To turn off the ice maker, see "Ice Maker and Storage Bin."
  • The dispenser may continue to make noise and ice may continue to dispense for several seconds after releasing the dispenser button or paddle.

To Clean the Ice Dispenser Chute:
Humidity causes ice to naturally clump together. Ice particles can build up until the ice dispenser chute becomes blocked.
If ice is not dispensed regularly, it may be necessary to empty the ice storage bin and clean the ice delivery chute, the ice storage bin, and the area beneath the storage bin every 2 weeks.

  • If necessary, remove the ice clogging the storage bin and delivery chute using a plastic utensil.
  • Clean the ice delivery chute and the bottom of the ice storage bin using a warm, damp cloth, and then dry thoroughly.

To Dispense Ice:

  1. Select the desired type of ice. To switch between cubed ice and crushed ice, press ICE/WATER.

    Cut Hazard
    Use a sturdy glass when dispensing ice.
    Failure to do so can result in cuts.
  2. Press a sturdy glass against the dispenser paddle. Hold the glass close to the dispenser opening so ice does not fall outside of the glass.

    You do not need to apply a lot of pressure to the paddle to activate the ice dispenser. Pressing hard will not make the ice dispense faster or in greater quantities.
  3. Remove the glass to stop dispensing.

warning NOTE: Ice may continue to dispense for several seconds after removing the glass from the dispenser paddle. The dispenser may continue to make noise for a few seconds after dispensing.

The Dispenser Drip Tray

There is an insert in the dispenser drip tray. The insert can be removed from the drip tray to carry to the sink to empty or clean.

  • Push down on the rear edge of the insert to tilt up the front edge for easy removal.
    The Dispenser Drip Tray
    A. Dispenser tray insert

The Dispenser Light

When you use the dispenser, the light will automatically turn on.

To turn on the light when you are not dispensing:
Press LIGHT to toggle through the following choices in a continuous loop:

  • OFF (default): The dispenser light is OFF.
  • ON: The dispenser light is ON at 100% brightness.
  • DIM: The dispenser light is ON at 50% brightness.

The dispenser lights are LEDs that cannot be changed. If it appears that your dispenser lights are not working, see "Troubleshooting" for more information.

The Dispenser Lock

The dispenser can be disabled for easy cleaning or to avoid unintentional dispensing by small children and pets.

warning NOTE: The Lock feature does not shut off power to the refrigerator, to the ice maker, or to the dispenser light. It simply deactivates the controls and dispenser levers. To turn off the ice maker, see "Ice Maker and Storage Bin."

  • Press and hold LOCK for 3 seconds to lock the dispenser.
  • Press and hold LOCK for 3 seconds to unlock the dispenser.

The display screen indicates when the dispenser is locked.

Ice Maker and Ice Storage Bin (on some models)


To avoid low ice production and poor quality ice, flush the water system before turning on the ice maker. See "Water Dispenser."

  • Following installation, allow 24 hours to produce the first batch of ice. Discard the first three batches of ice produced. Allow 2 to 3 days to fill the ice storage bin.
  • The quality of your ice will be only as good as the quality of the water supplied to your ice maker. Avoid connecting the ice maker to a softened water supply. Water softener chemicals (such as salt) can damage parts of the ice maker and lead to poor quality ice. If a softened water supply cannot be avoided, make sure the water softener is operating properly and is well maintained.
  • If the ice in the storage bin clumps together, break up ice using a plastic utensil and discard. Do not use anything sharp to break up the ice. This can cause damage to the ice bin and the dispenser mechanism.
  • Do not store anything in the ice storage bin.

Style 1 - Ice Maker in the Refrigerator (on some models)

The ice maker is located on the left-hand side of the refrigerator compartment ceiling. Ice cubes are ejected into the ice storage bin, located on the left-hand refrigerator door.

Turn the Ice Maker On/Off

  1. Push up on the latch on the left-hand side of the ice compartment to open the door.
    Ice Maker in the Refrigerator - Step 1
    A.Ice compartment door latch
  2. Turn on the ice maker by moving the switch to the (left) On position.

warning NOTES:

  • To manually turn off the ice maker, move the control to the Off (right) position.
  • Your ice maker has an automatic shutoff. The sensor will automatically stop ice production if the storage bin is full, if the door is open, or the storage bin is removed. The control will remain in the On (left) position.
    Ice Maker in the Refrigerator - Step 2
    A. Ice storage bin release latch
  1. Close the ice compartment door.

Remove and Replace the Ice Storage Bin

  • Remove the ice storage bin by inserting your fingers into the hole at the base of the bin and squeezing the latch to release the bin from the compartment. Lift the storage bin up and pull it straight out.
  • Replace the storage bin inside the ice compartment and push down to make sure it is firmly in place.

Ice Production Rate

  • The ice maker should produce approximately 3 lbs (1.4 kg) of ice per day under normal operation.
  • To increase ice production, select the "Fast Ice" or "Max Ice" feature from the Options menu on the control panel. See "Using the Control(s)."

Style 2 - Ice Maker in the Freezer (on some models)

Turn the Ice Maker On/Off
To turn the ice maker on, simply lower the wire shut-off arm.
To manually turn the ice maker off, lift the wire shut-off arm to the off (arm up) position and listen for the click.

warning NOTE: Your ice maker has an automatic shutoff. As ice is made, the ice cubes will fill the ice storage bin and the ice cubes will raise the wire shut-off arm to the OFF (arm up) position. Do not force the wire shut-off arm up or down.

warning NOTE: Turn off the ice maker before removing the ice storage bin to serve ice or to clean the bin. This will keep the ice cubes from dropping out of the ice maker and into the freezer compartment. After replacing the ice storage bin, turn on the ice maker.

Ice Production Rate

  • The ice maker should produce a complete batch of ice approximately every 2 hours.

REFRIGERATOR CARE

Cleaning


Explosion Hazard
Use nonflammable cleaner.
Failure to do so can result in death, explosion, or fire.

Both the refrigerator and freezer sections defrost automatically. However, clean both sections about once a month to avoid buildup of odors. Wipe up spills immediately.

Exterior Cleaning

Please see the exterior cleaning information specific to your model.

Style 1 - Smooth Door


Damage to smooth finish due to improper use of cleaning products, or using non-recommended cleaning products, is not covered under the warranty. Sharp or blunt instruments will mar the finish.

DO USE DO NOT USE
✔ Soft, clean cloth ✘ Abrasive cloths
✘ Paper towels or newsprint
✘ Steel-wool pads
✔ Warm, soapy water - use a mild detergent. ✘ Abrasive powders or liquids
✘ Window sprays
✘ Ammonia
✘ Acidic or vinegar-based cleaners
✘ Oven cleaners
✘ Flammable fluids

warning NOTE: Paper towels scratch and may dull the clear coat of the painted door. To avoid possible damage, use only soft, clean cloths to polish and wipe the door.

Style 2 - Stainless Steel

  • Use recommended stainless steel cleaners and cloths only. Damage to stainless steel finish due to improper use of cleaning products, or using non-recommended cleaning products, is not covered under the warranty.
  • Avoid exposing stainless steel appliances to caustic or corrosive elements such as high-salt, high-moisture or high humidity environments. Damage due to exposure to these elements is not covered under the warranty.
DO USE DO NOT USE
✔ Soft, clean cloth ✘ Abrasive cloths
✘ Paper towels or newsprint
✘ Steel-wool pads
✔ Warm, soapy water ✘ Abrasive powders or liquids
✘ Ammonia
✘ Citrus-based cleaners
✘ Acidic or vinegar-based cleaners
✘ Oven cleaners
✔ For heavy soil, ONLY a stainless steel cleaner designed for appliances. To order the cleaner, see "Accessories." ✘ Stainless steel cleaner is for stainless steel parts only! Do not allow the Stainless Steel Cleaner and Polish to come into contact with any plastic parts such as the trim pieces, dispenser covers, or door gaskets.

warning NOTES:

  • If unintentional contact does occur, clean plastic part with a sponge and mild detergent in warm water. Dry thoroughly with a soft cloth.
  • Just because a cleaner is a liquid does not mean it is nonabrasive. Many liquid cleansers formulated to be gentle on tile and smooth surfaces still damage stainless steel.
  • Citric acid permanently discolors stainless steel. To avoid damaging the finish of your stainless steel refrigerator:

Do not allow these substances to remain on the finish

  • Mustard
  • Tomato juice
  • Marinara sauce
  • Citrus-based sauces
  • Citrus-based products

Interior Cleaning


Refrigerator shelves with under-shelf, LED lighting are not dishwasher safe.

  1. Unplug refrigerator or disconnect power.
  2. Hand wash, rinse, and dry removable parts and interior surfaces thoroughly. Use a clean sponge or soft cloth and a mild detergent in warm water.
    warning NOTE: Do not use abrasive or harsh cleaners such as window sprays, scouring cleansers, flammable fluids, cleaning waxes, concentrated detergents, bleaches, or cleansers containing petroleum products on plastic parts, interior and door liners, or gaskets.
  3. Plug in refrigerator or reconnect power.

Condenser Cleaning

There is no need for routine condenser cleaning in normal home operating environments. If the environment is particularly greasy or dusty, or there is significant pet traffic in the home, the condenser should be cleaned every 2 to 3 months to ensure maximum efficiency.

If you need to clean the condenser:

  1. Unplug refrigerator or disconnect power.
  2. Remove the base grille.
  3. Use a vacuum cleaner with a soft brush to clean the grille, the open areas behind the grille, and the front surface area of the condenser.
  4. Replace the base grille when finished.
  5. Plug in refrigerator or reconnect power.

Lights

The lights in both the refrigerator and freezer compartments are LEDs which do not need to be replaced. If the lights do not illuminate when the door or drawer is opened, call for assistance or service. In the U.S.A., call 1-800-253-1301. In Canada, call 1-800-807-6777.

Vacation and Moving Care

Vacations

If You Choose to Leave the Refrigerator On While You're Away:

  1. Use up any perishables and freeze other items.
  2. If your refrigerator has an automatic ice maker and is connected to the household water supply, turn off the water supply to the refrigerator. Property damage can occur if the water supply is not turned off.
  3. If you have an automatic ice maker, turn off the ice maker.
    warning NOTE: Depending on your model, raise the wire shut-off arm to Off (arm up) position, or press the switch to OFF.
  4. Empty the ice bin.
    Models with Vacation Mode Feature
    • Turn on Vacation mode. See "Using the Controls."
      warning NOTE: Activating Vacation mode does not turn off the ice maker.

If You Choose to Turn Off the Refrigerator Before You Leave:

  1. Remove all food from the refrigerator.
  2. If your refrigerator has an automatic ice maker:
    • Turn off the water supply to the ice maker at least one day ahead of time.
    • When the last load of ice drops, raise the wire shut-off arm to the Off (up) position or press the switch to OFF, depending on your model.
  3. Empty the ice bin.
  4. Turn off the Temperature control(s). See "Using the Control(s)."
  5. Clean refrigerator, wipe it, and dry well.
  6. Tape rubber or wood blocks to the tops of both doors to prop them open far enough for air to get in. This stops odor and mold from building up.

Moving

When you are moving your refrigerator to a new home, follow these steps to prepare it for the move.

  1. If your refrigerator has an automatic ice maker:
    • Turn off the water supply to the ice maker at least one day ahead of time.
    • Disconnect the water line from the back of the refrigerator.
    • When the last load of ice drops, raise the wire shut-off arm to the Off (up) position or press the switch to OFF, depending on your model.
  2. Remove all food from the refrigerator and pack all frozen food in dry ice.
  3. Empty the ice bin.
  4. Turn off the Temperature control(s). See "Using the Control(s)."
  5. Unplug refrigerator.
  6. Clean, wipe, and dry thoroughly.
  7. Take out all removable parts, wrap them well, and tape them together, so they don't shift and rattle during the move.
  8. Depending on the model, raise the front of the refrigerator so it rolls more easily OR raise the leveling screws so they don't scrape the floor. See "Align Doors and Drawers."
  9. Tape the doors closed and tape the power cord to the back of the refrigerator.

When you get to your new home, put everything back and refer to the "Installation Instructions" section for preparation instructions. Also, if your refrigerator has an automatic ice maker, remember to reconnect the water supply to the refrigerator.

TROUBLESHOOTING

First try the solutions suggested here. If you need further assistance or more recommendations that may help you avoid a service call, refer to the warranty page in this manual and scan the code with your mobile device, or visit http://kitchenaid.custhelp.com.
In Canada, visit www.kitchenaid.ca. (Website may not be compatible with some mobile devices).

Contact us by mail with any questions or concerns at the address below:

In the U.S.A.:
KitchenAid Brand Home Appliances Customer eXperience Center
553 Benson Road Benton Harbor, MI 49022-2692

In Canada:
KitchenAid Brand Home Appliances Customer eXperience Centre
200 – 6750 Century Ave. Mississauga, Ontario L5N 0B7

Please include a daytime phone number in your correspondence.


Electrical Shock Hazard
Plug into a grounded 3 prong outlet.

Do not remove ground prong.
Do not use an adapter.
Do not use an extension cord.
Failure to follow these instructions can result in death, fire, or electrical shock.

GENERAL OPERATION Possible Causes and/or Recommended Solutions
Refrigerator will not operate
  • Not connected to an electrical supply - Plug the power cord into a grounded 3 prong outlet. Do not use an extension cord.
  • No power to the electrical outlet - Plug in a lamp to see if the outlet is working.
  • Household fuse has blown or circuit breaker has tripped - Replace the fuse or reset the circuit breaker. If the problem continues, contact a licensed electrician.
  • Control or cooling is not turned on - Turn on the refrigerator control or turn cooling on. See "Using the Controls."
  • New installation - Following installation, allow 24 hours for the refrigerator and freezer to cool completely.
    warning NOTE: Adjusting the temperature control(s) to the coldest setting will not cool either compartment (refrigerator or freezer) more quickly.
  • Refrigerator control is in Showroom mode (on some models) - If the refrigerator is in Showroom mode, cooling is turned off and "Showroom" will be illuminated on the control panel. See "Using the Control(s)" for more information.
Motor seems to run too much
  • Your new refrigerator has an energy-efficient motor - The refrigerator may run longer than you're used to because the compressor and fans operate at lower speeds that are more energy efficient. This is normal.
    warning NOTE: Your refrigerator may run even longer if the room is warm, a large load of food is added, the doors are opened often, or if a door has been left open.
Lights do not work
  • Your refrigerator has been equipped with LED lighting which does not need to be replaced
    • If there is power to the refrigerator and the lights do not illuminate when a door or drawer is opened, call for service or assistance. See either the front cover or the Warranty for contact information.
  • The dispenser light is set to OFF - On some models, the dispenser light will operate only when the dispenser paddle is pressed. If you want the dispenser light to stay on continuously, see "Water and Ice Dispensers."
  • Doors have been open longer than 10 minutes - Close the doors and drawers to reset and open to resume lighted task.
Shelves with under-shelf LEDs do not light up (on some models)
  • Shelf hooks are not fully engaged in shelf supports - Check that the rear shelf hooks are completely seated into the slots in the shelf supports.
  • Shelf supports, fastened to the back wall of the refrigerator cabinet, are loose - Check all shelf support screws to ensure they are fully tightened. Tighten all loose screws.
  • Doors have been open for longer than 10 minutes - Close the doors and drawers to reset, and then open to resume lighted tasks.
Exterior drawer control not lit/unresponsive
  • The refrigerator is in Cooling Off mode - Exit Cooling Off mode. See "Using the Control(s)."
  • The refrigerator controls' initialization process did not complete successfully - Unplug the refrigerator, and wait 5 seconds. Plug in the refrigerator, and wait 30 seconds before opening the doors or drawers or touching the control panel.
  • The drawer front was recently removed - Make sure the temperature control wires have been properly reconnected. See "Remove and Replace Drawer Fronts."
Refrigerator seems noisy The compressor in your new refrigerator regulates temperature more efficiently and uses less energy than older models. During various stages of operation, you may hear normal operating sounds that are unfamiliar. The following noises are normal:
  • Buzzing/Clicking - Heard when the water valve opens and closes to dispense water or fill the ice maker. If the refrigerator is connected to a water line, this is normal. If the refrigerator is not connected to a water line, turn off the ice maker.
  • Repetitive Clicking - Dual evaporator is valve regulating the cooling operation.
  • Cracking/Clatter - Heard when ice is ejected from the ice maker mold and then falls into the ice storage bin.
  • Popping - Heard when the inside walls contract/expand, especially during initial cooldown.
  • Hissing/Dripping - Flow of refrigerant or flow of oil in the compressor.
  • Pulsating/Whirring - Heard when the fans/compressor adjust to optimize performance during normal operation.
  • Rattling - Heard when water passes through the water line or due to the flow of refrigerant. Rattling may also come from items placed on top of the refrigerator.
  • Water running or gurgling - Heard when ice melts during the Defrost cycle and water runs into the drain pan.
  • Sizzling - Heard when water drips onto the heater during the Defrost cycle.
  • Vibration - The refrigerator may not be steady. Adjust the leveling screws and lower the leveling foot until it is firmly against the floor. See "Align Doors and Drawers."
Temperature is too warm
  • New installation - Following installation, allow 24 hours for the refrigerator and freezer to cool completely.
    warning NOTE: Adjusting the temperature control(s) to the coldest setting will not cool either compartment (refrigerator or freezer) more quickly.
  • Cooling is turned off - Turn on cooling. See "Using the Control(s)."
  • Doors are opened often or not closed completely - This allows warm air to enter the refrigerator. Minimize door openings, keep the doors fully closed, and make sure both doors are properly sealed.
  • Air vents are blocked - Remove items that are immediately in front of the vents.
  • Large amount of warm food recently added - Allow several hours for the refrigerator to return to its normal temperature.
  • Controls are not set correctly for the surrounding conditions - Adjust the controls to a colder setting. Check the temperature again in 24 hours.
Temperature is too cold in the refrigerator/crisper
  • Controls are not set correctly for the surrounding conditions - Adjust the controls to a warmer setting. Check the temperature again in 24 hours.
  • Ice storage bin is not in the correct position - See "Ice Maker and Ice Storage Bin."
  • Air vents are blocked - Remove items that are immediately in front of the vents.
Temperature is too warm/ cold in the exterior drawer
  • Control is not set correctly for the items stored in the drawer - Adjust the temperature setting. See "Temperature Controlled Exterior Drawer."
Interior moisture buildup warning NOTE: Some moisture buildup is normal. Clean with a soft, dry cloth.
  • Room is humid - A humid environment contributes to moisture buildup. Only use the refrigerator in an indoor location with as little humidity as possible.
  • Doors are opened often or not closed completely - This allows humid air to enter the refrigerator. Minimize door openings, keep the doors fully closed, and make sure both doors are properly sealed.
Frost/Ice buildup in the freezer compartment
  • The drawer is opened often or left open - Minimize drawer openings and close drawer completely after use.
  • Poor drawer seal - Ensure drawer seal is making full contact with the cabinet to allow for an adequate seal.
  • Temperature control(s) are not set correctly - See "Using the Control(s)" for recommended temperature settings.


Explosion Hazard
Use nonflammable cleaner.
Failure to do so can result in death, explosion, or fire.

DOORS AND LEVELING Possible Causes and/or Recommended Solutions
Doors do not automatically close at a 40° or smaller angle
  • Bottom door hinge needs to be reset - See "Bottom Door Hinge" section.
Doors are difficult to open
  • Gaskets are dirty or sticky - Clean the gaskets and contact surfaces with mild soap and warm water. Rinse and dry with a soft cloth.
Doors will not close completely
  • Door is blocked open - Move food packages away from the door. Make sure all bins and shelves are in their correct positions. Make sure all packaging materials have been removed.
Doors appear to be uneven
  • Doors need to be aligned, or refrigerator needs to be leveled - See "Align Doors and Drawers."
Refrigerator unsteady or it rolls forward when opening and closing doors or drawers
  • Refrigerator brake feet are not snug against the floor - Remove the base grille. Turn both brake feet (one on each side) clockwise, the same amount, until they are snug against the floor. See "Align Doors and Drawers."


Cut Hazard
Use a sturdy glass when dispensing ice.
Failure to do so can result in cuts.

ICE AND WATER Possible Causes and/or Recommended Solutions
Ice maker is not producing ice, not producing enough ice, or producing small/hollow ice
  • Refrigerator is not connected to a water supply or the water supply shut-off valve is not fully turned on - Connect the refrigerator to a water supply and make sure the water shut-off valve is fully open.
  • Kink in the water source line - A kink in the water line can reduce water flow, resulting in decreased ice production, small ice cubes, and/or hollow or irregularly shaped ice. Straighten the water line.
  • Ice maker is not turned on - Turn on the ice maker. See "Ice Maker and Storage Bin."
  • New installation - After connecting the refrigerator to a water source, flush the water system. (See "Water and Ice Dispensers.") Wait 24 hours for ice production to begin. Wait 72 hours for full ice production. Discard the first three batches of ice produced.
  • Refrigerator door is not closed completely - Close the door firmly. If it does not close completely, see "The doors will not close completely."
  • A water filter is installed on the refrigerator - Remove the water filter and operate the ice maker. If ice volume improves, then the filter may be clogged or incorrectly installed. Replace filter or install it correctly.
  • Large amount of ice was recently removed - Allow sufficient time for the ice maker to produce more ice.
  • Ice is jammed in the ice maker ejector arm - Remove ice from the ejector arm using a plastic utensil.
  • Inadequate water pressure - Verify that the household has adequate water pressure. See "Water Supply Requirements."
  • Water filter is installed incorrectly - Make sure the filter is properly installed. See "Water Filtration System."
  • A reverse osmosis water filtration system is connected to your cold water supply - This can decrease water pressure. See "Water Supply Requirements."
warning NOTE: If questions remain regarding water pressure, contact a licensed, qualified plumber.
Ice dispenser will not operate properly
  • New installation - After connecting the refrigerator to a water source, flush the water system. (See "Water and Ice Dispensers.") Wait 24 hours for ice production to begin. Wait 72 hours for full ice production. Discard the first three batches of ice produced.
  • Ice maker is not turned on or ice bin is not installed correctly - Turn on the ice maker and make sure the ice storage bin is firmly in position. See "Ice Maker and Storage Bin."
  • Ice is clogged or frozen together in the ice storage bin or ice is blocking the ice delivery chute - Remove or separate the clogged ice, using a plastic utensil if necessary. Clean the ice delivery chute and the bottom of the ice storage bin using a warm damp cloth, and then dry both thoroughly. To avoid clogging and to maintain a fresh supply of ice, empty the storage bin and clean both the storage bin and the delivery chute every 2 weeks.
  • Dispenser is locked - Unlock the dispenser. See "Water and Ice Dispensers."
  • Ice dispenser jams while dispensing crushed ice - For models with the ice storage bin on the door, temporarily switch from crushed ice to cubed ice to clear the jam.
  • Dispenser pad/lever has been pressed too long - Ice will automatically stop dispensing. Wait a few minutes for the dispenser to reset, then resume dispensing. Take large amounts of ice directly from the ice bin, not through the dispenser.
  • Water pressure to the home is not at or above 35 psi (241 kPa) - The water pressure to the home affects the flow from the dispenser. See "Water Supply Requirements."
  • Water filter is clogged or incorrectly installed - Replace filter or reinstall it correctly. See "Water Filtration System."
Ice or water has an off-taste, odor, or gray color
  • New plumbing connections - New plumbing connections can result in off-flavored or discolored ice or water. This problem should go away over time.
  • Ice has been stored too long - Discard the ice and wash the ice bin. Allow 24 hours for the ice maker to produce new ice.
  • Odor has transferred from food - Use airtight moisture-proof packaging to store food.
  • Use of non-recommended water supply line - Odors and tastes can transfer from certain materials used in non-recommended water supply lines. Use only a recommended water supply line. See "Water Supply Requirements."
  • There are minerals (such as sulfur) in the water - A water filter may need to be installed in order to remove the minerals.
  • Water filter was recently installed or replaced - Gray or dark discoloration in ice or water indicates that the water filtration system needs additional flushing. See "Water and Ice Dispensers."
Water dispenser will not operate properly
  • Doors not closed completely - Make sure both doors are firmly closed. (On some models, only the freezer door must be closed in order to operate the dispenser.)
  • Refrigerator is not connected to a water supply or the water supply shut-off valve is not fully turned on - Connect the refrigerator to a water supply and make sure the water shut-off valve is fully open.
  • Kink in the water source line - A kink in the water line can reduce water flow to the dispenser. Straighten the water line.
  • Water pressure to the home is not at or above 35 psi (241 kPa) - The water pressure to the home affects the flow from the dispenser. See "Water Supply Requirements."
  • New installation - After connecting the refrigerator to a water source, flush the water system. See "Water and Ice Dispensers."
  • Water dispenser measured fill feature is not dispensing an accurate amount of water - Calibrate the water dispenser. See "Water and Ice Dispensers."
  • Dispenser is locked - Unlock the dispenser. See "Water and Ice Dispensers."
  • Water filter is clogged or incorrectly installed - Replace filter or reinstall it correctly. See "Water Filtration System."
  • A reverse osmosis water filtration system is connected to your cold water supply - This can decrease water pressure. See "Water Supply Requirements."
warning NOTE: If questions remain regarding water pressure, contact a licensed, qualified plumber.
Water is leaking or dripping from the dispenser warning NOTE: After dispensing, a few additional drops of water are normal.
  • Glass was not held under the dispenser long enough - Hold the glass under the dispenser for 2 to 3 seconds after releasing the dispenser pad/lever.
  • New installation or water filter was recently installed or replaced - Air in the water lines causes the water dispenser to drip. Flush the water system to remove the air in the water lines. See "Water and Ice Dispensers."
  • Residual ice in the dispenser chute is melting - Make sure the ice chute is free of ice shavings or pieces.
Water is leaking from the back of the refrigerator
  • Water line connections are not fully tightened - Make sure all connections are firmly tightened. See "Connect Water Supply."
Water from the dispenser is not cool enough (on some models) warning NOTE: Water from the dispenser is chilled to 50°F (10°C).
  • New installation - Allow 24 hours after installation for the water supply to cool completely.
  • Recently dispensed a large amount of water - Allow 24 hours for the new water supply to cool completely.
  • Water has not been recently dispensed - The first glass of water may not be cool. Discard the first glass of water dispensed.
  • Refrigerator is not connected to a cold water pipe - Make sure the refrigerator is connected to a cold water pipe. See "Water Supply Requirements."

PERFORMANCE DATA SHEET

Water Filtration System
Model P9WB2L/P9RFWB2L Capacity 200 Gallons (757 Liters)


System tested and certified by NSF International against NSF/ANSI Standard 42, Standard 53, and Standard 401 for the reduction of contaminants specified on the Performance Data Sheet.

This system has been tested according to NSF/ANSI Standards 42, 53 and 401 for the reduction of the substances listed below. The concentration of the indicated substances in water entering the system was reduced to a concentration less than or equal to the permissible limit for water leaving the system, as specified in NSF/ANSI Standards 42, 53, and 401.

Substance Reduction Aesthetic Effects Influent Challenge Concentration Maximum Permissable
Product Water Concentration
Average% Reduction
Chlorine Taste/Odor 2.0 mg/L ± 10% 50% reduction 97.0%
Particulate Class I* At least 10,000 particles/mL 85% reduction >99.9%
Contaminant Reduction Influent Challenge Concentration Maximum Permissable
Product Water Concentration
Average%Reduction
Lead: @ pH 6.5 / @ pH 8.5 0.15 mg/L± 10% 0.010 mg/L >99.3% / 98.6%
Benzene 0.015 mg/L ± 10% 0.005 mg/L 93.8%
p-Dichlorobenzene 0.225 mg/L ± 10% 0.075 mg/L 99.8%
Carbofuran 0.08 mg/L ± 10% 0.040 mg/L 81.9%
Toxaphene 0.015 ± 10% 0.003 mg/L >95%
Atrazine 0.009 mg/L ± 10% 0.003 mg/L 87.0%
Asbestos 107 to 108 fibers/L†† 99% >99%
Live Cysts 50,000/L min. 99.95% >99.99%
Turbidity 11 NTU ± 10% 0.5 NTU 96.9%
Lindane 0.002 ± 10% 0.0002 mg/L >99.2%
Tetrachloroethylene 0.015 mg/L ± 10% 0.005 mg/L 96.6%
O-Dichlorobenzene 1.8 mg/L ± 10% 0.60 mg/L 92.3%
Ethylbenzene 2.1 mg/L ± 10% 0.70 mg/L 86.9%
1,2,4-Trichlorobenzene 0.210 mg/L ± 10% 0.07 mg/L >99.8%
2,4 - D 0.210 mg/L ± 10% 0.07 mg/L 88.5%
Styrene 2.0 mg/L ± 10% 0.1 mg/L 99.6%
Toluene 3.0 mg/L ± 10% 1.0 mg/L 93.5%
Endrin 0.006 mg/L ± 10% 0.002 mg/L 81.7%
Atenolol 200 ± 20% 30 ng/L 95.7%
Trimethoprim 140 ± 20% 20 ng/L 96.1%
Linuron 140 ± 20% 20 ng/L 96.3%
Estrone 140 ± 20% 20 ng/L 95.3%
Nonylphenol 1400 ± 20% 200 ng/L 95.5%

Test Parameters: pH = 7.5 ± 0.5 unless otherwise noted. Flow = 0.75 gpm (2.84 Lpm). Pressure = 60 psig (413.7 kPa). Temp. = 68°F to 71.6°F (20°C to 22°C). Rated service capacity = 200 gallons (757 liters).
The compounds certified under NSF 401 have been deemed as "emerging compounds/incidental contaminants." Emerging compounds/incidental contaminants are those compounds that have been detected in drinking water supplies at trace levels. While occurring at only trace levels, these compounds can affect the public acceptance/perception of drinking water quality.

  • It is important that operational, maintenance, and filter replacement requirements be carried out for the product to perform as advertised. Property damage can occur if all instructions are not followed.
  • The disposable cartridge must be changed at least every 6 months.
  • Use replacement filter P9RFWB2L, part #EDR2RXD1/EDR2RXD1B. 2015 suggested retail price of $49.99 U.S.A./$49.99 Canada. Prices are subject to change without notice.
  • The filter monitor system measures the amount of water that passes through the filter and alerts you when it is time to replace the filter. Refer to the "Using the Controls" or "Water Filtration System" section (in the User Instructions or User Guide) to learn how to check the water filter status.
  • After changing the water filter, flush the water system. See "Water and Ice Dispensers" or "Water Dispenser" in the User Instructions or User Guide.
  • These contaminants are not necessarily in your water supply. While testing was performed under standard laboratory conditions, actual performance may vary.
  • The product is for cold water use only.
  • The water system must be installed in compliance with state and local laws and regulations.
  • Do not use with water that is microbiologically unsafe or of unknown quality without adequate disinfection before or after the system. Systems certified for cyst reduction may be used on disinfected waters that may contain filterable cysts. EPA Est. No. 082047-TWN-001

*Class I particle size: >0.5 to <1 um
Based on the use of Cryptosporidium parvum oocysts
††Fibers greater than 10 um in length ® NSF is a registered trademark of NSF International.

Application Guidelines/Water Supply Parameters

Water Supply

Water Pressure

Water Temperature

Service Flow Rate

City or Well

30 - 120 psi (207 - 827 kPa)

33° - 100°F (0.6° - 37.8°C)

0.75 gpm (2.84 L/min.) @ 60 psi

REFRIGERATOR SAFETY

Your safety and the safety of others are very important.
We have provided many important safety messages in this manual and on your appliance. Always read and obey all safety messages.

warning This is the safety alert symbol.
This symbol alerts you to potential hazards that can kill or hurt you and others.
All safety messages will follow the safety alert symbol and either the word "DANGER" or "WARNING."

These words mean:


You can be killed or seriously injured if you don't immediately follow instructions.


You can be killed or seriously injured if you don't follow instructions.

All safety messages will tell you what the potential hazard is, tell you how to reduce the chance of injury, and tell you what can happen if the instructions are not followed.

IMPORTANT SAFETY INSTRUCTIONS


To reduce the risk of fire, electric shock, or injury when using your refrigerator, follow these basic precautions:

  • Plug into a grounded 3 prong outlet.
  • Do not remove ground prong.
  • Do not use an adapter.
  • Do not use an extension cord.
  • Disconnect power before servicing.
  • Replace all parts and panels before operating.
  • Remove doors from your old refrigerator.
  • Connect to a potable water supply only.
  • Use nonflammable cleaner.
  • Keep flammable materials and vapors, such as gasoline, away from refrigerator.
  • Use two or more people to move and install refrigerator.
  • Disconnect power before installing ice maker (on ice maker kit ready models only).
  • Use a sturdy glass when dispensing ice (on some models).
  • Do not hit the refrigerator glass doors (on some models).
  • This appliance is not intended for use by persons (including children) with reduced physical, sensory or mental capabilities, or lack of experience and knowledge, unless they have been given supervision or instruction concerning use of the appliance by a person responsible for their safety.
  • Children should be supervised to ensure that they do not play with the appliance.

SAVE THESE INSTRUCTIONS

State of California Proposition 65 Warnings:


This product contains one or more chemicals known to the State of California to cause cancer.


This product contains one or more chemicals known to the State of California to cause birth defects or other reproductive harm.

Proper Disposal of Your Old Refrigerator


Suffocation Hazard
Remove doors from your old refrigerator.
Failure to do so can result in death or brain damage.


Child entrapment and suffocation are not problems of the past. Junked or abandoned refrigerators are still dangerous – even if they will sit for "just a few days." If you are getting rid of your old refrigerator, please follow these instructions to help prevent accidents.

Before You Throw Away Your Old Refrigerator or Freezer:

  • Take off the doors.
  • Leave the shelves in place so that children may not easily climb inside.


Important information to know about disposal of refrigerants:
Dispose of refrigerator in accordance with Federal and Local regulations. Refrigerants must be evacuated by a licensed, EPA certified refrigerant technician in accordance with established procedures.

Documents / Resources

References

Download manual

Here you can download full pdf version of manual, it may contain additional safety instructions, warranty information, FCC rules, etc.

Download KitchenAid KRMF706ESS - 25.8 Cu. Ft. 36" Multi-Door Freestanding Refrigerator Manual

Advertisement

Need help?

Need help?

Do you have a question about the KRMF706ESS and is the answer not in the manual?

Questions and answers

Table of Contents