Advertisement


Explosion Hazard
Risk of Fire or Explosion. Flammable Refrigerant Used. Do Not Use Mechanical Devices to Defrost Refrigerator. Do Not Puncture Refrigerant Tubing.
Both the refrigerator and freezer sections defrost automatically.
However, clean both sections about once a month to avoid odor buildup. Wipe up spills immediately.
Cleaning the Touch Screen Display on the Dispenser Panel (on some models):
Cleaning the Interior:
Refrigerator shelves with under-shelf, LED lighting are not dishwasher safe.
Cleaning the Exterior:
Damage to smooth finish due to improper use of cleaning products or using non-recommended cleaning products is not covered under the warranty. Sharp or blunt instruments will mar the finish.
Style 1: Smooth Door/Painted Metal
| DO USE | DO NOT USE |
| Soft, clean cloth |
|
| Warm, soapy water with a mild detergent |
|
NOTE: Paper towels scratch and may dull the clear coat of the painted door. To avoid possible damage, use only soft, clean cloths to polish and wipe the door.
Style 2: Stainless Steel
| DO USE | DO NOT USE |
| Soft, clean cloth |
|
| Warm, soapy water with a mild detergent |
|
| For heavy soil, use only a manufacturer's approved stainless steel cleaner and polish |
|
NOTES:
Do not allow these substances to remain on the finish:
Condenser Cleaning

Explosion Hazard
Risk of Fire or Explosion due to Puncture of Refrigerant Tubing; Follow Handling Instructions Carefully. Flammable Refrigerant Used.
There is no need for routine condenser cleaning in normal home operating environments. If the environment is particularly greasy or dusty or there is significant pet traffic in the home, the condenser should be cleaned every 6 months to ensure maximum efficiency.
The lights in both the refrigerator and freezer compartments use LED technology that do not need to be replaced. If the lights do not illuminate when the door or drawer is opened, call for assistance or service. Refer to the Quick Start Guide for contact information.
The lighting system in this appliance may consist of:
If an LED bulb does not illuminate when the refrigerator and/or freezer door is opened, replace with like bulb following this procedure:
Freezer Compartment Light (on some models)
Important information to know about glass shelves and covers:
Do not clean glass shelves or covers with warm water when they are cold. Shelves and covers may break if exposed to sudden temperature changes or impact, such as bumping. Tempered glass is designed to shatter into many small, pebble-size pieces. This is normal. Glass shelves and covers are heavy. Use both hands when removing them to avoid dropping.
The shelves in your refrigerator are adjustable to match your individual storage needs.
Storing similar food items together in your refrigerator and adjusting the shelves to fit different heights of items will make finding the exact item you want easier. It will also reduce the amount of time the refrigerator door is open, and save energy
Glass Shelves
To remove a shelf:
To replace a shelf:
Shelves with Shelf Frames
To remove and replace a shelf/shelf frame:
Shelves with Under-Shelf Lighting (on some models)
By moving LED lighting to a new spot under the shelves, this leading-edge technology improves interior refrigerator lighting and aids in locating storage items.
Shelves with Shelf Mounts
Shelf height can be adjusted by changing the adjustable shelf mounts between their vertical and horizontal positions.
To remove and replace shelves:
Tuck/Slide Away Shelf (on some models)
Some shelves will tuck/slide away to create room for taller objects.
To retract and extend the front section of the shelf:
Foldaway Shelf (on some models)
To retract the fold away shelf:
Retract the fold away section of the shelf by holding the front of the shelf with one hand and lifting up on the center front of the shelf. Then push back and down on the shelf until it slides beneath the back section of the shelf.
To replace the fold away shelf:
Replace the fold away section of the shelf by holding the front of the shelf with one hand and pulling the center of the shelf until the fold away section is returned to its full shelf position.

MicroEdge® Glo Shelves (on some models)
The hooks on the rear of the shelf must be fully engaged in the shelf supports to maintain proper electrical flow.
No more than two shelves with under-shelf lighting may be used in the refrigerator at one time.
There are two refrigerator compartment doors. The doors can be opened and closed either separately or together. On some models, there is a, automatic closing mechanism so the door(s) will not unintentionally be left open. If a door is open at a 40° or smaller angle, the door will automatically, softly close.
If the doors do not automatically close at a 40° or smaller angle, see "Bottom Door Hinge."
There is a vertically-hinged seal on the left refrigerator door. When the left-hand door is opened, the hinged seal automatically folds inward so that it is out of the way.
The refrigerator compartment door switch is located in the top left and right hinge cover.
NOTE: The light and internal user interface (UI) will not turn on if the door opening is not detected.

Vacation
If You Choose to Leave the Refrigerator On While You're Away:
If You Choose to Turn Off the Refrigerator Before You Leave:
Moving
When you are moving your refrigerator to a new home, follow these steps to prepare it for the move.
Excessive Weight Hazard
Use two or more people to move and install or uninstall appliance. Failure to do so can result in back or other injury.
Refrigerator Delivery
Remove the Packaging
Remove tape and glue residue from surfaces before turning on the refrigerator. Rub a small amount of liquid dish soap over the adhesive with your fingers. Wipe with warm water and dry. Do not use sharp instruments, rubbing alcohol, flammable fluids, or abrasive cleaners to remove tape or glue. These products can damage the surface of your refrigerator. For more information, see "Refrigerator Safety." Dispose of/recycle all packaging materials.
When Moving Your Refrigerator:
Your refrigerator is heavy. When moving the refrigerator for cleaning or service, be sure to cover the floor with cardboard or hardboard to avoid floor damage. Always pull the refrigerator straight out when moving it. Do not wiggle or "walk" the refrigerator when trying to move it, as floor damage could occur.
Clean Before Using
After you remove all of the packaging materials, clean the inside of your refrigerator before using it. See the cleaning instructions in "Refrigerator Care."
Important information to know about glass shelves and covers:
Do not clean glass shelves or covers with warm water when they are cold. Shelves and covers may break if exposed to sudden temperature changes or impact, such as bumping. Tempered glass is designed to shatter into many small, pebble-size pieces. This is normal. Glass shelves and covers are heavy. Use both hands when removing them to avoid dropping

Explosion Hazard
Keep flammable materials and vapors, such as gasoline, away from appliance. Use nonflammable cleaner. Failure to do so can result in death, explosion, or fire.
This appliance is intended to be used indoor for household and similar applications such as:
NOTE: If the manufacturer wants to limit the use of the appliance to less than the above, this has to be clearly stated in the instructions.
To ensure proper ventilation for your refrigerator, allow for a 1/2" (1.25 cm) of space on each side and at the top. Allow for a 1" (2.54 cm) space behind the refrigerator. If your refrigerator has an ice maker, allow extra space at the back for the water line connections. When installing your refrigerator next to a fixed wall, leave a 33/4" (9.5 cm) minimum space between the refrigerator and wall to allow the door to swing open.
NOTE: This refrigerator is intended for use in a location where the temperature ranges from a minimum of 55°F (13°C) to a maximum of 110°F (43°C). The preferred room temperature range for optimum performance, which reduces electricity usage and provides superior cooling, is between 60°F (15°C) and 90°F (32°C). It is recommended that you do not install the refrigerator near a heat source, such as an oven or radiator.


Electrical Shock Hazard
Plug into a grounded 3 prong outlet. Do not remove ground prong. Do not use an adapter. Do not use an extension cord. Failure to follow these instructions can result in death, fire, or electrical shock.
Before you move your refrigerator into its final location, it is important to make sure you have the proper electrical connection.
If the supply cord is damaged, it must be replaced by the manufacturer or its service agent or a similarly qualified person. Do not use a cord that shows cracks or abrasion damage along its length or at either the plug or connector end.
Recommended Grounding Method
A 115 V, 60 Hz, AC-only 15 A or 20 A fused, grounded electrical supply is required. It is recommended that a separate circuit serving only your refrigerator and approved accessories be provided. Use an outlet that cannot be turned off by a switch. Do not use an extension cord.
If this product is connected to a GFCI (Ground Fault Circuit Interrupter) protected outlet, nuisance tripping of the power supply may occur, resulting in loss of cooling. Food quality and flavor may be affected. If nuisance tripping has occurred, and if the condition of the food appears poor, dispose of the food.
NOTE: Before performing any type of installation or cleaning, or removing a light bulb, turn cooling off or turn the control (Thermostat, Refrigerator or Freezer Control depending on the model) to Off. On models with a digital temperature control, press the minus sign touch pads repeatedly until a dash (-) appears in both the freezer and refrigerator displays. Disconnect the refrigerator from the electrical source. When you are finished, reconnect the refrigerator to the electrical source and turn cooling on or reset the control (Thermostat, Refrigerator or Freezer Control depending on the model) to the desired setting. See the "Quick Start Guide".
Gather the required tools and parts before starting installation. Read and follow the instructions provided with any tools listed here.
Tools Needed:
Water Pressure
A cold water supply with water pressure of between 35 and 120 psi (241 and 827 kPa) is required to operate the water dispenser and ice maker. If you have questions about your water pressure, call a licensed, qualified plumber.
NOTE: If the water pressure is less than what is required, the flow of water from the water dispenser could decrease or ice cubes could be hollow or irregular shaped.
Reverse Osmosis Water Supply
The pressure of the water supply coming out of a reverse osmosis system going to the water inlet valve of the refrigerator needs to be between 35 and 120 psi (241 and 827 kPa).
If a reverse osmosis water filtration system is connected to your cold water supply, the water pressure to the reverse osmosis system needs to be a minimum of 40 to 60 psi (276 to 414 kPa).
If the water pressure to the reverse osmosis system is less than 40 to 60 psi (276 to 414 kPa):
Read all directions before you begin.
Tools Needed:
Gather the required tools and parts before starting installation.
NOTE: Your refrigerator dealer has a kit available with a 1/4" (6.35 mm) saddle-type shutoff valve, a union, and copper or PEX tubing. Before purchasing, make sure a saddle-type valve complies with your local plumbing codes. Do not use a piercingtype or 3/16" (4.76 mm) saddle valve which reduces water flow and clogs more easily.
Connect to Water Line
If you turn on the refrigerator before the water line is connected, turn off the ice maker.
Connect to Refrigerator
Depending on your model, the water line may come down from the top or up from the bottom. Follow the connection instructions for your model.
Style 1
Style 2

Electrical Shock Hazard
Plug into a grounded 3 prong outlet. Do not remove ground prong. Do not use an adapter. Do not use an extension cord. Failure to follow these instructions can result in death, fire, or electrical shock.
The air filter reduces the buildup of odors. This helps to maintain a cleaner environment inside your refrigerator. An air filter is 15 times more powerful than baking soda at reducing common food odors inside the refrigerator.
Your refrigerator's accessory packet includes an air filter, which must be installed prior to use. On some models, the air filter is already installed at the factory.

Installing the Air Filter
Depending on your model, the air filter can be installed in one of the following ways:
Style 1–Behind Vented Door:
Install the air filter behind the vented door, located on the rear wall near the top of the refrigerator compartment.
Style 2–Behind LED Vent Cover
Install the air filter behind the blue LED-lighted vent cover, located on the rear wall near the middle of the refrigerator.
Installing the Filter Status Indicator (on some models)
The air filter icon on the control panel displays the air filter status.
After replacing the air filter, press and hold the Air Filter button for 3 seconds. The filter icons will turn off. See "Quick Start Guide." When the system is reset, the air filter icon will return to its blue color and the words "Replace Filter" will disappear from the control panel.
NOTE: At any filter status, pressing and holding the Air Filter button for 3 seconds will reset the air filter status to Good and the air filter icon will turn off.
Replacing the Air Filter
The disposable air filter should be replaced every 6 months, or when the status indicator air filter icon turns on and starts flashing when the refrigerator door is opened.
To order a replacement air filter, see ordering information in the Quick Start Guide.
Air Filter Status Indicator—Standard Installation
The filter comes with a status indicator, which should be activated and installed at the same time the air filter is installed.

On models with notches:
Replacing the Air Filter
The disposable air filter should be replaced every 6 months, when the status indicator has completely changed from white to red.
To order a replacement air filter, see ordering information in the Quick Start Guide.
Your refrigerator's accessory packet includes a Produce Preserver, which should be installed prior to use. On some models, the Produce Preserver is already installed at the factory. To order a replacement produce preserver, use part number W10346771.
The Produce Preserver absorbs ethylene, allowing the ripening process of many produce items to slow down. As a result, certain produce items will stay fresh longer.
Ethylene production and sensitivity varies depending on the type of fruit or vegetable. To preserve freshness, it is best to separate produce with sensitivity to ethylene from fruits that produce moderate to high amounts of ethylene.
| Sensitivity to Ethylene | Ethylene Production | |
| Apples | High | Very High |
| Asparagus | Medium | Very Low |
| Berries | Low | Low |
| Broccoli | High | Very Low |
| Cantaloupe | Medium | High |
| Carrots | Low | Very Low |
| Citrus Fruit | Medium | Very Low |
| Grapes | Low | Very Low |
| Lettuce | High | Very Low |
| Pears | High | Very High |
| Spinach | High | Very Low |
Installing the Produce Preserver
IRRITANT. MAY IRRITATE EYES AND SKIN. DANGEROUS FUMES FORM WHEN MIXED WITH OTHER PRODUCTS.
Do not mix with cleaning products containing ammonia, bleach, or acids. Do not get in eyes, on skin or clothing. Do not breathe dust. Keep out of reach of children.
FIRSTAID TREATMENT: Contains potassium permanganate. If swallowed, call a Poison Control Center or doctor immediately. Do not induce vomiting. If in eyes, rinse with water for 15 minutes. If on skin, rinse with water.
Style 1–Located Inside the Refrigerator:
Style 2–Located in Crisper or Refrigerator Drawers:
For your convenience, the suction-mounted produce preserver can be installed in either the crisper or the refrigerated drawers.
Installing the Status Indicator
The Produce Preserver comes with a status indicator, which should be activated and installed at the same time the pouch is installed.

Replacing the Produce Preserver Pouches
The disposable pouches should be replaced every 6 months, when the status indicator has completely changed from white to red.
To order replacements, see the contact information in the Quick Start Guide. Order part number W10346771A or FRESH1.
You can control the amount of humidity in the moisture-sealed crisper. Depending on your model, adjust the control to any setting between Fruit and Vegetables or Low and High.
Fruit/Low (open):
Move control to allow moist air out of the crisper for best storage of fruits and vegetables with skins.
Vegetables/High (closed):
Move control to keep moist air in the crisper for best storage of fresh, leafy vegetables.
For additional information on how to use your water and ice dispensers, see the online "Dispensing Guide."
Flush the Water System
Air in the water dispensing system can cause the water dispenser to drip. After connecting the refrigerator to a water source or replacing the water filter, flush the water system.
Flushing the water dispensing system forces air from the water line and filter and prepares the water filter for use. Additional flushing may be required in some households.
NOTE: As air is cleared from the system, water may spurt out of the dispenser.
The Water Dispenser
Dispense at least 1 quart (1 L) of water every week to maintain a fresh supply.
If the flow of water from the dispenser decreases, it could be caused by low water pressure.
Cleaning the Ice Dispenser Chute
Humidity causes ice to naturally clump together. Ice particles can build up until the ice dispenser chute becomes blocked.
If ice is not dispensed regularly, it may be necessary to empty the ice storage bin and clean the ice delivery chute, the ice storage bin and the area beneath the storage bin every 2 weeks.
To avoid low ice production and poor quality ice, flush the water system before turning on the ice maker. See "Water and Ice Dispenser" for details.
Ice Production Rate
Allow 24 hours to produce the first batch of ice. Discard the first three batches of ice produced.
Allow 3 days to completely fill the ice storage bin. The ice maker should produce approximately 3 lbs (1.4 kg) (8 to 12 batches) of ice in a 24-hour period.
To increase ice production, lower the freezer and refrigerator temperature, or see "Control Panel Descriptions" in the Quick Start Guide for details. Wait 24 hours between adjustments.
Ice Maker in the Freezer
Turn the Ice Maker On/Off:
Turn the Ice Maker On/Off for Icemaker without a switch:
To turn on the ice maker, simply lower the wire shutoff arm.
To manually turn the ice maker off, lift the wire shutoff arm to the off (arm up) position and listen for the click.
Your ice maker has an automatic shutoff. As ice is made, the ice cubes will fill the ice storage bin and the ice cubes will raise the wire shutoff arm to the off (arm up) position. Do not force the wire shutoff arm up or down.
For icemakers with a switch:
For icemakers with a switch, use the switch to turn ON or Off the icemaker.

NOTE: Turn off the ice maker before removing the ice storage bin to serve ice or to clean the bin. This will keep the ice cubes from dropping out of the ice maker and into the freezer compartment. After replacing the ice storage bin, turn on the ice maker.
Wash the ice storage bin with mild soap and warm water.
Slide the ice storage bin under the ice maker and push it toward the back as far as it will go.
Auto Ice Storage Bin (on some models):
Your ice storage bin has a lever which allows the storage bin to slide out with the drawer when it is pulled open or to stay in place.
Move the lever to the right to attach the ice storage bin to the freezer drawer. Move the lever to the left to release the ice storage bin from the freezer drawer.

Ice Maker in the Refrigerator (on some models)
Style 1—Left-Hand Refrigerator Door
The ice maker is located on the left-hand side of the refrigerator door. Ice cubes are ejected into the ice storage bin, located on the left-hand refrigerator door.
Turn the Ice Maker On/Off:
Remove and Replace the Ice Storage Bin:
Style 2—Upper Left-Hand Side of the Refrigerator Compartment
The ice maker and storage bin are located in the upper left-hand side of the refrigerator compartment.
Some models have an on/off switch located on the ice maker. To turn on the ice maker, press the switch to the On position. To manually turn off the ice maker, press the switch to the Off position.
To manually turn off the ice maker, see the Quick Start Guide for more information.
Remove and Replace the Ice Storage Bin:
To remove the ice storage bin, it may be necessary to turn the auger driver, behind the ice bin, counterclockwise to properly align the ice bin with the auger driver. The ice storage bin must be locked in place for proper ice dispensing.

Style 3—Left-Hand Door Behind the Refrigerator Bins
The ice maker is located on the left door behind the bins. Ice cubes are ejected into the ice storage bin located on the left-hand refrigerator door.
Turn the Ice Maker On/Off:
Remove and Replace the Ice Storage Bin:
Do not use with water that is microbiologically unsafe or of unknown quality without adequate disinfection before or after the system. Systems certified for cyst reduction may be used on disinfected waters that may contain filterable cysts.
The disposable water filter should be replaced at least every 6 months. If the water flow to the water dispenser or ice maker decreases noticeably before 6 months have passed, replace the water filter more often.
Install the Water Filter
To order a replacement filter, contact us at www.whirlpool.com/ Parts & Accessories. See the "Quick Start Guide" for details.
NOTE: If the filter is not installed correctly, water may dispense at a lower flow rate and there will be slower ice production. Improper filter installation may also cause the water filter housing to leak.
Style 1 — Bottom Left of Refrigerator Compartment
Style 2— Right-Hand Side of Refrigerator Ceiling
Style 3— Top-right Corner of Refrigerator Ceiling

Replacing the Water Filter
To purchase a replacement water filter, use model number UKF8001AXX-200 or UKF8001AXX-750, contact your dealer, or call 1-800-422-9991 in the U.S.A. or 1-800-807-6777 in Canada.
Air trapped in the water system may cause water and filter to eject. Always dispense water for at least 2 minutes before removing the filter or blue bypass cap.
Reset Water Filter Status
After replacing the water filter, press and hold Reset Filter or Filter Reset (depending on your model) for 3 seconds. The Order and Replace indicator lights will blink and then go off when the system is reset. On some models the indicator light will change to blue when the system is reset. See the "Quick Start Guide" for more information.
On models with Options and Measured Fill buttons located on the control panel:
After changing the water filter, reset the status light. Press the Options button to enter Options mode, then press Lock to initiate the reset, then press Measured Fill to confirm that you want to reset the status light. When the system is reset, the "Order" and "Replace" icons will disappear from the display screen.
On models with Water Filter button located on the control panel:
After changing the water filter, reset the status. Press and hold the Water Filter button for 3 seconds. When the system is reset, the water filter icon will return to Blue and the words "Replace Filter" will disappear from the display.
Depending on the width of your doorway, you may need to remove the doors to move the refrigerator into your home. Also, the door hinges are factory installed on the right-hand side. If you want the door to open from the other direction, you must reverse the door swing.
Tools Needed: 5/16", 3/8", and 1/4" hex head socket wrenches, Torx®† T25 screwdriver, #2 Phillips screwdriver, and a flat-blade screwdriver.
REFRIGERATOR DOOR HANDLES
Refrigerator Door Handle Style 1

Refrigerator Door Handle Style 2

Refrigerator Door Handle Style 3

Refrigerator Door Handle Style 4

Refrigerator Door Handle Style 5

Freezer Door Handle Style 1

Freezer Door Handle Style 2

Freezer Door Handle Style 3

Freezer Door Handle Style 4

Freezer Door Handle Style 5


Electrical Shock Hazard
Disconnect power before removing doors. Failure to do so could result in death or electrical shock.
BASE GRILLE
Style 1

Style 2

Style 3

Remove Right-Hand Refrigerator Door
Remove Left-Hand Refrigerator Door
On models with a water dispenser, the tubing and wiring for the water dispenser run through the left-hand door hinge, so they must be disconnected before removing the door.
For your convenience, the refrigerator doors have bottom hinges with door closers. These closers allow the doors to swing fully closed with just a gentle push.
So that the closers feature will operate properly, the doors must be removed only when open to a 90° angle to the front of the cabinet. If one or both doors were not at a 90° angle when removed, the bottom door hinge must be reset.

Replace Right-Hand Refrigerator Door
Replace Left-Hand Refrigerator Door
Do not intertwine the water tubing and wiring bundles when reconnecting them
Final Steps
Depending on the width of your door opening, it may be necessary to remove the drawer fronts to move the refrigerator into your home.
REMOVE DRAWER FRONT
Tools Needed: 1/4" Hex head nut driver, Flat-blade screwdriver
Disconnect Wiring (if applicable)
NOTES:
Style 1: Bottom Release Lever
Style 2: Bottom Screws
REPLACE DRAWER FRONT
Remove and Replace Freezer Drawer Front
Depending on the width of your door opening, it may be necessary to remove the freezer drawer front to move the refrigerator into your home.
Tools Needed: 1/4" hex driver
REMOVE DRAWER
Front Style 1 & 2
| Style 1 | Style 2 |
![]() | ![]() |
|
|
Slide the drawer glides back into the freezer.
Front Style 3
REPLACE DRAWER
Front Style 1 and 2
| Style 1 | Style 2 |
![]() | ![]() |
|
|
Front Style 3
The base grille covers the adjustable brake feet and roller assemblies located at the bottom of the refrigerator below the freezer drawer. Before making any adjustments, remove the base grille and move the refrigerator to its final location.
Tools Needed: 1/4" hex driver
Tools Provided: 1/8" hex key
To Adjust the Cabinet Tilt:
![]() | ![]() |
|
|
Make sure the doors are even at the top and that the space between the bottom of the refrigerator doors and the top of the freezer drawer is even. If necessary, align the doors.
To Align the Doors:
Keeping both refrigerator doors closed, pull out the freezer drawer. Locate the bottom hinge pin of the right-hand refrigerator door. The alignment screw is inside the bottom hinge pin.
Insert the short end of the 1/8" hex key (packed with the Door Handle Installation Instructions) into the bottom hinge pin until it is fully engaged in the alignment screw.
To raise the refrigerator door, turn the hex key to the right.
To lower the door, turn the hex key to the left.
Continue to turn the alignment screw until the doors are aligned.

Make sure the refrigerator is steady. If the refrigerator seems unsteady or rolls forward when a door or drawer is pulled open, adjust the brake feet.
To Steady the Refrigerator:
Open the freezer drawer. Using a 1/4" hex driver, turn both brake feet clockwise the same amount until the brake feet are snug against the floor. Check again. If you are not satisfied, continue to adjust the brake feet by half turns of the screw until the refrigerator does not roll forward when the drawer is opened.
NOTE: Having someone push against the top of the refrigerator takes some weight off the leveling screws. This makes it easier to turn the screws.
After making all appropriate adjustments, replace the base grille by aligning the ends of the grille with the leveling assemblies on each side and snapping the grille into place. Use a 1/4" hex driver to reinstall screws if applicable.
Final Steps

Electrical Shock Hazard
Plug into a grounded 3 prong outlet. Do not remove ground prong. Do not use an adapter. Do not use an extension cord. Failure to follow these instructions can result in death, fire, or electrical shock.
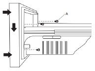
Align Refrigerated Drawer Fronts (on some models)
When the drawer fronts are aligned, the width of the vertical space (A) between the refrigerator doors (B) and the drawer fronts (C) is the same thickness, and the drawers appear level.

Aligning the drawer fronts is a two-step process. The first step is to adjust the drawer fronts up and down. The second step shifts the drawer fronts from side to side. Visually inspect the refrigerator for alignment and adjust the drawer fronts as needed.
Step 1 - Adjust the Drawer Fronts Up/Down
Each refrigerated drawer can be adjusted up and down on both the left and the right sides.

Tools Needed: Phillips screwdriver
Step 2 - Adjust the Drawer Fronts Side to Side
Each refrigerated drawer can be adjusted side to side on both the left and right side.

FINAL STEPS
Water Filtration System
Model P9WB2L/EDR2RXD1 Capacity 200 Gallons (757 Liters)
This system has been tested by an independent laboratory according to NSF/ANSI Standards 42, 53, 401 and CSA B483.1 for the reduction of the substances listed below. The concentration of the indicated substances in water entering the system was reduced to a concentration less than or equal to the permissible limit for water leaving the system, as specified in NSF/ANSI Standards 42, 53, 401 and CSA B483.1.
| Substance Reduction Aesthetic Effects | Influent Challenge Concentration | Maximum Permissible Product Water Concentration | Average % Reduction |
| Chlorine Taste/Odor Particulate Class I* | 2.0 mg/L ± 10% At least 10,000 particles/mL | 50% reduction 85% reduction | 97.2% 99.9% |
| Contaminant Reduction | Influent Challenge Concentration | Maximum Permissible Product Water Concentration | Average % Reduction |
| Lead: @ pH 6.5 / @ pH 8.5 | 0.15 mg/L ± 10% | 0.010 mg/L | >99.3% / 98.6% |
| Benzene | 0.015 mg/L ± 10% | 0.005 mg/L | 96.0% |
| P-Dichlorobenzene | 0.225 mg/L ± 10% | 0.075 mg/L | >99.8% |
| Carbofuran | 0.08 mg/L ± 10% | 0.040 mg/L | 91.9% |
| Toxaphene | 0.015 ± 10% | 0.003 mg/L | 93.3% |
| Atrazine | 0.009 mg/L ± 10% | 0.003 mg/L | 92.4% |
| Asbestos | 107 to 108 fibers/L†† | 99% | >99% |
| Live Cysts† | 50,000/L min. | 99.95% | >99.99% |
| Turbidity | 11 NTU ± 10% | 0.5 NTU | 99.0% |
| Lindane | 0.002 ± 10% | 0.0002 mg/L | 98.9% |
| Tetrachloroethylene | 0.015 mg/L ± 10% | 0.005 mg/L | >96.6% |
| o-Dichlorobenzene | 1.8 mg/L ± 10% | 0.60 mg/L | >99.9% |
| Ethylbenzene | 2.1 mg/L ± 10% | 0.70 mg/L | 99.4% |
| 1,2,4-Trichlorobenzene | 0.210 mg/L ± 10% | 0.07 mg/L | >99.8% |
| 2,4 - D | 0.210 mg/L ± 10% | 0.07 mg/L | 93.8% |
| Styrene | 2.0 mg/L ± 10% | 0.1 mg/L | 99.8% |
| Toluene | 3.0 mg/L ± 10% | 1.0 mg/L | 87.9% |
| Endrin | 0.006 mg/L ± 10% | 0.002 mg/L | >96.6% |
| Atenolol | 200 ± 20% | 30 ng/L | >95.9% |
| Trimethoprim | 140 ± 20% | 20 ng/L | >96.9% |
| Linuron | 140 ± 20% | 20 ng/L | >96.4% |
| Estrone | 140 ± 20% | 20 ng/L | >97.0% |
| Nonylphenol | 1400 ± 20% | 200 ng/L | >97.4% |
| Carbamazepine | 1400 ± 20% | 200 ng/L | >97.9% |
| Phenytoin | 200 ± 20% | 30 ng/L | 93.8% |
| Naproxen | 140 ± 20% | 20 ng/L | 96.1% |
| Bisphenol A | 2000 ± 20% | 300 ng/L | >99.2% |
Test Parameters: pH = 7.5 ± 0.5 unless otherwise noted. Flow = 0.6 gpm (2.27 Lpm). Pressure = 60 psig (413.7 kPa). Temp. = 68°F to 71.6°F (20°C to 22°C). Rated service capacity = 200 gallons (757 liters).
The compounds certified under NSF 401 have been deemed as "emerging compounds/incidental contaminants." Emerging compounds/ incidental contaminants are those compounds that have been detected in drinking water supplies at trace levels. While occurring at only trace levels, these compounds can affect the public acceptance/perception of drinking water quality.
| Water Supply | Potable City or Well |
| Water Pressure | 30 psi - 120 psi (207 kPa - 827 kPa) |
| Water Temperature | 33° - 100°F (0.6° - 37.8°C) |
| Service Flow Rate | 0.6 GPM (2.27 L/min.) @ 60 psi. (413.7 kPa) |
Your safety and the safety of others are very important.
We have provided many important safety messages in this manual and on your appliance. Always read and obey all safety messages.
This is the safety alert symbol.
This symbol alerts you to potential hazards that can kill or hurt you and others.
All safety messages will follow the safety alert symbol and either the word "DANGER" or "WARNING."
These words mean:
You can be killed or seriously injured if you don't immediately follow instructions.
You can be killed or seriously injured if you don't follow instructions.
All safety messages will tell you what the potential hazard is, tell you how to reduce the chance of injury, and tell you what can happen if the instructions are not followed.
IMPORTANT SAFETY INSTRUCTIONS
To reduce the risk of fire, electric shock, or injury to persons when using your appliance, follow basic precautions, including the following:
SAVE THESE INSTRUCTIONS
Proper Disposal of Your Old Refrigerator
Risk of child entrapment. Before you throw away your old refrigerator or freezer:
Suffocation Hazard
Remove doors or lid from your old appliance. Failure to do so can result in death or brain damage.
Child entrapment and suffocation are not problems of the past. Junked or abandoned freezers or refrigerators, are still dangerous, even if they will sit for "just a few days." If you are getting rid of your old refrigerator or freezer, please follow these instructions to help prevent accidents.
Important information to know about disposal of refrigerants: Dispose of refrigerator in accordance with Federal and Local regulations. Refrigerants must be evacuated by a licensed, EPA certified refrigerant technician in accordance with established procedures.

Here you can download full pdf version of manual, it may contain additional safety instructions, warranty information, FCC rules, etc.
Advertisement


































Need help?
Do you have a question about the KRFF577 and is the answer not in the manual?
Questions and answers