Advertisement

| Model: | XPS01 | |
| Blade diameter | 165 mm (6-1/2') | |
| Max. Cutting depth | at 0° | 56 mm (2-3/16') |
| at 45° bevel | 40 mm (1-9/16') | |
| at 48° bevel | 38 mm (1-1/2') | |
| No load speed | 2,500 - 6,300 /min | |
| Overall length | 346 mm (13-5/8') | |
| Rated voltage | D.C. 36 V | |
| Battery cartridge | BL1815N, BL1820B, BL1830, BL1830B, BL1840B, BL1850B, BL1860B | |
| Charger | DC18RC, DC18RD, DC18SD, DC18SE, DC18SF | |
| Net weight | 4.4 - 5.1 kg (9.8 - 11.2 lbs) | |
Read all safety warnings, instructions, illustrations and specifications provided with this power tool. Failure to follow all instructions listed below may result in electric shock, fire and/or serious injury.
Save all warnings and instructions for future reference.
The term "power tool" in the warnings refers to your mains-operated (corded) power tool or battery-operated (cordless) power tool.
Work area safety
Electrical Safety
Personal Safety
Power tool use and care
Battery tool use and care
Service
Cutting procedures
Kickback causes and related warnings
Kickback is the result of saw misuse and/or incorrect operating procedures or conditions and can be avoided by taking proper precautions as given below.
Guard function
Additional safety warnings
SAVE THESE INSTRUCTIONS.
DO NOT let comfort or familiarity with product (gained from repeated use) replace strict adherence to safety rules for the subject product. MISUSE or failure to follow the safety rules stated in this instruction manual may cause serious personal injury
The followings show the symbols used for tool.
| v | volts |
![]() | direct current |
| no | no load speed |
| .../min r/min | revolutions or reciprocation per minute |
Always be sure that the tool is switched off and the battery cartridge is removed before adjusting or checking function on the tool.
Always switch off the tool before installing or removing of the battery cartridge.
Hold the tool and the battery cartridge firmly when installing or removing battery cartridge. Failure to hold the tool and the battery cartridge firmly may cause them to slip off your hands and result in damage to the tool and battery cartridge and a personal injury

To remove the battery cartridge, slide it from the tool while sliding the button on the front of the cartridge.
To install the battery cartridge, align the tongue on the battery cartridge with the groove in the housing and slip it into place. Insert it all the way until it locks in place with a little click. If you can see the red indicator on the upper side of the button, it is not locked completely.
Always install the battery cartridge fully until the red indicator cannot be seen. If not, it may accidentally fall out of the tool, causing injury to you or someone around you.
Do not install the battery cartridge forcibly. If the cartridge does not slide in easily, it is not being inserted correctly.
NOTE: The tool does not work with only one battery cartridge.
The tool is equipped with a tool/battery protection system. This system automatically cuts off power to the motor to extend tool and battery life. The tool will automatically stop during operation if the tool or battery is placed under one of the following conditions.
When the tool is operated in a manner that causes it to draw an abnormally high current, the tool automatically stops. In this situation, turn the tool off and stop the application that caused the tool to become overloaded. Then turn the tool on to restart.
When the tool is overheated, the tool stops automatically, and the battery indicator blink about 60 seconds. In this situation, let the tool cool down before turning the tool on again.

When the battery capacity becomes low, the tool stops automatically. If the product does not operate even when the switches are operated, remove the batteries from the tool and charge the batteries.

Press the check button to indicate the remaining battery capacities. The battery indicators correspond to each battery
| Battery indicator status | Remaining battery capacity | ||
![]() On | ![]() Off | ![]() Blinking | |
![]() | 50% to 100% | ||
![]() | 20% to 50% | ||
![]() | 0% to 20% | ||
![]() | Charge the battery | ||

Only for battery cartridges with the indicator
Press the check button on the battery cartridge to indicate the remaining battery capacity. The indicator lamps light up for few seconds
| Indicator lamps | Remaining capacity | ||
![]() Lighted | ![]() Off | ![]() Blinking | |
| 75% to 100% | ||
| 50% to 75% | ||
| 25% to 50% | ||
| 0% to 25% | ||
| Charge the battery. | ||
| The battery may have malfunctioned. | ||
NOTE: Depending on the conditions of use and the ambient temperature, the indication may differ slightly from the actual capacity.
This tool has "high speed mode" and "high torque mode".
The tool automatically changes the operation mode depending on the work load. When the work load is low, the tool will run in the "high speed mode" for quicker cutting operation. When the work load is high, the tool will run in the "high torque mode" for powerful cutting operation.
The mode indicator lights up in green when the tool is running in "high torque mode".
If the tool is operated with excessive load, the mode indicator will blink in green. The mode indicator stops blinking and then lights up or turns off if you reduce the load on the tool.

| Mode indicator status | Operation mode | ||
On | Off | Blinking | |
| High speed mode | ||
| High torque mode | ||
| Overload alert | ||
After adjusting the depth of cut, always tighten the clamping screw securely.

Loosen the clamping screw on the depth guide and move the blade lower limit stopper to the desired depth on the scale plate. At the desired depth of cut, tighten the clamping screw firmly.
For cleaner, safer cuts, set cut depth so that no more than one blade tooth projects below workpiece. Using proper cut depth helps to reduce potential for dangerous KICKBACKS which can cause personal injury
(Optional accessory)
This tool has the quick stop button for 2 to 3 mm depth of cut on the gear housing aside the rear handle when using guide rail. This is used when avoiding splinter on the workpiece in the cut. Make a pass of the 2 to 3 mm first cut and then make another pass of usual cut.

To obtain the 2 to 3 mm depth of cut, push in the quick stop button toward the saw blade. This is convenient for avoiding splinter on the workpiece.
To release the depth of cut from this position for free depth of cut, just pull the button back.
Loosen the clamping screws. Set for the desired angle by tilting accordingly, then tighten the clamping screws securely.


Positive stopper
The positive stopper is useful for setting the designated angle quickly. Turn the positive stopper so that the arrow on it points 22.5°. Loosen the clamping screws in front and back. Then tilt the blade until it stops and secure the base with the clamping screws.
To perform 48°-bevel cutting, loosen the clamping screws and fully tilt the lever toward the direction of the arrow in the figure. Then set the bevel angle to 48° and tighten the clamping screws.

48°-bevel cutting
To perform 48°-bevel cutting, loosen the clamping screws and fully tilt the lever toward the direction of the arrow in the figure. Then set the bevel angle to 48° and tighten the clamping screws.

-1°-bevel cutting
To perform -1°-bevel cutting, loosen the clamping screws and press the levers toward the direction of the arrow in the figure. Then set the bevel angle to -1° and tighten the clamping screws.


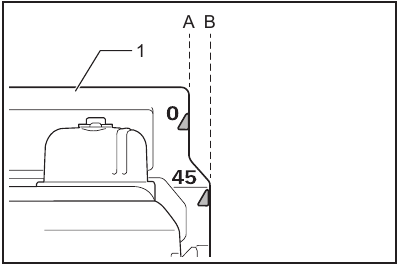
The cutting line varies depending on the cutting angle and whether you use the guide rail (optional accessory).
When using the tool without guide rail
For straight cuts, align the A position on the front of the base with your cutting line. For 45° bevel cuts, align the B position with it.
When using the tool with guide rail
For both straight cuts and 45° bevel cuts, always align the A position on the front of the base with your cutting line.
Before installing the battery cartridge into the tool, always check to see that the switch trigger actuates properly and returns to the "OFF" position when released.
NEVER defeat the lock-off button by taping down or some other means. A switch with a negated lock-off button may result in unintentional operation and serious personal injury.
NEVER use the tool if it runs when you simply pull the switch trigger without pressing the lock-off button. A switch in need of repair may result in unintentional operation and serious personal injury. Return tool to a Makita service center for proper repairs BEFORE further usage.

To prevent the switch trigger from being accidentally pulled, a lock-off button is provided. To start the tool, depress the lock-off button and pull the switch trigger. Release the switch trigger to stop.
NOTICE: Do not pull the switch trigger hard without pressing in the lock-off button. This can cause switch breakage.
This tool is equipped with an electric blade brake. If the tool consistently fails to quickly stop blade after switch lever release, have tool serviced at a Makita service center.
The blade brake system is not a substitute for blade guard. NEVER USE TOOL WITHOUT A FUNCTIONING BLADE GUARD. SERIOUS PERSONAL INJURY CAN RESULT.
The tool speed can be adjusted by turning the adjusting dial. The speed of the blade rotation increases as you increase the number on the speed adjusting dial.

Refer to the table to select the proper speed for the workpiece to be cut. However, the appropriate speed may differ with the type or thickness of the workpiece. In general, higher speeds will allow you to cut workpieces faster but the service life of the blade will be reduced.
| Number | Blade rotating speed per minute (/min) |
| 1 | 2,500 /min |
| 2 | 2,900 /min |
| 3 | 3,900 /min |
| 4 | 4,900 /min |
| 5 | 6,300 /min |
The speed adjusting dial is not for using low speed rated saw blades but for obtaining a speed which is suitable to material of workpiece. Use only saw blades which are rated for at least the maximum no load speed stated in the SPECIFICATIONS.
NOTICE: The speed adjusting dial can be turned only as far as 5 and back to 1. Do not force it past 5 or 1, or the speed adjusting function may no longer work.
The tools equipped with electronic function are easy to operate because of the following features.
Overload protector
When the tool is overloaded and current flows above a certain level, the tool automatically stops to protect motor.
Constant speed control
Electronic speed control for obtaining constant speed. Possible to get fine finish, because the rotating speed is kept constant even under load condition.
Soft start feature
Soft start because of suppressed starting shock.
Always be sure that the tool is switched off and the battery cartridge is removed before carrying out any work on the tool.

When not in use, store the hex wrench as shown in the figure to keep it from being lost.
Be sure the circular saw blade is installed with teeth pointing up at the front of the tool.
Use only the Makita wrench to install or remove the circular saw blade.
To remove the circular saw blade:
If the inner flange is removed, be sure to install it on the spindle. When installing, choose a correct side on which protrusion fits into the saw blade hole perfectly. Mounting the blade on the wrong side can result in the dangerous vibration.
To install the circular saw blade, follow the removal procedure in reverse. Depress the lock-off button to release the lock pin from the hole.
BE SURE TO TIGHTEN THE HEX BOLT SECURELY. Also be careful not to tighten the bolt forcibly. Slipping your hand from the hex wrench can cause a personal injury.
Blade guard cleaning
When changing the circular saw blade, make sure to also clean the blade guard of accumulated sawdust as discussed in the Maintenance section. Such efforts do not replace the need to check guard operation before each use.
Optional accessory
When you wish to perform clean cutting operation, connect a Makita vacuum cleaner to your tool. Connect a hose of the vacuum cleaner to the dust nozzle using the front cuffs 24

Be sure to move the tool forward in a straight line gently. Forcing or twisting the tool will result in overheating the motor and dangerous kickback, possibly causing severe injury.
Never approach any part of your body under the tool base when section cutting, especially at starting. Doing so may cause serious personal injuries. The blade is exposed under the tool base.
NOTE: When the battery cartridge temperature is low, the tool may not work to its full capacity. At this time, for example, use the tool for a light-duty cut for a while until the battery cartridge warms up as high as room temperature. Then, the tool can work to its full capacity.

(Ordinary sawing)
Hold the tool firmly. The tool is provided with both a front grip and rear handle. Use both to best grasp the tool. If both hands are holding saw, they cannot be cut by the circular saw blade. Set the base on the workpiece to be cut without the circular saw blade making any contact. Then push in the lock-off button and pull the switch trigger. Wait until the circular saw blade attains full speed. Now press down the saw head slowly to the preset depth of cut and simply move the tool forward over the workpiece surface, keeping it flat and advancing smoothly until the sawing is completed. To get clean cuts, keep your sawing line straight and your speed of advance uniform. If the cut fails to properly follow your intended cut line, do not attempt to turn or force the tool back to the cut line. Doing so may bind the circular saw blade and lead to dangerous kickback and possible serious injury. Release the switch, wait for the circular saw blade to stop and then withdraw the tool. Realign the tool on new cut line, and start cut again. Attempt to avoid positioning which exposes operator to chips and wood dust being ejected from the saw. Use eye protection to help avoid injury.
Optional accessory
Place the tool on the rear end of guide rail. Turn two adjusting screws on the tool base so that the tool slides smoothly without a clatter. Hold both the front grip and rear handle of the tool firmly. Turn on the tool, press down the tool to the preset cutting depth and cut the splinterguard along the full length with a stroke. Now the edge of the splinterguard corresponds to the cutting edge.


When bevel cutting with the guide rail, use the slide lever to prevent the tool from falling over.
Move the slide lever on the tool base in the direction of arrow so that it engages the undercut groove in the guide rail.
Optional accessory
By using the sub base as a guide rule, you can perform extra-accurate straight cuts. Loosen the clamping screws and slide the sub base out from the tool then insert it upside down.


Simply slide the fence of the sub base snugly against the side of the workpiece and secure it in position with the clamping screws. It also makes repeated cuts of uniform width possible.
To avoid a kickback, be sure to observe the following instructions.

Cutting-out
When using the tool without guide rail, place the tool on the workpiece with the rear edge of tool base against a fixed stop or equivalent which is devised by an operator.
When using the tool with guide rail, place the tool on the guide rail with the rear edge of tool base against a fixed stop or equivalent which is clamped on the guide rail.
Hold the tool firmly with one hand on the front grip and the other on the tool handle. Then push in the lock-off button and turn the tool on and wait until the blade attains full speed. Now press down the saw head slowly to the preset depth of cut and simply move the tool forward to the desired plunge position.
NOTE: The markings on the side of the blade guard show the absolute front and rear cutting points of the saw blade at the maximum cutting depth when using the guide rail.

Optional accessory
Use of the bevel guide allows exact miter cuts with angles and fitting works.
Use of the clamp ensures firm hold of workpiece on the table.
Always be sure that the tool is switched off and the battery cartridge is removed before attempting to perform inspection or maintenance.
Clean out the guard to ensure there is no accumulated sawdust which may impede the operation of the guarding system. A dirty guarding system may limit the proper operation which could result in serious personal injury. The most effective way to accomplish this cleaning is with compressed air. If the dust is being blown out of the guard, be sure the proper eye and breathing protection is used.
NOTICE: Never use gasoline, benzine, thinner, alcohol or the like. Discoloration, deformation or cracks may result.
Adjusting 0°-cut and 45°-cut accuracy
NOTICE: Do not engage the levers for -1° bevel angle when adjusting 0°-cut accuracy.
NOTICE: Do not engage the lever for 48° bevel angle when adjusting 45°-cut accuracy.
These adjustments have been made at the factory. But if they are off, you can adjust them as the following procedures.

To adjust the 0°-cut accuracy, make the base perpendicular to the blade using a triangular rule, square rule, etc. by turning the adjusting bolt.

To adjust the 45°-cut accuracy, make the base 45° to the blade using a triangular rule by turning the adjusting bolt.
These accessories or attachments are recommended for use with your Makita tool specified in this manual. The use of any other accessories or attachments might present a risk of injury to persons. Only use accessory or attachment for its stated purpose.
If you need any assistance for more details regarding these accessories, ask your local Makita Service Center.
NOTE: Some items in the list may be included in the tool package as standard accessories. They may differ from country to country.
Here you can download full pdf version of manual, it may contain additional safety instructions, warranty information, FCC rules, etc.
Advertisement




Need help?
Do you have a question about the XPS01 and is the answer not in the manual?
Questions and answers