Advertisement

| Model: | UX01G | |
| No load speed (without attachment) | Low | 0 - 5,700 min-1 |
| Medium | 0 - 8,200 min-1 | |
| High | 0 - 9,700 min-1 | |
| Overall length (without battery cartridge) | 1,001 mm | |
| Rated voltage | D.C. 36 V - 40 V max | |
| Net weight | 5.3 kg - 11.6 kg | |
| Protection degree | IPX4 | |
Applicable battery cartridge and charger
| Battery cartridge | BL4020 / BL4025 / BL4040 |
| Charger | DC40RA |
| Only use the battery cartridges and chargers listed above. Use of any other battery cartridges and chargers may cause injury and/or fire. |
No load speed with attachment
| Model | Rotation speed | ||
| Low | Medium | High | |
| EM401MP | 0 - 4,200 min-1 | 0 - 6,000 min-1 | 0 - 7,100 min-1 |
| EM404MP, EM406MP | 0 - 3,500 min-1 | 0 - 5,000 min-1 | 0 - 6,000 min-1 |
| EM408MP, EM409MP | 0 - 4,200 min-1 | 0 - 6,000 min-1 | 0 - 7,100 min-1 |
| EN401MP, EN410MP, EN420MP (Strokes per minute) | 0 - 2,400 min-1 | 0 - 3,400 min-1 | 0 - 4,000 min-1 |
| EY401MP (chain speed) | 0 - 12 m/s | 0 - 17 m/s | 0 - 20 m/s |
| KR400MP | 0 - 160 min-1 | 0 - 230 min-1 | 0 - 280 min-1 |
| KR401MP | 0 - 130 min-1 | 0 - 190 min-1 | 0 - 230 min-1 |
| EE400MP | 0 - 2,800 min-1 | 0 - 4,000 min-1 | 0 - 4,700 min-1 |
| EJ400MP | 0 - 1,600 min-1 | 0 - 2,300 min-1 | 0 - 2,800 min-1 |
| BR400MP | 0 - 130 min-1 | 0 - 190 min-1 | 0 - 230 min-1 |
| SW400MP | 0 - 130 min-1 | 0 - 190 min-1 | 0 - 230 min-1 |
| UB400MP | 0 - 5,700 min-1 | 0 - 7,850 min-1 | 0 - 9,100 min-1 |
| Type | Model |
| Brushcutter attachment | EM401MP, EM404MP |
| String trimmer attachment | EM406MP |
| Grass trimmer attachment | EM408MP, EM409MP |
| Hedge trimmer attachment | EN401MP, EN410MP |
| Ground trimmer attachment | EN420MP |
| Pole saw attachment | EY401MP |
| Cultivator attachment | KR400MP, KR401MP |
| Edger attachment | EE400MP |
| Coffee harvester attachment | EJ400MP |
| Shaft extension attachment | LE400MP |
| Power brush attachment | BR400MP |
| Power sweep attachment | SW400MP |
| Blower attachment | UB400MP |
The followings show the symbols which may be used for the equipment. Be sure that you understand their meaning before use.
![]() | Read instruction manual. |
| Take particular care and attention. | |
![]() | Do not expose to moisture. |
![]() | Only for EU countries Li-ion Do not dispose of electric equipment or battery pack together with household waste material! In observance of the European Directives, on Waste Electric and Electronic Equipment and Batteries and Accumulators and Waste Batteries and Accumulators and their implementation in accordance with national laws, electric equipment and batteries and battery pack(s) that have reached the end of their life must be collected separately and returned to an environmentally compatible recycling facility. |
This cordless multi function power head is intended for driving an approved attachment listed in the section "SPECIFICATIONS" of this instruction manual. Never use the unit for the other purpose.
| Read the instruction manual of the attachment as well as this instruction manual before using. Failure to follow the warnings and instructions may result serious injury. |
| Attachment | Sound pressure level average | Sound power level average | Applicable standard | |||
| LPA (dB (A)) | Uncertainty K (dB (A)) | LWA (dB (A)) | Uncertainty K (dB (A)) | |||
| EM401MP (as a brushcutter) | 79.8 | 1.2 | 94.8 | 2.5 | ISO22868 (ISO11806-1) | |
| EM401MP (as a string trimmer) | Nylon cutting head | 80.1 | 1.0 | 94.3 | 2.0 | ISO22868 (ISO11806-1)/ EN50636-2-91 |
| Plastic blade | 79.4 | 1.0 | 91.4 | 2.1 | ISO22868 (ISO11806-1)/ EN50636-2-91 | |
| EM404MP (as a brushcutter) | 79.4 | 1.4 | 92.0 | 1.0 | ISO22868 (ISO11806-1) | |
| EM404MP (as a string trimmer) | Nylon cutting head | 80.7 | 1.3 | 91.9 | 1.4 | ISO22868 (ISO11806-1)/ EN50636-2-91 |
| Plastic blade | 78.6 | 0.7 | 87.8 | 0.4 | ISO22868 (ISO11806-1)/ EN50636-2-91 | |
| EM406MP | Nylon cutting head | 81.3 | 0.6 | 93.4 | 2.1 | ISO22868 (ISO11806-1)/ EN50636-2-91 |
| Plastic blade | 78.8 | 0.4 | 87.9 | 0.6 | ISO22868 (ISO11806-1)/ EN50636-2-91 | |
| EM408MP | Metal blade | 80.7 | 1.7 | 94.7 | 3.0 | ISO22868 (ISO11806-1) |
| Nylon cutting head | 79.5 | 1.3 | 92.8 | 2.7 | ISO22868 (ISO11806-1)/ EN50636-2-91 | |
| Plastic blade | 80.5 | 1.1 | 92.2 | 2.8 | ISO22868 (ISO11806-1)/ EN50636-2-91 | |
| EM409MP | Nylon cutting head | 80.6 | 1.2 | 93.4 | 2.3 | ISO22868 (ISO11806-1)/ EN50636-2-91 |
| Plastic blade | 81.0 | 1.4 | 91.9 | 2.4 | ISO22868 (ISO11806-1)/ EN50636-2-91 | |
| EN401MP | 84 | 3 | 95 | 3 | EN62841-4-2 | |
| EN401MP + LE400MP | 85 | 3 | 96 | 3 | EN62841-4-2 | |
| EN410MP | 80 | 3 | 91 | 3 | EN62841-4-2 | |
| EN410MP + LE400MP | 80 | 3 | 91 | 3 | EN62841-4-2 | |
| EN420MP | 83 | 3 | 94 | 3 | EN62841-4-2 | |
| EY401MP | 94 | 3 | 103 | 3 | ISO22868 (ISO11680-1) | |
| EY401MP + LE400MP | 85 | 3 | 103 | 3 | ISO22868 (ISO11680-1) | |
| KR400MP | 77.8 | 0.7 | 86.6 | 1.2 | EN709 | |
| KR401MP | 77.7 | 0.3 | 86.7 | 2.0 | EN709 | |
| EE400MP | 76.1 | 1.7 | 88.2 | 2.3 | ISO11789 / 2000/14/EC | |
| EJ400MP | 82.9 | 0.6 | 94.4 | 1.5 | ISO22868 (ISO11806-1) | |
| EJ400MP + LE400MP | 79.7 | 1.4 | 94.0 | 0.7 | ISO22868 (ISO11806-1) | |
| BR400MP | 80.2 | 1.0 | 88.9 | 0.8 | EN60335-2-72 | |
| SW400MP | 80.3 | 0.2 | 88.3 | 0.6 | EN60335-2-72 | |
| UB400MP | 92.1 | 1.6 | 104.1 | 1.3 | EN50636-2-100 | |
| NOTE: The declared noise emission value(s) has been measured in accordance with a standard test method and may be used for comparing one tool with another. NOTE: The declared noise emission value(s) may also be used in a preliminary assessment of exposure. |
|
|
| Attachment | Left handle (Front grip) | Right handle (Rear grip) | Applicable standard | |||
| ah (m/s2) | Uncertainty K (m/s2) | ah (m/s2) | Uncertainty K (m/s2) | |||
| EM401MP (as a brushcutter) | 2.5 or less | 1.5 | 2.5 or less | 1.5 | ISO22867 (ISO11806-1) | |
| EM401MP (as a string trimmer) | Nylon cutting head | 3.7 | 1.5 | 3.0 | 1.5 | ISO22867 (ISO11806-1) |
| Plastic blade | 2.5 or less | 1.5 | 2.5 or less | 1.5 | ISO22867 (ISO11806-1) | |
| EM404MP (as a brushcutter) | 2.5 or less | 1.5 | 2.5 or less | 1.5 | ISO22867 (ISO11806-1) | |
| EM404MP (as a string trimmer) | Nylon cutting head | 2.5 or less | 1.5 | 2.5 or less | 1.5 | ISO22867 (ISO11806-1) |
| Plastic blade | 2.5 or less | 1.5 | 2.5 or less | 1.5 | ISO22867 (ISO11806-1) | |
| EM406MP | Nylon cutting head | 2.5 or less | 1.5 | 2.5 or less | 1.5 | ISO22867 (ISO11806-1) |
| Plastic blade | 2.5 or less | 1.5 | 2.5 or less | 1.5 | ISO22867 (ISO11806-1) | |
| EM408MP | Metal blade | 2.5 or less | 1.5 | 2.5 or less | 1.5 | ISO22867 (ISO11806-1) |
| Nylon cutting head | 2.5 or less | 1.5 | 2.5 or less | 1.5 | ISO22867 (ISO11806-1) | |
| Plastic blade | 2.5 or less | 1.5 | 2.5 or less | 1.5 | ISO22867 (ISO11806-1) | |
| EM409MP | Nylon cutting head | 2.5 or less | 1.5 | 2.5 or less | 1.5 | ISO22867 (ISO11806-1) |
| Plastic blade | 2.5 or less | 1.5 | 2.5 or less | 1.5 | ISO22867 (ISO11806-1) | |
| EN401MP | 3.4 | 1.5 | 2.5 or less | 1.5 | EN62841-4-2 | |
| EN401MP + LE400MP | 5.4 | 1.5 | 2.7 | 1.5 | EN62841-4-2 | |
| EN410MP | 2.8 | 1.5 | 2.5 or less | 1.5 | EN62841-4-2 | |
| EN410MP + LE400MP | 4.4 | 1.5 | 2.5 or less | 1.5 | EN62841-4-2 | |
| EN420MP | 2.9 | 1.5 | 2.5 or less | 1.5 | EN62841-4-2 | |
| EY401MP | 2.5 or less | 1.5 | 2.5 or less | 1.5 | ISO22867 (ISO11680-1) | |
| EY401MP + LE400MP | 2.5 or less | 1.5 | 2.5 or less | 1.5 | ISO22867 (ISO11680-1) | |
| KR400MP | 2.5 or less | 1.5 | 2.5 or less | 1.5 | EN709 | |
| KR401MP | 2.5 or less | 1.5 | 2.5 or less | 1.5 | EN709 | |
| EE400MP | 2.5 or less | 1.5 | 2.5 or less | 1.5 | ISO11789 | |
| EJ400MP | 3.5 | 1.5 | 3.9 | 1.5 | ISO22867 (ISO11806-1) | |
| EJ400MP + LE400MP | 4.8 | 1.5 | 2.6 | 1.5 | ISO22867 (ISO11806-1) | |
| BR400MP | 2.5 or less | 1.5 | 2.5 or less | 1.5 | EN60335-2-72 | |
| SW400MP | 2.5 | 1.5 | 2.5 or less | 1.5 | EN60335-2-72 | |
| UB400MP | 4.6 | 1.5 | 2.5 or less | 2.5 | EN50636-2-100 | |
NOTE: The declared vibration total value(s) has been measured in accordance with a standard test method and may be used for comparing one tool with another.
NOTE: The declared vibration total value(s) may also be used in a preliminary assessment of exposure.
|
|
| Read all safety warnings, instructions, illustrations and specifications provided with this power tool. Failure to follow all instructions listed below may result in electric shock, fire and/or serious injury. |
Save all warnings and instructions for future reference.
The term "power tool" in the warnings refers to your mains-operated (corded) power tool or battery-operated (cordless) power tool.
► Fig.1

SAVE THESE INSTRUCTIONS.
| Only use genuine Makita batteries. Use of non-genuine Makita batteries, or batteries that have been altered, may result in the battery bursting causing fires, personal injury and damage. It will also void the Makita warranty for the Makita tool and charger. |
► Fig.4

| Always be sure that the tool is switched off and the battery cartridge is removed before adjusting or checking function on the tool. Failure to switch off and remove the battery cartridge may result in serious personal injury from accidental start-up. |
|
|
► Fig.5:

To remove the battery cartridge, slide it from the tool while sliding the button on the front of the cartridge.
To install the battery cartridge, align the tongue on the battery cartridge with the groove in the housing and slip it into place. Insert it all the way until it locks in place with a little click. If you can see the red indicator on the upper side of the button, it is not locked completely.
|
|
The tool is equipped with a tool/battery protection system. This system automatically cuts off power to the motor to extend tool and battery life. The tool will automatically stop during operation if the tool is placed under one of the following conditions:
► Fig.6:

| Caution lamp | Status | ||
| Color | On | Blinking | |
| Green | | Overload | |
| Red | (tool) / (battery) | Overheat | |
| Red | | Over discharge | |
If the tool or battery gets into one of the following situation, the tool automatically stops and the caution lamp starts blinking in green:
In this situation, release the switch trigger and remove entangled weeds or debris if necessary. After that, pull the switch trigger again to resume.
| If you need to remove the entangled weeds on the tool or release the locked cutting tool, be sure to turn the tool off before you start. |
If the tool or battery cartridge is overheated, the tool stops automatically. When the tool is overheated, the caution lamp lights up in red. When the battery cartridge is overheated, the caution lamp blinks in red. Let the tool and/or battery cool down before turning the tool on again.
When the battery capacity becomes low, the tool stops automatically and the caution lamp starts blinking in red. If the tool does not operate even when the switches are operated, remove the battery cartridge from the tool and charge it.
Press the check button on the battery cartridge to indicate the remaining battery capacity. The indicator lamps light up for a few seconds.
► Fig.7:

| Indicator lamps | Remaining capacity | ||
![]() Lighted | ![]() Off | ![]() Blinking | |
| 75% to 100% | ||
| 50% to 75% | ||
| 25% to 50% | ||
| 0% to 25% | ||
| Charge the battery. | ||
| The battery may have malfunctioned. | ||
NOTE: Depending on the conditions of use and the ambient temperature, the indication may differ slightly from the actual capacity.
NOTE: The first (far left) indicator lamp will blink when the battery protection system works.
| Always turn off the main power switch when not in use. |
Press the main power button to turn on the tool. To turn off the tool, press and hold the main power button until the speed indicators go off.
► Fig.8:

NOTE: The caution lamp brinks if the switch trigger is pulled under unoperatable conditions. The caution lamp blinks if you turn on the main power switch while holding down the lock-off lever and the switch trigger.
NOTE: This tool employs the auto power-off function. To avoid unintentional start up, the main power switch will automatically shut down when the switch trigger is not pulled for a certain period after the main power switch is turned on.
|
|
|
|
| NOTICE: Do not pull the switch trigger hard without pressing the lock-off lever. This can cause switch breakage. |
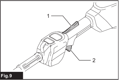
To prevent the switch trigger from being accidentally pulled, a lock-off lever is provided.
► Fig.9:

To start the tool, turn on the main power switch and grasp the handle (the lock-off lever is released by the grasp) and then pull the switch trigger. Tool speed is increased by increasing the pressure on the switch trigger. To stop the tool, release the switch trigger.
You can select the tool speed by tapping the main power button. Each time you tap the main power button, the level of speed will change.
► Fig.10:

| Speed indicator | Mode |
| High |
| Medium |
| Low |
| Switch off the tool and remove the battery cartridge before you remove entangled weeds or debris which the reverse rotation function can not remove. Failure to switch off and remove the battery cartridge may result in serious personal injury from accidental start-up. |
This tool has a reverse button to change the direction of rotation. It is only for removing weeds and debris entangled in the tool.
To reverse the rotation, tap the reverse button and pull the switch trigger while depressing the lock-off lever when the cutting tool is stopped. The speed indicators start blinking, and the cutting tool rotates in reverse direction when you pull the switch trigger.
To return to regular rotation, release the trigger and wait until the cutting tool stops.
► Fig.11:

NOTE: During the reverse rotation, the tool operates only for a short period of time and then automatically stops.
NOTE: Once the tool is stopped, the rotation returns to regular direction when you start the tool again.
NOTE: If you tap the reverse button while the cutting tool is still rotating, the tool comes to stop and to be ready for reverse rotation.
The tool electronically detects a sudden drop in the rotation speed which may cause a kickback. In this situation, the tool automatically stops to prevent further rotation of cutting tool. To restart the tool, release the switch trigger. Clear the cause of sudden drop in the rotation speed and then turn the tool on.
NOTE: This function is not a preventive measure for kickbacks.
|
|
Attach the handle with supplied clamps and bolts. Make sure that the handle is located between the spacer and the arrow mark. Do not remove or shrink the spacer.
► Fig.12:

When using the following attachments, be sure to attach the barrier to the handle using the screw on the barrier.
*. Only when metal blade is attached.
► Fig.13:

| Always check that the attachment pipe is secured after installation. Improper installation may cause the attachment falling off from the power unit and cause personal injury. |
Mount the attachment pipe to the power unit.
Make sure that the surface of the lever is parallel to the pipe.
To remove the pipe, turn the lever toward the attachment side and pull the pipe out while pressing down the release button.
► Fig.17:

Adjust the handle position to obtain comfortable handling of the tool.
Loosen the hex socket head bolt on the handle. Move the handle to a comfortable working position and then tighten the bolt.
► Fig.18:

| Be extremely careful to maintain control of the tool at all times. Do not allow the tool to be deflected toward you or anyone in the work vicinity. Failure to keep control of the tool could result in serious injury to the bystander and the operator. |
|
If you put on the shoulder harness included in the tool package and the shoulder harness of the backpack-type power supply at the same time, removing the tool or backpack-type power supply is difficult in case of an emergency, and it may cause an accident or injury. For the recommended hanging band, ask Makita Authorized Service Centers.
|
The shoulder harness features a means of quick release.
Simply squeeze the sides of the buckle to release the tool from the shoulder harness.
► Fig.21:

| Be careful not to leave the hex wrench inserted in the tool head. It may cause injury and/or damage to the tool. |
When not in use, store the hex wrench as illustrated to keep it from being lost.
► Fig.22:

| Always be sure that the tool is switched off and battery cartridge is removed before attempting to perform inspection or maintenance on the tool. Failure to switch off and remove the battery cartridge may result in serious personal injury from accidental start-up. |
| NOTICE: Never use gasoline, benzine, thinner, alcohol or the like. Discoloration, deformation or cracks may result. |
To maintain product SAFETY and RELIABILITY, repairs, any other maintenance or adjustment should be performed by Makita Authorized or Factory Service Centers, always using Makita replacement parts.
Clean the tool by wiping off dust, dirt, or cut off grass with a dry cloth or one dipped in soapy water and wrung out. To avoid overheating of the tool, be sure to remove the cut off grass or debris adhered to the vent of the tool.
| Do not remove the battery guard. Do not use the tool with the battery guard removed or damaged. Direct impact to the battery cartridge may cause battery malfunction and result in injury and/or fire. If the battery guard is deformed or damaged, contact your authorized service center for repairs. |
► Fig.23:

Before asking for repairs, conduct your own inspection first. If you find a problem that is not explained in the manual, do not attempt to dismantle the tool. Instead, ask Makita Authorized Service Centers, always using Makita replacement parts for repairs.
| State of abnormality | Probable cause (malfunction) | Remedy |
| Motor does not run. | Battery cartridge is not installed. | Install the battery cartridge. |
| Battery problem (under voltage) | Recharge the battery. If recharging is not effective, replace battery. | |
| The drive system does not work correctly. | Ask your local authorized service center for repair. | |
| Motor stops running after a little use. | Rotation is in reverse. | Change the direction of rotation with the reversing switch. |
| Battery's charge level is low. | Recharge the battery. If recharging is not effective, replace battery. | |
| Overheating. | Stop using of tool to allow it to cool down. | |
| It does not reach maximum RPM. | Battery is installed improperly. | Install the battery cartridge as described in this manual. |
| Battery power is dropping. | Recharge the battery. If recharging is not effective, replace battery. | |
| The drive system does not work correctly. | Ask your local authorized service center for repair. |
| These accessories or attachments are recommended for use with your Makita tool specified in this manual. The use of any other accessories or attachments might present a risk of injury to persons. Only use accessory or attachment for its stated purpose. |
If you need any assistance for more details regarding these accessories, ask your local Makita Service Center. Refer to "Approved attachment" section for the applicable models for this tool.
NOTE: Some items in the list may be included in the tool package as standard accessories. They may differ from country to country.

Advertisement



Need help?
Do you have a question about the UX01G and is the answer not in the manual?
Questions and answers