Makita MT01, MT01Z Manual
![]()
SPECIFICATIONS
| Model: | MT01 |
| Oscillation per minute | 6,000 - 20,000 /min |
| Oscillation angle, left/right | 1.6° (3.2° total) |
| Rated voltage | D.C. 10.8 V - 12 V max |
| Standard battery cartridge | BL1016, BL1021B | BL1041B |
| Overall length | 277 mm (10-7/8') | 296 mm (11-5/8') |
| Net weight | 1.1 kg (2.4 lbs) | 1.2 kg (2.7 lbs) |
- Due to our continuing program of research and development, the specifications herein are subject to change without notice.
- Specifications and battery cartridge may differ from country to country.
- Weight, with battery cartridge, according to EPTA-Procedure 01/2003
SAFETY WARNINGS
![burn hazard]()
![]()
![burn hazard]()
Read all safety warnings and all instructions. Failure to follow the warnings and instructions may result in electric shock, fire and/or serious injury.
Save all warnings and instructions for future reference.
The term "power tool" in the warnings refers to your mains-operated (corded) power tool or battery-operated (cordless) power tool.
Work area safety
- Keep work area clean and well lit. Cluttered or dark areas invite accidents.
- Do not operate power tools in explosive atmospheres, such as in the presence of flammable liquids, gases or dust. Power tools create sparks which may ignite the dust or fumes.
- Keep children and bystanders away while operating a power tool. Distractions can cause you to lose control.
Electrical Safety
Power tool plugs must match the outlet. Never modify the plug in any way. Do not use any adapter plugs with earthed (grounded) power tools. Unmodified plugs and matching outlets will reduce risk of electric shock.
Avoid body contact with earthed or grounded surfaces such as pipes, radiators, ranges and refrigerators. There is an increased risk of electric shock if your body is earthed or grounded.
Do not expose power tools to rain or wet conditions. Water entering a power tool will increase the risk of electric shock.
Do not abuse the cord. Never use the cord for carrying, pulling or unplugging the power tool. Keep cord away from heat, oil, sharp edges or moving parts. Damaged or entangled cords increase the risk of electric shock.
When operating a power tool outdoors, use an extension cord suitable for outdoor use. Use of a cord suitable for outdoor use reduces the risk of electric shock.
If operating a power tool in a damp location is unavoidable, use a ground fault circuit interrupter (GFCI) protected supply. Use of a GFCI reduces the risk of electric shock.
Personal Safety
- Stay alert, watch what you are doing and use common sense when operating a power tool. Do not use a power tool while you are tired or under the influence of drugs, alcohol or medication. A moment of inattention while operating power tools may result in serious personal injury.
- Use personal protective equipment. Always wear eye protection. Protective equipment such as dust mask, non-skid safety shoes, hard hat, or hearing protection used for appropriate conditions will reduce personal injuries.
- Prevent unintentional starting. Ensure the switch is in the off-position before connecting to power source and/or battery pack, picking up or carrying the tool. Carrying power tools with your finger on the switch or energising power tools that have the switch on invites accidents.
- Remove any adjusting key or wrench before turning the power tool on. A wrench or a key left attached to a rotating part of the power tool may result in personal injury.
- Do not overreach. Keep proper footing and balance at all times. This enables better control of the power tool in unexpected situations.
- Dress properly. Do not wear loose clothing or jewellery. Keep your hair, clothing, and gloves away from moving parts. Loose clothes, jewellery or long hair can be caught in moving parts.
- If devices are provided for the connection of dust extraction and collection facilities, ensure these are connected and properly used. Use of dust collection can reduce dust-related hazards.
Power tool use and care
- Do not force the power tool. Use the correct power tool for your application. The correct power tool will do the job better and safer at the rate for which it was designed.
- Do not use the power tool if the switch does not turn it on and off. Any power tool that cannot be controlled with the switch is dangerous and must be repaired.
- Disconnect the plug from the power source and/or the battery pack from the power tool before making any adjustments, changing accessories, or storing power tools. Such preventive safety measures reduce the risk of starting the power tool accidentally.
- Store idle power tools out of the reach of children and do not allow persons unfamiliar with the power tool or these instructions to operate the power tool. Power tools are dangerous in the hands of untrained users.
- Maintain power tools. Check for misalignment or binding of moving parts, breakage of parts and any other condition that may affect the power tool's operation. If damaged, have the power tool repaired before use. Many accidents are caused by poorly maintained power tools.
- Keep cutting tools sharp and clean. Properly maintained cutting tools with sharp cutting edges are less likely to bind and are easier to control.
- Use the power tool, accessories and tool bits etc. in accordance with these instructions, taking into account the working conditions and the work to be performed. Use of the power tool for operations different from those intended could result in a hazardous situation.
Battery tool use and care
Recharge only with the charger specified by the manufacturer. A charger that is suitable for one type of battery pack may create a risk of fire when used with another battery pack.
Use power tools only with specifically designated battery packs. Use of any other battery packs may create a risk of injury and fire. ![]()
When battery pack is not in use, keep it away from other metal objects, like paper clips, coins, keys, nails, screws or other small metal objects, that can make a connection from one terminal to another. Shorting the battery terminals together may cause burns or a fire. ![]()
Under abusive conditions, liquid may be ejected from the battery; avoid contact. If contact accidentally occurs, flush with water. If liquid contacts eyes, additionally seek medical help. Liquid ejected from the battery may cause irritation or burns.
Service
- Have your power tool serviced by a qualified repair person using only identical replacement parts. This will ensure that the safety of the power tool is maintained.
- Follow instruction for lubricating and changing accessories.
- Keep handles dry, clean and free from oil and grease.
Product safety warnings
![burn hazard]()
![shock hazard]()
This power tool is intended to function for sawing, cutting, grinding and sanding. Read all safety warnings, instructions, illustrations and specifications provided with this power tool. Failure to follow all instructions listed below may result in electric shock, fire and/or serious injury.
Hold power tool by insulated gripping surfaces, when performing an operation where the cutting accessory may contact hidden wiring. Cutting accessory contacting a "live" wire may make exposed metal parts of the power tool "live" and could give the operator an electric shock. - Use clamps or another practical way to secure and support the workpiece to a stable platform. Holding the work by hand or against your body leaves it unstable and may lead to loss of control.
- Always use safety glasses or goggles. Ordinary eye or sun glasses are NOT safety glasses.
- Avoid cutting nails. Inspect workpiece for any nails and remove them before operation.
- Hold the tool firmly.
- Make sure the application tool is not contacting the workpiece before the switch is turned on.
- Keep hands away from moving parts.
- Do not leave the tool running. Operate the tool only when hand-held.
- Always switch off and wait for the blade to come to a complete stop before removing the blade from the workpiece.
![]()
Do not touch the application tool or the workpiece immediately after operation; they may be extremely hot and could burn your skin. - Do not operate the tool at no-load unnecessarily.
- Always use the correct dust mask/respirator for the material and application you are working with.
- Some material contains chemicals which may be toxic. Take caution to prevent dust inhalation and skin contact. Follow material supplier safety data.
- This tool has not been waterproofed, so do not use water on the workpiece surface.
- Ventilate your work area adequately when you perform sanding operations.
- Use of this tool to sand some products, paints and wood could expose user to dust containing hazardous substances. Use appropriate respiratory protection.
- Be sure that there are no cracks or breakage on the pad before use. Cracks or breakage may cause a personal injury.
- Do not use accessories which are not specifically designed and recommended by the tool manufacturer. Just because the accessory can be attached to your power tool, it does not assure safe operation.
- Wear personal protective equipment. Depending on application, use face shield, safety goggles or safety glasses. As appropriate, wear hearing protectors, gloves and workshop apron capable of stopping small abrasive or workpiece fragments. The eye protection must be capable of stopping flying debris generated by various operations. The dust mask or respirator must be capable of filtrating particles generated by your operation. Prolonged exposure to high intensity noise may cause hearing loss.
- Keep bystanders a safe distance away from work area. Anyone entering the work area must wear personal protective equipment. Fragments of workpiece or of a broken accessory may fly away and cause injury beyond immediate area of operation.
- Never lay the power tool down until the accessory has come to a complete stop. The spinning accessory may grab the surface and pull the power tool out of your control.
- Do not run the power tool while carrying it at your side. Accidental contact with the accessory could snag your clothing, pulling the accessory into your body.
- Do not operate the power tool near flammable materials. Sparks could ignite these materials.
Do not use accessories that require liquid coolants. Using water or other liquid coolants may result in electrocution or shock. - Always be sure that the tool is switched off and unplugged or that the battery cartridge is removed before carrying out any work on the tool.
- Always be sure you have a firm footing. Be sure no one is below when using the tool in high locations.
SAVE THESE INSTRUCTIONS.
![]()
DO NOT let comfort or familiarity with product (gained from repeated use) replace strict adherence to safety rules for the subject product. MISUSE or failure to follow the safety rules stated in this instruction manual may cause serious personal injury.
Symbols
The followings show the symbols used for tool.
| V | volts |
![]() | direct current |
| n0 | no load speed |
... /min r/min | revolutions or reciprocation per minute |
Important safety instructions for battery cartridge
- Before using battery cartridge, read all instructions and cautionary markings on
- battery charger,
- battery, and
- product using battery.
- Do not disassemble battery cartridge.
![]()
If operating time has become excessively shorter, stop operating immediately. It may result in a risk of overheating, possible burns and even an explosion. - If electrolyte gets into your eyes, rinse them out with clear water and seek medical attention right away. It may result in loss of your eyesight.
- Do not short the battery cartridge:
- Do not touch the terminals with any conductive material.
- Avoid storing battery cartridge in a container with other metal objects such as nails, coins, etc.
- Do not expose battery cartridge to water or rain.
![]()
A battery short can cause a large current flow, overheating, possible burns and even a breakdown.
- Do not store the tool and battery cartridge in locations where the temperature may reach or exceed 50°C (122°F).
- Do not incinerate the battery cartridge even if it is severely damaged or is completely worn out. The battery cartridge can explode in a fire.
- Be careful not to drop or strike battery.
- Do not use a damaged battery.
- The contained lithium-ion batteries are subject to the Dangerous Goods Legislation requirements.
For commercial transports e.g. by third parties, forwarding agents, special requirement on packaging and labeling must be observed.
For preparation of the item being shipped, consulting an expert for hazardous material is required. Please also observe possibly more detailed national regulations.
Tape or mask off open contacts and pack up the battery in such a manner that it cannot move around in the packaging. - Follow your local regulations relating to disposal of battery.
SAVE THESE INSTRUCTIONS.
![]()
Only use genuine Makita batteries. Use of non-genuine Makita batteries, or batteries that have been altered, may result in the battery bursting causing fires, personal injury and damage. It will also void the Makita warranty for the Makita tool and charger.
Tips for maintaining maximum battery life
- Charge the battery cartridge before completely discharged. Always stop tool operation and charge the battery cartridge when you notice less tool power.
- Never recharge a fully charged battery cartridge. Overcharging shortens the battery service life.
- Charge the battery cartridge with room temperature at 10°C - 40°C (50°F - 104°F). Let a hot battery cartridge cool down before charging it.
FUNCTIONAL DESCRIPTION
![]()
Always be sure that the tool is switched off and the battery cartridge is removed before adjusting or checking function on the tool.
Installing or removing battery cartridge
![]()
Always switch off the tool before installing or removing of the battery cartridge.
![]()
Hold the tool and the battery cartridge firmly when installing or removing battery cartridge. Failure to hold the tool and the battery cartridge firmly may cause them to slip off your hands and result in damage to the tool and battery cartridge and a personal injury.
- Red indicator
- Button
- Battery cartridge
See Fig. 1
To remove the battery cartridge, slide it from the tool while sliding the button on the front of the cartridge.
To install the battery cartridge, align the tongue on the battery cartridge with the groove in the housing and slip it into place. Insert it all the way until it locks in place with a little click. If you can see the red indicator on the upper side of the button, it is not locked completely.
![]()
Always install the battery cartridge fully until the red indicator cannot be seen. If not, it may accidentally fall out of the tool, causing injury to you or someone around you.
![]()
Do not install the battery cartridge forcibly. If the cartridge does not slide in easily, it is not being inserted correctly.
Battery protection system
The tool is equipped with a battery protection system. This system automatically cuts off power to the motor to extend battery life.
The tool will automatically stop during operation if the tool and/or battery are placed under one of the following conditions:
Overloaded:
The tool is operated in a manner that causes it to draw an abnormally high current.
In this situation, turn the tool off and stop the application that caused the tool to become overloaded. Then turn the tool on to restart.
If the tool does not start, the battery is overheated. In this situation, let the battery cool before turning the tool on again.
Low battery voltage:
The remaining battery capacity is too low and the tool will not operate. If you turn the tool on, the motor runs again but stops soon. In this situation, remove and recharge the battery.
Indicating the remaining battery capacity
Only for battery cartridges with "B" at the end of the model number
![Makita - MT01 - Indicating the remaining battery capacity Indicating the remaining battery capacity]()
- Indicator lamps
- Check button
See Fig. 2
Press the check button on the battery cartridge to indicate the remaining battery capacity. The indicator lamps light up for few seconds.
| Indicator lamps | Remaining capacity |
![]() Lighted | ![]() Off |
| 75% to 100% |
| 50% to 75% |
| 25% to 50% |
| 0% to 25% |
NOTE: Depending on the conditions of use and the ambient temperature, the indication may differ slightly from the actual capacity.
Switch action
![]()
Before installing the battery cartridge into the tool, always check to see that the tool is switched off.
![Makita - MT01 - FUNCTIONAL DESCRIPTION - Switch action FUNCTIONAL DESCRIPTION - Switch action]()
- Slide switch
See Fig. 3
To start the tool, slide the slide switch toward the "I (ON)" position.
To stop the tool, slide the slide switch toward the "O (OFF)" position.
Adjusting the orbital stroke rate
![Makita - MT01 - Adjusting the orbital stroke rate Adjusting the orbital stroke rate]()
- Dial
See Fig. 4
The orbital stroke rate is adjustable. To change the orbital stroke rate, turn the dial between 1 and 5. The higher the number is, the higher the orbital stroke rate is. Preset the dial to the number suitable for your workpiece.
NOTE: The dial cannot be turned directly from 1 to 5 or from 5 to 1. Forcing the dial may damage the tool. When changing the dial direction, always turn the dial moving it through each intermediate number.
Lighting up the front lamp
![]()
Do not look in the light or see the source of light directly.
![Makita - MT01 - FUNCTIONAL DESCRIPTION - Lighting up front lamp FUNCTIONAL DESCRIPTION - Lighting up front lamp]()
- Front lamp
See Fig. 5
Slide the slide switch toward the "I (ON)" position to light up the front lamp. The lamp keeps on lighting while the switch is the "I (ON)" position.
The light automatically goes out after pressing the rear of the slide switch, and then sliding the slide switch toward the "O (OFF)" position.
Overload protection
When the tool is overloaded and temperature of the tool or the battery cartridge reaches a certain level, the front lamp blinks and the tool automatically stops. Remove a cause of overload, and cool down the tool and the battery cartridge to restart.
ASSEMBLY
![]()
Always be sure that the tool is switched off and the battery cartridge is removed before carrying out any work on the tool.
Optional accessory
![]()
Do not install application tool upside down. Installing application tool upside down may damage the tool and cause serious personal injury.
NOTE: Install application tool in the correct direction according to your work. Application tool can be installed at an angle of every 30 degree.
![Makita - MT01 - Installing the application tool - Step 1 Installing the application tool - Step 1]()
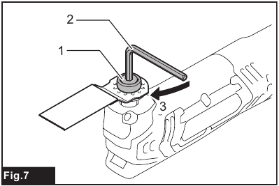
- Protrusions of the tool flange
- Holes in the application tool
- Aplication tool installation bolt
![Makita - MT01 - Installing the application tool - Step 2 Installing the application tool - Step 2]()
- Application tool installation bolt
- Hex wrench
- Tighten
See Fig. 6-7
To Install an application tool (optional accessory), put the application tool on the tool flange so that the protrusions of the tool flange fit in the holes in the application tool. Then secure the application tool by tightening the bolt firmly with the hex wrench.
To remove the application tool, loosen and remove the application tool installation bolt using a hex wrench and then take off the application tool.
![Makita - MT01 - ASSEMBLY - Installing a sanding paper ASSEMBLY - Installing a sanding paper]()
- Sanding pad
- Tighten
- Sanding paper
See Fig. 8
When using the tool as a sander, set a sanding paper on the sanding pad (hook and loop fitting).
Make sure that their shape and dust extraction holes match each other when setting.
To remove the sanding paper, raise its end and peel it off.
![Makita - MT01 - ASSEMBLY - Application tool with an adapter ASSEMBLY - Application tool with an adapter]()
- Application tool installation bolt
- Holes in the application tool
- Adapter (required for some application tools)
- Protrusions of the tool flange
See Fig. 9
When using application tools with a different type of installation section, use a correct adapter (optional accessory).
Hex wrench storage
- Hex wrench
See Fig. 10
When not in use, store the hex wrench as shown in the figure to keep it from being lost.
OPERATION
![]()
Before starting the tool and during operation, keep your hand and face away from the application tool.
![]()
Do not apply excessive load to the tool which may cause a motor lock and stop the tool.
![]()
Do not operate the tool with pressing the battery cartridge against the tool.
Cutting/sawing and scraping
![]()
Do not move on the tool forcibly in the direction (eg. towards either side) of tool application with no cutting edge. It may damage the tool.
![Makita - MT01 - OPERATION - Cutting/sawing and scraping OPERATION - Cutting/sawing and scraping]()
See Fig. 11
Put the application tool on the workpiece.
And then move the tool forward so that the application tool movement does not slow down.
NOTE: Forcing or excessive pressure on the tool may reduce efficiency.
NOTE: Before cutting operation, it is recommended to preset the orbital stroke rate 3 - 5.
Sanding
![]()
Do not reuse a sanding paper used for sanding metal to sand wood.
![]()
Do not use a worn sanding paper or sanding paper without grit.
![Makita - MT01 - OPERATION - Sanding OPERATION - Sanding]()
See Fig. 12
Apply a sanding paper on the workpiece.
NOTE: Using a test material sample to try is recommendable to determine a correct orbital stroke rate suitable for your work.
NOTE: Use a sanding paper with the same grit until sanding the whole workpiece is completed. Replacing a sanding paper with different grit sanding paper may not get a fine finish.
Optional accessory
![]()
Do not use the dust extraction attachment when sanding metal. Sucking spark and hot particle results in smoking and ignition.
![Makita - MT01 - OPERATION - Installing dust extraction attachment OPERATION - Installing dust extraction attachment]()
- Dust nozzle
- Joint
- Dust attachment
- Nozzle band
- Holes in the tool
- Felt ring
- Sanding pad
- Application tool installation bolt
See Fig. 13
- Install joint, dust nozzle and dust attachment.
- Install the nozzle band on the tool so that its protrusions fit in the holes in the tool to secure it.
- Put the felt ring and the sanding pad on the dust attachment and then secure them with the application tool installation bolt.
![Makita - MT01 - OPERATION - Connecting a vacuum cleaner OPERATION - Connecting a vacuum cleaner]()
See Fig. 14
To perform cleaner operation, connect a vacuum cleaner to the tool. Connect a hose of vacuum cleaner to the dust extraction attachment (optional accessory).
MAINTENANCE
![]()
Always be sure that the tool is switched off and the battery cartridge is removed before attempting to perform inspection or maintenance.
NOTICE: Never use gasoline, benzine, thinner, alcohol or the like. Discoloration, deformation or cracks may result.
To maintain product SAFETY and RELIABILITY, repairs, any other maintenance or adjustment should be performed by Makita Authorized or Factory Service Centers, always using Makita replacement parts.
OPTIONAL ACCESSORIES
![]()
These accessories or attachments are recommended for use with your Makita tool specified in this manual. The use of any other accessories or attachments might present a risk of injury to persons. Only use accessory or attachment for its stated purpose.
If you need any assistance for more details regarding these accessories, ask your local Makita Service Center.
- Segment saw blade
- Round saw blade
- Plunge cut saw blade
- Scraper (rigid)
- Scraper (flexible)
- Serrated seg blade
- General joint cutter
- HM remover
- HM seg saw blade
- HM sanding plate
- Diamond seg sawblade
- Sanding pad
- Adapter
- Abrasive paper delta (red / white / black)
- Fleece delta (medium / coarse / without grit)
- Polishing felt delta
- Hex wrench
- Dust extraction attachment
- Makita genuine battery and charger
NOTE: Some items in the list may be included in the tool package as standard accessories. They may differ from country to country.
Documents / Resources
Need help?
Do you have a question about the MT01 and is the answer not in the manual?
Questions and answers