Advertisement

| Model: | WR100D | |
| Fastening capacities (with manual retightening) | Standard bolt | M5 - M12 |
| High tensile bolt | M5 - M10 | |
| Square drive | 6.35mm, 9.5mm | |
| No load speed | 0 - 800 min-1 | |
| Maximum fastening torque | 47.5 N•m | |
| Overall length | 341 mm | |
| Rated voltage | D.C. 10.8 V - 12 V max | |
| Net weight | 1.0 - 1.2 kg | |

WR100D
| Applicable battery cartridge and charger | |
| Battery cartridge | BL1015 / BL1016 / BL1020B / BL1021B / BL1040B / BL1041B |
| Charger | DC10SA / DC10SB / DC10WC / DC10WD / DC18RE |
Only use the battery cartridges and chargers listed above. Use of any other battery cartridges and chargers may cause injury and/or fire.
The tool is intended for fastening bolts and nuts.
The typical A-weighted noise level determined according to EN62841-2-2:
Sound pressure level (LpA): 74 dB(A)
Uncertainty (K): 3 dB(A)
The noise level under working may exceed 80 dB (A).
NOTE: The declared noise emission value(s) has been measured in accordance with a standard test method and may be used for comparing one tool with another.
NOTE: The declared noise emission value(s) may also be used in a preliminary assessment of exposure.
Wear ear protection.
The noise emission during actual use of the power tool can differ from the declared value(s) depending on the ways in which the tool is used especially what kind of workpiece is processed.
Be sure to identify safety measures to protect the operator that are based on an estimation of exposure in the actual conditions of use (taking account of all parts of the operating cycle such as the times when the tool is switched off and when it is running idle in addition to the trigger time).
The vibration total value (tri-axial vector sum) determined according to EN62841-2-2:
Work mode: fastening
Vibration emission (ah): 2.5 m/s2 or less
Uncertainty (K): 1.5 m/s2
NOTE: The declared vibration total value(s) has been measured in accordance with a standard test method and may be used for comparing one tool with another.
NOTE: The declared vibration total value(s) may also be used in a preliminary assessment of exposure.
The vibration emission during actual use of the power tool can differ from the declared value(s) depending on the ways in which the tool is used especially what kind of workpiece is processed.
Be sure to identify safety measures to protect the operator that are based on an estimation of exposure in the actual conditions of use (taking account of all parts of the operating cycle such as the times when the tool is switched off and when it is running idle in addition to the trigger time).
Read all safety warnings, instructions, illustrations and specifications provided with this power tool. Failure to follow all instructions listed below may result in electric shock, fire and/or serious injury.
Save all warnings and instructions for future reference.
The term "power tool" in the warnings refers to your mains-operated (corded) power tool or battery-operated (cordless) power tool.
SAVE THESE INSTRUCTIONS.
DO NOT let comfort or familiarity with product (gained from repeated use) replace strict adherence to safety rules for the subject product.
MISUSE or failure to follow the safety rules stated in this instruction manual may cause serious personal injury.
A battery short can cause a large current flow, overheating, possible burns and even a breakdown.
SAVE THESE INSTRUCTIONS.
Only use genuine Makita batteries. Use of non-genuine Makita batteries, or batteries that have been altered, may result in the battery bursting causing fires, personal injury and damage. It will also void the Makita warranty for the Makita tool and charger.
Tips for maintaining maximum battery life
Always be sure that the tool is switched off and the battery cartridge is removed before adjusting or checking function on the tool.
Always switch off the tool before installing or removing of the battery cartridge.
Hold the tool and the battery cartridge firmly when installing or removing battery cartridge. Failure to hold the tool and the battery cartridge firmly may cause them to slip off your hands and result in damage to the tool and battery cartridge and a personal injury.
Be careful not to pinch your fingers between the tool and battery
To remove the battery cartridge, slide it from the tool while sliding the button on the front of the cartridge.
To install the battery cartridge, align the tongue on the battery cartridge with the groove in the housing and slip it into place. Insert it all the way until it locks in place with a little click. If you can see the red indicator on the upper side of the button, it is not locked completely.

Always install the battery cartridge fully until the red indicator cannot be seen. If not, it may accidentally fall out of the tool, causing injury to you or someone around you.
Do not install the battery cartridge forcibly. If the cartridge does not slide in easily, it is not being inserted correctly.
The tool is equipped with a battery protection system.
This system automatically cuts off power to the motor to extend battery life.
The tool will automatically stop during operation if the tool and/or battery are placed under one of the following conditions:
Overloaded:
The tool is operated in a manner that causes it to draw an abnormally high current.
In this situation, turn the tool off and stop the application that caused the tool to become overloaded. Then turn the tool on to restart.
If the tool does not start, the battery is overheated. In this situation, let the battery cool before turning the tool on again.
Low battery voltage:
The remaining battery capacity is too low and the tool will not operate. If you turn the tool on, the motor does not run or the motor runs again but stops soon. In this situation, remove and recharge the battery.
Only for battery cartridges with the indicator
Press the check button on the battery cartridge to indicate the remaining battery capacity. The indicator lamps light up for a few seconds.

| Indicator lamps | Remaining capacity | |
![]() Lighted | ![]() Off | |
| 75% to 100% | |
| 50% to 75% | |
| 25% to 50% | |
| 0% to 25% | |
NOTE: Depending on the conditions of use and the ambient temperature, the indication may differ slightly from the actual capacity.
Before installing the battery cartridge into the tool, always check to see that the switch lever actuates properly and returns to the "OFF" position when released.
To start the tool, simply pull the switch lever. Tool speed is increased by increasing pressure on the switch lever. Release the switch lever to stop.

To prevent the switch lever from accidentally pulled, the lock lever is provided.
When the lock lever is in the lock position
, the switch lever cannot be actuated.
When the lock lever is in the unlock position
, the switch lever can be actuated.

When not operating the tool, always slide the lock lever to the lock position.
This tool is equipped with an electric brake. If the tool consistently fails to quickly stop after switch lever release, have tool serviced at a Makita service center.
Do not look in the light or see the source of light directly.
Pull the switch lever to light up the lamp. The lamp keeps on lighting while the switch lever is being pulled. The light automatically goes out approximately 10 seconds after the switch lever is released.

NOTICE: When the tool is overheated, the lamp flickers. Cool down the tool fully before operating the tool again.
NOTICE: Use a dry cloth to wipe the dirt off the lens of the lamp. Be careful not to scratch the lens of lamp, or it may lower the illumination.
Always check the direction of rotation before operation.
Use the reversing lever only after the tool comes to a complete stop. Changing the direction of rotation before the tool stops may damage the tool.
This tool has a reversing lever to change the direction of rotation. Turn the reversing lever to the A side for clockwise rotation or to the B side for counterclockwise rotation.
Make sure that the reversing lever is fully turned with a click.

Always be sure that the tool is switched off and the battery cartridge is removed before carrying out any work on the tool.
To install the socket adaptor, push it into the adaptor hole until it locks into place.

To remove the socket adaptor, insert a stick like a screwdriver into the backside of the socket adaptor, and then tap it gently.

NOTICE: During removal procedure, keep holding the socket adaptor to prevent it from falling off from the tool.
Before operation, make sure that the socket is properly locked onto the socket adaptor. Incomplete attachment of the socket may cause injury.
NOTICE: Always use the correct size socket for bolt/ nut. An incorrect size socket will result in inconsistent fastening torque and/or damage to the bolt/nut.
To install the socket, push it onto the socket adaptor until it locks into place. To remove the socket, simply pull it off.

Hold the tool firmly especially when the bolt/nut reaches the seating position. The socket stops rotating and the motor reaction generate instant backlash to rotate the tool.
NOTICE: Hold the tool pointed straight at the bolt/nut.
Hold the tool firmly and place the socket over the bolt/nut. Turn the tool on and fasten. When the bolt/nut reaches the seating position, the tool stops automatically.

The tool also works without socket. The adaptor hole can fasten M8 (5/16") bolt/nut. (works as 13mm socket)

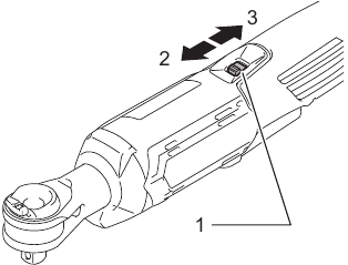
Using as hand tool
You can use the tool as a hand ratchet wrench by turning the tool in the direction arrows as illustrated. In particular when loosening a stiff bolt/nut, loosen it by hand first then turn the tool on.

NOTICE: Excessive fastening torque may damage the bolt/nut, the socket or the tool.
Always be sure that the tool is switched off and the battery cartridge is removed before attempting to perform inspection or maintenance.
NOTICE: Never use gasoline, benzine, thinner, alcohol or the like. Discoloration, deformation or cracks may result.
To maintain product SAFETY and RELIABILITY, repairs, any other maintenance or adjustment should be performed by Makita Authorized or Factory Service Centers, always using Makita replacement parts.
These accessories or attachments are recommended for use with your Makita tool specified in this manual. The use of any other accessories or attachments might present a risk of injury to persons.
Only use accessory or attachment for its stated purpose.
If you need any assistance for more details regarding these accessories, ask your local Makita Service Center.
NOTE: Some items in the list may be included in the tool package as standard accessories. They may differ from country to country.

Here you can download full pdf version of manual, it may contain additional safety instructions, warranty information, FCC rules, etc.
Advertisement
Need help?
Do you have a question about the WR100D and is the answer not in the manual?
Questions and answers