
| Model | BFT041F | BFT082F | BFT124F | |
| Fastening torque | Hard joint | 1 - 4 N•m | 3 - 8 N•m | 5 - 12 N•m |
| Soft joint | 1 - 4 N•m | 3 - 8 N•m | 5 - 12 N•m | |
| No load speed (min-1) | 800 | 860 | 600 | |
| Dimensions (L x W x H) | 191 mm x 72 mm x 266 mm | |||
| Net weight | 1.5 kg | |||
| Rated voltage | D.C. 14.4 V | |||
Intended use
The tool is intended for screw driving in wood, metal and plastic.
Noise
The typical A-weighted noise level determined according to:
Sound pressure level (LpA): 70 dB(A) or less
Uncertainty (K): 3 dB(A)
The noise level under working may exceed 80 dB(A)
Wear ear protection
Vibration
The vibration total value (tri-axial vector sum) determined according to:
Work mode: screwdriving without impact
Vibration emission (ah): 2.5 m/s2 or less
Uncertainty (K): 1.5 m/s2
Always be sure that the tool is switched off and the battery cartridge is removed before adjusting or checking function on the tool.

Fig.1

Fig.2
Before inserting the battery cartridge into the tool, always check to see that the switch trigger actuates properly and returns to the "OFF" position when released.
To start the tool, simply pull the switch trigger. Release the switch trigger to stop.

Fig.3
This tool has a reversing switch to change the direction of rotation. Depress the reversing switch lever from the A side for clockwise rotation or from the B side for counterclockwise rotation.
When the reversing switch lever is in the neutral position, the switch trigger cannot be pulled.

Fig.4
Do not look in the light or see the source of light directly.
Pull the switch trigger to light up the lamp. The lamp keeps on lighting while the switch trigger is being pulled. The light automatically goes out 10 seconds after the switch trigger is released.
NOTE: Use a dry cloth to wipe the dirt off the lens of lamp. Be careful not to scratch the lens of lamp, or it may lower the illumination.

Fig.5
LED indicator / Beeper on the tool shows the following functions.
| Status of the LED indicator/beeper | Function | Status | Action to be taken | |
| LED indicator | Beeper | |||
| Lights up in Green ![]() Red ![]() Blue ![]() White in order | A series of very short beeps | Check LED, light and beeper (when pulling switch trigger for the first time after installing a battery cartridge into the tool) | Make sure that green, red, blue, white LED lights up and beeper beeps properly | |
| Lights up in green for approximately one second. | | Auto-stop fastening | This function works when the tool has reached the preset fastening torque and normal tightening has been completed. This helps overtightening to be avoided. | |
| Blinks in purple slowly. | A series of long beeps | Warning for battery cartridge capacity | This indicates the appropriate time to replace the battery cartridge when the battery power becomes low. | Replace the battery with fully charged one. |
| Lights up in purple | A long beep | Checking the remaining battery capacity, Autostop | This function works when the battery power is almost used up. At this time, tool stops immediately. | Replace the battery with fully charged one. |
| Lights up in red and green alternatively | A series of short beeps | Anti-reset of controller | This function works when an abnormal drop of the battery voltage occurs for some reason, and the tool stops. | Replace the battery with fully charged one. |
| Failure of motor | This function works when motor fails. | Take it to a Makita Authorized Service centers. | ||
| Blinks in red quickly. | A series of short beeps | Overheat | This function works when the temperature of the controller or motor goes up very highly, and the tool stops. | Remove the battery cartridge immediately and cool the tool down. |
| Blinks in red and yellow alternatively. | A long beep | Warning against insufficient fastening | Fastening is imcomplete when switch trigger of tool is released before clutch activation. | |
| Double-hitting detection | This function works when a screw is refastened after fastening. | | ||

Fig.6
When you wish to drive machine screws, wood screws, hex bolts, etc. with the predetermined torque, adjust the fastening torque as follows.

Fig.7
NOTE: Numbers on the fastening torque scale is a guideline to set up your desired fastening torque.
Always be sure that the tool is switched off and the battery cartridge is removed before carrying out any work on the tool.

Fig.8
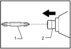
Use only bit or socket bit that has inserting portion shown in the figure.
For tool with shallow bit hole: A=12mm, B=9mm
For tool with deep bit hole: A=17mm, B=14mm
Do not use any other driver bit or socket bit. To install the bit, pull the sleeve in the direction of the arrow and insert the bit into the sleeve as far as it will go. Then release the sleeve to secure the bit.

Fig.9
To remove the bit, pull the sleeve in the direction of the arrow and pull the bit out firmly.
NOTE: If the bit is not inserted deep enough into the sleeve, the sleeve will not return to its original position and the bit will not be secured. In this case, try re-inserting the bit according to the instructions above.

Fig.10
Place the point of the driver bit in the screw head and apply pressure to the tool. Then switch the tool on. When the clutch cuts in, the motor will stop automatically. Then release the switch trigger.
NOTE: Make sure that the driver bit is inserted straight in the screw head, or the screw and/or bit may be damaged.
Use the tool within the range of the revolution angle up to 360 ゚. If you use the tool beyond the upper limit of this range, the clutch does not work. And the tool cannot deliver enough fastening torque (LED indicator blinks in purple slowly or lights up in purple).
NOTE:
To maintain product SAFETY and RELIABILITY, repairs, any other maintenance or adjustment should be performed by Makita Authorized Service Centers, always using Makita replacement parts.
These accessories or attachments are recommended for use with your Makita tool specified in this manual. The use of any other accessories or attachments might present a risk of injury to persons. Only use accessory or attachment for its stated purpose.
If you need any assistance for more details regarding these accessories, ask your local Makita Service Center.
Read all safety warnings and all instructions. Failure to follow the warnings and instructions may result in electric shock, fire and/or serious injury.
Save all warnings and instructions for future reference.
SAVE THESE INSTRUCTIONS.
DO NOT let comfort or familiarity with product (gained from repeated use) replace strict adherence to safety rules for the subject product. MISUSE or failure to follow the safety rules stated in this instruction manual may cause serious personal injury.
SAVE THESE INSTRUCTIONS.

Here you can download full pdf version of manual, it may contain additional safety instructions, warranty information, FCC rules, etc.
Download Makita BFT041F, BFT082F, BFT124F - Cordless Screwdriver Manual
Need help?
Do you have a question about the BFT041F and is the answer not in the manual?
Questions and answers