Makita BAP182 - Battery Adapter Manual

Makita BAP182 - Battery Adapter Manual

Also See for BAP182:

Advertisement

Makita BAP182 - Battery Adapter Manual

Applications

This battery adapter enables the main unit and batteries to be separated, making it suitable for work performed over long times, etc.
This battery adapter uses two 18 V batteries, and can be used with 36 V battery-powered products.

Compatible battery

BL1815N, BL1820B, BL1830, BL1830B, BL1840B, BL1850B, BL1860B
NOTE: BL1815 cannot be used with the battery adapter.

Compatible tool category

Cordless rotary hammer, Cordless recipro saw, Cordless brushcutter, Cordless grass trimmer, Cordless garden blower, Cordless hedge trimmer, Cordless chain saw*, Cordless angle drill

Installing the batteries

  • Be careful not to pinch your fingers with the cover when inserting the batteries.
  • Be careful not to drop the batteries when removing them.
  • Be careful when removing the batteries with the batteries facing downward, as they may fall out and drop.
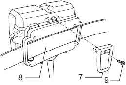
  1. Slide the lock lever of the adapter used to house the 18 V batteries, and open the cover.
    Installing the batteries
    1. Cover
    2. Battery
    3. Lock lever
    4. Product
    5. Product mounting adapter
    6. Cord
  2. Insert the batteries firmly all the way, until the red color of the button is no longer visible.
  3. Be sure to secure the cover with the lock lever.
  4. Set the hook onto your belt, etc.
    1. Hook
    2. Belt
  5. Attach the product mounting adapter to the product.
  6. You can also remove the hook and pass the belt through it as shown in the illustration.
    1. Screw

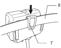
Attaching the optional shoulder strap

The optional shoulder strap can be attached as shown in the illustration.

  1. Shoulder strap

Operation


Attach the battery adapter to your body for work as shown in the illustration.

Remaining battery capacity indication

Press the remaining battery capacity display button to light the indicator lamps and indicate the remaining battery capacities. The indicator lamps correspond to each battery.
Remaining battery capacity indication

  1. Battery capacity display button
  2. Remaining battery capacity indication lamp for Battery 1
  3. Remaining battery capacity indication lamp for Battery 2
  4. Battery 1
  5. Battery 2

NOTE:

  • The indicated charge may be slightly lower than the actual level during use or immediately after using the product.
How to read the remaining battery capacity indication
Indicator lamps (Battery 1 or Battery 2) Remaining charge or indication contents
: On : Off
50% to 100%
20% to 50%
0% to 20%
Charge the battery
  • Depending on the conditions of use and the ambient temperature, the remaining capacity may not be indicated correctly.
Example of remaining charge indication (Battery 1: 80%, Battery 2: 10%)
Battery 1 Battery 2

Battery protective function

The batteries have an internal protective function that automatically stops power output in order to extend the battery life. When the following states occur during product use, the motor stops automatically, but this is due to the battery's protective function, and is not a malfunction.
When the battery temperature rises above a certain level, the motor stops automatically, and remains stopped even when the switches are operated. In these cases, stop battery use, remove the batteries from the BAP182, and allow the batteries to cool or charge the batteries.
When the battery capacity becomes low, the product's motor stops automatically. If the product does not operate even when the switches are operated, remove the batteries from the BAP182 and charge the batteries.

NOTE:
When the product stops automatically without any BAP182 indication
When the product enters an overload state, power output stops automatically in order to extend the battery life. This is due to the battery's protective function, and is not a malfunction. In addition, in these cases the BAP182 does not indicate anything, but this is not a malfunction. When this happens, release the switch, and remove the cause of the overload. The product can then be used again by operating the switch again.

Warnings


  • Never use this adapter for tool category not described above. Using the adapter with non-compatible tools may cause personal injury or malfunction.

* Never use this adapter in conjunction with a chain saw for felling trees. When the saw is caught in a tree during felling, you cannot release the tool to escape, and may result in injury.

  • Be sure to carefully read the product main unit instruction manual before use.
  • This battery adapter is designed exclusively for use with 18 V batteries. Do not use 14.4 V batteries.
  • Install two 18 V batteries for use. This battery adapter cannot be used with only one 18 V battery.
  • Do not pick up or carry the battery adapter by holding only the cord.
  • Do not insert the product mounting adapter into the charger. Charging is not possible in this case.
  • If the cord gets hot, stop the use and allow it to cool down before restart.
  • Be careful not to trip over the cord during operation.
  • During operation, keep the cord away from obstacles such as a workpiece and branches. The cord caught by obstacles may cause serious injury.
  • Always be sure that the battery cartridges are removed before attempting to perform inspection or maintenance such as replacing a cutting accessory.
  • Never use the battery adapter together with a single-18 V battery-operated tool.
  • Do not use multiple adapters to extend the cord.
  • When leaving the tool, make sure to release the adapter from your waist belt or remove the product mount adapters from the tool. If you leave the tool with the adapter and tool linked to your body, the tool is pulled and may be dropped or obstruct your action, resulting in injury.
  • When using the tool at a high place, always use a safety harness. When you drop the tool without a safety harness, your body is pulled by the tool and may result in injury.
  • Do not use the adapter on a unstable place such as steps. When you drop the tool, your body is pulled by the tool and may fall and result in injury.
  • Inspect the cord before each use. If it is damaged, ask your local authorized service center to repair it.

Documents / Resources

Download manual

Here you can download full pdf version of manual, it may contain additional safety instructions, warranty information, FCC rules, etc.

Download Makita BAP182 - Battery Adapter Manual

Advertisement

Need help?

Need help?

Do you have a question about the BAP182 and is the answer not in the manual?

Questions and answers

Table of Contents