Advertisement

| Model: | UH013G | UH014G |
| Blade length | 600 mm | 750 mm |
| Strokes per minute | 2,000 / 3,600 / 5,000 min-1 | |
| Overall length | 1,085 mm | 1,225 mm |
| Rated voltage | D.C. 36 V - 40 V max | |
| Net weight | 3.9 - 4.5 kg | 4.0 - 4.7 kg |
| Protection degree | IPX4 | |
| Battery cartridge | BL4020* / BL4025* / BL4040* / BL4050F *: Recommended battery |
| Charger | DC40RA / DC40RB / DC40RC |
Only use the battery cartridges and chargers listed above. Use of any other battery cartridges and chargers may cause injury and/or fire.
| Portable power pack | PDC01 / PDC1200 |
The followings show the symbols which may be used for the equipment. Be sure that you understand their meaning before use.
![]() | Keep hands away from blade. |
![]() | Wear safety glasses. |
The tool is intended for trimming hedges.
Applicable standard: EN62841-4-2
| Model | Sound pressure level | Sound power level | ||
| LpA(dB(A)) | Uncertainty K (dB(A)) | LWA(dB(A)) | Uncertainty K (dB(A)) | |
| UH013G | 80 | 3 | 91 | 3 |
| UH014G | 81 | 3 | 92 | 3 |
NOTE: The declared noise emission value(s) has been measured in accordance with a standard test method and may be used for comparing one tool with another.
NOTE: The declared noise emission value(s) may also be used in a preliminary assessment of exposure.
Wear ear protection.
The noise emission during actual use of the power tool can differ from the declared value(s) depending on the ways in which the tool is used especially what kind of workpiece is processed.
Be sure to identify safety measures to protect the operator that are based on an estimation of exposure in the actual conditions of use (taking account of all parts of the operating cycle such as the times when the tool is switched off and when it is running idle in addition to the trigger time).
The vibration total value (tri-axial vector sum) determined according to EN62841-4-2:
| Model | Front handle | Rear handle | ||
| ah (m/s2) | Uncertainty K (m/s2) | ah (m/s2) | Uncertainty K (m/s2) | |
| UH013G | 2.5 | 1.5 | 2.5 m/s2 or less | 1.5 |
| UH014G | 3.2 | 1.5 | 2.5 m/s2 or less | 1.5 |
NOTE: The declared vibration total value(s) has been measured in accordance with a standard test method and may be used for comparing one tool with another.
NOTE: The declared vibration total value(s) may also be used in a preliminary assessment of exposure.
The vibration emission during actual use of the power tool can differ from the declared value(s) depending on the ways in which the tool is used especially what kind of workpiece is processed.
Be sure to identify safety measures to protect the operator that are based on an estimation of exposure in the actual conditions of use (taking account of all parts of the operating cycle such as the times when the tool is switched off and when it is running idle in addition to the trigger time).
Read all safety warnings, instructions, illustrations and specifications provided with this power tool. Failure to follow all instructions listed below may result in electric shock, fire and/or serious injury.
Save all warnings and instructions for future reference.
The term "power tool" in the warnings refers to your mains-operated (corded) power tool or battery-operated (cordless) power tool.
Cordless Hedge Trimmer Safety Warnings
Preparation
Operation
Electrical and battery safety
Maintenance and storage
SAVE THESE INSTRUCTIONS.
DO NOT let comfort or familiarity with product (gained from repeated use) replace strict adherence to safety rules for the subject product. MISUSE or failure to follow the safety rules stated in this instruction manual may cause serious personal injury.
A battery short can cause a large current flow, overheating, possible burns and even a breakdown.
SAVE THESE INSTRUCTIONS.
Only use genuine Makita batteries. Use of non-genuine Makita batteries, or batteries that have been altered, may result in the battery bursting causing fires, personal injury and damage. It will also void the Makita warranty for the Makita tool and charger.
Tips for maintaining maximum battery life
Always be sure that the tool is switched off and the battery cartridge is removed before adjusting or checking function on the tool.
Always switch off the tool before installing or removing of the battery cartridge.
Hold the tool and the battery cartridge firmly when installing or removing battery cartridge. Failure to hold the tool and the battery cartridge firmly may cause them to slip off your hands and result in damage to the tool and battery cartridge and a personal injury.
To remove the battery cartridge, slide it from the tool while sliding the button on the front of the cartridge.
To install the battery cartridge, align the tongue on the battery cartridge with the groove in the housing and slip it into place. Insert it all the way until it locks in place with a little click. If you can see the red indicator as shown in the figure, it is not locked completely.

Always install the battery cartridge fully until the red indicator cannot be seen. If not, it may accidentally fall out of the tool, causing injury to you or someone around you.
Do not install the battery cartridge forcibly. If the cartridge does not slide in easily, it is not being inserted correctly.
Press the check button on the battery cartridge to indicate the remaining battery capacity. The indicator lamps light up for a few seconds.

| Indicator lamps | Remaining capacity | ||
![]() Lighted | ![]() Off | ![]() Blinking | |
| 75% to 100% | ||
| 50% to 75% | ||
| 25% to 50% | ||
| 0% to 25% | ||
| Charge the battery. | ||
| The battery may have malfunctioned. | ||
NOTE: Depending on the conditions of use and the ambient temperature, the indication may differ slightly from the actual capacity.
NOTE: The first (far left) indicator lamp will blink when the battery protection system works.
The tool is equipped with a tool/battery protection system. This system automatically cuts off power to the motor to extend tool and battery life. The tool will automatically stop during operation if the tool is placed under one of the following conditions:

| Caution lamp | Status | ||
| Color | On | Blinking | |
| Green | | Overload | |
| Red | (tool) / | (battery) | Overheat |
| Red | | Over discharge | |
NOTICE: Depending on the usage conditions, the tool automatically stops without any indication if the branches or debris are entangled in the tool. In this case, switch off the tool and remove the battery cartridge, and then remove entangled branches or debris using tools such as pliers. After removing the branches or debris, install the battery cartridge and turn on the tool again.
If the tool or battery is overloaded by entangled branches or other debris, the tool automatically stops and the caution lamp starts blinking in green. In this situation, turn the tool off and stop the application that caused the tool to become overloaded. Then turn the tool on to restart.
If the tool or battery cartridge is overheated, the tool stops automatically. When the tool is overheated, the caution lamp lights up in red. When the battery cartridge is overheated, the caution lamp blinks in red. Let the tool and/or battery cool down before turning the tool on again.
When the battery capacity becomes low, the tool stops automatically and the caution lamp starts blinking in red. If the tool does not operate even when the switches are operated, remove the battery cartridge from the tool and charge it.
Protection system is also designed for other causes that could damage the tool and allows the tool to stop automatically. Take all the following steps to clear the causes, when the tool has been brought to a temporary halt or stop in operation.
If no improvement can be found by restoring protection system, then contact your local Makita Service Center.
For your safety, this tool is equipped with lever which prevents the tool from unintended starting. NEVER use the tool if it runs when you simply pull the switch triggers without pressing the lever. Return the tool to our authorized service center for proper repairs BEFORE further usage.
NEVER tape down or defeat purpose and function of the lever.
Before installing the battery cartridge on the tool, always check to see that the switch triggers and lever actuate properly and return to the "OFF" position when released.
Operating a tool with a switch that does not actuate properly can lead to loss of control and serious personal injury.
Never put your finger on the switch triggers when carrying. The tool may start unintentionally and cause injury.
NOTICE: Do not pull the switch trigger hard without pressing the lever. This can cause switch breakage.
Press the main power button to turn on the tool. To turn off the tool, press and hold the main power button until the speed indicators go off.

NOTE: The caution lamp brinks if the switch trigger is pulled under unoperatable conditions. The caution lamp blinks if you turn on the main power switch while holding down the lever and the switch trigger.
NOTE: This tool employs the auto power-off function. To avoid unintentional start up, the main power switch will automatically shut down when the switch trigger is not pulled for a certain period after the main power switch is turned on.
To prevent the switch trigger from being accidentally pulled, the lever is provided. To start the tool, pull the front switch trigger, and then pull the rear switch trigger while pressing the lever. When you release either of the switch triggers, the tool stops.

You can adjust the tool speed by pressing the main power button. Each time you press the main power button, the level of speed changes.

| Speed indicator | Mode | Stroke speed |
| High | 5,000 min-1 |
| Medium | 3,600 min-1 |
| Low | 2,000 min-1 |
If the entangled branches or debris cannot be removed by the reverse function, switch off the tool and remove the battery cartridge, and then remove the entangled branches or debris using tools such as pliers.
Failure to switch off the tool and remove the battery cartridge may result in serious personal injury from accidental start-up. Removing the entangled branches or debris by hand may cause an injury, since the shear blades may move in reaction to removing them.
This tool has a reverse button to change the direction of shear blades movement. It is only for removing branches and debris entangled in the tool.
To reverse the shear blades movement, press the reverse button when the shear blades have stopped, then pull the front switch trigger, and then pull the rear switch trigger while pressing the lever. The speed indicators start blinking, and the shear blades move in reverse direction.
When entangled branches and debris are removed, the tool returns to the regular movement and the speed indicators stop blinking and light up.

NOTE: If the entangled branches or debris cannot be removed, release the switch triggers, then press the reverse button, and then pull the switch triggers until they are removed.
NOTE: If you tap the reverse button while the shear blades are still moving, the tool comes to stop and to be ready for reverse movement.
The tool is equipped with the electronic functions for easy operation.
Always be sure that the tool is switched off and the battery cartridge is removed before carrying out any work on the tool.
When replacing the shear blades, always wear gloves so that your hands do not directly contact the blades.
NOTICE: When replacing the shear blades, do not wipe off grease from the gear and crank.
Attach the blade cover before removing or installing the shear blades.
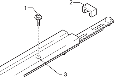
You can install 600 mm or 750 mm shear blades to your tool.
NOTE: If you change the shear blades to a different length, replace the chip receiver with one which fits the blades.
For UH014G

NOTE: The plate may remain on the cover.
NOTE: The rod or bearing may remain on the cover.
NOTICE: Be careful not to lose the screws.
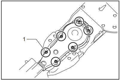
NOTICE: Apply a small amount of grease to the inner periphery of the hole of the rod.
NOTICE: Be careful not to lose the sleeves.
NOTICE: Apply a small amount of grease to the inner periphery of the small hole of the rod.
NOTICE: Make sure that the protrusion on the shear blades fits in the small hole on the rod.
NOTICE: Make sure that the protrusion on the shear blades fits in the hole on the plate.
For UH013G

For UH014G

NOTICE: If the shear blades do not move smoothly, the shear blades are not engaged with the rods properly. Install the shear blades again.
NOTICE: If the parts other than the shear blades such as the rods are worn out, ask Makita Authorized Service Centers for parts replacement or repairs.
When installing or removing the chip receiver, always wear gloves so that your hands do not directly contact the shear blades.
The chip receiver gathers discarded leaves and makes clean-up afterward much easier.
To remove the chip receiver, remove four screws (for UH013G) or five screws (for UH014G), and then remove the chip receiver from the tool. To install the chip receiver, follow the removal procedure in reverse.
For UH013G

For UH014G

Keep hands away from shear blades.
Avoid operating the tool in very hot weather as much as practicable. When operating the tool, be careful of your physical condition.
Be careful not to accidentally contact a metal fence or other hard objects while trimming. The shear blades may break and cause an injury.
Be careful not to allow the shear blades to contact the ground. The tool may recoil and cause an injury.
Overreaching with a hedge trimmer, particularly from a ladder, is extremely dangerous. Do not work while standing on anything wobbly or infirm.
NOTICE: Do not attempt to cut branches thicker than 10 mm in diameter with the tool. Cut branches to 10 cm lower than the cutting height using branch cutters before using the tool.

NOTICE: Do not cut down dead trees or similar hard objects. Doing so may damage the tool.
NOTICE: Do not trim the grass or weeds while using the shear blades. The shear blades may become tangled in the grass or weeds.

Hold the front grip with your right hand and the rear grip with your left hand. Pull the front switch trigger, then pull the rear switch trigger while pressing the lever, and then move the tool forward.

For basic operation, tilt the shear blades toward the trimming direction and move it calmly and slowly at the speed rate of 3 to 4 seconds per meter.

To cut a hedge top evenly, tie a string at the desired height and trim along it.

The chip receiver gathers discarded leaves and makes clean-up afterward much easier.

To cut a hedge side evenly, cut from the bottom to top.
When trimming to make a round shape (trimming boxwood or rhododendron, etc.), trim from the root to the top for a beautiful finish.

Always be sure that the tool is switched off and the battery cartridge is removed before attempting to perform inspection or maintenance.
To maintain product SAFETY and RELIABILITY, repairs, any other maintenance or adjustment should be performed by Makita Authorized or Factory Service Centers, always using Makita replacement parts.
Clean the tool by wiping off dust with a dry cloth or one dipped in soapy water and wrung out.
NOTICE: Never use gasoline, benzine, thinner, alcohol or the like. Discoloration, deformation or cracks may result.

Before the operation or once per hour during operation, apply low-viscosity oil (machine oil, or spray-type lubricating oil) to the shear blades.

After operation, remove dust from the shear blades with a wired brush, wipe it off with a cloth and then apply low-viscosity oil (machine oil, or spray-type lubricating oil) to the shear blades.
NOTICE: Do not wash the shear blades in water. Doing so may cause rust or damage to the tool.
NOTICE: Dirt and corrosion cause excessive blade friction and shorten the operating time per battery charge.
The hook hole in the tool bottom is convenient for hanging the tool from a nail or screw on the wall. Remove the battery cartridge from the tool, and then attach the blade cover to the shear blades so that the blades are not exposed. Store the tool out of the reach of children. Store the tool in a place not exposed to moisture or rain.

NOTICE: If the shear blades have considerably deformed by grinding, replace the shear blades with new ones.
Before grinding the shear blades, make sure that the tool is switched off and the battery cartridge is removed from the tool.
Interval of lubrication: Every 50 operating hours
Before asking for repairs, conduct your own inspection first. If you find a problem that is not explained in the manual, do not attempt to dismantle the tool. Instead, ask Makita Authorized Service Centers, always using Makita replacement parts for repairs.
| State of abnormality | Probable cause (malfunction) | Remedy |
Motor does not run | Battery cartridge is not installed. | Install the battery cartridge. |
| Battery problem (under voltage) | Recharge the battery. If recharging is not effective, replace battery. | |
| Ask your local authorized service center for repair. | |
Motor stops running after a little use | Battery's charge level is low. | Recharge the battery. If recharging is not effective, replace battery. |
| Overheating. | Stop using of tool to allow it to cool down. | |
Tool does not reach maximum RPM | Battery is installed improperly. | Install the battery cartridge as described in this manual. |
| Battery power is dropping. | Recharge the battery. If recharging is not effective, replace battery. | |
| The drive system does not work correctly. | Ask your local authorized service center for repair. | |
Shear blades do not move stop the machine immediately! | Foreign objects are caught between the shear blades. |
|
| The drive system does not work correctly. | Ask your local authorized service center for repair. | |
Abnormal vibration stop the machine immediately! | Shear blades are broken, bent or worn. | Replace the shear blades. |
| The drive system does not work correctly. | Ask your local authorized service center for repair. | |
Shear blades and motor cannot stop Remove the battery immediately! | Electric malfunction. | Remove the battery and ask your local authorized service center for repair. |
These accessories or attachments are recommended for use with your Makita tool specified in this manual. The use of any other accessories or attachments might present a risk of injury to persons. Only use accessory or attachment for its stated purpose.
If you need any assistance for more details regarding these accessories, ask your local Makita Service Center.
NOTE: Some items in the list may be included in the tool package as standard accessories. They may differ from country to country.

Here you can download full pdf version of manual, it may contain additional safety instructions, warranty information, FCC rules, etc.
Download Makita UH013G, UH014G - Cordless Hedge Trimmer Manual
Advertisement


Need help?
Do you have a question about the UH013G and is the answer not in the manual?
Questions and answers