Makita BUH48, BUH483, BUH521, BUH523 - Cordless Hedge Trimmer Manual

Makita BUH48, BUH483, BUH521, BUH523 - Cordless Hedge Trimmer Manual

Advertisement

Makita BUH48, BUH483, BUH521, BUH523 - Cordless Hedge Trimmer Manual

SPECIFICATIONS

Device Appearance
BUH481
BUH483
BUH521
BUH523

Model BUH481 BUH483 BUH521 BUH523
Blade length 480 mm 520 mm
Strokes per minute (min-1) 1,350
Rated voltage D.C. 14.4 V D.C. 18 V D.C. 14.4 V D.C. 18 V
Overall length 869 mm 881 mm 873 mm 888 mm 919 mm 931 mm 923 mm 938 mm
Net weight 3.0 kg 3.1 kg 3.0 kg 3.2 kg 3.0 kg 3.2 kg 3.1 kg 3.3 kg
Battery cartridge BL1415 BL1430 BL1815 BL1830 BL1415 BL1430 BL1815 BL1830
Battery charger DC18RC,DC18SD
  • Due to our continuing program of research and development, the specifications herein are subject to change without notice.
  • Specifications and battery cartridge may differ from country to country.
  • Weight, with battery cartridge, according to EPTA-Procedure 01/2003

Symbol
The following show the symbols used for the equipment.
Be sure that you understand their meaning before use.

information
  • Read instruction manual.
  • Do not expose to rain.
  • Only for EU countries
    Do not dispose of electric equipment or battery pack together with household waste material!
    In observance of European Directive 2012/19/EU on waste electric and electronic equipment, 2006/66/EC on batteries and accumulators and waste batteries and accumulators and their implementation in accordance with national laws, electric equipment and battery pack that have reached the end of their life must be collected separately and returned to an environmentally compatible recycling facility.

Intended use
The tool is intended for trimming hedges.

Noise
The typical A-weighted noise level determined according to EN60745:

Model BUH481,BUH483,BUH521
Sound pressure level (LpA): 75 dB(A)
Uncertainty (K): 2.5 dB(A)
The noise level under working may exceed 80 dB (A).

Model BUH523
Sound pressure level (LpA): 77 dB(A)
Uncertainty (K): 2.5 dB(A)
The noise level under working may exceed 80 dB (A).

Wear ear protection

Vibration
The vibration total value (tri-axial vector sum) determined according to EN60745:
Work mode: hedge trimming
Vibration emission (ah): 2.5 m/s2 or less
Uncertainty (K): 1.5 m/s2

  • The declared vibration emission value has been measured in accordance with the standard test method and may be used for comparing one tool with another.
  • The declared vibration emission value may also be used in a preliminary assessment of exposure.

  • The vibration emission during actual use of the power tool can differ from the declared emission value depending on the ways in which the tool is used.
  • Be sure to identify safety measures to protect the operator that are based on an estimation of exposure in the actual conditions of use (taking account of all parts of the operating cycle such as the times when the tool is switched off and when it is running idle in addition to the trigger time).

General Power Tool Safety Warnings

burn hazardburn hazard
Read all safety warnings and all instructions. Failure to follow the warnings and instructions may result in electric shock, fire and/or serious injury.
Save all warnings and instructions for future reference.

DEVICE SAFETY WARNINGS

  1. Keep all parts of the body away from the cutter blade. Do not remove cut material or hold material to be cut when blades are moving. Make sure the switch is off when clearing jammed material. A moment of inattention while operating the hedge trimmer may result in serious personal injury.
  2. Carry the hedge trimmer by the handle with the cutter blade stopped. When transporting or storing the hedge trimmer always fit the cutting device cover. Proper handling of the hedge trimmer will reduce possible personal injury from the cutter blades.
  3. shock hazard Hold the power tool by insulated gripping surfaces only, because the cutter blade may contact hidden wiring. Cutter blades contacting a "live" wire may make exposed metal parts of the power tool "live" and could give the operator an electric shock.
  4. Do not use the hedge trimmer in the rain or in wet or very damp conditions. The electric motor is not waterproof.
  5. First-time users should have an experienced hedge trimmer user show them how to use the trimmer.
  6. The hedge trimmer must not be used by children or young persons under 18 years of age. Young persons over 16 years of age may be exempted from this restriction if they are undergoing training under the supervision of an expert.
  7. Use the hedge trimmer only if you are in good physical condition. If you are tired, your attention will be reduced. Be especially careful at the end of a working day. Perform all work calmly and carefully. The user is responsible for all damages to third parties.
  8. Never use the trimmer when under the influence of alcohol, drugs or medication.
  9. Work gloves of stout leather are part of the basic equipment of the hedge trimmer and must always be worn when working with it. Also wear sturdy shoes with anti-skid soles.
  10. Before starting work check to make sure that the trimmer is in good and safe working order. Ensure guards are fitted properly. The hedge trimmer must not be used unless fully assembled.
  11. Make sure you have a secure footing before starting operation.
  12. Hold the tool firmly when using the tool.
  13. Do not operate the tool at no-load unnecessarily.
  14. Immediately switch off the motor and remove the battery cartridge if the cutter should come into contact with a fence or other hard object. Check the cutter for damage, and if damaged repair immediately.
  15. Before checking the cutter, taking care of faults, or removing material caught in the cutter, always switch off the trimmer and remove the battery cartridge.
  16. Switch off the trimmer and remove the battery cartridge before doing any maintenance work.
  17. When moving the hedge trimmer to another location, including during work, always remove the battery cartridge and put the blade cover on the cutter blades. Never carry or transport the trimmer with the cutter running. Never grasp the cutter with your hands.
  18. Clean the hedge trimmer and especially the cutter after use, and before putting the trimmer into storage for extended periods. Lightly oil the cutter and put on the cover. The cover supplied with the unit can be hung on the wall, providing a safe and practical way to store the hedge trimmer.
  19. Store the hedge trimmer with the cover on, in a dry room. Keep it out of reach of children. Never store the trimmer outdoors.

SAVE THESE INSTRUCTIONS.


DO NOT let comfort or familiarity with product (gained from repeated use) replace strict adherence to safety rules for the subject product.
MISUSE or failure to follow the safety rules stated in this instruction manual may cause serious personal injury.

IMPORTANT SAFETY INSTRUCTIONS FOR BATTERY CARTRIDGE

  1. Before using battery cartridge, read all instructions and cautionary markings on:
    1. battery charger,
    2. battery, and
    3. product using battery.
  2. Do not disassemble battery cartridge.

  3. If operating time has become excessively shorter, stop operating immediately. It may result in a risk of overheating, possible burns and even an explosion.
  4. If electrolyte gets into your eyes, rinse them out with clear water and seek medical attention right away. It may result in loss of your eyesight.
  5. Do not short the battery cartridge:
    1. Do not touch the terminals with any conductive material.
    2. Avoid storing battery cartridge in a container with other metal objects such as nails, coins, etc.
    3. Do not expose battery cartridge to water or rain.


A battery short can cause a large current flow, overheating, possible burns and even a breakdown.

  1. Do not store the tool and battery cartridge in locations where the temperature may reach or exceed 50C (122F).
  2. Do not incinerate the battery cartridge even if it is severely damaged or is completely worn out. The battery cartridge can explode in a fire.
  3. Be careful not to drop or strike battery.
  4. Do not use a damaged battery.

SAVE THESE INSTRUCTIONS.

Tips for maintaining maximum battery life

  1. Charge the battery cartridge before completely discharged.
    Always stop tool operation and charge the battery cartridge when you notice less tool power.
  2. Never recharge a fully charged battery cartridge.
    Overcharging shortens the battery service life.
  3. Charge the battery cartridge with room temperature at 10C - 40C (50F - 104F). Let a hot battery cartridge cool down before charging it.
  4. Charge the battery cartridge once in every six months if you do not use it for a long period of time.

FUNCTIONAL DESCRIPTION


  • Always be sure that the tool is switched off and the battery cartridge is removed before adjusting or checking function on the tool.

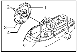
Installing or removing battery cartridge

  1. Red indicator
  2. Button
  3. Battery cartridge

  • Always switch off the tool before installing or removing of the battery cartridge.
  • Hold the tool and the battery cartridge firmly when installing or removing battery cartridge. Failure to hold the tool and the battery cartridge firmly may cause them to slip off your hands and result in damage to the tool and battery cartridge and a personal injury. To remove the battery cartridge, slide it from the tool while sliding the button on the front of the cartridge.

To install the battery cartridge, align the tongue on the battery cartridge with the groove in the housing and slip it into place. Insert it all the way until it locks in place with a little click. If you can see the red indicator on the upper side of the button, it is not locked completely.

  • Always install the battery cartridge fully until the red indicator cannot be seen. If not, it may accidentally fall out of the tool, causing injury to you or someone around you.
  • Do not install the battery cartridge forcibly. If the cartridge does not slide in easily, it is not being inserted correctly.

Battery protection system

Lithium-ion battery with star marking
Lithium-ion batteries with a star marking are equipped with a protection system. This system automatically cuts off power to the tool to extend battery life.

  1. Star marking

The tool will automatically stop during operation if the tool and/or battery are placed under one of the following conditions:

  • Overloaded:
    The tool is operated in a manner that causes it to draw an abnormally high current.
    In this situation, release the switch trigger on the tool and stop the application that caused the tool to become overloaded. Then pull the switch trigger again to restart.
    If the tool does not start, the battery is overheated. In this situation, let the battery cool before pulling the switch trigger again.
  • Low battery voltage:
    The remaining battery capacity is too low and the tool will not operate. In this situation, remove and recharge the battery.

Switch action

  1. Switch trigger A
  2. Switch trigger B
  3. Lock-off button

  • Before inserting the battery cartridge into the tool, always check to see that the switch trigger actuates properly and returns to the "OFF" position when released.

For your safety, this tool is equipped with a dual switching system. To turn on the tool, press the lock-off button and triggers A and B. Release either one of the two pressed triggers to turn off. The sequence of switching is unimportant as the tool only starts when both switches are activated.

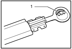
Indication lamp

Running the tool allows the indication lamp to show the battery cartridge capacity status.
When the tool is also overloaded and has stopped during operation, the lamp lights up in red.
Refer to the following table for the status and action to be taken for the indication lamp.

  1. Indication lamp
Indication lamp Status Action to be taken
The lamp blinks in red. This indicates the appropriate time to replace the battery cartridge when the battery power becomes low. Recharge the battery cartridge as soon as possible.
The lamp lights up in red.
(Note 1)
This function works when the battery power is almost used up. At this time, tool stops immediately. Recharge the battery cartridge.
The lamp lights up in red.
(Note 1)
Autostop due to overload. Turn off the tool.

Note 1: The time at which the indication lamp lights up varies by the temperature around the work area and the battery cartridge conditions.

OPERATION

  • Be careful not to accidentally contact a metal fence or other hard objects while trimming. The blade will break and may cause serious injury.
  • Overreaching with a hedge trimmer, particularly from a ladder, is extremely dangerous. Do not work from anything wobbly or infirm.


Do not attempt to cut branches thicker than 10 mm diameter with this trimmer. These should first be cut with shears down to the hedge trimming level.


  • Do not cut off dead trees or similar hard objects. Failure to do so may damage the tool.


Hold the trimmer with both hands and pull the switch trigger A or B and then move it in front of your body.

As a basic operation, tilt the blades towards the trimming direction and move it calmly and slowly at the speed rate of 3 - 4 seconds per meter.

  1. Trimming direction
  2. Hedge surface to be trimmed
  3. Tilt the blades

To cut a hedge top evenly, it helps to tie a string at the desired hedge height and to trim along it, using it as a reference line.

  1. String


Attaching the chip receiver (optional accessory) on the tool when trimming the hedge straight can avoid cut off leaves' being thrown away.


To cut a hedge side evenly, it helps to cut from the bottom upwards.


Trim boxwood or rhododendron from the base toward the top for a nice appearance and good job.

Installing or removing chip receiver

Optional accessory


  • Always be sure that the tool is switched off and unplugged before installing or removing chip receiver.

NOTE:

  • When replacing the chip receiver, always wear gloves so that hands and face does not directly contact the blade. Failure to do so may cause personal injury.
  • Always be sure to remove the blade cover before installing the chip receiver.
  • The chip receiver receives cut-off leaves and alleviates collecting thrown-away leaves. This can be installed on either side of the tool.

Press the chip receiver on the shear blades so that its slits overlap with the nuts on the shear blades.

  1. Press
  2. Chip receiver
  3. Nut
  4. Shear blade

At this time, the chip receiver needs to be installed so that its hooks fit into grooves in the shear blade unit.

  1. Hooks
  2. Fit the hooks into groove
  3. Grooves

To remove the chip receiver, press its lever on both sides so that the hooks are unlocked.

  1. Press the levers on both sides
  2. Unlock the hooks

  • The blade cover (standard equipment) cannot be installed on the tool with the chip receiver being installed. Before carrying or storing, uninstall the chip receiver and then install the blade cover to avoid blade exposure.

NOTE:

  • Check the chip receiver for secure installment before use.
  • Never try to uninstall the chip receiver by an excessive force with its hooks locked in the blade unit grooves. Using the excessive force may damage it.

MAINTENANCE


  • Always be sure that the tool is switched off and the battery cartridge is removed before attempting to perform inspection or maintenance.

Cleaning the tool

Clean out the tool by wiping off dust with a dry or soapdipped rag.


  • Never use gasoline, benzine, thinner, alcohol or the like. Discoloration, deformation or cracks may result.

Blade maintenance

Smear the blade before and once per hour during operation using machine oil or the like.

NOTE:

  • Before smearing the blade, remove the chip receiver.

After operation, remove dust from both sides of the blade with wired brush, wipe off it with a rag and then apply enough low-viscosity oil, such as machine oil etc. and spray-type lubricating oil.


  • Do not wash the blades in water. Failure to do so may cause rust or damage on the tool.

Removing or installing shear blade

  • Before removing or installing shear blade, always be sure that the tool is switched off and the battery cartridge is removed.
  • When replacing the shear blade, always wear gloves without removing blade cover so that hands and face does not directly contact the blade. Failure to do so may cause personal injury.

NOTE:

  • Do not wipe off grease from the gear and crank.
    Failure to do so may cause damage to the tool.

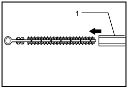
Removing the shear blades

Reverse the tool and loosen four screws and remove the under cover.

  1. Screws
  2. Under cover

NOTE:

  • Be careful not to get your hands dirty as grease is applied in the shear blade driving area.

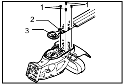
Loosen four screws and remove the blades. Remove the washer and sponge from the shear blades and put them aside. They are required for the later installation.

  1. Screws
  2. Sponge
  3. Washer

If the sleeves are still left in the holes of the gear, remove the gear and push the sleeves out of it with a screwdriver or the like.

  1. Gear
  2. Sleeves
  3. Washer
  4. Groove

NOTE:
The washer underneath the gear may come off by mistake when removing the gear. In this case, return it to the original position as it was installed.

Installing the shear blade

Remove the blade cover from the old shear blades and fit it onto the new ones to avoid contact with blades.

  1. Blade cover

Adjust the hole positions by turning the gear as illustrated.

Apply some grease provided with the new shear blades as illustrated.

  1. Grease

Put the removed sponge in the same position as the old one. Make sure that the sleeves provided with the new shear blades are put on the pins of the blade. Place the new shear blades on the tool so that the pins fit in the holes of the gear. If the sleeves on the pins come off mistakenly, put them into the holes of the gear beforehand.

  1. Blade
  2. Sponge
  3. Sleeves

Install the blade and tighten the four screws and put the removed washer in the same position as the old one.

  1. Screws
  2. Washer

Install the under cover on the tool and tighten the four screws firmly.

  1. Screws

Storage


The hook hole in the tool bottom is convenient for hanging the tool from a nail or screw on the wall.

Remove the battery cartridge and put the blade cover on the shear blades so that the blades are not exposed.
Store the tool out of the reach of children carefully.
Store the tool in the place not exposed to water and rain.
To maintain product SAFETY and RELIABILITY, repairs, any other maintenance or adjustment should be performed by Makita Authorized Service Centers, always using Makita replacement parts.

OPTIONAL ACCESSORIES


  • These accessories or attachments are recommended for use with your Makita tool specified in this manual. The use of any other accessories or attachments might present a risk of injury to persons. Only use accessory or attachment for its stated purpose.

If you need any assistance for more details regarding these accessories, ask your local Makita Service Center.

  • Blade cover
  • Shear blade assembly
  • Makita genuine battery and charger
  • Chip receiver

NOTE:

  • Some items in the list may be included in the tool package as standard accessories. They may differ from country to country.

EC Declaration of Conformity

Tomoyasu Kato
Director
Makita Corporation
3-11-8, Sumiyoshi-cho,
Anjo, Aichi, 446-8502, JAPAN

Documents / Resources

Download manual

Here you can download full pdf version of manual, it may contain additional safety instructions, warranty information, FCC rules, etc.

Download Makita BUH48, BUH483, BUH521, BUH523 - Cordless Hedge Trimmer Manual

Advertisement

Need help?

Need help?

Do you have a question about the BUH48 and is the answer not in the manual?

Questions and answers

Table of Contents