Advertisement
OptiSim® has been designed to work with the small burner located in the rear position of the cooktop and is used to provide optimal simmering for delicate sauces while minimizing the risk of scorching.
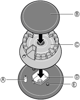
The small auxiliary burner cap can be replaced with the OptiSim® burner cap. Refer to the Installation Guide included with the cooktop for complete instructions on how to correctly install the OptiSim® burner.

*See section OptiSim® Burner Cap Placement and OptiSim® Burner Cap Installation for further information.

*See section OptiSim® Burner Cap Placement and OptiSim® Burner Cap Installation for further information.

*See section OptiSim® Burner Cap Placement and OptiSim® Burner Cap Installation for further information.

*See section OptiSim® Burner Cap Placement and OptiSim® Burner Cap Installation for further information.

*See section OptiSim® Burner Cap Placement and OptiSim® Burner Cap Installation for further information.

*See section OptiSim® Burner Cap Placement and OptiSim® Burner Cap Installation for further information.

*See section OptiSim® Burner Cap Placement and OptiSim® Burner Cap Installation for further information.
Your new cooktop has sealed gas burners. There are no burner parts under the cooktop to clean, disassemble or adjust. Your cooktop has three different burner sizes: small, medium, and large.
To prevent flare-ups, do not use the cooktop without all burner caps and all burner grates properly positioned.
To prevent burns, do not touch burner caps or grates while hot. Turn the cooktop off and allow the entire cooktop to cool.

The burner caps must be properly placed for the cooktop to function properly. If the burner cap is not properly placed, one or more of the following problems may occur:





Notes
The OptiSim® has been designed to work with the small burner located in the rear position of the cooktop and is used to provide optimal simmering for delicate sauces while minimizing the risk of scorching.



When properly installed the cap will extend beyond the burner base and raised surface.
An "On" light is located on the cooktop. When illuminated, it indicates at least one burner is in use (no light on the 500 Series).
Properly position and install each burner grate as shown in the illustration below.

To prevent flare-ups, properly support pots and avoid spills, all grates must be properly positioned on the cooktop whenever the cooktop is in use. Each of the four feet must be placed into the corresponding dimples in the cooktop. Do not use a grate if the rubber feet are missing or damaged.
For replacement of rubber feet: Call Customer Support at 1-800-944-2904.
The cooktop has one control knob for each burner. Push down and turn to the left to light and set the desired heat setting.
Failure to operate knobs properly may result in personal injury and damage to the appliance.
The cooktop has standard burner controls and rubber grommets.

The standard burner controls have an infinite number of heat settings.
To operate: Select the appropriate control knob, push down and turn counterclockwise to the desired flame size. Turn off by turning the control knob clockwise to OFF.
To remove knob: With control knob in the OFF position, gently lift knob up and off.
To avoid possible electric shock, do not reach through control opening into rough-in box.
Do not use the appliance without the knobs in place.
To replace knob: Replace control knob by placing indicator line at the OFF position. Press down firmly.
Use the cooktop for surface cooking applications such as boiling, frying, simmering, steaming and sautéing.
The burning of gas cooking fuel can create small amounts of carbon monoxide, benzene, formaldehyde and soot. To minimize exposure to these substances, the burners should be adjusted by a certified installer or authorized servicer to ensure proper combustion. Ensure proper ventilation with an open window or use a ventilation fan or hood when cooking with Gas. Always operate the unit according to the instructions in this manual.
The cooktop uses electronic igniters to light the burners. There is no pilot light. Each burner has its own igniter. If a burner flame blows out during use, the burner will automatically reignite.
To avoid possible injury or damage to the appliance, ensure grates are installed exactly per installation instructions and not backwards or upside down.
The igniter should be clean and dry for proper operation.
Note: If the burner does not light within 4 seconds, turn the burner off. Check to see that the burner cap is positioned correctly on the burner base and the igniter is clean and dry. If a burner still fails to ignite, see "Before Calling for Service".
When a flame is present and a Low setting is used, the igniter may occasionally spark. This is normal.
To avoid possible injury or damage to the appliance, ensure grates are installed exactly per installation instructions and not backwards or upside down.
The burner flame should be blue in color and stable with no yellow tips, excessive noise or fluttering. It should burn completely around the burner cap.
Checking Flame Characteristics:

Note: An audible "pop" may be heard when the burner is turned off manually. The "popping" may be louder with LP gas than with natural gas. This is normal.
| Uses | Heat setting |
| Boiling (i.e. water, stock, etc.) | High |
| Pan frying, sautéing, browning meat, deep frying | Medium High |
| Shallow frying, eggs, pancakes, bacon | Medium |
| Steaming, braising | Medium Low |
| Melting chocolate, melting butter, simmering sauces, soups and stews (i.e. tomato sauce, Alfredo sauce, beef stew, etc.) Note: When melting chocolate or butter, use smallest burner with OPTISIM® feature for best results. | Low |
Cookware Recommendations
Pan Bottom Diameter
PREVENTING BURNS FROM HOT KNOBS
Ensure the cookware does not exceed the size of the grates. Cookware that is larger than the grates may cause the flames to get too close to the knobs creating a burn hazard when touched.

Use Balanced Pans

Proper Fitting Lid

Specialty cookware
The entire cooktop can be safely cleaned by wiping with a soapy sponge, then rinsing and drying. If stubborn soil remains, follow the recommended cleaning methods below.

Cleaning recommendations:
All igniters spark when any single burner is turned on. Do not touch any of the burners when the cooktop is in use.
The cleaners recommended below indicate a type and do not constitute an endorsement of a particular brand. Use all products according to package directions.
| Cooktop part / material | Suggested cleaners | Important reminders |
| Burner base / aluminum alloy |
|
|
| Burner cap / porcelain enamel |
|
|
| Control knobs and grommets |
|
|
| Exterior finish / stainless steel |
|
|
| Grates and grate bridge / porcelain enamel on cast iron |
|
|
| Igniters / ceramic |
|
|
The appliance requires only regular cleaning for proper operation. No other maintenance is required.
For detailed instructions see → "Cleaning and Maintenance"
Before calling Customer Service, consider the suggestions and instructions below:
Repairs should only be done by an authorized servicer.
Improper repair of your appliance may result in risk of severe physical injury or death.
| Problem | Suggestion |
| Burner(s) do not light / igniters do not spark |
|
| Burner flame goes out unexpectedly | Make sure that there is not draft in the room. |
| Igniters spark even though knobs are in the off position | When the electrical power connection has been activated at the first power up or reconnected after an outage, the igniters may spark once or twice, even though all burner knobs are in the "OFF" position. |
| Cooking results are not what was expected |
|
The rating label shows the model number and the FD number (production number/product's unique identifier) of your cooktop. It is located on the underside of the cooktop.

Rating Label Location
The model number and the FD number of your appliance are found on the rating label. Make a note of these numbers in the space below to save time in the event your appliance requires service.
| Model # | FD # |
| Bosch Customer Support | 800-944-2904 |
Keep your invoice or escrow papers for warranty validation if service is needed.
This indicates that death or serious injuries may occur as a result of non-observance of this warning.
This indicates that minor or moderate injuries may occur as a result of non-observance of this warning.
NOTICE: This indicates that damage to the appliance or property may occur as a result of non-compliance with this advisory.
Note: This alerts you to important information and/or tips.
READ AND SAVE THESE INSTRUCTIONS
| If the information in these instructions is not followed exactly, a fire or explosion may result causing property damage, personal injury or death.
|
SAVE THESE INSTRUCTIONS FOR THE LOCAL ELECTRICAL INSPECTOR'S USE.
INSTALLER: LEAVE THESE INSTRUCTIONS WITH THE UNIT FOR THE OWNER.
OWNER: PLEASE RETAIN THESE INSTRUCTIONS FOR FUTURE REFERENCE.
When properly cared for, your new appliance has been designed to be safe and reliable. Read all instructions carefully before use. These precautions will reduce the risk of burns, electric shock, fire and injury to persons. When using kitchen appliances, basic safety precautions must be followed including those in the following pages.
Save these instructions.
Set the burner control so that the flame does not extend beyond the bottom of the pan.
Do not allow aluminum foil, plastic, paper or cloth to come in contact with a hot surface element, burner or grate. Do not allow pans to boil dry.
If the cooktop is near a window, forced air vent or fan, be certain that flammable materials such as window coverings do not blow over or near the burners or elements. They could catch on fire.
Always have a working smoke detector near the kitchen.
Never leave the cooktop unattended when in use. Boilovers cause smoking and greasy spillovers may ignite.
TO REDUCE THE RISK OF A GREASE FIRE:
In the event that personal clothing or hair catches fire, drop and roll immediately to extinguish flames.
Smother flames from food fires other than grease fires with baking soda. Never use water on cooking fires.
Take care that drafts like those from fans or forced air vents do not push the flames so that they extend beyond the edges of the pan.
Have an appropriate fire extinguisher available, nearby, highly visible and easily accessible near the appliance.
TO REDUCE THE RISK OF INJURY TO PERSONS IN THE EVENT OF A GREASE FIRE, OBSERVE THE FOLLOWING:
During a power failure, only the cooktop burners can be lit manually.
Whenever possible, do not operate the ventilation system during a cooktop fire. However, do not reach through fire to turn it off.
To prevent carbon monoxide build-up, do not block appliance air vents.
Have the installer show you where the gas shut-off valve is located.
For proper burner performance, keep igniters clean and dry.
If a burner goes out and gas escapes, open windows and doors. Wait until gas dissipates before using the appliance.
All igniters spark when any single burner is turned on. Do not touch any of the burners when the cooktop is in use.
If you smell gas, your installer has not done a proper job of checking for leaks. If the connections are not perfectly tight, you can have a small leak and, therefore, a faint smell. If you smell gas, immediately shut off the unit and contact an authorized service technician to diagnose the issue. See Warning, → "Gas Appliance Safety"
To prevent flare-ups all grates must be properly positioned on the cooktop whenever the cooktop is in use. Each of the feet must be placed into the corresponding dimples in the cooktop. Do not use a grate if the rubber feet are missing or damaged.
Keep the igniter ports clean for proper lighting performance of the burners. It is necessary to clean these when there is a boilover or when the burner does not light even though the electronic igniters click.
To prevent flare-ups do not use the cooktop without all burner caps and all burner grates properly positioned.
Do not clean or touch any of the burners when an extra low burner (if equipped) is in use. When the extra low burner automatically reignites the ignitor at the burner will spark.
Use this appliance only for its intended use as described in this manual. NEVER use this appliance as a space heater to heat or warm the room. Doing so may result in carbon monoxide poisoning and overheating the appliance. Never use the appliance for storage.
DO NOT TOUCH SURFACE UNITS OR AREAS NEAR UNITS - Surface units may be hot even though they are dark in color. Areas near surface units may become hot enough to cause burns. During and after use, do not touch, or let clothing, potholders, or other flammable materials contact surface units or areas near units until they have had sufficient time to cool. Among these areas are the cooktop and areas facing the cooktop.
Do not heat or warm unopened food containers. Build-up of pressure may cause the container to burst and cause injury.
Always turn hood ON when cooking at high heat or when flambéing food (i.e. Crêpes Suzette, Cherries Jubilee, Peppercorn Beef Flambe).
Use high heat settings on the cooktop only when necessary. To avoid bubbling and splattering, heat oil slowly, on no more than a low-medium setting. Hot oil is capable of causing extreme burns and injury.
Never move a pan of hot oil, especially a deep fat fryer. Wait until it is cool.
Secure all loose garments, etc., before beginning. Tie long hair so that it does not hang loose, and do not wear loose-fitting clothing or hanging garments, such as ties, scarves, jewelry, or dangling sleeves.
When children become old enough to use the appliance, it is the responsibility of the parents or legal guardians to ensure that they are instructed in safe practices by qualified persons.
Do not allow anyone to climb, stand, lean, sit, or hang on any part of an appliance, especially a door, warming drawer, or storage drawer. This can damage the appliance, and the unit may tip over, potentially causing severe injury.
Do not allow children to use this appliance unless closely supervised by an adult. Children and pets should not be left alone or unattended in the area where the appliance is in use. They should never be allowed to play in its vicinity, whether or not the appliance is in use.
Items of interest to children should not be stored in an appliance, in cabinets above an appliance or on the backsplash. Children climbing on an appliance to reach items could be seriously injured.
SAFETY NOTICE: The California Safe Drinking Water and Toxic Enforcement Act requires the Governor of California to publish a list of substances known to the state to cause cancer, birth defects or other reproductive harm, and requires businesses to warn customers of potential exposure to such substances. The burning of gas cooking fuel and the elimination of soil during self-cleaning can generate some by-products which are on the list. To minimize exposure to these substances, always operate this unit according to the instructions contained in this booklet and provide good ventilation.
The burning of gas cooking fuel can create small amounts of Carbon Monoxide, Benzene, Formaldehyde and Soot. To minimize exposure to these substances the burners should be adjusted by a certified installer or agency to ensure proper combustion. Ensure proper ventilation with an open window or use a ventilation fan or hood when cooking with gas. Always operate the unit according to the instructions in this manual.
After a spill or boilover, turn off the burner and allow the cooktop to cool. Clean around the burner and burner ports. After cleaning, check for proper operation.
Do not clean the appliance while it is still hot. Some cleaners produce noxious fumes when applied to a hot surface. Wet clothes and sponges can cause burns from steam.
Hold the handle of the pan when stirring or turning food. This helps prevent spills and movement of the pan.
Use Proper Pan Size.
The use of undersized cookware will expose a portion of the heating element or burner to direct contact and may result in ignition of clothing. Select cookware having flat bottoms large enough to cover the surface heating unit. This appliance is equipped with one or more surface units of different sizes. Proper relationship of cookware to heating element or burner will also improve efficiency.
Always position handles of utensils inward so they do not extend over adjacent work areas, burners, or the edge of the cooktop. This reduces the risk of fires, spills and burns.
Adjust burner flame size so that it does not extend beyond the edge of the cookware. Proper relationship of cookware to burner flame reduces safety risks.
Use only certain types of glass, heatproof glass, ceramic, earthenware, or other glazed utensils that are suitable for cooktop use.
Have the installer show you the location of the circuit breaker or fuse. Mark it for easy reference.
This appliance must be properly installed and grounded by a qualified technician. Connect only to properly grounded outlet. Refer to Installation Instructions for details.
This appliance is intended for normal family household use only. It is not approved for outdoor use. See the Statement of Limited Product Warranty. If you have any questions, contact the manufacturer.
Do not store or use corrosive chemicals, vapors, flammables or nonfood products in or near this appliance. It is specifically designed for use when heating or cooking food. The use of corrosive chemicals in heating or cleaning will damage the appliance and could result in injury.
Failure to operate knobs properly may result in personal injury and damage to the appliance.
This appliance is not intended for operation with an external time switch or external remote control.
Do not operate this appliance if it is not working properly, or if it has been damaged. Contact an authorized servicer.
Do not repair or replace any part of the appliance unless specifically recommended in this manual. Refer all servicing to a factory authorized service center.
To avoid electrical shock hazard, before servicing the appliance, switch power off at the service panel and lock the panel to prevent the power from being switched on accidentally.
This product can expose you to chemicals including vinyl chloride, which is known to the State of California to cause cancer and birth defects or other reproductive harm. For more information go to www.P65Warnings.ca.gov.
Note: IMPORTANT SAFETY NOTICE: The California Safe Drinking and Toxic Enforcement Act requires the Governor of California to publish a list of substances known to the state to cause cancer, birth defect or other reproductive harm, and requires businesses to warn customers of potential exposure to such substances. The burning of gas cooking fuel and the elimination of soil during self-cleaning can generate small amounts of carbon monoxide. The fiberglass insulation in Self Clean ovens gives off very small amounts of formaldehyde during the first several cleaning cycles. California lists formaldehyde as a potential cause of cancer. Carbon monoxide is a potential cause of reproductive toxicity. Exposure to these substances can be minimized by:
This Bosch Appliance is made by BSH Home Appliance Corporation
1901 Main Street, Suite 600
Irvine, CA 92614
Questions?
1-800-944-2904
www.bosch-home.com/us

Advertisement

Need help?
Do you have a question about the NGM5056UC and is the answer not in the manual?
Questions and answers