Advertisement

| Model: | 9557HNR | 9558HNR |
| Wheel diameter | 115mm (4-1/2') | 125mm (5') |
| Max. wheel thickness | 7.2mm | |
| Spindle thread | M14 or 5/8' (country specific) | |
| Rated speed (n) | 11,000min-1 | |
| Overall length | 271mm | |
| Net weight | 2.0kg | 2.1kg |
| Safety class | /II | |
The tool is intended for grinding, sanding and cutting of metal and stone materials without the use of water.
The tool should be connected only to a power supply of the same voltage as indicated on the nameplate, and can only be operated on single-phase AC supply. They are double-insulated and can, therefore, also be used from sockets without earth wire.
The typical A-weighted noise level determined according to EN60745:
Sound pressure level (LpA): 86 dB(A)
Sound power level (LWA): 97 dB (A)
Uncertainty (K): 3 dB(A)
Wear ear protection.
The vibration total value (tri-axial vector sum) determined according to EN60745:
Model 9557HNR
Work mode: surface grinding
Vibration emission (ah, AG): 7.5 m/s2
Uncertainty (K): 1.5 m/s2
Work mode: disc sanding
Vibration emission (ah, DS): 2.5 m/s2 or less
Uncertainty (K): 1.5 m/s2
Model 9558HNR
Work mode: surface grinding
Vibration emission (ah, AG): 8.5 m/s2
Uncertainty (K): 1.5 m/s2
Work mode: disc sanding
Vibration emission (ah, DS): 2.5 m/s2 or less
Uncertainty (K): 1.5 m/s2
NOTE: The declared vibration total value(s) has been measured in accordance with a standard test method and may be used for comparing one tool with another.
NOTE: The declared vibration total value(s) may also be used in a preliminary assessment of exposure.
The vibration emission during actual use of the power tool can differ from the declared value(s) depending on the ways in which the tool is used especially what kind of workpiece is processed.
Be sure to identify safety measures to protect the operator that are based on an estimation of exposure in the actual conditions of use (taking account of all parts of the operating cycle such as the times when the tool is switched off and when it is running idle in addition to the trigger time).
The declared vibration emission value is used for main applications of the power tool. However if the power tool is used for other applications, the vibration emission value may be different.
Safety Warnings Common for Grinding, Sanding, Wire Brushing, or Abrasive Cutting-Off Operations:
Kickback and Related Warnings
Kickback is a sudden reaction to a pinched or snagged rotating wheel, backing pad, brush or any other accessory. Pinching or snagging causes rapid stalling of the rotating accessory which in turn causes the uncontrolled power tool to be forced in the direction opposite of the accessory's rotation at the point of the binding. For example, if an abrasive wheel is snagged or pinched by the workpiece, the edge of the wheel that is entering into the pinch point can dig into the surface of the material causing the wheel to climb out or kick out. The wheel may either jump toward or away from the operator, depending on direction of the wheel's movement at the point of pinching. Abrasive wheels may also break under these conditions. Kickback is the result of power tool misuse and/or incorrect operating procedures or conditions and can be avoided by taking proper precautions as given below.
Safety Warnings Specific for Grinding and Abrasive Cutting-Off Operations:
Additional Safety Warnings Specific for Abrasive Cutting-Off Operations:
Safety Warnings Specific for Sanding Operations:
Safety Warnings Specific for Wire Brushing Operations:
Additional Safety Warnings:
DO NOT let comfort or familiarity with product (gained from repeated use) replace strict adherence to safety rules for the subject product. MISUSE or failure to follow the safety rules stated in this instruction manual may cause serious personal injury.
Always be sure that the tool is switched off and unplugged before adjusting or checking function on the tool.
Press the shaft lock to prevent spindle rotation when installing or removing accessories.

NOTICE: Never actuate the shaft lock when the spindle is moving. The tool may be damaged.
Before plugging in the tool, always check to see that the slide switch actuates properly and returns to the "OFF" position when the rear of the slide switch is depressed.
Switch can be locked in "ON" position for ease of operator comfort during extended use. Apply caution when locking tool in "ON" position and maintain firm grasp on tool.
To start the tool, slide the slide switch toward the "I (ON)" position by pushing the rear of the slide switch. For continuous operation, press the front of the slide switch to lock it.
To stop the tool, press the rear of the slide switch, then slide it toward the "O (OFF)" position.

The tool does not start with the switch being lock-on even when the tool is plugged.
To cancel the unintentional restart proof, return the power switch to OFF position.
NOTE: Wait more than one second before restarting the tool when unintentional restart proof functions.
NOTE: When the tool is overloaded and the tool temperature reaches a certain level, the tool may automatically stop. In this situation, let the cool before turning on the tool again.
Soft start feature
Soft start feature reduces starting reaction.
Always be sure that the tool is switched off and unplugged before carrying out any work on the tool.
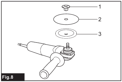
Always be sure that the side grip is installed securely before operation.
Screw the side grip securely on the position of the tool as shown in the figure.

Installing or removing wheel guard (For depressed center wheel, flap disc, flex wheel, wire wheel brush / abrasive cut-off wheel, diamond wheel)
When using a depressed center wheel, flap disc, flex wheel or wire wheel brush, the wheel guard must be fitted on the tool so that the closed side of the guard always points toward the operator.
When using an abrasive cut-off / diamond wheel, be sure to use only the special wheel guard designed for use with cut-off wheels.
(In some European countries, when using a diamond wheel, the ordinary guard can be used. Follow the regulations in your country.)
Mount the wheel guard with the protrusions on the wheel guard band aligned with the notches on the bearing box. Then rotate the wheel guard to such an angle that it can protect the operator according to work. Be sure to tighten the screw securely.
To remove wheel guard, follow the installation procedure in reverse.

Optional accessory
When using a depressed center wheel or flap disc, the wheel guard must be fitted on the tool so that the closed side of the guard always points toward the operator.
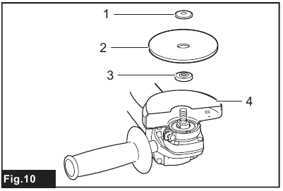
Make sure that the mounting part of the inner flange fits into the inner diameter of the depressed center wheel / flap disc perfectly. Mounting the inner flange on the wrong side may result in the dangerous vibration.
Mount the inner flange onto the spindle. Make sure to fit the dented part of the inner flange onto the straight part at the bottom of the spindle.
Fit the depressed center wheel / flap disc on the inner flange and screw the lock nut onto the spindle.

To tighten the lock nut, press the shaft lock firmly so that the spindle cannot revolve, then use the lock nut wrench and securely tighten clockwise.

To remove the wheel, follow the installation procedure in reverse.
Optional accessory
Only for tools with M14 spindle thread.
Models with the letter F are standard-equipped with Super flange. Only 1/3 of efforts needed to undo lock nut, compared with conventional type.
Optional accessory
Always use supplied guard when flex wheel is on tool. Wheel can shatter during use and guard helps to reduce chances of personal injury.

Follow instructions for depressed center wheel but also use back up pad over wheel. See order of assembly on accessories page in this manual.
Optional accessory

NOTE: Use sander accessories specified in this manual. These must be purchased separately.
It should never be necessary to force the tool. The weight of the tool applies adequate pressure. Forcing and excessive pressure could cause dangerous wheel breakage.
ALWAYS replace wheel if tool is dropped while grinding.
NEVER bang or hit grinding disc or wheel onto work.
Avoid bouncing and snagging the wheel, especially when working corners, sharp edges etc. This can cause loss of control and kickback.
NEVER use tool with wood cutting blades and other saw blades. Such blades when used on a grinder frequently kick and cause loss of control leading to personal injury.
Never switch on the tool when it is in contact with the workpiece, it may cause an injury to operator.
Always wear safety goggles or a face shield during operation.
After operation, always switch off the tool and wait until the wheel has come to a complete stop before putting the tool down.
ALWAYS hold the tool firmly with one hand on housing and the other on the side grip (handle).

Turn the tool on and then apply the wheel or disc to the workpiece.
In general, keep the edge of the wheel or disc at an angle of about 15° to the workpiece surface.
During the break-in period with a new wheel, do not work the grinder in forward direction or it may cut into the workpiece. Once the edge of the wheel has been rounded off by use, the wheel may be worked in both forward and backward direction.
Optional accessory
When using an abrasive cut-off / diamond wheel, be sure to use only the special wheel guard designed for use with cut-off wheels.
(In some European countries, when using a diamond wheel, the ordinary guard can be used. Follow the regulations in your country.)
NEVER use cut-off wheel for side grinding.
Do not "jam" the wheel or apply excessive pressure. Do not attempt to make an excessive depth of cut. Overstressing the wheel increases the loading and susceptibility to twisting or binding of the wheel in the cut and the possibility of kickback, wheel breakage and overheating of the motor may occur.
Do not start the cutting operation in the workpiece. Let the wheel reach full speed and carefully enter into the cut moving the tool forward over the workpiece surface. The wheel may bind, walk up or kickback if the power tool is started in the workpiece.
During cutting operations, never change the angle of the wheel. Placing side pressure on the cut-off wheel (as in grinding) will cause the wheel to crack and break, causing serious personal injury.
A diamond wheel shall be operated perpendicular to the material being cut.

As for the installation, follow the instructions for depressed center wheel.
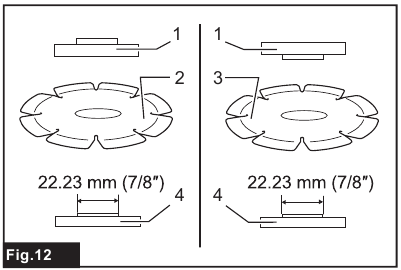
The direction for mounting the lock nut and the inner flange varies by wheel type and thickness. Refer to the following figures.
When installing the abrasive cut-off wheel:

When installing the diamond wheel:

Optional accessory
Check operation of brush by running tool with no load, insuring that no one is in front of or in line with brush.
Do not use brush that is damaged, or which is out of balance. Use of damaged brush could increase potential for injury from contact with broken brush wires.

Unplug tool and place it upside down allowing easy access to spindle.
Remove any accessories on spindle. Thread wire cup brush onto spindle and tighten with supplied wrench.
NOTICE: Avoid applying too much pressure which causes over bending of wires when using brush. It may lead to premature breakage.
Optional accessory
Check operation of wire wheel brush by running tool with no load, insuring that no one is in front of or in line with the wire wheel brush.
Do not use wire wheel brush that is damaged, or which is out of balance. Use of damaged wire wheel brush could increase potential for injury from contact with broken wires.
ALWAYS use guard with wire wheel brushes, assuring diameter of wheel fits inside guard. Wheel can shatter during use and guard helps to reduce chances of personal injury.

Unplug tool and place it upside down allowing easy access to spindle.
Remove any accessories on spindle. Thread wire wheel brush onto spindle and tighten with the wrenches.
NOTICE: Avoid applying too much pressure which causes over bending of wires when using wire wheel brush. It may lead to premature breakage.
Always be sure that the tool is switched off and unplugged before attempting to perform inspection or maintenance.
NOTICE: Never use gasoline, benzine, thinner, alcohol or the like. Discoloration, deformation or cracks may result.
The tool and its air vents have to be kept clean. Regularly clean the tool's air vents or whenever the vents start to become obstructed.

To maintain product SAFETY and RELIABILITY, repairs, any other maintenance or adjustment should be performed by Makita Authorized or Factory Service Centers, always using Makita replacement parts.
These accessories or attachments are recommended for use with your Makita tool specified in this manual. The use of any other accessories or attachments might present a risk of injury to persons. Only use accessory or attachment for its stated purpose.
If you need any assistance for more details regarding these accessories, ask your local Makita Service Center.

| - | 115 mm (4-1/2') model | 125 mm (5') model |
| 1 | Grip 36 | |
| 2 | Wheel Guard (for grinding wheel) | |
| 3 | Inner flange / Super flange | |
| 4 | Depressed center wheel / Flap disc | |
| 5 | Lock nut | |
| 6 | Back up pad | |
| 7 | Flex wheel | |
| 8 | Rubber pad 100 | Rubber pad 115 |
| 9 | Abrasive disc | |
| 10 | Sanding lock nut | |
| 11 | Wire wheel brush | |
| 12 | Wire cup brush | |
| 13 | Wheel Guard (for cut-off wheel) *1 | |
| 14 | Abrasive cut-off wheel / Diamond wheel | |
| - | Lock nut wrench | |
NOTE: *1 In some European countries, when using a diamond wheel, the ordinary guard can be used instead of the special guard covering the both side of the wheel. Follow the regulations in your country.
NOTE: Some items in the list may be included in the tool package as standard accessories. They may differ from country to country.

Here you can download full pdf version of manual, it may contain additional safety instructions, warranty information, FCC rules, etc.
Advertisement
Need help?
Do you have a question about the 9557HNR and is the answer not in the manual?
Questions and answers