SONY BCG-34HW /UK/AR/AU/KR - Compact Charger Operating Instructions

SONY BCG-34HW /UK/AR/AU/KR - Compact Charger Operating Instructions

Also See for BCG-34HW:

Advertisement

SONY BCG-34HW /UK/AR/AU/KR - Compact Charger Operating Instructions

Introduction

Please read the following instructions carefully before use.
The Sony Compact Charger should be used only with Sony AA or AAA size Ni-MH batteries that are marked "rechargeable."

Leading Features

  1. Safety timer
  2. Worldwide Voltage AC 100 V - 240 V
  3. Detection of non-rechargeable batteries

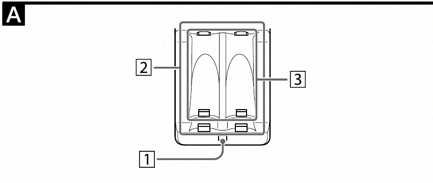
Parts

Parts

  1. LED indicator
  2. AA Battery slot
  3. AAA Battery slot

Charging

Charging

  1. Insert the Sony AA or AAA size Ni-MH rechargeable batteries into the charger, ensuring proper alignment of the + and – terminals.
    Any combination of AA and AAA batteries is possible.
  2. The charger then can be plugged into the proper AC mains (standard 100 V – 240 V).
    The orange LED indicator will light up to signal that the charging process has begun and will remain turned on for 15 hours. However, when charging only AAA batteries, the orange indicator will remain turned on for 6 hours. Please remove the batteries from the charger referring to the charging time chart below. Charging time varies depending on battery types.

Charging Time (Full Charging Time for Each Battery Type)

Cycle Energy Multi-Use Cycle Energy High Capacity
NH-AA (2100 mAh) Approx. 12 hours NH-AA (2700 mAh) Approx. 15 hours
NH-AA (2500 mAh) Approx. 14 hours
NH-AA (1000 mAh) Approx. 6 hours
NH-AAA (1000 mAh) Approx. 6 hours
NH-AAA (800 mAh) Approx. 5 hours
NH-AAA (900 mAh) Approx. 5 hours

The above time is an approximation in temperature conditions ranging from 10°C - 30°C. Charging time will vary depending on the charging conditions and remaining capacity of the rechargeable battery.


Safety Timer
After 15 hours, charging is automatically stopped and the LED indicator is turned off. However, when charging only AAA batteries, the orange indicator will remain turned on for 6 hours.

warning
Notes

  • The batteries must be inserted before the charger is plugged into the mains.
  • The batteries should be fully discharged before they are recharged.
  • The batteries should never be stored in the charger when not being charged.

Troubleshooting

If the LED indicator is blinking.

  • The life of the rechargeable battery has expired
    Insert a new rechargeable battery.
  • Charging incorrect types of batteries
    Charge only Ni-MH rechargeable batteries.

If the LED indicator does not turn on.

  • Rechargeable battery is not inserted properly
    Insert Ni-MH rechargeable battery properly. Align + and – terminals.
  • Contact surface of rechargeable battery may not be clean
    Clean the + and – terminals of the rechargeable battery and charger with a dry cloth.
  • Contact surface of the plug may not be good.
    Clean the plug with a dry cloth. Try another mains.

Contact your Sony Service Representative in case you have further questions.

Specifications

Mains input voltage: AC 100 V – 240 V, 2 W
Input frequency: 50/60 Hz
Charging output: DC 1.2 V, 200 mA (AA) × 2/200 mA (AAA) × 2
Operating temperature: 0°C – 35°C
Dimensions: 50.5 × 107 × 26mm (W × L × H) (plug not included)
Weight: 67 g (batteries not included)

Documents / Resources

Advertisement

Need help?

Need help?

Do you have a question about the BCG-34HW and is the answer not in the manual?

Questions and answers

Table of Contents