Beko VCS 5125 AR; VCS 5125 AB - Upright Vacuum Cleaner Manual

Beko VCS 5125 AR; VCS 5125 AB - Upright Vacuum Cleaner Manual

Also See for VCS 5125 AR:

Advertisement

Beko VCS 5125 AR; VCS 5125 AB - Upright Vacuum Cleaner Manual

Meanings of the Symbols

Following symbols are used in various sections of this manual:
information Important information and useful hints about usage.

Warnings against dangerous situations concerning the security of life and property.

Protection class for electric shock.

Your stick vacuum cleaner

Overview

Overview

  1. Handle
  2. Tube
  3. Dust container release button
  4. Dust container handle
  5. Dust container lid
  6. Dust container
  7. Accessory hose
  8. Suction knob
  9. Brush
  10. Handle release button
  11. Hose holder
  12. Hose
  13. Cord storage hooks
  14. 2in1 accessory
  15. On/Off button
  16. Special Turbo/Animal Brush (VCS5125AR)

Technical data

Supply voltage: 220-240V~ 50-60 Hz
Power: 750 W

Usage

Intended use

This appliance is intended for domestic use. It is not suitable for industrial use.

Installation

Installation of the body and the handle

  1. Push the handle release button (10) on the main body.
  2. Insert the handle (1) into the main body (you will hear a click tone).
  3. To remove the handle (1), press the handle release button (10) and pull out the handle from the main body.
  4. Place the 2in1 accessory (14) into the accessory holder.

Operating the appliance

  1. Pull out the power cord from the cord storage hooks (13).
  2. Plug in the appliance.
  3. Press the On/Off button (15) to switch on your appliance.
  4. After using the appliance, switch it off by pressing the On/Off button (15).

Using the brush roller

You can adjust the suction by using the suction knob (8) on the brush (9).

Accessories

You can store the 2in1 accessory (14) tool on the main body tool holder.

Use the accessories with the accessory hose

  1. Remove the accessory hose (7) from the main body.
  2. Assemble the required accessory onto the end.

Use the accessories with the tube

  1. To use the accessories remove the hose (12) from the main body.
  2. Remove the tube (2) from the main body by pushing the handle release button (10).
  3. Assemble the handle onto the hose.
  4. Attach the tube onto the hose.
  5. Assemble the 2in1 accessory (12) onto the tube (2).

Crevice tool
Attach the crevice tool to the inner side of the hose/tube.

Upholstery tool
Attach the upholstery tool side onto the crevice tool (you will hear a click tone).
To remove the dust brush from the crevice tool push the knob and pull it out.

Brush tool
Attach the brush tool (16) to the inner side of the hose.


The appliance must be in upright position during the use of the tools.

Special Turbo/Animal Brush
(VCS 5125 AR)

Use the special turbo/animal brush (16) to easily remove your pet's hair from your sofa and furniture.

Cleaning and care

For replacement filters please visit www.beko.co.uk/appliances/small appliances
Switch off and unplug the appliance before cleaning it.

Never use gasoline, solvent, abrasive cleaning agents, metal objects or hard brushes to clean the appliance.

Cleaning the dust container

information It is recommended to clean the dust container (6) after each use.

  1. Press the dust container release button (3) and pull the handle of the dust container (6) to remove it.
  2. Hold the dust container (6) over a dust bin.
  3. Press the dust container (6) release button (3) and empty it.
  4. After the dust container (6) is empty close the opened lid gently.

Cleaning the pre-motor filter

  1. Open the filter cover by pulling the latch gently.
  2. Remove the separator.
  3. Remove the motor and sponge filter from the separator.
  4. Wash the pre-motor filter with warm water until it gets clean (let the clean filter to dry 24 hours).

Cleaning the post motor filter

  1. Open the post motor filter cover.
  2. Remove the post motor filter by lifting it.
  3. Wash the post motor filter with warm water until it gets clean (let the clean filter to dry 24 hours).
  4. After the filters are completely dry, put them back into the main body.

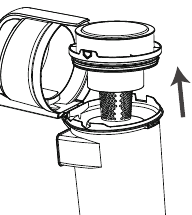
Cyclone separator

  1. Open the filter cover.
  2. Hold and turn the separator clockwise from its handles and take it out from the dust container.
  3. Clean the cyclone with a dry cloth.
  4. Follow the steps above in reverse order to assemble the parts together again.

Storage

  • If you do not intend to use the appliance for a long time, please store it carefully.
  • Turn of and unplug the appliance. Wind the power cord around the cord storage hooks.

Important safety and environmental instructions

This section contains safety instructions that will help protect from risk of personal injury or property damage.
Failure to follow these instructions voids any granted warranty.

General safety

  • This appliance complies with international safety standards. This appliance can be used by children aged from 8 years and above and persons with reduced physical, sensory or mental capabilities or lack of experience and knowledge if they have been given supervision or instruction concerning use of the appliance in a safe way and understand the hazards involved. Children shall not play with the appliance. Cleaning and user maintenance shall not be made by children without supervision.
  • If the power cable or the appliance itself is damaged, do not use it. Contact an authorised service.
  • Your mains power supply should comply with the information supplied on the rating plate of the appliance.
  • The mains plug is fitted with a 13A fuse. Ensure the same rating fuse is used should it need replacement.
  • Do not use the appliance with an extension cable.
  • Prevent damage to the power cable by not squeezing, bending, or rubbing it on sharp edges.
  • Do not touch the appliance or its plug when it is plugged in if your hands are damp or wet.
  • Do not pull the power cable when unplugging the appliance.
  • Do not vacuum flammable materials (cigarette ash, fireplace ash).
  • Do not vacuum water or other liquids.
  • Keep turbo brush away from hair, face, fingers, uncovered feet, or loose clothing.
  • Protect the appliance from rain, humidity and heat sources.
  • Never use the appliance in or near places where combustible or inflammable ambiance or places are present.
  • Unplug the appliance before cleaning and maintenance.
  • Do not immerse the appliance or its power cable in water for cleaning.
  • Do not attempt to dismantle the appliance in any way other than that shown in the Cleaning and Care section of this user manual.
  • Only use the original parts or parts recommended by the manufacturer.
  • Do not clean the particles such as cement, plaster and compressed paper in order to prevent the filter from being clogged and the motor being damaged.
  • Do not use the appliance without filters; otherwise it can get damaged.
  • If you keep the packaging materials, store them out of the reach of children.

Plug Wiring

The molded plug on this appliance incorporates a 13 A fuse. Should the fuse need to be replaced an ASTA approved BS1362 fuse of the same rating must be used. Do not forget to refit the fuse cover. In the event of losing the fuse cover, the plug must not to be used until a replacement fuse cover has been fitted. Colour of the replacement fuse cover must be the same colour as that visible on the pin face of the plug Fuse covers are available from any good electrical store.

  • Fitting a different plug
  • As the colours of the wires in the mains lead of this appliance may not correspond with the coloured markings identifying the terminals on your plug, proceed as follows:
  • Brown cable = L (Live)
  • Blue cable = N (Neutral)
  • Green/yellow cable must be connected to ground (E) line
  • With the alternative plugs a 13 A fuse must be fitted either in the plug or adaptore or in the main fuse box. If in doubt contact a qualified electrician.

Please call our UK based Customer Service department if you need urgent help or advice from us:
United Kingdom and Northern Ireland: 0333 207 9710
Republic of Ireland: 01 862 3411
You can also contact us through our website: www.beko.co.uk

Documents / Resources

References

Download manual

Here you can download full pdf version of manual, it may contain additional safety instructions, warranty information, FCC rules, etc.

Download Beko VCS 5125 AR; VCS 5125 AB - Upright Vacuum Cleaner Manual

Advertisement

Need help?

Need help?

Do you have a question about the VCS 5125 AR and is the answer not in the manual?

Questions and answers

Table of Contents