KitchenAid KMMF330PSS - Over-The-Range Microwave with Flush Built-In Design Manual

KitchenAid KMMF330PSS - Over-The-Range Microwave with Flush Built-In Design Manual

Advertisement

KitchenAid KMMF330PSS - Over-The-Range Microwave with Flush Built-In Design Manual

MICROWAVE OVEN MAINTENANCE AND CARE

General Cleaning


Before cleaning, make sure all controls are off and the microwave oven is cool. Always follow label instructions on cleaning products.
Soap, water, and a soft cloth or sponge are suggested first, unless otherwise noted.

STAINLESS STEEL AND BLACK STAINLESS STEEL

(on some models)
NOTE: To avoid damage to stainless steel surfaces, do not use soap-filled scouring pads, abrasive cleaners, Cooktop Cleaner, steel-wool pads, gritty washcloths, or abrasive paper towels.
Damage may occur to stainless steel surfaces, even with one-time or limited use.
Rub in direction of grain to avoid damaging.

Cleaning Method:

  • Affresh® Stainless Steel Cleaners Part Number W10355016 (not included) or affresh® Stainless Steel Cleaning Wipes Part Number W1055049 (not included):
    See the Quick Start Guide for ordering information.
  • Vinegar for hard water spots.

MICROWAVE OVEN DOOR EXTERIOR

Cleaning Method:

  • Glass cleaner and a soft cloth or sponge: Apply glass cleaner to soft cloth or sponge, not directly on panel.
  • Affresh® Kitchen Appliance Cleaners Part Number W10355010 (not included): See "Online Ordering Information" section from Quick Start Guide to order.

NONSTICK CAVITY COATING

(on some models)
To avoid damage to the microwave oven cavity, do not use metal or sharp utensils or scrapers or any type of abrasive cleanser or scrubbers.

MICROWAVE OVEN CAVITY

To avoid damage to the microwave oven cavity, do not use soap-filled scouring pads, abrasive cleaners, steel-wool pads, gritty washcloths, or some paper towels.
On stainless steel models, rub in direction of grain to avoid damaging.
The area where the microwave oven door and frame touch when closed should be kept clean.

Cleaning Method:
Average soil

  • Mild, nonabrasive soaps and detergents:
    Rinse with clean water and dry with soft, lint-free cloth.

Heavy soil

  • Mild, nonabrasive soaps and detergents:
    Heat 1 cup (250 mL) of water for 2 to 5 minutes in microwave oven. Steam will soften soil. Rinse with clean water and dry with soft, lint-free cloth.

Odors

  • Lemon juice or vinegar:
    Heat 1 cup (250 mL) of water with 1 tbs (15 mL) of either lemon juice or vinegar for 2 to 5 minutes in microwave oven.

GREASE FILTERS

  • Mild cleanser and scouring pad
  • Dishwasher

INSTALLATION INSTRUCTIONS
REQUIREMENTS

Tools and Parts

Tools Needed

  • Measuring tape
  • Pencil
  • Scissors
  • Masking tape or thumbtacks
  • Drill
  • No. 2 Phillips screwdriver
  • Stud finder
  • No. 3 Phillips screwdriver for 1/4 - 20 x 3" (76 mm) bolts
  • 3/16" (5 mm), 3/8" (10 mm), 5/8" (16 mm) drill bits
  • 3/4" (19 mm) hole saw
  • Keyhole saw
  • Diagonal wire cutting pliers
  • 7/16" (11 mm) socket wrench (or box wrench) for 1/4" x 2" (6.4 mm x 51 mm) lag screws
  • 1½" (38 mm) diameter hole drill bit for wood or metal cabinet Caulking gun and weatherproof caulking compound Duct tape.

Materials Needed
Standard fittings for wall or roof venting. See the "Venting Design Specifications" section.

Parts Supplied

Part Drawing Description Qty Where can find?
Screw Pack 3/16-24 x 3" round-head bolts 2
  1. Inner Form in the cavity
1/4-20 x 3" flat-head bolts 2
Washers 2
3/16" toggle nuts 2
1/4" x 2" lag screws 4
#6 x 3/8" Sheet metal screws 2
Power supply cord bushing 1
Damper Damper for wall or roof venting 1
Mounting Pate Folded mounting plate, unfold before installation 1
Spacer Spacer (L*W*T: 40*10*1.6 mm) 8
  1. Inside the Literature pack
Cardboard Plate Upper cabinet template and Wall template 1
  1. Outer Form in the Carton
Literature Pack Literature 1

Check local codes. Check existing electrical supply. See "Electrical Requirements".
It is recommended that all electrical connections be made by a licensed, qualified electrical installer.
NOTE:

  • The hardware items listed here are for wood studs. For other types of wall structures, be sure to use appropriate fasteners.
  • Be sure to purchase only Whirlpool factory-certified parts and accessories for your appliance. Your installation may require additional parts. To order, see the "Online Ordering Information" section of the Quick Start Guide.

Location Requirements

Check the opening where the microwave oven will be installed. The location must provide:

  • Minimum installation dimensions. See the "Installation Dimensions" illustration.
  • Minimum one 2" x 4" (5.1 x 10.2 cm) wood wall stud and minimum 3/8" (1 cm) thickness drywall or plaster/lath within cabinet opening.
  • Support for weight of 150 lbs (68 kg) which includes microwave oven and items placed inside the microwave oven and upper cabinet.
  • Grounded electrical outlet inside upper cabinet. See the "Electrical Requirements" section.

NOTE:

  • Some models have a pocket handle. If installing the microwave near a right side wall, make sure there is at least 3" (7.6 cm) of clearance between wall and microwave oven so you can grab the handle integrated inside the door.
  • Some cabinet and building materials are not designed to withstand the heat produced by the microwave oven for cooking. Check with your builder or cabinet supplier to make sure that the materials used will not discolor, delaminate, or sustain other damages.

Special Requirements

For Wall Venting Installation Only:

  • Cutout must be free of any obstructions so that the vent fit properly and the damper blade opens freely and fully.

For Roof Venting Installation Only:

  • If you are using a rectangular-to-round transition piece, the 3" (7.6 cm) clearance needs to exist above the microwave oven so that the damper blade can open freely and fully. See "Rectangular to Round Transition" illustration in the "Venting Design Specifications" section.

Product Dimensions

  1. 29 7/8" (76.1 cm)
  2. 17 7/8" (45.4 cm)
  3. 12 1/8" (31.3 cm)

Installation Dimensions

NOTE: The grounded 3 prong outlet must be inside the upper cabinet. See the "Electrical Requirements" section.
Installation Dimensions - Part 1

  1. 2" x 4" (5.1 cm x 10.2 cm) wall stud
  2. Grounded 3 prong outlet
  3. Upper cabinet depth (with door)***
  4. 36" (91.4 cm) recommended*
    30" (76.2 cm) typical**
  5. 30" (76.2 cm) minimum
  6. 72" (182.8 cm) recommended
    66" (167.6 cm) minimum
  7. Flat back surface 18 (46.3 cm) minimum

Installation Dimensions - Part 2

  1. (Flush) 12¾" to 13" (32.3 cm to 33 cm) deep
  2. Cabinet
  3. Less than 12¾" (32.3 cm) deep
  4. Mounting plate

Exact dimensions may vary depending on type of range/cooktop below.
*36" (91.4 cm) is recommended for 72" (182.8 cm) installation height.
**30" (76.2 cm) is typical for 66" (167.6 cm) installation height.
***Measure from the back wall to where the front bottom surface of the microwave oven needs to be (Dimension A).

Using the mounting plate provided with the product:
For cabinet depths less than 12.75" (32 cm), the microwave oven may protrude from the cabinet (and the front edge of the Template should protrude the same amount when marking the mounting holes to be drilled in the upper cabinet).
For 12.75" (32 cm) to 13" (33 cm) cabinets, the microwave oven is flush to the cabinet.

  1. (Bump out) 13" to 16"
    (33 cm to 40.6 cm) deep
  2. Cabinet
  3. Bump put mounting bracket

NOTE: It may be necessary to use a number of the washers provided as spacers, between the mounting plate and the wall, to achieve a more 'Flush' appearance.
If cabinets are deeper than 13" (33 cm), and up to 16" (40.6 cm), use the bump out mounting kit, replacing the mounting plate supplied with the product. The bump out mounting kit (part#- W11630300) is not provided.
To order, see the "Online Ordering Information" section of the Quick Start Guide.
For cabinets with other dimension's, we suggest selecting other Whirlpool Products.

Electrical Requirements


Electrical Shock Hazard
Plug into a grounded 3 prong outlet.
Do not remove ground prong.
Do not use an adapter.
Do not use an extension cord.
Failure to follow these instructions can result in death, fire, or electrical shock.

Observe all governing codes and ordinances.

Required:

  • A 120 V, 60 Hz AC only, 15 A or 20 A electrical supply with a fuse or circuit breaker.

Recommended:

  • time-delay fuse or time-delay circuit breaker.
  • separate circuit serving only this microwave oven.

GROUNDING INSTRUCTIONS

For a grounded, cord-connected appliance:
This appliance must be grounded. In the event of a malfunction or breakdown, grounding will reduce the risk of electric shock by providing a path of least resistance for electric current. This appliance is equipped with a cord having an equipment-grounding conductor and a grounding plug. The plug must be plugged into an appropriate outlet that is properly installed and grounded in accordance with all local codes and ordinances.


Improper connection of the equipment-grounding conductor can result in a risk of electric shock. Check with a qualified electrician or serviceman if you are in doubt as to whether the appliance is properly grounded. Do not modify the plug provided with the appliance: if it will not fit the outlet, have a proper outlet installed by a qualified electrician.

INSTALLATION

Prepare Microwave Oven Hood Combination


Excessive Weight Hazard
Use two or more people to move and install or uninstall appliance.
Failure to do so can result in back or other injury.

  1. To avoid possible damage to the work surface, cover the work surface.
  2. Remove cardboard plate from the outer foam in the carton. It is for upper-cabinet and wall installation.
  3. Remove the screw pack from the inner foam in the cavity.
  4. Remove the damper from the inner foam in the cavity.
  5. Remove the literature pack from the outer foam in the carton.
  6. Remove shipping materials, tape and film from microwave.
  7. Remove the mounting plate from the inner foam in the cavity.
  8. Tape the microwave oven door closed so that the door does not swing open while the microwave oven is being handled.

NOTE: To avoid damage to the microwave oven, do not grip or use the door or door handle while the microwave oven is being handled.

Installation Types

This microwave oven is designed for adaptation to the following three types of ventilation, choose one type before installation.
Installation Types

Find the Cardboard Plate

The cardboard plate is used as wall template and upper-cabinet template. It is located on the outer foam in the carton. Find it before installation.

Find the Wall Stud(s)

NOTE: If no wall studs exist within the cabinet opening, do not install the microwave oven.
See illustrations in "Possible Wall Stud Configurations."

  1. Using a stud finder, locate the edges of the wall stud(s) within the opening.
  2. Mark the center of each stud, and draw a plumb line down each stud center. See illustrations in "Possible Wall Stud Configurations."

Possible Wall Stud Configurations

These depictions show examples of preferred installation configurations with the mounting plate.

No Wall Studs at End Holes
Possible Wall Stud Configurations - Example 1

  1. End holes (on mounting plate)
  2. Cabinet opening vertical centerline
  3. Wall stud centerlines
  4. Holes for lag screws
  5. Support tabs
  6. Mounting plate center markers

Possible Wall Stud Configurations - Example 2
NOTE: If wall stud is within 6" (15.2 cm) of the vertical centerline, only recirculation or roof venting installation can be done.

  1. End holes (on mounting plate)
  2. Cabinet opening vertical centerline
  3. Wall stud centerlines
  4. Holes for lag screws
  5. Support tabs
  6. Mounting plate center markers

Wall Stud at End Holes
Possible Wall Stud Configurations - Example 3

  1. End holes (on mounting plate)
  2. Cabinet opening vertical centerline
  3. Wall stud centerlines
  4. Holes for lag screws
  5. Support tabs
  6. Mounting plate center markers

Possible Wall Stud Configurations - Example 4

  1. End holes (on mounting plate)
  2. Cabinet opening vertical centerline
  3. Wall stud centerlines
  4. Holes for lag screws
  5. Support tabs
  6. Mounting plate center markers

Find the Flush Point

This product is designed to be flush with the cabinet, and the flush point should be found before installation. Don't install with the front of the microwave oven located behind the front of the cabinet/door.

Flush to Cabinet door

  1. Cabinet door
  2. Cabinet
  3. Microwave oven door

Flush to Cabinet door

  1. Cabinet door
  2. Cabinet
  3. Microwave oven door

Don't install with the front of the microwave oven located behind the front of the cabinet/door.

  1. Cabinet door
  2. Cabinet
  3. Microwave oven door

Don't install with the front of the microwave oven located behind the front of the cabinet/door.

  1. Cabinet door
  2. Cabinet
  3. Microwave oven door

NOTE: The grille baffle will automatically open 30 degrees when the microwave oven uses the ventilation & cooking function. Do not install the microwave oven with the grille baffle behind the front of the cabinet/door otherwise it will block the air outlet.

  1. Cabinet
  2. Grille baffle

  1. Cabinet
  2. Grille baffle

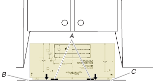
Mark Upper Cabinet

  1. Using a tape, measure clearly and mark the vertical centerline of the opening. Make sure it aligns with the vertical wall centerline.
    1. Upper Cabinet Centerline
    2. Wall Centerline

NOTE: The cardboard plate is used for installation in cabinets with depth of 12" to 13", (30.4 cm to 33.02 cm) but need some adjustment for different depths.
If cabinets are deeper than 13" (33 cm), and up to 16" (40.6 cm), use the bump out mounting kit, replacing the mounting plate supplied with the product. The bump out mounting kit (part#- W11630300) is not provided.
To order, see the "Online Ordering Information" section of the Quick Start Guide.
See the following steps 2, 3.
If your cabinet is 12" to 12¾" (30.5 cm to 32.4 cm) depth, follow the step 3:

  1. Less than 12¾" (32.4 cm) deep
  2. Cabinet
  1. Place the cardboard plate against the bottom of the upper cabinet.
    1. Back Edge of Cardboard Plate & Back Edge of Upper Cabinet
    2. Upper Cabinet Centerline & Center Marks on Cardboard Plate
      NOTES:
      • Make sure the back edge of the cardboard plate aligns with the wall and back edge of upper cabinet.
      • Make sure the center marks on the cardboard plate align with the upper cabinet centerline which draw in step 1.
      • Make sure the arrow on the cardboard plate are facing out.

If your cabinet depth is 12¾" to 13" (32.4 cm to 33 cm) depth:

  1. (Flush) 12¾" to 13" (32.4 cm to 33 cm) deep
  2. Cabinet
  1. Place the cardboard plate against the bottom of the upper cabinet.
    NOTES:
    • Make sure the front edge of the cardboard plate align with the front edge of upper cabinet.
    • Make sure the center marks on the cardboard plate align with the upper cabinet centerline which draw in step 1.
      1. Front Edge of Cardboard Plate & Front Edge of Upper Cabinet
      2. Upper Cabinet Centerline
      3. Arrows on Cardboard Plate
      4. Center Marks on Cardboard Plate

NOTE: If the upper cabinet doors protrude from the upper cabinet, the cardboard can be adjusted outward to be flush with the upper cabinet door.
For example the upper cabinet door is 3/4" (1.9 cm) thick, you can align the cardboard plate 3/4" (1.9 cm) line with the upper cabinet.
Flush to cabinet door
Mark Upper Cabinet - Flush to cabinet door

  1. Front Edge of Cardboard Plate & Upper Cabinet Door
  2. Upper Cabinet & Cardboard Plate 0.75" (1.9 cm) Line
  3. Mounting plate
  4. Microwave oven door
  5. Cabinet
  1. Use a pencil to mark the power cord hole and two mounting nut holes.
    1. Power Cord Hole
    2. Mounting Nut Holes
  2. Use a pencil to mark the upper cabinet vent hole. This step can be skipped if your unit is using recirculation or wall venting installation.
    1. Upper Cabinet Hole

Mark Rear Wall

The microwave oven must be installed on a minimum of 1 wall stud, preferably 2, using a minimum of 1 lag screw, preferably 2. See "Find the Wall Stud(s)" section for find the wall studs.

  1. Use a pencil to mark the power cord hole and two mounting nut holes.
    1. Centerline
  2. Align the center markers on the cardboard plate, to the centerline on the wall, making sure it is level, and that the top of the cardboard template is butted up against the back edge of the upper cabinet. (see following NOTE before making marks).
    Use a pencil to mark the wall venting hole (wall venting installation only), skip it if your unit is for recirculation or upper cabinet venting installation.
    Mark Rear Wall - Step 1
    1. Back Edge of Upper Cabinet
    2. Wall Venting Hole
    3. Cardboard Plate

NOTE:

  • If the front edge of the upper cabinet is lower than the back edge, lower the cardboard template so that its top is level with the front edge of the cabinet.
    Mark Rear Wall - Step 2
    1. Rear wall
    2. Cardboard plate
    3. Top of cardboard plate must align with front edge of cabinet
    4. Front edge of upper cabinet
  1. Vertical the cardboard plate & hold the it in place on the rear wall while aligning the side center marks (B) on the cardboard plate with the vertical centerline draw in step 1. Make sure the cardboard plate is level, and that the top of the cardboard template is butted up against the bottom edge of the upper cabinet.
    1. Bottom Edge of Upper Cabinet & Top of the Cardboard Plate
    2. Side Center Marks on Cardboard Plate
    3. Centerline
  2. Find and mark the two bottom position lines (A) on the cardboard plate.
    Mark Rear Wall - Step 3
    1. Cardboard Plate Bottom Position Line
  3. Using the bottom edge of the cardboard plate, align it with the two small lines (A), and draw a line (B) indicating where the bottom edge of the mounting plate (C) should be.
    Mark Rear Wall - Step 4
    1. Two Small Lines
    2. Cardboard Plate Bottom Line
    3. Bottom Edge of Mounting Plate
  4. Draw four small circles using the A, B, H, and J holes.

Drill holes in Upper Cabinet

  1. Using a drill, cut out the power cord hole (A).
  2. Drill two mounting nut holes (B), which are 3/8" (10 mm) holes at points "D" and "E" on the cardboard template. These are for two 1/4-20 x 3" bolts and washers used to secure the microwave oven to the upper cabinet.
    1. Power Cord Hole
    2. Mounting Nut Holes

NOTE: If upper cabinet is metal, the supply cord bushing needs to be installed around the supply cord hole as shown.

  1. Metal cabinet
  2. Power supply cord bushing
  1. Using a keyhole saw, cut out the rectangular roof venting cutout area. Skip this step if for recirculation venting or wall venting installation.
    1. Roof Venting Cutout Area

Drill holes in Rear Wall

  1. The mounting plate is located inside the inner foam in the cavity, take it out. The mounting plate is folded, open it to 180 degree at plate.
  2. Attach the mounting plate to wall. Make sure the 4 holes on mounting plate align with the A, B, H & J holes marked in the "Mark Rear wall" section and the mounting plate center markers align with the Center Mark.
    1. Mounting Plate
    2. A & B & H & J holes
    3. Mounting Plate Bottom Line
    4. Center Mark
    5. Mounting plate center markers
  3. Drill holes at A, B, H, & J, if the Wall studs are not located A & B hole, do not drill A & B hole, and follow the below instruction.
    In addition to being installed on at least 1 wall stud, the mounting plate must attach to the wall at both end holes. If the end holes are not over wall studs, use two 3/16-24 x 3" round head bolts with toggle nuts; if 1 end hole is over a wall stud, use 1 lag screw and one 3/16-24 x 3" round-head bolt with toggle nut; or if both end holes are over wall studs, use 2 lag screws. Following are 3 installation configurations.
    Installation for No Wall Studs at End Holes
    (Figures 1 and 2 in Find the Wall Stud(s) section)
    1. Drill 5/8" (1.6 cm) holes through the wall at both end holes marked in Step 3 of the "Mark Rear Wall."
    2. Drill 3/16" (5 mm) hole(s) into the wall stud(s) at the hole (s) marked in step 6 of the "Mark Rear Wall." Refer to figures 1 and 2 in "Possible Wall Stud Configurations" in the "Locate Wall Studs(s)" section.

Installation for Wall Stud at One End Hole
(Figure 3 in Find the Wall Stud(s) section)

  1. Drill a 3/16" (5 mm) hole into the wall stud at the end hole marked in Step 3 of the "Mark Rear Wall."
  2. If installing on a second wall stud, drill a 3/16" (5 mm) hole into the wall stud at the other hole marked in Step 6 of the "Mark Rear Wall." Refer to Figure 3 in "Possible Wall Stud Configurations" in the "Locate all Stud(s)" section.
  3. Drill a 5/8" (1.6 cm) hole through the wall at the other end.

Installation for Wall Studs at Both End Holes
(Figure 4 in Find the Wall Stud(s) section)

  1. Drill 3/16" (5 mm) holes into the studs at the end holes marked in Step 3 of the "Mark Rear Wall."
  1. Using a keyhole saw, cut out the rectangular wall venting cutout area. Skip this step if for recirculation venting or roof venting installation.
    1. Wall Venting Cutout Area

Attach Mounting Plate to Wall

  1. Position mounting plate on the wall.
    NOTE: If the depth of cabinet is slightly larger than 13" (33 cm), it may be necessary to use a number of the provided spacers, between the mounting plate and the wall, to achieve a more 'Flush' appearance. Stick spacer(s) before position mounting plate on the wall.
    1. Mounting Plate
    2. 1/16" (1.6 mm) spacer thickness
      Depth of cabinet Mounting plate
      12" to 13"
      (30.5 cm to 33 cm)
      Mounting plate
      131/16" (33.2 cm) Mounting plate + 4 pieces of spacer
      131/8" (33.3 cm) Mounting plate + 8 pieces of spacer
  1. Secure the mounting plate to the wall at both end holes drilled into the wall studs and/or drywall using either 3/16-24 x 3" round-head bolts and toggle nuts or 1/4 x 2" lag screws.
    Refer to illustrations in "Possible Wall Stud Configurations" in the "Locate Wall Stud(s)" section, and the following sections "No Wall Studs at End Holes (Figures 1 and 2 in Find the Wall Stud(s) section)" or " Wall Stud at One End Hole (Figure 3 in Find the wall Stud(s) section)".
  2. Insert lag screws into both end holes.
  3. Check alignment of mounting plate, making sure it is level.
  4. Secure the two end hole screws.
  5. Secure the mounting plate to the wall at both H & J holes using two 1/4 x 2" lag screws.
    1. Mounting Plate
    2. H & J holes

No Wall Studs at End Holes

(Figures 1 and 2 in Find the Wall Stud(s) section)
NOTE: The mounting plate must be secured to the wall on at least 1 wall stud as well as at both ends.

  1. With the support tabs of the mounting plate facing forward, insert 3/16-24 x 3" round-head bolts through both end holes of mounting plate.
  2. Start toggle nuts on bolts from the back of the mounting plate. Leave enough space for the toggle nuts to go through the wall and to open.
    Attach Mounting Plate to Wall
    1. 3/16-24 x 3" round-head bolt
    2. Mounting plate
    3. Spring toggle nut
  3. Position mounting plate on the wall.
  4. Push the 2 bolts with toggle nuts through the drywall, and finger tighten the bolts to make sure toggle nuts have opened against drywall.
    1. 3/16-24 x 3" round-head bolt
    2. Mounting plate
    3. Spring toggle nut
    4. Drywall
  5. Insert lag screw(s) into the hole(s) drilled into wall stud(s) in Step 2 of "Installation for No Wall Studs at End Holes" in the "Drill Holes in Rear Wall" section.
  6. Check alignment of mounting plate, making sure it is level.
  7. Securely tighten all lag screws and bolts.

Wall Stud at One End Hole

(Figure 3 in Find the Wall Stud(s) section)

  1. With the support tabs of the mounting plate facing forward, insert a 3/16-24 x 3" round-head bolt through the end hole that fits over the 5/8" (16 mm) hole drilled in step 3 of "Installation for Wall Stud at One End Hole" in the "Drill Holes in Rear Wall" section.
  2. Start a toggle nut on the bolt from the back of the mounting plate. Leave enough space for the toggle nut to go through the wall and to open.
  3. Position mounting plate on the wall.
  4. Push the bolt with toggle nut through the drywall, and finger tighten the bolt to make sure toggle nut has opened against drywall.
  5. Insert a lag screw into the remaining end hole.
  6. If installing on a second wall stud, insert a lag screw into the other hole drilled in Step 2 of "Installation for Wall Stud at One End Hole" in the "Drill Holes in Rear Wall" section.
  7. Check alignment of mounting plate, making sure it is level.
  8. Securely tighten the lag screw(s) and bolt.

Rotate Blower Motor

This section include wall and roof venting installation, both venting installation need rotate blower motor, select one ventilation type before install the microwave oven. And follow the propriated instruction to rotate the blower motor. If for recirculation installation, no need to rotate the blower motor, this section can be skip.

Rotate Blower Motor for Wall Venting Installation

  1. Remove screws attaching damper plate to back of microwave oven, set the screws aside.
    1. Damper plate
    2. Screw
  2. Turn and hold the damper plate vertically as shown.
    1. Damper plate
  3. Remove 2 blower screws attaching blower motor to the microwave oven, and set aside.
    1. Blower screws
  4. Disconnect the blower motor wire from the connector.
    1. Blower motor wire
    2. Connector
  5. Lift blower motor out of microwave oven, and set aside.
    1. Blower motor
  6. Using diagonal wire cutting pliers, gently snip out the rectangular damper vent covers at the perforations.
    1. Diagonal wire cutting pliers
    2. Rectangular damper vent cover
  7. Hold the blower motor wire, put the wire through the blower motor bridge.
    1. Blower motor bridge
    2. Blower motor wire
  8. Lower blower motor back into the microwave oven. Exhaust ports face the back of the microwave oven.
    1. Exhaust Port
  9. Reconnect the blower motor wire into the connector.
    Rotate Blower Motor for Wall Venting Installation
    1. Blower motor wire
    2. Connector
  10. Reattach the 2 blower screws into the recessed holes in the back of the microwave.
    1. Screws
    2. Holes
  11. Check to make sure the 2 screws are secured properly in the blower motor screw holes, so that the motor cannot move.
    1. Screws
    2. Blower motor screw holes
  12. Return the damper plate to its original horizontal position.
    1. Damper plate
  13. Secure damper plate with 2 screws removed in Step 1.
    1. Damper plate
    2. Screw


    Electrical Shock Hazard
    Plug into a grounded 3 prong outlet.
    Do not remove ground prong.
    Do not use an adapter.
    Do not use an extension cord.
    Failure to follow these instructions can result in death, fire, or electrical shock.

  14. Plug in the microwave oven. Check if the vent fan runs with abnormal sounds, go back through the steps to see which step was skipped.

Rotate Blower Motor for Roof Venting Installation

  1. Repeat Steps 1 to 5 from "Wall Venting Installation Only."
  2. Using diagonal wire cutting pliers, gently snip out the rectangular vent covers on the damper plate at the perforations.
    1. Rectangular vent covers
    2. Diagonal wire cutting pliers
  3. Lower blower motor back into microwave oven. Exhaust ports face the top of microwave oven.
    1. Exhaust port


If blower motor is not positioned with flat side facing the back of the microwave oven (as shown), performance will be poor.

  1. Reconnect the blower motor wire into the connector.
  2. Reattach the 2 blower screws into the recessed holes in the back of the microwave.
  3. Check to make sure the 2 screws are secured properly in the blower motor screw holes, so that the motor cannot move.
  4. Return the damper plate to its original horizontal position.
    1. Damper plate
  5. Secure damper plate with screw removed in Step 1.
    1. Damper plate
    2. Screw
  6. Repeat Step 14 from "Wall Venting Installation Only."

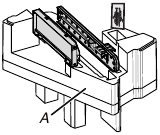
Install Damper Assembly

If for recirculation installation, no need to install the damper assembly, this section can be skip. And save it for future use.

Install Damper Assembly for Wall Venting Installation

  1. Check that damper blade moves freely and opens fully.
  2. Position the damper assembly on the back of the microwave oven so that the damper blade hinge is at the top, and the damper blade opens away from the microwave oven.
    1. Back of microwave oven
    2. Damper assembly
    3. Damper blade
    4. #6 x 3/8" Sheet metal screws
  3. Secure damper assembly with two #6 x 3/8" sheet metal screws.

Install Damper Assembly for Roof Venting Installation

  1. Check that damper blade moves freely and opens fully.
  2. Insert damper assembly through the cabinet cutout so that the long tab of the damper assembly slides under the raised tabs of the damper plate. Then secure with #6 x 3/8" sheet metal screw.
    NOTE: The screw cannot be installed if the damper assembly is not positioned as shown.
    1. Raised tabs
    2. Damper assembly
    3. #6 x 3/8" Sheet metal screws
    4. Upper cabinet cutout
    5. Long tab
    6. Damper plate
  3. Connect vent to damper assembly.
    1. Vent
    2. Damper assembly (under vent)

Install the Microwave Oven


Excessive Weight Hazard
Use two or more people to move and install or uninstall appliance.
Failure to do so can result in back or other injury.


The control side of the microwave oven is the heavy side. Handle the microwave oven gently.

  1. Place a washer on each 1/4–20 x 3" flat-head bolt and place inside upper cabinet near the 3/8" (10 mm) holes.
  2. Make sure the microwave oven door is closed and taped shut.
  3. Using 2 or more people, lift microwave oven and hang it on support tabs at the bottom of mounting plate.
    NOTE: To avoid damage to the microwave oven, do not grip or use the door or while the microwave oven is being handled.
    1. Mounting plate
    2. Support tabs
  4. With front of microwave oven still tilted, thread power supply cord through the power supply cord hole in the bottom of the upper cabinet.
  5. Rotate microwave oven up toward upper cabinet.
    NOTE: If venting through the wall, make sure the damper assembly fits easily into the vent in the wall cutout.
  6. Push microwave oven against mounting plate and hold in
    NOTE: If microwave oven does not need to be adjusted, skip steps 6 through 8.
  7. If adjustment is required, rotate microwave oven downward. Using 2 or more people, lift microwave oven off of mounting plate, and set aside on a covered surface.
  8. Loosen mounting plate screws. Adjust mounting plate and retighten screws.
  9. Repeat steps 3 through 6.
  10. With the microwave oven centered, and with at least one person holding it in place, insert bolts through upper cabinet into microwave oven. Tighten bolts until there is no gap between upper cabinet and microwave oven.

NOTES:

  • Some upper cabinets may require bolts longer or shorter than 3" (7.6 cm). Longer or shorter bolts are available at most hardware stores.
  • Overtightening bolts may warp the top of the microwave oven. To avoid warping, wood filter blocks (installer to provide) may be added. The blocks must be the same thickness as the space between the upper cabinet bottom and the microwave oven.
    1. Bolts
  • Avoid damage to the mounting nut, screw the bolts into the mounting nut holes around 15–20 mm by hand first, make sure the bolts thread in properly. Then tighten with tools.
    1. Bolt
    2. Mounting Nut

Complete Installation

  1. Check that all parts are now installed. If there is an extra part, go back through the steps to see which step was skipped.
  2. Dispose of/recycle all packaging materials.

    Electrical Shock Hazard
    Plug into a grounded 3 prong outlet.
    Do not remove ground prong.
    Do not use an adapter.
    Do not use an extension cord.
    Failure to follow these instructions can result in death, fire, or electrical shock.
  3. Plug microwave oven into grounded 3 prong outlet.
  4. Reconnect power.
  5. Check the operation of microwave oven by placing 1 cup (250 mL) of water on the cavity and programming a cook time of 1 minute at 100% power. Test vent fan and exhaust by operating the vent fan.
  6. Check the vent door if auto open.
  7. If the microwave oven does not operate:
    • Check that a household fuse has not blown, or that a circuit breaker has not tripped. Replace the fuse or reset the circuit breaker. If the problem continues, call an electrician.
    • Check that the power supply cord is plugged into a grounded 3 prong outlet.
    • See the User Instructions for troubleshooting information.

The installation is now complete.

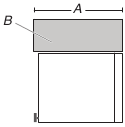
  1. The height from the highest point of the stove to the bottom of the microwave oven.
    Minimum Recommendation
    121/8" (30.8 cm) 181/8" (46 cm)

    1. Cabinet
    2. Microwave oven
    3. Wall or back of the cabinet
    4. 1/2"-3/4" (1.3-1.9 cm)

VENTING DESIGN SPECIFICATIONS

This section is intended for architectural designer and builder/contractor reference only.
NOTES:

  • Vent materials needed for installation are not provided with microwave hood combination.
  • We do not recommend using a flexible metal vent.
  • To avoid possible product damage, be sure to vent air outside, unless using recirculation installation. Do not vent exhaust air into concealed spaces, such as spaces within walls or ceilings, attics, crawl spaces or garages.

For optimal venting installation, we recommend:

  • Using roof or wall caps that have backdraft dampers.
  • Using a rigid metal vent.
  • Using the most direct route by minimizing the length of the vent and number of elbows to provide efficient performance.
  • Using uniformly sized vents.
  • Using duct tape to seal all joints in the vent system.
  • Using caulking compound to seal exterior wall or roof opening around cap.
  • Not installing 2 elbows together, for optimal hood performance. If venting through the wall, be sure that there is proper clearance within the wall for the damper to open fully.

If venting through the wall, be sure that there is proper clearance within the wall for the damper to open fully.
If venting through the roof, and rectangular-to-round transition is used, be sure there are at least 3" (7.6 cm) of clearance between the top of the microwave oven and the transition piece. See "Rectangular-to-Round Transition" illustration.
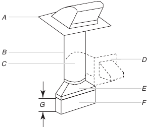
Venting installation

  1. Roof venting
  2. Roof cap
  3. Wall venting
  4. Wall cap

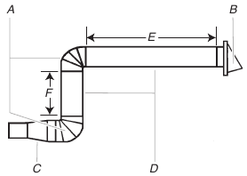
Rectangular-to-Round Transition
NOTE: The minimum 3" (7.6 cm) clearance must exist between the top of the microwave oven and the rectangular-to-round transition piece so that the damper can open freely and fully.

  1. Roof cap
  2. 6" (152 mm) minimum diameter round vent
  3. Elbow (for wall venting only)
  4. Wall cap
  5. 3¼" x 10" to 6" (8.3 x 25.4 cm to 15.2 cm) a rectangular-to-round transition piece
  6. Vent extension piece, at least 3" (7.6 cm) high
  7. 3" (7.6 cm)

Recommended Standard Fittings
The following length equivalents are for use when figuring vent length. See the examples in "Recommended Vent Length."

  1. Rectangular-to-round transition piece: 3¼" x 10" to 6" = 5 ft (8.3 x 25.4 cm to 15.2 cm = 1.5 m)
  2. Roof cap: 3¼" x 10" = 24 ft (8.3 x 25.4 cm = 7.3 m)
  3. 90° elbow: 3¼" x 10" = 25 ft (8.3 x 25.4 cm = 7.6 m)
  4. 90° elbow: 6" = 10 ft (15.2 cm = 3 m)
  5. Wall cap: 3¼" x 10" = 40 ft (8.3 x 25.4 cm = 12.2 m)
  6. 45° elbow: 6" = 5 ft (15.2 cm = 1.5 m)
  7. 90° flat elbow: 3¼" x 10" = 10 ft (8.3 x 25.4 cm = 3 m)

Recommended Vent Length
A 3¼" x 10" (8.3 x 25.4 cm) rectangular or 6" (15.2 cm) round vent should be used.
The total length of the vent system including straight vent, elbow(s), transitions and wall or roof caps must not exceed the equivalent of 140 ft (42.7 m) for either type of vent. See the "Recommended Standard Fittings" section for equivalent lengths.
For best performance, use no more than three 90° elbows.
To calculate the length of the system you need, add the equivalent lengths of each vent piece used in the system. See the following examples:

3¼" x 10" (8.3 x 25.4 cm) vent system = 73 ft (22.2 m) total

  1. One 3¼" x 10" (8.3 x 25.4 cm) 90° elbow= 25 ft (7.6 m)
  2. 1 wall cap = 40 ft (12.2 m)
  3. 2 ft (0.6 m) + 6 ft (1.8 m) straight = 8 ft (2.4 m)
  4. 6 ft (1.8 m)
  5. 2 ft (0.6 m)

6" (152 mm) vent system = 73 ft (22.2 m) total

  1. Two 90° elbows = 20 ft (6.1 m)
  2. 1 wall cap = 40 ft (12.2 m)
  3. 1 rectangular-to-round transition piece = 5 ft (1.5 m)
  4. 2 ft (0.6 m) + 6 ft (1.8 m) straight = 8 ft (2.4 m)
  5. 6 ft (1.8 m)
  6. 2 ft (0.6 m)

If the existing vent is round, a rectangular to round transition piece must be used. In addition, a rectangular 3" (7.6 cm) extension vent between the damper assembly and rectangular to round transition piece must be installed to keep the damper from sticking.

MICROWAVE OVEN SAFETY

Your safety and the safety of others are very important.
We have provided many important safety messages in this manual and on your appliance. Always read and obey all safety messages.

warning This is the safety alert symbol.
This symbol alerts you to potential hazards that can kill or hurt you and others.
All safety messages will follow the safety alert symbol and either the word "DANGER" or "WARNING." These words mean:

You can be killed or seriously injured if you don't immediately follow instructions.

You can be killed or seriously injured if you don't follow instructions.
All safety messages will tell you what the potential hazard is, tell you how to reduce the chance of injury, and tell you what can happen if the instructions are not followed.

IMPORTANT SAFETY INSTRUCTIONS


When using electrical appliances basic safety precautions should be followed, including the following:

To reduce the risk of burns, electric shock, fire, injury to persons, or exposure to excessive microwave energy:

  • Read all instructions before using the appliance.
  • Read and follow the specific "PRECAUTIONS TO AVOID POSSIBLE EXPOSURE TO EXCESSIVE MICROWAVE ENERGY" found in this manual.
  • This appliance must be grounded. Connect only to properly grounded outlet. See "GROUNDING INSTRUCTIONS" found in this section.
  • Install or locate this appliance only in accordance with the provided Installation Instructions.
  • Some products such as whole eggs and sealed containers for example, closed glass jars - are able to explode and should not be heated in this oven.
  • Use this appliance only for its intended use as described in the manual. Do not use corrosive chemicals or vapors in this appliance. This type of oven is specifically designed to heat, cook, or dry food. It is not designed for industrial or laboratory use.
  • As with any appliance, close supervision is necessary when used by children.
  • Do not operate this appliance if it has a damaged cord or plug, if it is not working properly, or if it has been damaged or dropped.
  • This appliance should be serviced only by qualified service personnel. Contact nearest authorized service facility for examination, repair, or adjustment.
  • Do not cover or block any openings on the appliance.
  • Do not store this appliance outdoors. Do not use this product near water – for example, near a kitchen sink, in a wet basement, near a swimming pool, or similar locations.
  • Do not immerse cord or plug in water.
  • Keep cord away from heated surfaces.
  • Do not let cord hang over edge of table or counter.
  • Do not use replacement parts that have not been recommended by the manufacturer (e.g. parts made at home using a 3D printer).
  • See door surface cleaning instructions in the "Microwave Oven Maintenance and Care" section.
  • Liquids, such as water, coffee, or tea are able to be overheated beyond the boiling point without appearing to be boiling. Visible bubbling or boiling when the container is removed from the microwave oven is not always present.
    THIS COULD RESULT IN VERY HOT LIQUIDS SUDDENLY BOILING OVER WHEN THE CONTAINER IS DISTURBED OR A UTENSIL IS INSERTED INTO THE LIQUID.
  • Do not operate any heating or cooking appliance beneath this appliance.
  • Do not mount unit over or near any portion of a heating or cooking appliance.
  • Do not mount over a sink.
  • Do not store anything directly on top of the appliance surface when the appliance is in operation.
  • Clean Ventilating Hoods Frequently - Grease should not be allowed to accumulate on hood or filter.
  • When flaming foods under the hood, turn the fan on.
  • Suitable for use above both gas and electric cooking equipment.
  • Intended to be used above ranges with maximum width of 36" (91.44 cm).
  • Use care when cleaning the vent-hood filter. Corrosive cleaning agents, such as lye-based oven cleaners, may damage the filter.
  • To reduce the risk of fire in the oven cavity:
    • Do not overcook food. Carefully attend appliance when paper, plastic, or other combustible materials are placed inside the oven to facilitate cooking.
    • Remove wire twist-ties from paper or plastic bags before placing bag in oven.
    • If materials inside the oven ignite, keep oven door closed, turn oven off, and disconnect the power cord, or shut off power at the fuse or circuit breaker panel.
    • Do not use the cavity for storage purposes. Do not leave paper products, cooking utensils, or food in the cavity when not in use.

PRECAUTIONS TO AVOID POSSIBLE EXPOSURE TO EXCESSIVE MICROWAVE ENERGY

  1. Do not attempt to operate this oven with the door open since open-door operation can result in harmful exposure to microwave energy. It is important not to defeat or tamper with the safety interlocks.
  2. Do not place any object between the oven front face and the door or allow soil or cleaner residue to accumulate on sealing surfaces.
  3. Do not operate the oven if it is damaged. It is particularly important that the oven door close properly and that there is no damage to the:
    1. Door (bent),
    2. Hinges and latches (broken or loosened),
    3. Door seals and sealing surfaces
  4. The oven should not be adjusted or repaired by anyone except properly qualified service personnel.

Documents / Resources

Download manual

Here you can download full pdf version of manual, it may contain additional safety instructions, warranty information, FCC rules, etc.

Download KitchenAid KMMF330PSS - Over-The-Range Microwave with Flush Built-In Design Manual

Advertisement

Need help?

Need help?

Do you have a question about the KMMF330PSS and is the answer not in the manual?

Questions and answers

Table of Contents