Husqvarna 128PS - Pole Saw Manual
![]()
Introduction
Intended use
The product is used for cutting branches and twigs.
Note: National regulations can set limit to the operation of the product.
Only use the product with accessories that are approved by the manufacturer. Refer to Accessories
Product overview
![Husqvarna - 128PS - Product overview Product overview]()
- Chain lubrication adjustment screw
- Protective guard for saw chain
- Chain tensioning screw
- Saw chain
- Chain oil tank
- Guide bar
- Bar nut
- Transport guard, bar
- Shaft
- Shaft coupling
- Extension shaft
- Front handle
- Harness
- Harness support hook
- Stop switch
- Throttle trigger lockout
- Throttle trigger
- Choke control
- Air purge
- Fuel tank
- Air filter cover
- Spark plug cap and spark plug
- Cylinder cover
- Starter handle
- Bar/chain oil
- Two-stroke oil
- Combination wrench, chain tensioner
- Attachment hanger
- Operator's manual
Symbols on the product
![warning]() | ![]() This product is dangerous. Injury or death can occur to the operator or bystanders if the product is not used carefully and correctly. To prevent injury to the operator or bystanders, read and obey all safety instructions in the operator's manual. |
![]() | Use a protective helmet in locations where objects can fall on you. Use approved hearing protection. Use approved eye protection. |
![]() | Use approved protective gloves. |
![]() | Use heavy-duty slip-resistant boots. |
![]() | Make sure that long hair is put up above your shoulders. |
![]() | Fuel. |
![]() | Air purge bulb. |
![]() | Choke. |
![]() | Chain oil. |
![]() | Adjustment of the oil flow. |
![]() | The arrows show the limits for the position of the handle. |
![]() | Safe distance |
![]() | Make sure no person is within the kickback danger zone. |
![]() | Direction of rotation, saw chain. |
| yyyywwxxxx | The rating plate shows the serial number. yyyy is the production year, ww is the production week and xxxx is the sequential number. |
![]()
This product is not electrically insulated. If the product touches or comes close to high-voltage power lines it could lead to death or serious injury. Electricity can jump from one point to another by arcing. The higher the voltage, the greater the distance electricity can jump. Electricity can also travel through branches and other objects, especially if they are wet. Always keep a distance of at least 10 m between the machine and high-voltage power lines and/or any objects that are touching them. If you have to work within this safe distance you should always contact the relevant power company to make sure the power is switched off before you start work.
The operator of the product must ensure, while working, that no persons or animals come closer than 15 meters.
Note: Other symbols/decals on the product refer to certification requirements for other commercial areas.
Product damage
We are not responsible for damages to our product if:
- the product is incorrectly repaired.
- the product is repaired with parts that are not from the manufacturer or not approved by the manufacturer.
- the product has an accessory that is not from the manufacturer or not approved by the manufacturer.
- the product is not repaired at an approved service center or by an approved authority.
Assembly
To attach the loop handle
- Attach the loop handle to the shaft in compliance with the illustration and tighten.
![]()
- Make sure that the loop handle attaches between the arrows on the shaft.
To assemble the two-piece shaft
- Turn the knob to loosen the shaft coupling.
![]()
- Move the locking/release button (A) into the guide recess. Push the attachment into the coupler until the locking/release button sets into the primary hole (B).
![]()
- Insert the shaft into the shaft coupling. The button must go through the hole.
Note: If the attachment does not go fully into the upper shaft, use a small screwdriver to push the internal drive shaft deeper into the tube. It can be necessary to turn the screwdriver while you push. - Make sure that you fully tighten the knob before you operate the product.
![]()
To attach the pole saw attachment
![]()
Stop the product on a level surface when you install or remove the attachments.
- Turn the knob counterclockwise and loosen the coupler on the extension shaft.
![]()
- Remove the transport guard from the coupler.
- Remove the shaft cap from the attachment.
- Move the locking/release button into the guide recess.
- Push the attachment into the coupler until the locking/release button sets into the primary hole.
![]()
- Do steps1 through 5 again to attach the other attachment on the engine shaft.
- Turn the knobs on the extension shaft and the engine shaft clockwise and tighten them.
![]()
- Tighten the couplers on the extension shaft and the engine shaft.
To adjust the harness
You should always use the harness with the machine to give maximum control over the machine and reduce the risk of fatigue in your arms and back.
- Put on the harness.
- Hook the machine onto the harness support hook.
- Adjust the length of the harness so that the support hook is roughly level with your right hip.
![]()
To disassemble the two-piece shaft
- Turn the knob to loosen the shaft coupling.
![]()
- Push and hold the locking/release button (B). Pull the shafts apart.
![]()
Operation
![]()
Before you operate the product, you must read and understand the safety chapter.
To check before starting
- Inspect the working area. Remove any objects that could be thrown out.
- Check the saw chain. Never use blunt, cracked or damaged equipment.
- Check that the product is in perfect working order.
- Check that all nuts and screws are tight.
- Make sure the chain is adequately lubricated, refer to To check the chain lubrication.
- Check that the saw chain always stops when the engine is idling.
- Only use the product for the purpose it was intended for.
- Make sure the handle and safety features are in order. Never use a machine that has any parts missing or has been modified in relation to the specification.
Fuel
This product has a two-stroke engine.
![]()
Incorrect type of fuel can result in engine damage. Use a mixture of gasoline and two-stroke oil.
Premixed fuel
- Use Husqvarna premixed alkylate fuel for best performance and extension of the engine life. This fuel contains less harmful chemicals compared to regular fuel, which decreases harmful exhaust fumes. The quantity of remains after combustion is lower with this fuel, which keeps the components of the engine more clean.
To mix fuel
Gasoline
![]()
Do not use gasoline with an octane number less than 90 RON (87 AKI). This can cause damage to the product.
![]()
Do not use gasoline with more than 10% ethanol concentration (E10). This can cause damage to the product.
![]()
Do not use leaded gasoline. This can cause damage to the product.
- Always use new unleaded gasoline with a minimum octane number of 90 RON (87 AKI) and with less than 10% ethanol concentration (E10).
- Use gasoline with a higher octane number if you frequently use the product at continuously high engine speed.
- Always use a good quality unleaded gasoline/oil mixture.
Two-stroke oil
- For best results and performance use Husqvarna two-stroke oil.
- If Husqvarna two-stroke oil is not available, use a two-stroke oil of good quality for air-cooled engines. Speak to your servicing dealer to select the correct oil.
![]()
Do not use twostroke oil for water-cooled outboard engines, also referred to as outboard oil. Do not use oil for four-stroke engines.
To mix gasoline and two-stroke oil
| Gasoline, liter | Two-stroke oil, liter |
| | 2% (50:1) |
| 5 | 0.10 |
| 10 | 0.20 |
| 15 | 0.30 |
| 20 | 0.40 |
![]()
Small errors can influence the ratio of the mixture drastically when you mix small quantities of fuel. Measure the quantity of oil carefully and make sure that you get the correct mixture.
![Husqvarna - 128PS - Operation - Mixing the gasoline and two-stroke oil Operation - Mixing the gasoline and two-stroke oil]()
- Fill half the quantity of gasoline in a clean container for fuel.
- Add the full quantity of oil.
- Shake the fuel mixture.
- Add the remaining quantity of gasoline to the container.
- Carefully shake the fuel mixture.
![]()
Do not mix fuel for more than 1 month at a time.
To fill the fuel tank
- Clean the area around the fuel tank cap.
- Shake the container and make sure that the fuel is fully mixed. Use a fuel container with an antispill valve.
- Fill the fuel tank.
- Tighten the fuel tank cap carefully.
- Move the product 3 m (10 ft) or more away from the refueling area and fuel source before starting.
![Husqvarna - 128PS - Operation - Filling the fuel tank Operation - Filling the fuel tank]()
![]()
Contamination in the tanks causes malfunction. Clean the fuel tank and chain oil tank regularly and replace the fuel filter one time a year or more.
To do a run-in
- During the first 10 hours of operation, do not apply full throttle without load for extended periods.
To use the correct chain oil
![]()
Do not use waste oil, which can cause injury to you and the environment. Waste oil also causes damage to the oil pump, the guide bar and the saw chain.
![]()
The saw chain can break if the lubrication of the cutting equipment is not sufficient. Risk of serious injury or death to the operator.
![]()
This product has a function that lets the fuel run out before the chain oil. Use the correct chain oil for this safety function to operate correctly. Speak to your servicing dealer when you select your chain oil.
Note: This product has an automatic chain lubrication system. You can also adjust the oil flow. Refer to To check the chain lubrication.
- Use Husqvarna chain oil for maximum saw chain life and to minimise environmental damage. If Husqvarna chain oil is not available, we recommend you to use a standard chain oil.
- Use a chain oil with good adherence to the saw chain.
- Use a chain oil with correct viscosity range that agrees with the air temperature.
![]()
If the oil is too thin, it runs out before the fuel. In temperatures below 0°C/32°F some chain oils become too thick, which can cause damage to the oil pump components.
- Use the recommended cutting equipment. Refer to Accessories.
To use the product
- Hold the product as close to your body as possible to get the best balance.
- Make sure that the tip does not touch the ground.
- Do not rush the work, but work steadily until all the branches have been cut back cleanly.
- Always slow the engine to idle speed after each working operation. Long periods at full throttle without any load on the engine can lead to serious engine damage.
- Always work at full throttle.
- Whenever possible position yourself so that you can make the cut at right angles to the branch.
![]()
- Cut large branches in sections so that you have better control over where they fall.
![]()
- Never cut through the swelling at the root of the branch as this will slow down healing and increase the risk of fungal attack.
![]()
- Use the stop at the base of the cutting head to provide support during cutting. This will help prevent the cutting attachment from bouncing on the branch.
![]()
- Make an initial cut on the underside of the branch before cutting through the branch. This will prevent tearing of the bark, which could lead to slow healing and cause permanent damage to the tree. The cut should not be deeper than ⅓ of the branch thickness to prevent jamming. Keep the chain running while you withdraw the cutting attachment from the branch to prevent it jamming.
![]()
To start a cold engine
- Push the air purge bulb 10 times.
![]()
- Move choke control to the full choke position.
![]()
- Hold the body of the product on the ground with your left hand. Do not step on the product. Pull the starter rope handle slowly until you feel some resistance.
![]()
Note: Do not pull the throttle trigger while you start the engine. - Pull the starter rope handle 3 times with force.
![]()
Do not pull the starter rope until it stops. Do not let go of the starter rope when it is fully extended. Release the starter rope slowly. Failure to obey these instructions can cause damage to the engine. - Move the choke control to the half choke position.
- Pull the starter rope handle until the engine starts.
- Let the engine run for 10 seconds.
- Move the choke control to the no choke position.
To start a warm engine
- Slowly push the air purge bulb 10 times.
- Move the choke lever to the HALF CHOKE position.
- Pull the starter rope handle quickly until the engine runs.
- Move the choke lever to the NO CHOKE position.
To start the engine when the fuel is too hot
If the product does not start, the fuel can be too hot.
Note: Always use new fuel and decrease the operation time during warm weather.
- Put the product in a cool area away from open sunlight.
- Let the product cool down for 20 minutes at minimum.
- Press the air purge bulb again and again for 10-15 seconds.
- Obey the procedure to start a cold engine. Refer to To start a cold engine.
To stop the product
- Push the stop switch to stop the engine.
![]()
Note: The stop switch automatically goes back to its initial position.
About the surface
![burn hazard]()
![]()
![burn hazard]()
Do not put parts of your body in the grey marked area. If you touch the grey marked area it can result in burns to the skin. It can also cause electrical shock if the spark plug cap has been damaged. Do not use a product with a damaged spark plug cap.
![]()
Maintenance
Below you will find some general maintenance instructions. If you need further information please contact your service workshop.
Maintenance schedule
The following is a list of the maintenance steps that must be performed on the product. Most of the items are described later in this chapter.
Note: The user must only carry out the maintenance and service work described in this operator's manual. More extensive work must be carried out by an authorized service workshop.
| Maintenance | Daily | Weekly | Monthly |
| Clean the external surface. | X | | |
| Examine the harness for damages. | X | | |
| Do a check for damages on the suspension ring. | X | | |
| Make sure that the throttle trigger lock and the throttle works correctly. | X | | |
| Do a check of the stop switch to make sure that it works correctly. | X | | |
| Make sure that the saw chain does not rotate at idle speed. | X | | |
| Clean the air filter. Replace if necessary. | X | | |
| Check the saw chain with regard to visible cracks in the rivets and links, whether the saw chain is stiff or whether the rivets and links are abnormally worn. | X | | |
| Clean the area under the protective cover. | X | | |
| Make sure that the screws and nuts are tight. | X | | |
| Examine the engine, the fuel tank and the fuel lines for leaks. | X | | |
| Clean the cooling system. | | X | |
| Examine the starter and the starter rope for damages. | | X | |
| Clean the outside of the spark plug. Remove it and do a check of the electrode gap. Adjust the gap to the correct distance (refer to Technical data) or replace the spark plug. Make sure that the spark plug is fitted with a suppressor. | | X | |
| Clean the outside of the carburetor and the space around it. | | X | |
| File off any burrs from the edges of the bar. | | X | |
| Clean or replace the spark arrestor screen on the muffler. | | X | |
| Clean the fuel tank. | | | X |
| Do a check of the fuel filter for contamination and the fuel hose for cracks or other damages. Replace if necessary. | | | X |
| Do a check of all cables and connections. | | | X |
| Do a check of the clutch, clutch springs and the clutch drum for wear. Replace if necessary by an authorized service workshop. | | | X |
| Examine the spark plug. Replace the spark plug if it is necessary. | | | X |
To adjust the chain tension
![]()
Put on the gloves before you adjust the chain tension. The chain is sharp and can cause injuries to you.
Note: The chain extends during the operation, specially when you operate for the first 15 minutes. You must examine and adjust the chain tension frequently after you use or refuel the product.
- Hold the lower end of the chain with a support.
- Make sure that there are no kinks on the guide bar.
- Loosen the bar nut (A), and then tighten it with your fingers.
![]()
- Move the adjustment screw (B) clockwise until the chain touches the bottom of the guide bar rail. And move the adjustment screw clockwise 1/4 turn.
- Move the chain around the guide bar to make sure that all drive links stay in the bar groove.
- Lift the top of the guide bar, and tighten the bar nut with the bar tool.
- Make sure that you can move the chain around the guide bar with the screwdriver end of the bar tool.
- Loosen the bar nut lightly, and loosen the adjustment screw counterclockwise 1/4 turn if you cannot move the chain. Tighten the bar nut.
- Tighten the adjustment screw clockwise 1/4 turn if the chain stays loose and hangs below the guide bar.
To replace the chain
![]()
When the chain becomes worn or damaged, replace it with the low kickback chain.
- Disconnect the spark plug.
- Remove the bar nuts and the clutch cover.
- Turn the adjustment screw counterclockwise by hand until the adjustment pin is located between the two indicator marks on the clutch cover.
- Move the guide bar behind the sprocket until the guide bar stops against the sprocket. Remove the chain.
- Hold the new chain with the drive links.
![]()
- Put the new chain above and behind the clutch drum. Set the drive links in the clutch drum sprocket.
- Keep the bottom of the drive links between the teeth of the sprocket in the nose of the guide bar.
- Set the drive links into the bar groove.
- Pull the guide bar forward until the new chain sets in the bar groove.
- Install the clutch cover.
- Set the adjustment pin in the lower hole of the guide bar.
- Install the bar nuts and tighten them with your hand.
- Adjust the chain tension To adjust the chain tension and tighten fully the bar nuts.
To examine the cutting equipment
- Make sure that there are no cracks in rivets and links and that no rivets are loose. Replace if it is necessary.
![Husqvarna - 128PS - Cutting equipment examination - Step 1 Cutting equipment examination - Step 1]()
- Make sure that the saw chain is easy to bend. Replace the saw chain if it is rigid.
- Compare the saw chain with a new saw chain to examine if the rivets and links are worn.
- Replace the saw chain when the longest part of the cutting tooth is less than 4 mm/0.16 in. Also replace the saw chain if there are cracks on the cutters.
![Husqvarna - 128PS - Cutting equipment examination - Step 2 Cutting equipment examination - Step 2]()
To sharpen the saw chain
![]()
Use protective gloves when you use or do maintenance on the saw chain. A saw chain that does not move can also cause injuries.
Replace a worn or damaged guide bar or saw chain with the guide bar and saw chain combination recommended by Husqvarna. This is necessary to keep the safety functions of the product. Refer to Accessories for a list of replacement bar and chain combinations that we recommend.
- Guide bar length, in/cm. Information about the guide bar length can usually be found on the rear end of the guide bar.
![Husqvarna - 128PS - Information about the guide bar - Guide bar Length Information about the guide bar - Guide bar Length]()
- Number of teeth on bar tip sprocket (T).
![]()
- Chain pitch, in. The distance between the drive links of the saw chain must align with the distance of the teeth on the bar tip sprocket and drive sprocket.
![]()
- Number of drive links. The number of drive links is decided by the type of guide bar.
![]()
- Bar groove width, in/mm. The groove width in guide bar must be the same as the chain drive links width.
![Husqvarna - 128PS - Information about the guide bar - Bar groove Width Information about the guide bar - Bar groove Width]()
- Chain oil hole and hole for chain tensioner. The guide bar must align with product.
![]()
- Drive link width, mm/in.
![]()
Do not use a blunt saw chain. If the saw chain is blunt, you must apply more pressure to push the guide bar through the wood. If the saw chain is very blunt, there will be no wood chips but sawdust.
A sharp saw chain eats through the wood and the wood chips becomes long and thick.
The cutting tooth (A) and the depth gauge (B) together makes the cutting part of the saw chain, the cutter. The difference in height between the two gives the cutting depth (depth gauge setting).
![]()
When you sharpen the cutter, think about the following:
- Filing angle.
![]()
- Cutting angle.
![]()
- File position.
![]()
- Round file diameter.
![]()
It is not easy to sharpen a saw chain correctly without the correct equipment. Use Husqvarna file gauge. This will help you to keep maximum cutting performance.
Note: Refer to To sharpen the cutters for information about sharpening of the saw chain.
To sharpen the cutters
- Use a round file and a file gauge to sharpen the cutting teeth.
![Husqvarna - 128PS - Sharpening the cutters - Step 1 Sharpening the cutters - Step 1]()
Note: Refer to Filing equipment and filing angles for information about which file and gauge that Husqvarna recommends for your saw chain. - Apply the file gauge correctly on to the cutter. Refer to the instruction supplied with the file gauge.
- Move the file from the inner side of the cutting teeth and out. Decrease the pressure on the pull stroke.
![Husqvarna - 128PS - Sharpening the cutters - Step 2 - Move the file Sharpening the cutters - Step 2 - Move the file]()
- Remove material from one side of all the cutting teeth.
- Turn the product around and remove material on the other side.
- Make sure that all cutting teeth are the same length.
The depth gauge setting (C) decreases when you sharpen the cutting tooth (A). To keep maximum cutting performance you must remove filing material from the depth gauge (B) to receive the recommended depth gauge setting. Refer to Technical data for instructions about how to receive the correct depth gauge setting for your saw chain.
![]()
To adjust the depth gauge setting
Before you adjust the depth gauge setting or sharpen the cutters, refer to General information about how to sharpen the cutters, for instructions. We recommend you to adjust the depth gauge setting after each third operation that you sharpen the cutting teeth.
We recommend that you use our depth gauge tool to receive the correct depth gauge setting and bevel for the depth gauge.
- Use a flat file and a depth gauge tool to adjust the depth gauge setting. Only use a Husqvarna recommended depth gauge tool to get the correct depth gauge setting and bevel for the depth gauge.
![]()
- Put the depth gauge tool on the saw chain.
Note: See the package of the depth gauge tool for more information about how to use the tool. - Use the flat file to remove the part of the depth gauge that extends through the depth gauge tool.
![]()
To do a check of the guide bar
- Make sure that the oil channel is not blocked. Clean if it is necessary.
![]()
- Examine if there are burrs on the edges of the guide bar. Remove the burrs using a file.
![]()
- Clean the groove in the guide bar.
![]()
- Examine the groove in the guide bar for wear. Replace the guide bar if it is necessary.
![]()
- Examine if the guide bar tip is rough or very worn.
![]()
- Make sure that the bar tip sprocket turns freely and that the lubricating hole in the bar tip sprocket is not blocked. Clean and lubricate if it is necessary.
![]()
- Turn the guide bar daily to extend its life cycle.
![]()
To check the chain lubrication
- Check the chain lubrication each time you refuel. Aim the tip of the bar at a light coloured surface about 20 cm (8 inches) away. After 1 minute running at 75% throttle you should see a distinct line of oil on the light surface.
![]()
- If the saw chain lubrication does not operate correctly, do a check of the guide bar. Refer to To do a check of the guide bar for instructions. Speak to your servicing dealer if the maintenance steps does not help.
Air filter
Remove dust and dirt from the air filter to keep it clean and prevent these problems:
- Carburetor malfunctions.
- Problems when you start the product.
- Loss of engine power.
- Increased wear to engine parts.
- Too much fuel consumption.
To clean the air filter
- Remove the air filter cover and remove the filter.
- Hit the filter against a flat surface to make the particles fall off.
![]()
Do not use solvent or compressed air to clean the air filter. - Put the air filter back. Make sure that the air filter fully seals against the air filter holder.
- Put the air filter cover back.
Note: An air filter that is used for a long time cannot be fully cleaned. Replace the air filter at regular intervals. Always replace a damaged air filter.
To do a check of the spark plug
![]()
Use the recommended spark plug. Refer to Technical data. An incorrect spark plug can cause damage to the product.
- If the product is not easy to start or to operate or if the product operates incorrectly at idle speed, examine the spark plug for unwanted materials. To decrease the risk of unwanted material on the spark plug electrodes, do these steps:
- make sure that the idle speed is correctly adjusted.
- make sure that the fuel mixture is correct.
- make sure that the air filter is clean.
- Clean the spark plug if it is dirty.
- Make sure that the electrode gap is correct. Refer to Technical data.
![]()
- Replace the spark plug monthly or more frequently if necessary.
To clean the cooling system
![]()
A dirty or blocked cooling system can make the product too hot, which can cause damage to the product. The parts of the cooling system are the air intake on the starter (A), the cooling fins on the cylinder (B) and the cylinder cover (C).
- Clean the cooling system with a brush weekly or more frequently if it is necessary.
- Make sure that the cooling system is not dirty or blocked.
To adjust the idle speed
Your Husqvarna product is made to specifications that decrease harmful emissions.
- Make sure that the air filter is clean and that the air filter cover is attached to the product.
- Turn the idle speed screw (T) clockwise until the cutting attachment starts to turn.
![]()
- Turn the idle speed screw (T) counterclockwise until the cutting attachment stops.
The idle speed is correct when the engine operates smoothly in all positions. The idle speed must be below the speed when the cutting attachment starts to turn.
Note: Refer to Technical data for the recommended idle speed.
![]()
If the cutting attachment does not stop when you adjust the idle speed, speak to your servicing dealer. Do not use the product until it is correctly adjusted or repaired.
To apply grease to the two-piece shaft
- Apply grease to the end of the drive shaft after each 30 hours of operation.
![]()
Troubleshooting
The engine does not start |
| Check | Possible cause | Procedure |
| Stop switch. | The stop switch is in the stop position. | Let an approved service agent replace the stop switch. |
| Fuel tank. | Incorrect fuel type. | Drain the fuel tank and fill with correct fuel. |
| Spark plug and cylinder. | The spark plug is dirty or wet. | Make sure that the spark plug is dry and clean. |
| The spark plug electrode gap is incorrect. | Clean the spark plug. Make sure that the electrode gap is correct, refer to Technical data. Make sure that the spark plug has a supressor. |
| The spark plug is loose. | Tighten the spark plug. |
| Engine is flooded because of repeated starts with full choke after ignition. | Remove and clean the spark plug. Put the product on its side with the spark plug hole away from you. Pull the starter rope handle 6-8 times. Assemble the spark plug and start the product. Refer to To start a cold engine |
The engine starts but stops again |
| Check | Possible cause | Procedure |
| Fuel tank | Incorrect fuel type. | Empty the fuel tank and fill it with correct fuel. |
| Fuel filter | The fuel filter is clogged. | Replace the fuel filter. |
| Carburetor | The idle speed is not correctly adjusted. | Adjust the idle speed with the idle speed screw T. |
| Air filter | The air filter is clogged. | Clean the air filter. |
Transportation and storage
For storage and transportation of the product and fuel, make sure that there are no leaks or fumes. Sparks or open flames, for example from electrical devices or boilers, can start a fire. - Always use approved containers for storage and transportation of fuel.
- Empty the fuel and chain oil tanks before transportation or before long-term storage. Discard the fuel and chain oil at an applicable disposal location.
- Use the transportation guard on the product to prevent injuries or damage to the product. A saw chain that does not move can also cause serious injuries.
- Remove the spark plug cap from the spark plug.
- Attach the product safely during transportation.
To prepare your product for longterm storage
- Stop the product and let it become cool before you disassemble it.
- Disassemble and clean the saw chain and the groove in the guide bar.
![]()
If the saw chain and guide bar are not cleaned, they can become rigid or blocked. - Attach the transportation guard.
- Clean the product. Refer to Maintenance for instructions
- Do a complete servicing of the product.
Technical data
| | 128PS (LT28CSHV) |
| Engine |
| Cylinder displacement, cu.in / cm3 | 1.7 / 28 |
| Recommended max. speed, rpm | 8000 |
| Idle speed, rpm | 2300-3200 |
| Max. engine output, according to ISO 8893, kW / hp @ rpm | 0.7 / 0.94 @ 8500 |
| Catalytic converter muffler | Yes |
| Maximum output shaft rotation | 7200 |
| Ignition system |
| Spark plug | Champion RCJ 8Y |
| Electrode gap, inch/mm | 0.024 / 0.61 |
| Fuel and lubrication system |
| Fuel tank capacity, US Pint / litre | 0.85 / 0.4 |
| Oil tank capacity, US Pint / litre | 0.3 / 0.14 |
| Weight |
| Without fuel, cutting attachment and guard, Lbs / kg | 14.2 / 6.4 |
Accessories
Guidebar and saw chain combinations
Recommended guide bar and saw chain combination.
| Guide bar | Saw chain |
| Length, in/cm | Pitch, in | Gauge, in/mm | Type | Length, drive links, no. |
| 8/20 | 3/8 | 0.043/1.1 | Oregon 90P, 90PX | 34 |
| Poulan Pro UC 81 G, UC 81 GS |
Filing equipment and filing angles
Using Husqvarna file gauge will give you the correct filing angles. We recommend you to always use a Husqvarna file gauge to restore the sharpness of the saw chain. The part numbers are given in the table below.
If you do not know which saw chain you have on your product, turn to your servicing dealer.
Optional attachments
| Optional attachments | Type | Use with |
| Hedge trimmer attachment with shaft | 952711674 | 128PS |
| Tree pruner attachment with shaft | 952711672 | 128PS |
| Edger attachment with shaft | 952711607 | 128PS |
| Cultivator attachment with shaft | 952711608 | 128PS |
| Blower attachment with shaft | 952711609 | 128PS |
| Brushcutter attachment with shaft | 952711610 | 128PS |
Safety
Safety definitions
Warnings, cautions and notes are used to point out specially important parts of the manual.
![]()
Used if there is a risk of injury or death for the operator or bystanders if the instructions in the manual are not obeyed.
![]()
Used if there is a risk of damage to the product, other materials or the adjacent area if the instructions in the manual are not obeyed.
Note: Used to give more information that is necessary in a given situation.
General safety instructions
![]()
Read the warning instructions that follow before you use the product.
- This product produces an electromagnetic field during operation. This field may under some circumstances interfere with active or passive medical implants. To reduce the risk of serious or fatal injury we recommend persons with medical implants to consult their physician and the medical implant manufacturer before operating this product.
- This product is a dangerous tool if you are not careful or if you use the product incorrectly. This product can cause serious injury or death to the operator or others.
- It is very important that you read and understand the contents of this operator's manual. If you feel uncertainty about a work situation or the operating procedures after you read the operator's manual, speak to a service agent before you continue.
- Under no circumstances may the design of the product be modified without the permission of the manufacturer. Do not use a product that appears to have been modified by others and only use accessories recommended for this product. Nonauthorized modifications and/or accessories can result in serious personal injury or the death of the operator or others.
- Do a check of the product before use. Refer to Safety devices on the product and To check before starting. Do not use a product that is damaged or does not operate correctly. Do the safety checks maintenance and service instructions described in this manual.
- A used muffler/spark arrester and spark arrester mounting face may contain deposits of combustion particles that may be carcinogenic. Avoid being exposed to these compounds when handling the muffler and /or spark arrester. Prior to any handling of the muffler and/or the spark arrester, refer to To do a check of the muffler.
Safety instructions for assembly
![]()
Read, understand and obey these instructions carefully before you use the product.
- The complete clutch cover and shaft must be fitted before the machine is started, otherwise the clutch can come loose and cause personal injury.
- The only accessories you can operate with this product are the cutting attachments we recommend. Refer to Accessories.
- Use approved protective gloves.
- Make sure that you assemble the protective cover and shaft correctly before you start the engine.
Safety instructions for operation
![]()
Read the warning instructions that follow before you do maintenance on the product.
- Use personal protective equipment, refer to Personal protective equipment.
- This product is not electrically insulated. If the product touches or comes close to high-voltage power lines it could lead to death or serious bodily injury. Electricity can jump from one point to another by arcing. The higher the voltage, the greater the distance electricity can jump. Electricity can also travel through branches and other objects, especially if they are wet. Always keep a distance of at least 10 m between the product and high-voltage power lines and/or any objects that are touching them. If have to work within this safe distance you should always contact the relevant power company to make sure the power is switched off before you start work.
- Overexposure to vibration can lead to circulatory damage or nerve damage in persons who have poor circulation. Speak to your physician if you experience symptoms of overexposure to vibration. Such symptoms include numbness, loss of feeling, tingling, pricking, pain, loss of strength, changes in skin colour or condition.
These symptoms usually show in the fingers, hands or wrists. The risk increases at low temperatures.
- The inside of the muffler contain chemicals that may be carcinogenic. Avoid contact with these elements in the event of a damaged muffler. Long term inhalation of the engine's exhaust fumes, chain oil mist and sawdust can represent a health risk.
- Never use the machine indoors or in spaces lacking proper ventilation. Exhaust fumes contain carbon monoxide, an odourless, poisonous and highly dangerous gas.
Do not operate a product without a muffler or with a damaged muffler. A damaged muffler can increase the noise level and the risk of fire. Keep fire extinguishing tools near. If you must have a spark arrestor mesh in your area, do not use the product without or with a broken spark arrestor mesh. - If the saw chain does not stop when idling, adjust the idle speed. Refer to To adjust the idle speed. Do not use the product until it is correctly adjusted or repaired.
- This product has a long reach. Make sure that no people or animals come closer than 15 m when the product is running. Always look behind you before you turn around with the product. Stop the product immediately if a person or animal enters the 15 m safety zone. If more than one operator does work in the same area, keep a safety distance of a minimum of 15 m.
- Observe the applicable safety regulations for work in the vicinity of overhead power lines. Also falling branches can result in short-circuiting.
- Never stand directly underneath a branch that is being cut. This could lead to serious or even fatal personal injury.
- Watch out for stumps of branches that can be thrown out when you cut. Do not cut too close to the ground where stones and other objects can be thrown out.
- Do not operate the product in bad weather, such as dense fog, heavy rain, strong wind and intense cold. To operate in bad weather can make you tired and add risks, such as icy ground and unpredictable felling direction.
- Do not use the product if you are tired, ill, or under the influence of alcohol, drugs or medicine, as this has a negative effect on your vision, alertness, coordination and judgment.
- Make sure that you can move safely and have a safe stance. Examine the area around you for obstacles such as roots, rocks, branch and ditches. Be careful during work on slopes.
- Do not remove the cut material, or let other persons remove cut material, while the engine is on or the cutting equipment rotates, as this can result in serious injury.
- Do not overreach. Keep a stable position of the feet and a good balance at all times.
- Always hold the product with both hands. Hold the product on the right side of your body.
![]()
- Keep your hands and feet away from the saw chain until it has stopped completely when the product is deactivated.
- Never work from a ladder, stool or any other raised position that is not fully secured.
- Do not put the product down with the engine on unless you have it in clear view.
- Listen for warning signals and loud voices when you use hearing protection. Always remove your hearing protection when the engine stops.
- Stop the engine before you move to a new work area. Always attach the transport guard before you move the equipment.
- Never allow children to use or be in the vicinity of the product. Remove the spark plug cap when the product is not under close supervision.
Personal protective equipment
![]()
Read the warning instructions that follow before you use the product.
- Always use approved personal protective equipment when you use the product. Personal protective equipment cannot fully prevent injury but it decreases the degree of injury if an accident does occur. Let your dealer help you select the right equipment.
- Use a protective helmet where there is a risk of falling objects.
- Use approved hearing protection that provides adequate noise reduction. Long-term exposure to noise can result in permanent hearing impairment.
- Use approved eye protection. If you use a visor, you must also use approved protective goggles. Approved protective goggles must comply with the ANSI Z87.1 standard in the USA or EN 166 in EU countries.
- Use a visor for face protection. A visor is not enough for protection of the eyes.
![]()
- Use gloves when necessary, for example when you attach, examine or clean the cutting equipment.
- Use sturdy non-slip boots.
- Use clothing made of a strong fabric. Always use heavy, long pants and long sleeves. Do not use loose clothing that can catch on twigs and branches. Do not wear jewelry, short pants, sandals or go with bare feet. Put your hair up safely above shoulder level.
![Husqvarna - 128PS - Using the Personal protective equipment Using the Personal protective equipment]()
- Keep first aid equipment close at hand.
![]()
Safety devices on the product
![]()
Read the warning instructions that follow before you use the product.
- Do not use a product with safety devices that are damaged or do not operate correctly.
- Do a check of the safety devices regularly. Refer to Maintenance schedule.
- If the safety devices are damaged or do not operate correctly, speak to your Husqvarna servicing dealer.
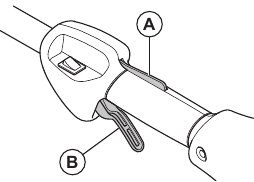
To do a check of the throttle trigger lockout
- Make sure that the throttle trigger lockout (A) and throttle trigger (B) move freely and that the return spring works correctly.
![]()
- Push down the throttle trigger lockout and make sure that it goes back to its initial position when you release it.
![]()
- Make sure that the throttle trigger is locked at the idle position when the throttle trigger lockout is released.
![]()
- Start the product and apply full throttle.
- Release the throttle trigger and make sure that the saw chain stops and stay stationary.
![]()
If the saw chain moves when the throttle trigger is in the idle position, then the carburetor idle speed must be adjusted. Refer to To adjust the idle speed.
To do a check of the stop switch
- Start the engine.
- Move the stop switch to the stop position and make sure that the engine stops.
![]()
To do a check of the muffler
![]()
Do not use a product that has a damaged muffler.
![]()
Do not use the product if the spark arrester screen on the muffler is missing or damaged.
![]()
The muffler becomes very hot during and after operation and also at idle speed. Use protective gloves to prevent burn injuries.
The muffler keeps noise levels to a minimum and points exhaust fumes away from the operator.
- Stop the engine.
- Examine the muffler for damage.
![]()
The inner surfaces of the muffler contain chemicals that can cause cancer. Be careful not to touch these elements if the muffler is damaged. - Make sure that the muffler is correctly attached to the product.
![Husqvarna - 128PS - Checking the muffler - Step 1 Checking the muffler - Step 1]()
- Do a visual check of the spark arrester screen.
- Replace the spark arrester screen if it is damaged.
- Clean the spark arrester screen if it is blocked.
![]()
If the spark arrester screen is blocked the product becomes too hot and this causes damage to the cylinder and piston.
Fuel safety
![]()
Read the warning instructions that follow before you use the product.
- Do not mix the fuel indoor or near a heat source.
- Do not start the product if there is fuel or engine oil on the product. Remove the unwanted fuel/oil and let the product dry. Remove unwanted fuel from the product.
- If you spill fuel on your clothing, change clothing immediately.
- Do not get fuel on your body, it can cause injury. If you get fuel on your body, use a soap and water to remove the fuel.
- Do not start the engine if you spill oil or fuel on the product or on your body.
- Do not start the product if the engine has a leak. Examine the engine for leaks regularly.
- Be careful with fuel. Fuel is flammable and the fumes are explosive and can cause injuries or death.
- Do not breathe in the fuel fumes, it can cause injury. Make sure that there is sufficient airflow.
- Do not smoke near the fuel or the engine.
- Do not put warm objects near the fuel or the engine.
- Do not add the fuel when the engine is on.
- Make sure that the engine is cool before you refuel.
- Before you refuel, open the fuel tank cap slowly and release the pressure carefully.
- Make sure there are sufficient airflow when refueling and mixing fuel (petrol and two-stroke oil) or draining the fuel tank.
- Fuel and fuel vapor are highly flammable and can cause serious injury when inhaled or allowed to come into contact with the skin. For this reason, observe caution when handling fuel and make sure there is sufficient airflow.
Tighten the fuel tank cap carefully or a fire can occur. - Move the product at a minimum of 3 m (10 ft) from the position where you filled the tank before a start.
- Do not put too much fuel in the fuel tank.
- Make sure that a leak cannot occur when you move the product or fuel container.
- Do not put the product or a fuel container where there is an open flame, spark or pilot light. Make sure that the storage area does not contain an open flame.
- Only use approved containers when you move the fuel or put the fuel into storage.
- Empty the fuel tank before long-term storage. Obey the local law on where to dispose fuel.
- Clean the product before long-term storage.
- Remove the spark plug cap before you put the product into storage to make sure that the engine does not start accidentally.
Safety instructions for maintenance
![]()
Read the warning instructions that follow before you do maintenance on the product.
- Do only the maintenance and servicing given in this operator's manual. Let professional servicing personnel do all other servicing and repairs.
- Regularly do the safety checks, maintenance and service instructions given in this manual. Regular maintenance increases the life of the product and decreases the risk of accidents. Refer to Maintenance for instructions.
- If the safety checks in this operator's manual is not approved after you do maintenance, speak to your servicing dealer. We guarantee that there are professional repairs and servicing available for your product.
Safety instructions for the cutting equipment
![]()
Read the warning instructions that follow before you use the product.
- Only use the guide bar/saw chain combinations and filing equipment that we recommend. Refer to Accessories for instructions.
- Use protective gloves when you use or do maintenance on the saw chain. A saw chain that does not move can also cause injuries.
- Keep the cutting teeth correctly sharpened. Obey the instructions and use the recommended file gauge. A saw chain that is damaged or incorrectly sharpened increases the risk of accidents.
![]()
- Keep the correct depth gauge setting. Obey the instructions and use the recommended depth gauge setting.
![]()
- Make sure that the saw chain has the correct tension. If the saw chain is not tight against the guide bar, the saw chain can derail. An incorrect saw chain tension increases wear on the guide bar, saw chain and chain drive sprocket. Refer to To adjust the chain tension.
![]()
- Do maintenance on the cutting equipment regularly and keep it correctly lubricated. If the saw chain is not correctly lubricated, the risk of wear on the guide bar, saw chain and chain drive sprocket increases.
![]()
![]()
Documents / Resources
Download manual
Here you can download full pdf version of manual, it may contain additional safety instructions, warranty information, FCC rules, etc.
Download Husqvarna 128PS - Pole Saw Manual
Need help?
Do you have a question about the 128PS and is the answer not in the manual?
Questions and answers