Advertisement

Do not return unit to store
If you have any questions or concerns when installing, operating or maintaining your reverse osmosis system, call our toll free number: 1-866-986-3223 Monday- Friday, 8 AM - 7 PM EST or visit www.whirlpoolwatertreatment.com When you call, please be prepared to provide the model, date code and serial number of your product, found on the rating decal, located inside the cover.
System tested and certified by NSF International against NSF/ANSI Standards 42 & 58. See performance data sheet for details.
ONE YEAR LIMITED WARRANTY ON REVERSE OSMOSIS DRINKING WATER SYSTEM (Except filter cartridges and R.O. membrane)
Warrantor: Ecodyne Water Systems, 1890 Woodlane Drive, Woodbury, MN 55125
Warrantor guarantees, to the original owner, that the Reverse Osmosis Drinking Water System, when installed and maintained in accordance with the instructions, will be free from defects in materials and workmanship for a period of one (1) year from the date of purchase. If, within the first year, a part proves, after inspection, to be defective, Warrantor will, at its sole option, either replace or repair the part without charge except normal shipping and installation charges. Labor to maintain the equipment is not part of the warranty. Filters and membranes, which are expendable, are not covered by the warranty.
TO OBTAIN WARRANTY PARTS, SIMPLY CALL 1-866-986-3223, Monday - Friday, 8 am - 7 pm EST, for assistance. This warranty applies only while this product is in use in the United States or Canada.
General Provisions
The above warranties are effective provided the Reverse Osmosis Drinking Water System is operated at water pressures not exceeding 125 psi, and at water temperatures not exceeding 100°F; provided further that the Reverse Osmosis Drinking Water System is not subject to abuse, misuse, alteration, neglect, freezing, accident or negligence; and provided further that the Reverse Osmosis Drinking Water System is not damaged as the result of any unusual force of nature such as, but not limited to, flood, hurricane, tornado or earthquake.
Warrantor is excused if failure to perform its warranty obligations is the result of strikes, government regulation, materials shortages, or other circumstances beyond its control.
*THERE ARE NO WARRANTIES ON THE REVERSE OSMOSIS DRINKING WTAER SYSTEM BEYOND THOSE SPECIFICALLY DESCRIBED ABOVE. ALL IMPLIED WARRANTIES, INCLUDING ANY IMPLIED WARRANTY OF MERCHANTABILITY OR OF FITNESS FOR A PARTICULAR PURPOSE, ARE DISCLAIMED TO THE EXTENT THEY MIGHT EXTEND BEYOND THE ABOVE PERIODS. THE SOLE OBLIGATION OF WARRANTOR UNDER THESE WARRANTIES IS TO REPLACE OR REPAIR THE COMPONENT OR PART WHICH PROVES TO BE DEFECTIVE WITHIN THE SPECIFIED TIME PERIOD, AND WARRANTOR IS NOT LIABLE FOR CONSEQUENTIAL OR INCIDENTAL DAMAGES. NO WARRANTOR DEALER, AGENT, REPRESENTATIVE, OR OTHER PERSON IS AUTHORIZED TO EXTEND OR EXPAND THE WARRANTIES EXPRESSLY DESCRIBED ABOVE.
Some states do not allow limitations on how long an implied warranty lasts or exclusions or limitations of incidental or consequential damage, so the limitations and exclusions in this warranty may not apply to you. This warranty gives you specific legal rights, and you may have other rights which vary from state to state. This warranty applies to consumer-owned installations only.
| Supply water pressure limits | 40-100 psi (280-689 kPa) |
| Supply water temperature limits | 40-100°F (4.5-37.7°C) |
| Maximum total dissolved solids (TDS) | 2000 ppm |
| Maximum water hardness @ 6.9 pH | 10 gpg |
| Maximum iron, manganese, hydrogen sulfide | 0 |
| Chlorine in water supply (max. ppm) | 2.0 |
| Supply water pH limits (pH) | 4-10 |
| Product (quality) water, 24 hours1 | 18.4 gal. (69.6 liters) |
| Percent rejection of TDS, minimum (new membrane)1 | 68.5 |
| Automatic shutoff control | yes |
| Efficiency2 | 12.2 % |
| Recovery3 | 22.9 % |
This system conforms to NSF/ANSI 58 for the specific performance claims as verified and substantiated by test data.
1@ Feed water supply at 50 psi, 77°F, and 750 TDS --- Quality water production, amount of waste water and percent rejection all vary with changes in pressure, temperature and total dissolved solids.
2Efficiency rating means the percentage of the influent water to the system that is available to the user as reverse osmosis treated water under operating conditions that approximate typical daily usage.
3Recovery rating means the percentage of the influent water to the membrane portion of the system that is available to the user as reverse osmosis treated water when the system is operated without a storage tank or when the storage tank is bypassed.
Non-potable Water Sources: Do not attempt to use this product to make safe drinking water from non-potable water sources. Do not use the system on microbiologically unsafe water, or water of unknown quality without an adequate disinfection before or after the system. This system is certified for cyst reduction and may be used on disinfected water that may contain filterable cysts.
Arsenic Reduction: This system shall only be used for arsenic reduction on chlorinated water supplies containing detectable residual free chlorine at the system inlet. Water systems using an inline chlorinator should provide a one minute chlorine contact time before the reverse osmosis system.
Nitrate/Nitrite Test Kit: This system is acceptable for treatment of influent concentrations of no more than 27mg/L nitrate and 3mg/L nitrite in combination measured as N. It is certified for nitrate/nitrite reduction only for water supplies with a pressure of 280 kPa (40 psig) or greater. This system is supplied with a nitrate/nitrite test kit. Product water should be monitored periodically according to the instructions provided with the test kit.
TDS Test Kits: TDS test kits are available by calling 1-800-949-8220 or check the water testing section of your local phone directory.
Installations In The Commonwealth Of Massachusetts: The Commonwealth of Massachusetts requires installation be performed by a licensed plumber and do not permit the use of saddle valves. Plumbing code 248-CMR of the Commonwealth of Massachusetts must be followed in these cases.
Product Water Testing: The Reverse Osmosis system contains a replaceable treatment component critical for the effective reduction of total dissolved solids. Product water should be tested periodically to verify that the system is performing properly.
Replacement of the reverse osmosis component: This reverse osmosis system contains a replaceable component critical to the efficiency of the system. Replacement of the reverse osmosis component should be with one of identical specifications, as defined by the manufacturer, to assure the same efficiency and contaminant performance.



FIG. 1
Questions? Call Toll Free 1-866-986-3223 Monday- Friday, 8 AM - 7 PM EST or visit www.whirlpoolwatertreatment.com
When you call, please be prepared to provide the model, date code and serial number, found on the rating decal, located inside the cover.
Your Reverse Osmosis Drinking Water System is shipped complete in one carton. Remove all items from your shipping carton.
Check all items against the packing list below. Note any items lost or damaged in shipment.
Note any damage to the shipping carton. Refer to the exploded view and parts list in the back of the manual for the part names and numbers of missing or damaged items. If problems exist, refer to the website or the toll free number listed throughout this manual.
Keep the small parts in the parts bag until you are ready to install them.
NOTE: Codes in the state of Massachusetts require installation by a licensed plumber and do not permit the use of saddle valves.
If you live in the state of Massachusetts, review plumbing code 248-CMR of the Commonwealth of Massachusetts before proceeding with the installation.

Reverse Osmosis Assembly with Red & Yellow Tubes attached

Product Water Storage Tank

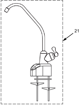
Reverse Osmosis Faucet with Black & Blue Tubes attached

Green Supply Tube
Parts Bag

Hanger Brackets

Eye Dropper

Tank Connector

Coin Battery

Drain Adapter Kit

Tee, Feed Adapter

Nitrate / Nitrite Test Kit
FIG. 2
Do not return the unit to store.
If you have any questions, or there are missing parts or damage, please call Toll Free 1-866-986-3223, Monday - Friday, 8 am - 7 pm EST, or visit www.whirlpoolwatertreatment.com
When you call, please be prepared to provide the model, date code and serial number, found on the rating decal, located inside the cover.
Review the tools needed list. See Fig. 3. Gather needed tools before proceeding with the installation. Read and follow the instructions provided with any tools listed here.
TOOLS NEEDED

Tape Measure

Adjustable Wrench

Philips Screwdriver

Flathead Screwdriver

Drill & Drill Bits, if required

Adjustable Large Jaw Pliers

OR Pipe Wrench
FIG. 3
Read through the entire manual before beginning your installation. Follow all steps exactly. Reading this manual will also help you get all the benefits from your system. Your Reverse Osmosis Drinking Water System can be installed under a sink or in a remote location. Typical remote sites are a laundry room or utility room. Review the location options below and determine where you are going to install your system.
The Reverse Osmosis Filter Assembly and storage tank may be installed in a kitchen or bathroom sink cabinet. See Fig. 4.
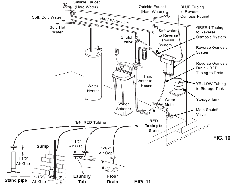
A suitable drain point is needed for drain water from the Reverse Osmosis system.

Typical Under Sink Installation
All install parts included in package.
FIG. 4
The Reverse Osmosis Filter Assembly and storage tank may also be installed in a remote interior location away from the Reverse Osmosis Faucet. You will need a nearby watersource and drain point. See Fig. 5.

Typical Remote Installation
Additional parts required.
FIG. 5
Check size and position of items for proper installation into location chosen.
NOTE: For best system performance, the feed water to the system should be softened or have hardness less than 10 grains per gallon, with no iron.
Read through the entire manual before beginning your installation. There are seven steps to installing your Drinking Water system. They are as follows:
STEP A - Install Cold Water Supply Fitting
STEP B - Install Drain Adapter
STEP C - Install Reverse Osmosis Assembly
STEP D - Install Storage Tank
STEP E - Install Reverse Osmosis Faucet
STEP F - Connect Tubing
STEP G - Sanitize, Pressure Test & Purge System
These steps are explained in detail over the next few sections. Follow all steps. Reading this manual will also help you receive and use all the benefits your Reverse Osmosis system can give you.
NOTE: You must check and comply with all local plumbing codes.
NOTE: Codes in the state of Massachusetts require installation by a licensed plumber and do not permit the use of saddle valves. If you live in the state of Massachusetts, review plumbing code 248-CMR of the Commonwealth of Massachusetts before proceeding with the installation.
NOTE: For best system performance, the feed water to the system should be softened or have hardness less than 10 grains per gallon, with no iron.
Check and comply with local plumbing codes as you plan, then install a cold feed (supply) water fitting. Refer to the Specifications section for supply water requirements. The fitting must provide a leak-tight connection to the RO 1/4" tubing. A typical connection using the included water supply fitting is shown in Figure 6. An optional connection using standard plumbing fittings (not included) is shown in Figure 6B.

Cold Water Supply Connection
(using included water supply fitting)
FIG. 6

Cold Water Supply Connection
(using compression fitting - not included)
FIG. 6B
NOTE: Local code may dictate which type of water fitting is used. Consult a plumber if you are not familiar with local codes or plumbing procedures.
NOTE: Codes in the state of Massachusetts require installation by a licensed plumber and do not permit the use of saddle valves. If you live in the state of Massachusetts, review plumbing code 248-CMR of the Commonwealth of Massachusetts before proceeding with the installation.
This fitting will be installed on the cold water pipe. The fitting must provide a leak-tight connection to the Reverse Osmosis 1/4" tubing. Locate the cold water line in the sink cabinet. It is recommended, but not required, that the cold water line be soft water.
Complete the following steps to install the water supply fitting.
NOTE: Be sure to turn off the water supply and open a faucet to drain the pipe.
Complying with plumbing codes, install a fitting on the cold water pipe to adapt 1/4" OD tubing. A typical connection isshown in Figure 6B. If threaded fittings are used, be sure touse pipe joint compound or thread sealing tape on outside threads.
A suitable drain point is needed for the drain water from the Reverse Osmosis Filter. You have two options to choose from:

Under the Sink Installation
FIG. 7

FIG. 8

Locate drain adapter so that when the black drain tube from the Reverse Osmosis Faucet is installed it will run straight to the adapter, with no dips, loops, or kinks.
FIG. 9
NOTE: An incorrectly connected drain point cancause water to leak from the faucet's air gap. FIG. 7
NOTE: Local code may dictate which type of drain installation is used. Other than local code, either drain install type may be used in both under the sink or remote location installations. Consult a plumber if you are not familiar with plumbing procedures.
A drain adapter kit is included in your package. Review the drain adapter kit parts in Fig. 8. Install the drain adapter above or ahead of the P-trap. See Fig. 7 & 9. Be sure to comply with your local plumbing codes. The drain adapter fits 1-1/2" sink drain pipes. Other drain pipe fittings, purchased locally, may be needed in addition to the adapter.

Remote Installation Location
Route the drain tubing to an existing drain in the house. A floor drain, laundry tub, standpipe, sump, etc. are suitable drain points. See Fig. 11. This type of drain is the preferred over the p-trap drain adapter.
Be sure to provide a 1-1/2" air gap between the end of the hose and the drain point. This will prevent water from backing up into the system.
NOTE: Check your local plumbing codes.
To install a remote drain point, complete the following steps:
The Reverse Osmosis Filter Assembly is mounted on Screw (2) hanger washers.
See Fig 12. The hanger washers allow you to lift the filter assembly from the washers without any hardware removal. When planning your installation, you need to leave room for changing filters.

FIG. 12
Complete the following steps to install your Reverse Osmosis Filter Assembly:
You will need to select the location of the Reverse Osmosis Faucet. You have three options to choose from:
Drilling holes into countertops and sinks should only be performed by an installer who is qualified for drilling such materials. Drilling of surfaces made of stone or solid surface materials such as granite, marble, Corian™ or other plastic resin products or sinks made of porcelain or stainless steel may cause permanent, irreparable damage to the sink or countertop surface.

FIG. 14

FIG. 16
Inside the faucet base is a battery operated 6 month timer. An amber LED indicator is also located in the front of the faucet base. This LED will flash continuously after 6 months has passed. This indicates that it is time to replace the battery, prefilter and postfilter.
To install battery, complete the following steps.
Your Reverse Osmosis system includes push-in fittings for quick tubing connection. Review the following instructions before connecting the tubes in the next step. Failure to follow these instructions may lead to future leaks.

Remove and Discard Foam Plugs
FIG. 17

Cut tubing square with end of tubing round, smooth, with no cuts, nicks or flat spots.
Tube Corrrectly Cut
FIG. 18
NOTE: Remove foam plugs before connecting tubes (See Fig. 17). Discard foam plugs.

Tube Partially Engaged with Fitting
FIG. 19

Tube Fully Engaged with Fitting
FIG. 20

Collet and O-Ring
FIG. 21

Disconnect Tubing
FIG. 22

Tube Connections
FIG. 23
NOTE: Tubing lengths should allow for the removal of the assembly from the hanger washers for servicing. If tubing lengths are shortened for neater appearance, it may be necessary to keep the assembly on the hanger washers for service.
NOTE: Codes in the state of Massachusetts require installation by a licensed plumber and do not permit the use of saddle valves. If you live in the state of Massachusetts, review plumbing code 248-CMR of the Commonwealth of Massachusetts before proceeding with the installation.
NOTE: Tube colors match collet colors.
The red tube connection was completed in the faucet assembly steps.
Sanitizing is recommended immediately after installation of the Reverse Osmosis system. It's also recommended after servicing inner parts. It is important that the person installing or servicing the system have clean hands while handling inner parts of the system. Complete the following steps to sanitize the system. See Fig. 24.

FIG. 24
NOTE: The bleach must be removed from the system before drinking the water. See purging instructions below.
This reusable sanitizing kit (not included) is recommended to easily and completely sanitize your Reverse Osmosis system annually.

The kit includes the following:
Uses standard 5.25% household bleach (not included) to completely sanitize the Reverse Osmosis system.
To order, go to www.whirlpoolwatertreatment.com and click on the "Replacement Parts" link under the "Owner Center" tab, or call toll free 1-866-986-3223 Monday - Friday, 8 AM - 7 PM EST
NOTE: Complete the sanitizing procedures before pressure testing.
To pressure test the system, complete the following steps.
NOTE: When the system is first pressurized, water may ''spurt'' from the faucet air gap hole until air is expelled from the RO system.
Please review the following operating features before using your Reverse Osmosis system:
You will not have filtered water immediately. It may take several hours to fill the storage tank and create maximum flow from the Reverse Osmosis faucet.
Water Pressure from the Reverse Osmosis faucet will be less than your standard faucet.
Water will run to the drain while the Reverse Osmosis system is producing water, even if you are not drawing water from the Reverse Osmosis faucet. You may hear a small quantity of water going to the drain at times when water is not being used. This is normal. Water going to the drain will automatically shut off when the storage tank is full.
To purge the system, complete the following steps.

FIG. 25
NOTE: Codes in the state of Massachusetts require installation by a licensed plumber and do not permit the use of saddle valves.
If you live in the state of Massachusetts, review plumbing code 248-CMR of the Commonwealth of Massachusetts before proceeding with the installation.
NOTE: As with all other water system applications, leaks may occur. Because the system pressure builds slowly, leaks may not be immediately apparent. Recheck for leaks 24 hours after purging the system is complete.

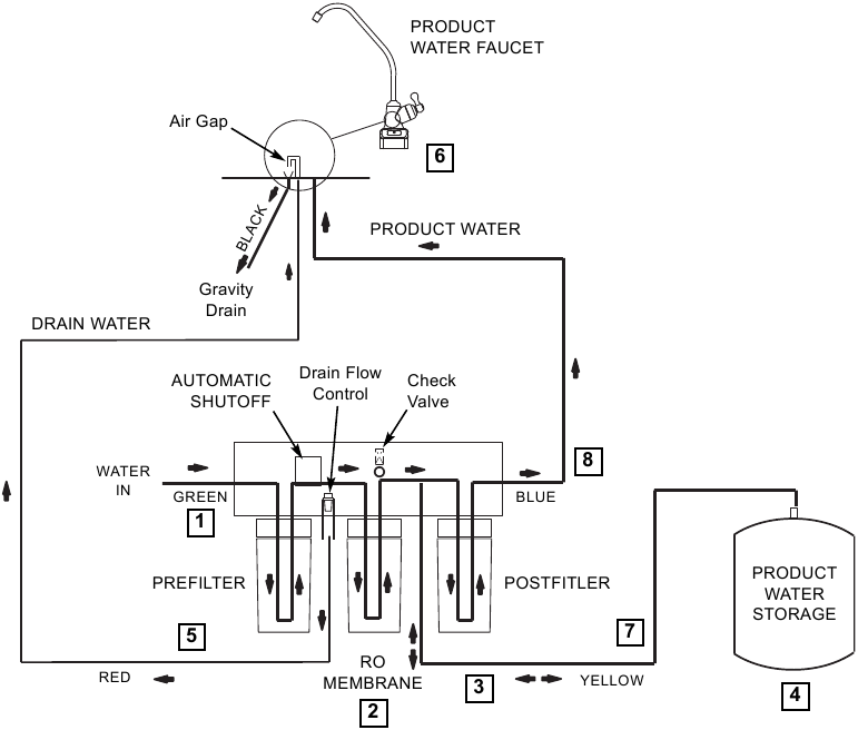
Reverse Osmosis Water Flow Schematic
FIG. 26
Introduction: Your Reverse Osmosis (RO) Drinking Water System uses your household water pressure to force water through three filters. Minerals and impurities are filtered out. Delicious tasting drinking water goes to the storage tank-ready for your use. Minerals and impurities are sent down the drain. The following paragraphs will explain in detail how your Reverse Osmosis Drinking Water System works.
Prefilter: Water from the cold supply pipe enters the prefilter. See Fig. 26. The prefilter is a replaceable sediment cartridge with activated carbon in its composition. The cartridge reduces taste, odor, sand, silt, dirt, other sediments, and up to the amount of chlorine shown in the specifications.
Reverse Osmosis Cartridge: Filtered water flows from the prefilter to the Reverse Osmosis membrane cartridge. See Fig. 26. The Reverse Osmosis cartridge is a tightly wound special membrane. The membrane reduces the dissolved solids and organic matter. High quality product water (about one ounce per minute) exits the Reverse Osmosis cartridge. The product water flows to the storage tank, postfilter or Reverse Osmosis faucet. Drain water, with the dissolved solids and organic matter, is routed to the drain.
Storage Tank: The storage tank holds product water. See Fig. 26. A diaphragm inside the tank holds water pressurized to about half of supply water pressure when the tank is full. This provides fast flow to the Reverse Osmosis faucet. When the tank is empty of water, the pressure at the air valve is 5 - 7 psi.
Postfilter: Water goes through the postfilter before going to the Reverse Osmosis faucet. See Fig. 26. The postfilter is an activated carbon type filter. Any remaining tastes and odors are reduced from the product water. Clean, high quality drinking water is available at the faucet.
Reverse Osmosis Faucet: The sink or countertop faucet has a hand operated knob to dispense drinking water. See Fig. 26. An air-gap is built into the faucet drain water connection to comply with plumbing codes.
Faucet Electronics: Inside the faucet base is a battery operated 6 month timer. See Fig. 15. An amber LED indicator is located in the front of the faucet base. This LED will flash continuously after 6 months have passed. This indicates that it is time to replace the battery, prefilter and postfilter.
Shutoff Assembly: The unit has an automatic shutoff system to conserve water. When the storage tank has filled to capacity, and the drinking water faucet is closed, pressure closes the shutoff to stop flow to the drain. After enough drinking water is used, pressure in the system drops, and the shutoff opens to allow the tank to be refilled. See Fig. 26.
Check Valve: A check valve is located in the Reverse Osmosis manifold above the center cartridge. The check valve prevents a backward flow of product water from the storage tank to drain. A backward flow could damage the Reverse Osmosis Membrane. See Fig. 26.
Flow Control: Water flow to the drain is restricted by the flow control. It maintains the desired flow rate to obtain the highest quality drinking water. The flow control is located inside the elbow fitting on the Reverse Osmosis manifold drain port. See Fig. 26.
Water Flow Description
NOTE: It is recommended to replace the battery, prefilter and postfilter cartridges at least every 6 months of product water use. Replace more often if they begin to plug with sediment.

FIG. 27
The prefilter and postfilter are replaceable sediment cartridges with activated carbon in their composition. See Fig. 27. You must periodically replace the prefilter and postfilter cartridge. This will protect the RO membrane from being destroyed by chlorine. It will also prevent the filters from plugging with sediment.
You may notice a slower output of product water as the prefilter and postfilter build up with sediment. Replace the prefilter and postfilter cartridges when this occurs. You should replace the battery whenever you replace the cartridges.
The Reverse Osmosis cartridge is a tightly wound special membrane. See Fig. 27. The membrane reduces the dissolved solids and organic matter. The life of the Reverse Osmosis membrane cartridge depends mostly on the pH and hardness of the supply water (see Specifications). Cartridge life is shorter with higher pH. For example, if supply water pH is from 6.8 to 7.7, the cartridge may last for well over one year. However, cartridge life may be as short as 6 months if the pH is as high as 8.5 to 10. Higher pH weakens the cartridge membrane and causes pin-hole leaks. It's time to replace the Reverse Osmosis cartridge when the production rate and/or quality of product water drops. Product water may begin to taste different, indicating solids and organics are passing through the Reverse Osmosis membrane. See Reverse Osmosis cartridge replacement.
Complete the following steps to replace the cartridges.
NOTE: Do not remove manifold from mounts. Flexing or twisting may damage the manifold.
Register for reminders to change filters at www.whirlpoolwatertreatment.com
Complete the following steps to replace the cartridges.
NOTE: Do not remove manifold from mounts. Flexing or twisting may damage the manifold.
The flow control is required for proper operation of the Reverse Osmosis system. See Fig. 28. The flow control, located inside the push-in elbow fitting on the drain port of the system housing, keeps water flowing through the membrane at the required rate. This ensures that the system produces the best quality product water.
Periodically check the flow control to be sure the small hole through it is clean and unrestricted.
If the flow control requires service, review the exploded view in Fig. 28. Assemble and disassemble as shown. If the flow control remains in the manifold when the push-in elbow fitting is removed, you will need to remove the drain port's collet and o-ring, as shown in the next section, to retrieve it.

FIG. 28

Change Collet and O-Ring
FIG. 29

Disconnect Tubing
FIG. 30
To change battery, complete the following steps.

FIG. 31
| Problem: Chlorine taste and/or odor in the RO product water. | |
| Cause: The level of chlorine in your water supply exceeds maximum limits, and has destroyed the Reverse Osmosis membrane. | Correction: If the water supply contains more than 2.0 ppm of chlorine, additional filtering of the water supply to the Reverse Osmosis is needed. Contact your local water supplier. Correct this condition before doing maintenance on the Reverse Osmosis system. |
| Cause: The prefilter is no longer reducing chlorine from the water supply. | Correction: Replace the prefilter, postfilter and Reverse Osmosis membrane cartridges. |
| Problem: Other taste and/or odor. | |
| Cause: Postfilter expended. Cause: Reverse Osmosis membrane cartridge expended. | Correction: Replace the postfilter cartridge. If taste and odor persist, replace the prefilter cartridge and Reverse Osmosis membrane cartridge. |
| Cause: Contamination in product water storage tank. | Correction: Use sanitizing procedures. Replace prefilter and postfilter cartridges. |
| Cause: System contamination. | Correction: Sanitize entire system. Call 1-866-986-3223 for instructions. |
| Problem: System makes product water too slowly. | |
| Cause: Water supply to the Reverse Osmosis system not within specifications. | Correction: Increase water pressure, precondition the water, etc., as needed to conform before doing maintenance on the Reverse Osmosis system. |
| Cause: Prefilter or Reverse Osmosis membrane cartridges plugged with sediment. | Correction: Replace the prefilter cartridge. If rate does not increase, replace the postfilter cartridge and Reverse Osmosis membrane cartridge. |
| Problem: System makes lower amount of product water than usual. | |
| Cause: Storage tank air-charge less than 5-7 psi. | Correction: Open Reverse Osmosis faucet and drain tank until flow slows to a drip. Keep faucet open and check tank pressure. If low, pressurize to 6 psi. Close faucet to refill the tank. |
| Problem: High total dissolved solids (TDS) in product water. | |
| Cause: Water supply to the Reverse Osmosis system not within specifications. | Correction: Increase water pressure, precondition the water, etc., as needed to conform before doing maintenance on the Reverse Osmosis system. Correction: Send treated and untreated water samples to a water analysis lab for testing. It is important to test both the treated and untreated water to determine system performance. If the TDS is not within the system's performance guidelines, replace the prefilter, post filter and RO membrane cartridges. |
| Cause: Plugged drain flow control insert. | Correction: Replace drain flow control insert. |
| Problem: Continual water flow to drain and low or no water production. | |
| Cause: Missing flow control insert in drain port. | Correction: Make sure flow control insert is in place. |
| Problem: Water leaking from faucet airgap hole. | |
| Cause: Drain side of faucet airgap (3/8" black tubing) plugged, restricted or incorrectly connected to drain point. | Correction: Inspect and eliminate restriction or plug. Check that drain line is routed properly. Refer to installation instructions for proper drain connection. |
| Problem: Faucet LED indicator light does not function after battery change. | |
| Cause: Battery dead. | Correction: Replace with new battery. |
| Cause: Battery installed incorrectly. | Correction: Install battery correctly. |
| Problem: Water leaks at push connect fittings. | |
| Cause: Tubing not cut square. | Correction: Cut tubing square. |
| Cause: Tubing not pushed in all the way. | Correction: Push tubing in all the way. |
| Cause: Tubing nicked. | Correction: Remove tube from connection. Remove nicked portion by cutting tube to shorter length. Reinsert in connection. If removing the drain line, leave in place the elbow fitting that it connects to. |
| Cause: Outer tubing surface finish not smooth. | Correction: Remove tube from connection. Remove problem area by cutting tube to shorter length. Reinsert in connection. If removing the drain line, leave in place the elbow fitting that it connects to. |
Need help troubleshooting?
Call Toll Free 1-866-986-3223 Monday- Friday, 8 AM - 7 PM EST or visit www.whirlpoolwatertreatment.com





| Key No. | Part No. | Description |
| – | 7333129 | Mounting Hardware Kit (includes 2 ea. of Key Nos. 1 & 2) |
| 1 | ![]() | Screw (2 req'd) |
| 2 | ![]() | Hanger Washer (2 req'd) |
| – | 7333137 | Check Valve Kit (includes Key No. 4 & 2 of Key No. 3) |
| 3 | ![]() | O-ring, Auto. Shutoff Cover (2 req'd) |
| 4 | ![]() | Check Assembly |
| – | 7333145 | Automatic Shutoff Kit (incl. Key No. 7, 4 of Key No. 6 & 6 of Key No. 5) |
| 5 | ![]() | Screw (6 req'd) |
| 6 | ![]() | Washer (4 req'd) |
| 7 | ![]() | Automatic Shut-off Cover Assembly |
| – | 7333179 | Diaphragm Kit (includes Key Nos. 9, 10 & 2 of Key No. 8) |
| 8 | ![]() | Diaphragm (2 req'd) |
| 9 | ![]() | Plunger |
| 10 | ![]() | Spacer Ring |
| – | 7333153 | Flow Control Kit (includes Key Nos. 11 & 12) |
| 11 | ![]() | Flow Control Insert |
| 12 | ![]() | Elbow, Plug-in, 1/4 Stem x 1/4 Tube |
| 13 | WHEERF | Pre & Post Filter Cartridge ![]() |
| 14 | WHEERM | RO Membrane Cartridge ![]() |
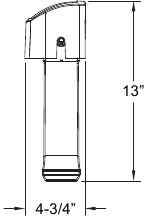
| 15 | 7205326 | Storage Tank |
| – | 7333161 | Tank Connector Kit (includes Key No. 16-18) |
| 16 | ![]() | Nut, 3/8" Tubing |
| 17 | ![]() | Insert, 3/8" Tubing |
| 18 | ![]() | Connector, 1/4 NPT x 3/8 Jaco |
| 19 | 7208489 | Drain Adapter |
| 20 | 7227310 | Tee, Feed Adapter |
| 21 | 7292682 | Faucet, with base and electronics |
| 22 | 7272755 | Cover (order decal below) |
| 23 | 7285368 | Repl. Head Assembly (includes Key Nos. 3-10) |
| ■ | 7275410 | Decal, Cover |
| ■ | 7301203 | Sanitization Kit ● |
| ■ | 7315189 | Auxiliary Storage Tank ● |
| ■ | 7161823 | Tubing, 1/4" x 20' - white ▲● |
| ■ | 7157280 | Tubing, 3/8" x 20' - white ▲● |
| ■ | 7314183 | Coin Battery |
| ■ | 7279749 | Dropper |
Please purchase replacement cartridges from the retailer where you bought your reverse osmosis system.
Not illustrated.
Not included.
Tubing lengths for remote installations, direct replacement for colored lengths of tubing.
NOTE: Codes in the state of Massachusetts require installation by a licensed plumber and do not permit the use of saddle valves.
To order repair parts call toll free 1-866-986-3223, Monday - Friday, 8 am - 7 pm EST.
Manufactured and warranted by Ecodyne Water Systems 1890 Woodlane Drive Woodbury, MN 55125
® / TM © 2013 Whirlpool. All rights reserved.

Here you can download full pdf version of manual, it may contain additional safety instructions, warranty information, FCC rules, etc.
Advertisement


Need help?
Do you have a question about the WHER25 and is the answer not in the manual?
Questions and answers