Advertisement

| WARNING! The machine can be a dangerous tool if used incorrectly or carelessly, which can cause serious or fatal injury to the operator or others. | |
Always wear:
| ![]() |
| Gloves should be worn when necessary. | ![]() |
| The blower can forcibly throw objects that can bounce back. This can result in serious eye injuries if the recommended safety equipment is not used. | ![]() |
| The blower operator must ensure that no people or animals come closer than 15 metres. When several operators are working at the same site a safety distance of at least 15 metres must be in effect. | ![]() |
| Keep all parts of your body away from hot surfaces. | |
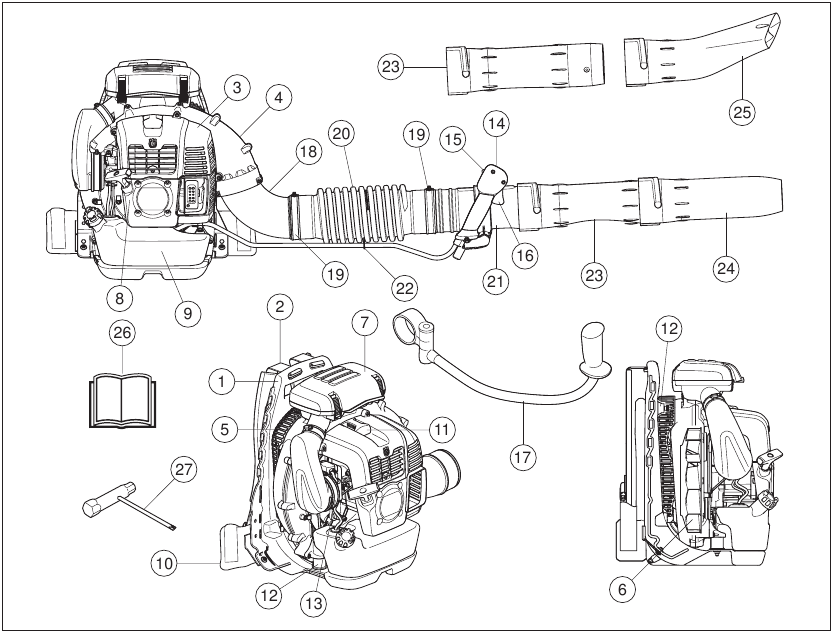
| Air purge | ![]() |
| Noise emission to the environment according to the European Community's Directive. The machine's emission is specified in the Technical data chapter and on the label. | ![]() |
| The rating plate showing serial number. yyyy is the production year, ww is the productionweek. | yyyywwxxxxx |
| Other symbols/decals on the machine refer to special certification requirements for certain markets. | |
| Switch off the engine by moving the stop switch to the STOP position before carrying out any checks or maintenance. | ![]() |
| Always wear protective gloves. | ![]() |
| Regular cleaning is required. | ![]() |
| Visual check. | ![]() |
| Protective goggles or a visor must be worn. | ![]() |
| Refuelling. | ![]() |
| Choke lever in "open position". | ![]() |
| Choke lever in "closed position". | ![]() |

What is what on the blower?
Note the following before starting:
Please read the operator's manual carefully.
Long-term exposure to noise can result in permanent hearing impairment. So always use approved hearing protection.
Under no circumstances may the design of the machine be modified without the permission of the manufacturer. Always use original accessories. Non-authorized modifications and/or accessories can result in serious personal injury or the death of the operator or others.
A blower is a dangerous tool if used carelessly or incorrectly and can cause serious, even fatal injuries. It is extremely important that you read and understand the contents of this Operator's manual.
Husqvarna AB has a policy of continuous product development and therefore reserves the right to modify the design and appearance of products without prior notice.
The machine is only designed for blowing lawns, pathways, asphalt roads and the like.
The machine is only designed for blowing lawns, pathways, asphalt roads and the like.
Carry out an overall inspection of the machine before use. See the maintenance schedule.
Never use the machine if you are tired, if you have drunk alcohol, or if you are taking medication that could affect your vision, your judgement or your co-ordination.
Wear personal protective equipment. See instructions under the "Personal protective equipment" heading.
Never use a machine that has been modified in any way from its original specification.
Never use a machine that is faulty. Carry out the safety checks, maintenance and service instructions described in this manual. Some maintenance and service measures must be carried out by trained and qualified specialists. See instructions under the Maintenance heading.
All covers and guards must be fitted before starting. Ensure that the spark plug cap and ignition lead are undamaged to avoid the risk of electric shock.
The blower operator must ensure that no people or animals come closer than 15 metres. When several operators are working at the same site a safety distance of at least 15 metres must be in effect.
Never allow children to use the machine.
Never allow anyone else to use the machine without first ensuring that they have read and understood the contents of the operator's manual.
Always check for any objects that may block the air intake screen before beginning work.
Never remove the air intake screen.
In case of emergency, release yourself from the machine by opening the waist and chest belt and let the machine fall backwards.
Always contact local authorities and make sure you are following applicable directives.
Keep all parts of your body away from hot surfaces.
Never touch the spark plug or ignition cable while the engine is running.
This machine produces an electromagnetic field during operation.
This field may under some circumstances interfere with active or passive medical implants. To reduce the risk of serious or fatal injury, we recommend persons with medical implants to consult their physician and the medical implant manufacturer before operating this machine.

Take care when handling fuel. Bear in mind the risk of fire, explosion and inhaling fumes.
The harness must always be worn when working with the machine. Failure to do so means you will be unable to manoeuvre safely and this can result in injury to yourself or others.
Make sure that the waist belt and chest belt are buttoned and correctly adjusted.
There is a risk that an unclosed belt can get stuck or sucked into the fan of the machine.


A correctly adjusted harness and machine significantly facilitates the work. Adjust the harness to give the best working position.

Tighten the side straps so that the pressure is evenly distributed across the shoulders.

Place the hip strap over the hip and not too far down on the stomach. Tighten the hip strap so that you feel the weight of the blower resting on your hip. Tighten and adjust the breast belt for the best working position.
You must use approved personal protective equipment whenever you use the machine. Personal protective equipment cannot eliminate the risk of injury but it will reduce the degree of injury if an accident does happen. Ask your dealer for help in choosing the right equipment. Please read the operator's manual carefully and make sure you understand the instructions before using the machine.
Listen out for warning signals or shouts when you are wearing hearing protection. Always remove your hearing protection as soon as the engine stops.
This section describes the machine's safety equipment, its purpose, and how checks and maintenance should be carried out to ensure that it operates correctly. See the "What is what" section to locate where this equipment is positioned on your machine.
Never use a machine that has faulty safety equipment! Carry out the inspection, maintenance and service routines listed in this section.

Use the stop switch to switch off the engine.
Remove the ignition cable and the spark plug to carry out inspection and maintenance.
Your machine is equipped with a vibration damping system that is designed to minimize vibration and make operation easier.

Overexposure to vibration can lead to circulatory damage or nerve damage in people who have impaired circulation. Contact your doctor if you experience symptoms of overexposure to vibration. Such symptoms include numbness, loss of feeling, tingling, pricking, pain, loss of strength, changes in skin colour or condition. These symptoms normally appear in the fingers, hands or wrists. The risk increases at low temperatures.
The muffler is designed to keep noise levels to a minimum and to direct exhaust fumes away from the user.
In countries that have a warm and dry climate there is a significant risk of fire. Consequently, we have equipped the muffler with a spark arrestor mesh mounted inside the muffler.

For mufflers it is very important that you follow the instructions on checking, maintaining and servicing your machine. See instructions under the heading Checking, maintaining and servicing the machine's safety equipment.
Bear in mind that: Engine exhaust fumes contain carbon monoxide, which can cause carbon monoxide poisoning. For this reason you should not start or run the machine indoors, or anywhere that is poorly ventilated.
The exhaust fumes from the engine are hot and may contain sparks which can start a fire. Never start the machine indoors or near combustible material!
The inside of the muffler contain chemicals that may be carcinogenic. Avoid contact with these elements in the event of a damaged muffler.
WARNING! All servicing and repair work on the machine requires special training. This is especially true of the machine's safety equipment. If your machine fails any of the checks described below you must contact your service agent. When you buy any of our products we guarantee the availability of professional repairs and service. If the retailer who sells your machine is not a servicing dealer, ask him for the address of your nearest service agent.


Never use a machine with faulty safety equipment. The machine's safety equipment must be checked and maintained as described in this section. If your machine fails any of these checks contact your service agent to get it repaired.
Never use the leaf blower without an air filter or with a damaged or deformed filter element as unfiltered, dusty air can quickly destroy the engine.
This section considers basic safety rules when working with blowers. If you encounter a situation where you are uncertain how to proceed you should ask an expert. Contact your dealer or your service workshop. Avoid all usage which you consider to be beyond your capability.
Show consideration to persons in your surroundings by avoiding using the machine at unsuitable times, such as late in the evening or early in the morning. Reduce the noise levels by limiting the number of equipment units used simultaneously. Read through and follow the simple directions so that you disturb your surroundings as little as possible.
Be aware of your surroundings. If anyone approaches your work area, set the throttle control to the lowest throttle until the person is at a safe distance. Direct the blower away from people, animals, play areas, open windows and cars etc.

Watch out for thrown objects. Always wear eye protection. Stones, rubbish, etc. can be thrown up into the eyes causing blindness or serious injury. Keep unauthorised persons at a distance. Children, animals, onlookers and helpers should be kept outside the safety zone of 15 m. Stop the machine immediately if anyone approaches.
Don't operate the blower if the exhaust gas outlet on the engine cover is covered by a wall and/or some other obstacles, the machine could get damage. Make sure that the distance is 50 cm or more from the obstacles during operation.
Always stop the engine before cleaning.
You can set the throttle position using the "stop switch" and by doing so not need to hold your finger on the throttle all the time you are using the blower. Full throttle is obtained when the control is held back fully.
NOTE! Lubricate the pipes a little to facilitate assembly.
(Accessory)

Disassemble the intermediate pipe. Disassemble the knob from the holder and puch the holder on to the holder pipe. Assemble the knob and tighten.

Assemble the intermediate pipe.
The machine is equipped with a two-stroke engine and must always be run using a mixture of petrol and two-stroke oil. It is important to accurately measure the amount of oil to be mixed to ensure that the correct mixture is obtained. When mixing small amounts of fuel, even small inaccuracies can drastically affect the ratio of the mixture.
Always ensure there is adequate ventilation when handling fuel.

Always use a good quality petrol/oil mixture (at least 90 octane).

Husqvarna alkylate fuel
Husqvarna recommends the use of Husqvarna alkylate fuel for best performance. Husqvarna alkylate fuel is not available in all markets.
Ethanol blended fuel, E10 may be used (max 10% ethanol blend). Using ethanol blends higher than E10 will create lean running condition which can cause engine damage.
| Petrol, litre | Two-stroke oil, litre |
| 2% (1:50) | |
| 5 | 0,10 |
| 10 | 0,20 |
| 15 | 0,30 |
| 20 | 0,40 |

Taking the following precautions, will lessen the risk of fire:
Refuel in a well ventilated area. Never fuel the machine indoors.
Do not smoke or place hot objects near fuel.
Always shut off the engine before refuelling.
Always stop the engine and let it cool for a few minutes before refuelling.
When refuelling, open the fuel cap slowly so that any excess pressure is released gently.
Tighten the fuel cap carefully after refuelling.
If you have spilled fuel on it. Wipe off the spillage and allow remaining fuel to evaporate.
Always move the machine away from the refuelling area and source before starting.

Always move the machine away from the refuelling area and source before starting. Place the machine on a flat surface.
Make sure no unauthorised persons are in the working area. Otherwise there is a risk of serious personal injury. The safety distance is 15 meters.
The machine may only be started in its complete design. If the machine is started without all the guards fitted there is a risk of personal injuries.

Ignition: Set the stop switch to the start position. About one third open.
It is not allowed to set the stop switch in full throttle position.

Choke: Set the choke control in the choke position.
Primer bulb: Press the air purge repeatedly until fuel begins to fill the bulb. The bulb need not be completely filled.
Use the same starting procedure as for a cold engine but without setting the choke control in the choke position.

Hold the body of the machine on the ground using your left hand (CAUTION! Not with your foot!). Grip the starter handle, slowly pull out the cord with your right hand until you feel some resistance (the starter pawls grip), now quickly and powerfully pull the cord.
Never twist the starter cord around your hand.
Repeat pulling the cord until the engine starts. When the engine starts, return choke control to run position.
Do not pull the starter cord all the way out and do not let go of the starter handle when the cord is fully extended. This can damage the machine.
NOTE!
Air is released as soon as the engine is started, even when idling.
When the engine fails to start after several attempts due to overchocking, open the choke and repeat pulling the rope.

Set the required engine speed with the throttle control.
The engine is stopped by moving the stop switch to the stop position.

Remove the ignition cable and the spark plug to carry out inspection and maintenance. Keep all parts of your body away from hot surfaces.
Adjustment of the idle speed
Before any adjustments are made, make sure that the air filter is clean and the air filter cover is fitted.
The factory idle speed setting is 2,000 rpm. Use the adjustment screw at the upper edge of the carburettor if the idle speed has to be adjusted.

The muffler is designed to reduce the noise level and to direct the exhaust gases away from the operator. The exhaust gases are hot and can contain sparks, which may cause fire if directed against dry and combustible material.
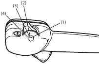
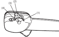
The muffler is equipped with a special spark arrestor mesh. The spark arrestor mesh should be cleaned once a month. This is best done with a wire brush.

To remove the spark arrestor mesh proceed as follows:
Never use a machine with a defective muffler. Check regularly that the muffler is complete and secured correctly. (1), (2) Tighten the screws. 8-12 Nm

Check that the spark arrester and the exhaust duct are screwed in place correctly (5). Tighten to 2-3 Nm.
The muffler gets very hot during use and remain so for some time after stopping. This also applies at idle speed. Contact can result in burns to the skin. Remember the risk of fire!

To keep the working temperature as low as possible the machine is equipped with a cooling system.
The cooling system consists of:
Clean the cooling system with a brush once a week, more often in demanding conditions. A dirty or blocked cooling system results in the machine overheating which causes damage to the piston and cylinder. Check that the nozzles are not blocked.

Check that the air intake is not blocked on all sides including the underside, for example, by leaves or rubbish. A clogged air intake reduces the machine's blowing capacity and increases the engine's working temperature, which can result in engine failure. Stop the engine and remove the object.
Never use the blower if the screen is not in place. Before use, check that the screen is in place and undamaged.

The spark plug condition is influenced by:
These factors cause deposits on the spark plug electrodes, which may result in operating problems and starting difficulties.

Clean the outside of the spark plug. Remove it and check the electrode gap. Adjust the gap to 0,6-0,7 mm or replace the spark plug. Check that the spark plug is fitted with a suppressor.
Always use the recommended spark plug type! Use of the wrong spark plug can damage the piston/cylinder.

The air filter must be regularly cleaned to remove dust and dirt in order to avoid:
Clean the filter every 40 hours, or more regularly if conditions are exceptionally dusty.
Avoid contact with hot surfaces on muffler, cylinder etc. Contact can result in burns to the skin.
If the shoulder strap is damaged, it may break while in use and the machine may fall causing personal injury. Follow the instructions below to replace the shoulder strap.
Check that the thick round pin in the clamp is inserted in the strap. If it is inserted incorrectly it may lead to personal injury.
Below you will find some general maintenance instructions. If you need further information please contact your service workshop.
| Maintenance | Daily maintenance | Weekly maintenance | Monthly maintenance |
| Clean the outside of the machine. | X | ||
| Check that the throttle control functions safely. | X | ||
| Check that the stop switch works correctly. | X | ||
| Clean the air filter. Replace if necessary. | X | ||
| Check that nuts and screws are tight. | X | ||
| Check that there are no fuel leaks from the engine, tank or fuel lines. | X | ||
| Check the fuel filter for contamination and the fuel hose for cracks or other defects. Replace if necessary. | X | ||
| Clean or replace the spark arrestor mesh on the muffler (only applies to mufflers without a catalytic converter). | X | ||
| Check that all sides of the air intake screen are not blocked. | X | ||
| Check the starter and starter cord. | X | ||
| Check that the vibration damping elements are not damaged. | X | ||
| Clean the outside of the spark plug. Remove it and check the electrode gap. Adjust the gap to 0,6-0,7 mm or replace the spark plug. Check that the spark plug is fitted with a suppressor. | X | ||
| Clean the machine's cooling system. | X | ||
| Clean the outside of the carburettor and the space around it. | X | ||
| Check all cables and connections. | X | ||
| Replace the spark plug. Check that the spark plug is fitted with a suppressor. | X | ||
| Check and clean the spark arrestor mesh on the muffler (only applies to mufflers fitted with a catalytic converter). | X | ||
| Clean the fuel tank. | X |
| Technical data | 570BTS | 580BTS |
| Engine | ||
| Cylinder displacement, cm3 | 65,6 | 75,6 |
| Idle speed, rpm | 2000 | 2000 |
| Max. engine output, acc. to ISO 8893, kW/ rpm | ||
| Catalytic converter muffler | No | No |
| Speed-regulated ignition system | Yes | Yes |
| Ignition system | ||
| Spark plug | NGK CMR7H | NGK CMR7H |
| Electrode gap, mm | 0,6-0,7 | 0,6-0,7 |
| Fuel and lubrication system | ||
| Fuel tank capacity, litre | 2,2 | 2,6 |
| Weight | ||
| Weight without fuel, kg | 11,2 | 11,8 |
| Noise emissions (see note 1) | ||
| Sound power level, measured dB(A) | 110 | 111 |
| Sound power level, guaranteed LWA dB(A) | 110 | 112 |
| Noise levels (see note 2) | ||
| Equivalent sound pressure level at the operator's ear, measured according to EN15503 dB(A) | 99 | 100 |
| Vibration levels (see note 3) | ||
| Equivalent vibration levels (ahv, eq) at handles, measured according to EN15503, m/s2 | 1,8 | 1,6 |
| Fan performance | ||
| Max. air velocity with standard nozzle, m/s: | 106 | 92 |
| Air flow with standard nozzle, m3/min | 22 | 26 |
Note 1: Noise emissions in the environment measured as sound power (LWA) in conformity with EC directive 2000/14/ EC. Reported sound power level for the machine has been measured with the original cutting attachment that gives the highest level. The difference between guaranteed and measured sound power is that the guaranteed sound power also includes dispersion in the measurement result and the variations between different machines of the same model according to Directive 2000/14/EC.
Note 2: The equivalent sound pressure level value is calculated with a work cycle of a duration of 1/7 for idling and 6/7 for racing. Reported data for equivalent sound pressure level for the machine has a typical statistical dispersion (standard deviation) of 1 dB(A).
Note 3: The equivalent vibration level value is calculated with a work cycle of a duration of 1/7 for idling and 6/7 for racing. Reported data for equivalent vibration level has a typical statistical dispersion (standard deviation) of 1 m/s2.
Here you can download full pdf version of manual, it may contain additional safety instructions, warranty information, FCC rules, etc.
Advertisement



Need help?
Do you have a question about the 570BTS and is the answer not in the manual?
Questions and answers