Yamaha Pacifica 012 Manual
![]()
TUNING MACHINE TENSION ADJUSTMENT
In order to obtain maximum performance and enjoyment from this instrument, we urge you to read this Owner's Manual thoroughly before using the instrument. After read, we recommend that you keep it in a convenient place for future reference.
The tuning machines have spring-loaded mechanisms which automatically take up wear, preventing backlash. However, it is possible to adjust the amount of pressure required to turn the machines. Each machine has a tension adjustment screw, as illustrated.
![]()
Clockwise screw rotation tightens the machine. The tuning machines should be adjusted to the extent that they are firm, but can turn smoothly. This adjustment is normally unnecessary, and excessive tightening can lead to premature tuning machine wear.
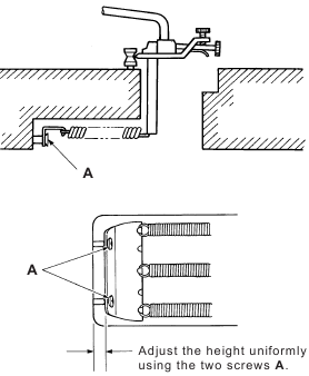
HEIGHT ADJUSTABLE LOCKING NUT
(If applicable)
- Remove the three hexagonal screws (A) that fix the Lock Pads.
- Loosen the four screws (B) that attach the Nut Base to the neck.
- Adjust the height by the two Height Adjustment Screws (C). The Nut Base gets higher by clockwise rotation, and lower by counterclockwise rotation.
- After adjusting, tighten the four screws (B).
![]()
NOTE: As the height has been adjusted in the best condition in the factory, please avoid the adjustment unless you have suitable experience. We suggest that you entrust this adjustment to your dealer.
SETTING THE STRING ACTION
Bridge
![Yamaha - Pacifica 012 - SETTING THE STRING ACTION - Bridge SETTING THE STRING ACTION - Bridge]()
NOTE: Be sure to perform any necessary adjustments to the truss rod before performing the following adjustments.
String height refers to the space between the strings and frets, and has an affect on playability.
String height is adjusted with the bridge and/or the saddle on the bridge. Adjust height by alternately turning the screws little by little on the left and right sides.
Set too high and the instrument is hard to play. Too low results in fret noise.
Adjust so that the space between the string and the last fret measures as follows:
| String | Tuning | Height |
| 1st | E | 1.9 mm |
| 2nd | B | 2.0 mm |
| 3rd | G | 2.1 mm |
| 4th | D | 2.2 mm |
| 5th | A | 2.3 mm |
| 6th | E | 2.4 mm |
VIBRATO SYSTEM Vintage Type
Following is the procedure for adjusting the vintage vibrato system:
![Yamaha - Pacifica 012 - VIBRATO SYSTEM Vintage Type VIBRATO SYSTEM Vintage Type]()
To check intonation, compare the harmonic tone (12th fret) to the fretted tone (12th fret).
- If fretted pitch is higher than harmonic, saddle must be moved backward to lengthen string.
![]()
- If fretted pitch is lower than harmonic, saddle must be moved forward to lengthen string.
VIBRATO SYSTEM Locking Type
When changing strings it is necessary to cut off the ball ends of the strings.
Following is the procedure for changing strings and adjusting the vibrato system:
- Loosen the three clamp screws (A).
![Yamaha - Pacifica 012 - VIBRATO SYSTEM Locking Type - Step 1 VIBRATO SYSTEM Locking Type - Step 1]()
- Turn the peg to loosen the string being replaced.
- Loosen the lock screw (B) of the string being replaced.
- Remove the old string.
- Tighten the lock screw to lock the string in place, then roughly tune the string. Do not over tighten the lock screw. Over tightening may result in damage.
- Make sure that the fine tuning screw (C) is in the middle of its range of travel.
- After tuning, rock the tremolo arm back and forth about three times then re-tune the instrument.
- If necessary, adjust the intonation and bridge angle.
- Tighten the three clamp screws (A) to lock the strings at the nut.
- Use the fine-tuning screws (C) to precisely tune the instrument to the correct pitch.
Intonation Adjustment in Vibrato Bridge
- After loosening/detuning the strings you would like to adjust. Loosen the hexagonal screw (D) located in the front of each saddle using the supplied hexagonal wrench.
- Slide the saddles by hand to adjust the length of each string.
- When the intonation is correct, tighten the hexagonal screw (D) in front of each saddle to ensure that its position stays stationary.
BRIDGE/SPRING TENSION ADJUSTMENTS
For best results the bridge should always be adjusted so it is parallel to the top surface of the guitar as shown in illustration (below). This position is maintained by opposing tension between the strings and the claw springs. If you change string gauge, you will need to readjust the spring tension to return the bridge back to the parallel position.
The adjustment procedures are:
- Remove the screws that attach the tremolo cavity back plate from the back side of the guitar exposing the claw springs.
- Make sure that the guitar is tuned to proper pitch
- If the bridge is tilted forward (up), tighten spring tension by turning the claw screws clockwise. If the bridge is tilted back (down), loosen the spring tension by turning the claw screws counterclockwise. (illustration — A)
![]()
Be sure to check string pitch after each adjustment to the spring tension.
TRUSS ROD ADJUSTMENT
The curvature of the neck should be slightly concave. Clockwise rotation of the nut tightens the rod and corrects for too much concave bow. Counterclockwise rotation of the nut loosens the rod and corrects for too much convex bend. Make any adjustments gradually. Allow five to ten minutes for setting, and check the curvature after each 1/2 turn of the truss rod nut.
![Yamaha - Pacifica 012 - TRUSS ROD ADJUSTMENT TRUSS ROD ADJUSTMENT]()
NOTE: Unless you have experience with truss rods, we suggest that you entrust this adjustment to your dealer.
PICKUP HEIGHT ADJUSTMENT
The height of the pickup (i.e. distance from the strings) affects gain — the higher the pickup, the louder the sound, and vice versa. If the pickup is set too high, sustain and playability will suffer because of the magnetic pull on the strings. Adjust overall height using the screws located at either side of the pickup. If the pickup has individually adjustable polepieces (most humbuckers do), these can then be adjusted to achieve the best overall balance. For optimal performance, we recommend measuring a distance of 2-3 millimeters between the bottom of string and the top of adjustable pole piece while fretting the highest fret.
![Yamaha - Pacifica 012 - PICKUP HEIGHT ADJUSTMENT PICKUP HEIGHT ADJUSTMENT]()
PRECAUTIONS
PLEASE READ CAREFULLY BEFORE PROCEEDING
Please keep this manual in a safe and handy place for future reference.
![]()
Always follow the basic precautions listed below to avoid the possibility of serious injury or even death from electrical shock, short-circuiting, damages, fire or other hazards. These precautions include, but are not limited to, the following:
![]()
Water warning
- Do not expose the instrument to rain, use it near water or in damp or wet conditions, place on it any containers (such as vases, bottles or glasses) containing liquids which might spill into any openings.
Battery
- Follow the precautions below. Failure to do so might result in explosion, fire, overheating or battery fluid leakage.
- Do not tamper with or disassemble batteries.
- Do not dispose of batteries in fire.
- Do not attempt to recharge batteries that are not designed to be charged.
- Keep the batteries separate from metallic objects such as necklaces, hairpins, coins, and keys.
- Use the specified battery type only.
- Use new batteries, all of which are the same type, same model, and made by the same manufacturer.
- Always make sure all batteries are inserted in conformity with the +/- polarity markings.
- When the batteries run out, or if the instrument is not to be used for a long time, remove the batteries from the instrument.
- Keep batteries away from small children who might accidentally swallow them.
- If the batteries do leak, avoid contact with the leaked fluid. If the battery fluid should come in contact with your eyes, mouth, or skin, wash immediately with water and consult a doctor. Battery fluid is corrosive and may possibly cause loss of sight or chemical burns.
![]()
Always follow the basic precautions listed below to avoid the possibility of physical injury to you or others, or damage to the instrument or other property. These precautions include, but are not limited to, the following:
Location
- To avoid damage to your instruments wood, finish, or electronic components, DO NOT expose this instrument to direct sunlight, high temperatures/humidity or leave stored in an automobile.
- Do not use close to electronics such as speakers, TV, and radio. The instrument's electronic circuits may cause noise in the TV or radio.
- Do not place the instrument in an unstable position where it might accidentally fall over.
Connections
- Before connecting the instrument to other electronic components, turn off the power for all components. Before turning the power on or off for all components, set all volume levels to minimum.
- To prevent the possibility of electrical shock or fire, we recommend using great caution when using this instrument in high humidity or wet weather environments. We also recommend that you read all Owner's Manuals for the external equipment that you connect this musical instrument to.
Handling caution
- Never hold the instrument close to your face when adjusting or replacing strings. A string may unexpectedly break damaging your eyes.
- If you cut the strings when replacing, do so after sufficiently loosening the pegs. Sudden loss of string tension may damage the neck and the rebounding strings may cause serious injury.
- After changing the strings, cut off the leftover string ends. String ends are sharp and can cause injuries.
- To avoid injury when cleaning this instrument, beware of sharp string ends.
- When using a strap, make sure the strap is securely attached to the guitar.
- Do not lift the guitar by strap. It can cause serious injury or damage to the guitar.
- Do not treat the instrument in a rough manner such as swinging it about, etc. The strap on the guitar may detach causing unexpected accidents such as the instrument dropping, etc., or injuring persons close by.
- In the following situations, a strap can easily slip off from the strap pins. Take extra care to avoid:
- a twisted strap
- sudden body movements
- a worn out strap
- If cleaning is required, wipe with a soft cloth. Do not use thinners, solvents, cleaning fluids, or wipes soaked with chemicals. Also. Do not place vinyl or plastic products on the instrument. Doing so can cause discoloration/deterioration.
- Do not rest your weight on, or place heavy objects on the instrument, and do not use excessive force on the buttons, switches or connectors.
Yamaha cannot be held responsible for damage caused by improper use or modifications to the instrument.
Make sure to discard used batteries according to local regulations.
Be Careful When Handling and Other Cautions
- The guitar has been properly adjusted before being shipped from the factory. In the event adjustment is necessary, contact the dealer from whom you purchased the instrument, if possible, as special skills may be required. For those adjustments that can be performed by the owner, please closely follow the instructions given in the Owner's Manual for the procedure.
- When playing the instrument, pay attention to the volume level. Especially late at night, take neighbors and those who are close by into consideration.
- Broken guitar necks are mostly the result of accidents such as dropping the guitar, the guitar falling over, or from shocks occurred during transport. When the guitar is not being used, make sure it is kept on a sturdy stand where it won't fall over, or place it in its case.
Correct Use and Handling of Batteries
![Yamaha - Pacifica 012 - Correct Use and Handling of Batteries Correct Use and Handling of Batteries]()
* When changing batteries, pay close attention to the +/- polarity markings as shown in the illustration above.
* Use only a DC9V, S-006P (6LR61 or 6F22) or equivalent battery.
Documents / Resources
Download manual
Here you can download full pdf version of manual, it may contain additional safety instructions, warranty information, FCC rules, etc.
Download Yamaha Pacifica 012 Manual
Available languages
Need help?
Do you have a question about the Pacifica 012 and is the answer not in the manual?
Questions and answers