Zanussi ZWC1301 - Compact Washing Machine Manual
![]()
VISIT OUR WEBSITE TO
Get usage advice, brochures, trouble shooter, service and repair information: www.zanussi.com/support
PRODUCT DESCRIPTION
APPLIANCE OVERVIEW
![Zanussi - ZWC1301 - APPLIANCE OVERVIEW APPLIANCE OVERVIEW]()
- Detergent dispenser drawer
- Control panel
- Door handle
- Rating plate
- Feet for levelling the appliance
- Drain hose
- Inlet hose
- Transit bolts
- Mains cable
The rating plate reports the model name (A), product number (B), electrical ratings (C) and serial number (D).
![Zanussi - ZWC1301 - The rating plate The rating plate]()
TECHNICAL DATA
| Dimension | Width/ Height/ Total depth | 50 cm /67 cm /55 cm |
| Electrical connection | Voltage | 230-240 V |
| Overall power | 1600 W |
| Fuse | 13 A |
| Frequency | 50 Hz |
| Level of protection against ingress of solid particles and moisture ensured by the protective cover, except where the low voltage equipment has no protection against moisture | IPX4 |
| Water supply pressure 1) | Minimum | 0.5 bar (0.05 MPa) |
| Maximum | 8 bar (0.8 MPa) |
| Water supply 2) | Cold water |
| Maximum Load | Cotton | 3 kg |
| Spin Speed | Maximum spin speed | 1251 rpm |
- The appliance works correctly if the water pressure is not lower than 0.05 MPa (0.5 bar). If you cannot connect the water inlet hose to the cold water tap of the primary hydraulic system, connect it to your domestic cold water storage system. Make sure not to exceed a distance of 5.02 m (16.5 ft) between the appliance inlet hose and the bottom of the water storage tank.
- Connect the water inlet hose to a water tap with a 3/4'' thread.
INSTALLATION
![]()
Refer to Safety chapters.
LIFTING THE MACHINE
Incorrect methods of lifting can damage the appliance. Open the door and take hold of the top inside of the door opening. You can also lift the machine by gripping the rear overhang of the top.
![Zanussi - ZWC1301 - LIFTING THE MACHINE LIFTING THE MACHINE]()
![]()
Never lift the machine by gripping it's control panel, door, or detergent dispenser.
UNPACKING
- Open the door. Remove all items from the drum.
- Put the packaging element on the floor behind the appliance and carefully put it down onto its rear side. Remove the polystyrene protection from the bottom.
![Zanussi - ZWC1301 - UNPACKING - Step 1 UNPACKING - Step 1]()
![]()
Do not lay washing machine on its front. - Put the appliance back into an upright position. Remove the power supply cable and the drain hose from the hose holders.
![Zanussi - ZWC1301 - UNPACKING - Step 2 UNPACKING - Step 2]()
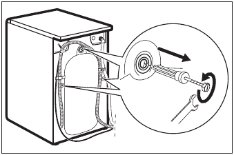
It is possible to see water flowing from the drain hose. This is because the washing machine has been tested at the factory. - Remove the three transit bolts and pull out the plastic spacers.
![Zanussi - ZWC1301 - UNPACKING - Step 3 UNPACKING - Step 3]()
We recommend that you keep the packaging and the transit bolts for any transport of the appliance. - Put the plastic caps, that you find in the user manual bag, in the holes.
![Zanussi - ZWC1301 - UNPACKING - Step 4 UNPACKING - Step 4]()
Positioning and levelling
Adjust the appliance correctly to prevent vibration, noise and movement of the appliance when it operates.
- Install the appliance on a flat hard floor. The appliance must be levelled and stable. Make sure that the appliance does not touch the wall or other units and there is air circulation below the appliance.
- Loosen or tighten the feet to adjust the level. All feet must rest firmly on the floor.
![]()
Do not put cardboard, wood or equivalent materials below the appliance feet to adjust the level.
The inlet hose
![]()
Make sure there is no damage to hoses and there are no leaks from the couplings. Do not use an extension hose if the inlet hose is too short. Contact the service centre for a replacement inlet hose.
- Connect the water inlet hose to the back of the appliance.
![Zanussi - ZWC1301 - The inlet hose The inlet hose]()
- Position it toward left or right depending on the position of the water tap. Make sure that the inlet hose is not in vertical position.
- If necessary, loosen the ring nut to set it in the correct position.
- Connect the water inlet hose to the cold water tap with 3/4'' thread.
Water drainage
The drain hose should stay at a height of no less than 65 cm and not more than 80 cm.
You can extend the drain hose to maximum 350 cm. Contact the authorised service centre for the other drain hose and the extension.
It is possible to connect the drain hose in different ways:
- Make a U shape with the drain hose and put it around the plastic hose guide.
![Zanussi - ZWC1301 - Water drainage - Step 1 Water drainage - Step 1]()
- On the edge of a sink - Fasten the guide to the water tap or to the wall.
![Zanussi - ZWC1301 - Water drainage - Step 2 Water drainage - Step 2]()
Make sure that the plastic guide cannot move when the appliance drains and the drain hose end is not immersed in the water. There may be a return of dirty water into the appliance. - If the end of the drain hose looks like this (seethe picture), you can push it directly into the stand pipe.
![Zanussi - ZWC1301 - Water drainage - Step 3 Water drainage - Step 3]()
- To a stand pipe with vent hole - Insert the drain hose directly into a drain pipe. Refer to the illustration.
![Zanussi - ZWC1301 - Water drainage - Step 4 Water drainage - Step 4]()
The end of the drain hose must always be ventilated, i.e. the inner diameter of the drain pipe (min. 38 mm - min. 1.5") must be larger than the external diameter of the drain hose. - Without the plastic hose guide, to a sink spigot. Put the drain hose in the spigot and tighten it with a clamp. Refer to the illustration.
![Zanussi - ZWC1301 - Water drainage - Step 5 Water drainage - Step 5]()
Make sure that the drain hose makes a loop to prevent particles going into the appliance from the sink.
![Zanussi - ZWC1301 - Water drainage - Step 6 Water drainage - Step 6]()
Connect the drain hose to the spigot and tighten it with a clamp. Make sure that the drain hose makes a loop to prevent particles going into the appliance from the sink. - Position the hose directly to a built-in drain pipe in the room wall and tighten it with a clamp.
![Zanussi - ZWC1301 - Water drainage - Step 7 Water drainage - Step 7]()
ELECTRICAL CONNECTION
At the end of installation you can connect the mains plug to the mains socket.
The rating plate on the inner edge of the appliance door and the 'Technical Data' chapter indicate the necessary electrical ratings. Make sure that they are compatible with the mains power supply.
Check that your domestic electrical installation can take the maximum load required, also taking into account any other appliances in use.
Connect the appliance to an earthed socket.
![Zanussi - ZWC1301 - ELECTRICAL CONNECTION ELECTRICAL CONNECTION]()
The power supply cable must be easily accessible after installing the appliance.
For any electrical work required to install this appliance, contact our Authorised Service Centre.
The manufacturer does not accept any responsibility for damage or injury through failure to comply with the above safety precaution.
CONTROL PANEL
CONTROL PANEL DESCRIPTION
![Zanussi - ZWC1301 - CONTROL PANEL CONTROL PANEL]()
- Detergent drawer
- FlexiTime button Super Quick / Quick
- Prewash button
- Extra Rinse button
- Start/Pause button
- Delay Start button
- Programme progress indicators
- SPIN reduction selector
- Programme selector dial
INTRODUCTION
The options/functions are not available with all washing programmes. Check the compatibility between options/ functions and washing programmes in the "Programme Chart". An option/ function can exclude another one, in this case the appliance doesn't allow you to set incompatible options/ functions.
By means of this button, you can select only one of the options. You must select option after you have set the programme and before you press button Start/Pause The relevant light will light up.
- Super Quick
Short programme for lightly soiled white-/ coloured and synthetic laundry. The washing time will be reduced approx. 10 minutes. Max. recommended temperature 60°C. - Quick
Short programme for normally soiled cotton, synthetic or delicate items. The washing time will be reduced according to the type of fabric and the selected temperature.
This options can not be chosen together with the programme Eco 40-60 and neither with the wool, delicate or hand wash programmes. The washing time will be reduced depending on the type of material and the selected temperature. Recommended load for cotton is 2 kg.
PREWASH
By selecting this option the machine performs a prewash cycle before the main wash phase. The washing time will be prolonged. This option is recommended for heavily soiled laundry.
With this option you can add some rinses to a washing programme. If it necessary to rinse the laundry using an extra quantity of water (extra rinse), select this option. Some additional rinses will be performed. This option is recommended for people who are allergic to detergents, and in areas where the water is very soft.
This option increases the programme duration.
START/PAUSE
This button allows you to start or to interrupt the selected programme.
DELAY START
The start of the programme can be delayed by 8, 4 or 2 hours by means of this button. The selected delay is indicated by the illumination of the corresponding light.
INDICATORS
![Zanussi - ZWC1301 - INDICATORS INDICATORS]()
The light A illuminates when the Delay Start is selected, start of the washing programme will be delayed for 8 hours.
The light B illuminates when the Delay Start is selected, start of the washing programme will be delayed for 4 hours.
The light C illuminates when the Delay Start is selected, start of the washing programme will be delayed for 2 hours.
The light D illuminates when the machine is performing the washing phase. The light E illuminates at the end of the washing cycle.
The light F indicates if the door can be opened:
- The light is on: the door cannot be opened.
- The light is off: the door can be opened.
- The light is flashing: the door can soon be opened.
SPIN REDUCTION DIAL
By turning the spin speed selector you can change the spin speed of the selected programme or to select Rinse Hold or 0 option.
PROGRAMME SELECTOR DIAL
It allows you to switch the appliance on/off and/or to select a programme.
PROGRAMME CHART
Programme Temperature range | Spin speed range | Maximum load | Programme description (Type of load and level of soiling) |
| Washing programmes |
Eco 40-60 40°C 1) | 1300 rpm | 3 kg | White cotton and fast-coloured cotton. Normally soiled items. The energy consumption decreases and the time of the washing programme is extended, ensuring good washing results. |
Cottons ![]() 90 - 30°C | 1300 rpm | 3 kg | White cotton. Heavily and normally soiled items. |
Synthetics ![]() 40 - 30°C | 900 rpm | 1,5 kg | Synthetic items or mixed fabric items. Normally soiled items. |
Delicates 40°C | 700 rpm | 1,5 kg | Delicate fabrics such as acrylics, viscose and mixed fabrics requiring gentler washing. Normally and lightly soiled items. |
Mix 20°C | 900 rpm | 1,5 kg | Special programme for lightly soiled cotton, synthetic and mixed fabrics. Select this programme to reduce the energy consumption. Make sure that the detergent is suitable for low temperature in order to have good washing results. |
Wool 40°C - Cold | 900 rpm | 1 kg | Machine washable wool, hand washable wool and other fabrics with «hand washing» care symbol 2). |
Mini 30°C | 700 rpm | 1,5 kg | A short cycle for lightly soiled synthetic and delicate items or for items to freshen up. |
| Rinse | 1300 rpm | 3 kg | All fabrics, except woollens and very delicate fabrics. Programme for rinsing and spinning the laundry. The default spin speed is the one used for cotton programmes. Reduce the spin speed accordingly to the type of laundry. If necessary, set the Extra Rinse option to add rinses. With a low spin speed, the appliance performs delicate rinses and a short spin. |
| Drain | - | 3 kg | To drain the water in the drum. All fabrics. |
| Spin | 1300 rpm | 3 kg | All fabrics, except woollens and delicate fabrics. To spin the laundry and to drain the water in the drum. |
- According to Commission Regulation EU 2019/2023, this programme at 40°C is able to clean normally soiled cotton laundry declared to be washable at 40°C or 60°C, together in the same cycle.
For the reached temperature in the laundry, the programme duration and other data, please refer to 'Consumption Values' chapter.
The most efficient programmes in terms of energy consumption are generally those that perform at lower temperatures and longer duration. - During this cycle the drum rotates slowly to ensure a gentle wash. It can seem that the drum doesn't rotate or doesn't rotate properly, but this is normal for this programme.
Programme options compatibility
| Programme | Spin | No Spin 0 | Rinse Hold | Super Quick | Quick | Prewash | Extra Rinse | Delay Start |
| Eco 40-60 | ■ | ■ | ■ | | | ■ | ■ | ■ |
Cottons | ■ | ■ | ■ | ■ 1) | ■ 1) | ■ | ■ | ■ |
Synthetics | ■ | ■ | ■ | ■ | ■ | ■ | ■ | ■ |
| Delicates | ■ | ■ | ■ | ■ | | ■ | ■ | ■ |
| Mix | ■ | ■ | ■ | | | | ■ | ■ |
| Wool | ■ | ■ | ■ | | | | | ■ |
| Mini | ■ | ■ | ■ | | | | | ■ |
| Rinse | ■ | ■ | ■ | | | | ■ | ■ |
| Drain | | | | | | | | |
| Spin | ■ | | | | | | | |
- If you select this option, we recommend that you reduce the maximum load. Recommended load for cotton is 2 kg.
Suitable detergents for washing programmes
| Programme | Universal powder1) | Liquid Universal | Liquid for coloureds | Delicates woollens | Special |
| Eco 40-60 | ▲ | ▲ | ▲ | -- | -- |
Cottons | ▲ | ▲ | ▲ | -- | -- |
Synthetics | ▲ | ▲ | ▲ | -- | -- |
| Delicates | -- | -- | -- | ▲ | ▲ |
| Mix | -- | ▲ | ▲ | -- | -- |
| Wool | -- | -- | -- | ▲ | ▲ |
| Mini | -- | ▲ | ▲ | -- | -- |
- At temperature higher than 60°C the use of powder detergent is recommended.
▲ = Recommended
-- = Not recommended
BEFORE FIRST USE
- Make sure that all transit bolts have been removed from the appliance.
- Connect the mains plug to the mains socket.
- Open the water tap.
- Pour approx. 100 ml of detergent straight into the drum.
- Set and start a programme for cotton at the highest temperature without laundry. This removes all possible dirt from the drum and the tub.
DAILY USE
![]()
Refer to Safety chapters.
LOADING THE LAUNDRY
- Open the appliance door.
- Shake the items before you put them in the appliance.
- Put the laundry in the drum, one item at a time. Make sure not to put too much laundry in the drum.
- Close the door firmly.
![Zanussi - ZWC1301 - LOADING THE LAUNDRY LOADING THE LAUNDRY]()
![]()
Make sure that no laundry stays between the seal and the door. There is a risk of water leakage or damage to the laundry.
![]()
Washing heavily oiled, greasy stains could cause damage rubber parts of the washing machine.
FILLING THE DETERGENT AND ADDITIVES
![Zanussi - ZWC1301 - FILLING THE DETERGENT AND ADDITIVES FILLING THE DETERGENT AND ADDITIVES]()
| Compartment for powder or liquid detergent used for main wash. If using liquid detergent, pour it just before starting the programme. |
| Compartment for liquid additives (fabric conditioner, starch). Any fabric softener or starching additives must be poured into the compartment before starting the wash programme. |
| Maximum level for quantity of liquid additives. |
When you set a programme with prewash, put the detergent for prewashing phase directly into the drum.
Always follow the instructions that you find on the packaging of the detergent products, but we recommend that you do not exceed the maximum indicated level (
). This quantity will however guarantee the best washing results.
After a washing cycle, if necessary, remove any detergent residue from the detergent dispenser.
SELECT THE REQUIRED PROGRAMME BY MEANS OF THE PROGRAMME SELECTOR DIAL
Turn the programme selector dial to the required programme. The selector can be turned either clockwise or anticlockwise.
The green light of button Start/Pause starts to flash.
The pilot lights corresponding to all phases composing the selected programme are on.
On position
the programme is reset and the machine is switched OFF.
At the end of the programme the selector dial must be turned to position
to switch the machine off.
If you turn the programme selector dial to another programme when the machine is working, the lights in the programme progress display will start to flash to indicate a wrong selection. The machine will not perform the new selected programme.
SELECT THE SPIN SPEED, RINSE HOLD OR NO SPIN OPTION
Select the spin speed, Rinse Hold option or No Spin option by turning the spin speed selector.
- The position 1300 rpm for Cotton is equivalent to 900 rpm for the Synthetic and Wool programmes and 700 rpm for the Delicate wash programme.
Rinse Hold Rinse Hold
By selecting this option the water of the last rinse is not emptied out to prevent the fabrics from creasing. When the programme has finished, the lights D and E are lit to indicate that the water must be emptied out (See: 'At the end of the programme').
No Spin 0
By selecting this option all the spinning phases are excluded. To be used for extremely delicate material. The machine will add some additional rinses to the cotton and synthetic programmes. For the maximum spin speed allowed by each programme, refer to the chapter 'Programme Chart'.
SELECT THE FLEXITIME OPTIONS
Before you start the programme you can decrease the programme duration. Use this option for items with daily soil. The related indicator comes on.
By selecting Super Quick the washing time will be reduced approx. 30 minutes for cotton and by 20 minutes for synthetic. The machine will perform 1 rinse less.
By selecting Quick the washing time will be reduced approx. 10 minutes. This option is recommended for lightly soiled white-/coloured and synthetic laundry.
- You must select this option after you have set the programme and before you press button Start/Pause.
- You can cancel or modify the Quick or Super Quick at any moment, before you press button Start/Pause.
SELECT THE DELAY START
Before you start the programme, if you wish to delay the start, press the button Delay Start repeatedly, to select the desired delay. The light corresponding to the set delay lights up.
![Zanussi - ZWC1301 - SELECT THE DELAY START SELECT THE DELAY START]()
You must select this option after you have set the programme and before you press button Start/Pause.
You can cancel or modify the delay time at any moment, before you press button Start/Pause.
Cancelling the delayed start after having pressed button Start/Pause:
- Set the washing machine to PAUSE by pressing button Start/Pause.
- Press the button Delay Start once, the light relevant to the selected delay goes off.
- Press button Start/Pause again to start the programme.
The selected delay can be changed only after selecting the washing programme again.
The door will be locked throughout the delay time (door locked light lit).
The Delay Start can not be selected with Drain or Spin programme.
SELECT THE DESIRED OPTIONS
Depending on the programme, different functions can be combined. These must be selected after choosing the desired programme and before pressing the button Start/Pause. The relevant light will illuminate.
![Zanussi - ZWC1301 - SELECT THE DESIRED OPTIONS SELECT THE DESIRED OPTIONS]()
If an incorrect option is selected, the corresponding indicator lamp flashes for about 2 seconds. For the compatibility of the options with the washing programmes, refer to the chapter 'Programme Chart'.
STARTING THE PROGRAMME
To start the selected programme, press the button Start/Pause; the corresponding pilot light stops flashing and remains on. On programme progress display the pilot lights illuminate to indicate that the appliance starts operating and the door is locked.
ALTERING AN OPTION OR A RUNNING PROGRAMME
It is possible to change any option before the programme carries it out.
Before you make any change, you must pause the washing machine by pressing the button Start/ Pause.
The programme can be changed as long as the button Start/Pause has not been pressed. Changing a running programme is possible only by resetting it. Turn the programme selector dial to
and then to the new programme position. Start the new programme by pressing the button Start/ Pause again.
INTERRUPTING A PROGRAMME
Press the button Start/Pause to interrupt a programme which is running, the corresponding light starts to flash. Press the button again to restart the programme.
CANCELLING A PROGRAMME
Turn the selector dial to
position to cancel a programme which is running. Now you can select a new programme.
OPENING THE DOOR AFTER THE PROGRAMME HAS STARTED
First set the machine to pause by pressing the button Start/Pause.
After some minutes, the door can be opened, when the following conditions are observed:
- The water temperature is below 55°C.
- The water level is below the bottom edge of the door.
- The machine doesn't spin.
If you cannot open the door but it is absolutely necessary to open it you have to switch the machine off by turning the selector dial to
. After few minutes the door can be opened (pay attention to the water level and temperature!).
After this procedure, it will be necessary to set the programme and the options again and then press the button Start/Pause.
AT THE END OF THE PROGRAMME
The machine stops automatically.
The pilot light D illuminates to indicate that the programme has finished. The pilot light E goes out, the door can be opened and the laundry can be removed.
If at the end of a programme there is water in the tub (when Rinse Hold option has been selected), to empty out the water follow the following instructions:
- turn the programme selector dial to
![]()
- select the Drain or Spin programme
- press button Start/Pause
When the pilot light E goes out, the door can be opened and the laundry can be removed.
At the end of the cycle, turn the programme selector dial to
to switch the machine off.
Remove the laundry from the drum and carefully check that the drum is empty. If you do not intend to carry out another wash, close the water tap.
Leave the door open to prevent the formation of mildew and unpleasant smells.
HINTS AND TIPS
THE LAUNDRY LOAD
- Divide the laundry in: white, coloured, synthetics, delicates and wool.
- Obey the washing instructions that are on the laundry care labels.
- Do not wash white and coloured items together.
- Some coloured items can discolour with the first wash. We recommend that you wash them separately for the first times.
- Turn multilayered fabrics, wool and items with painted illustrations inside out.
- Wash and pre-treat heavy soil stains with a suitable detergent before putting in drum.
- Be careful with the curtains. Remove the hooks and put the curtains in a washing bag or pillowcase.
- Do not wash laundry without hems or with cuts. Use a washing bag to wash small and/or delicate items (e.g. underwired bras, belts, tights, shoelaces, ribbons, etc.).
![Zanussi - ZWC1301 - THE LAUNDRY LOAD - Step 1 THE LAUNDRY LOAD - Step 1]()
- A very small load can cause balance problems with the spin phase leading to excessive vibration. If this occurs:
- interrupt the programme and open the door (refer to "Daily Use" chapter);
- manually redistribute the load so that the items are spaced evenly around the tub;
- press the button. The spin phase continues.
- Avoid washing garments full of long animal hair or poor quality garments releasing lots of fluff that could block the drain circuit and therefore requiring the Service assistance.
- Button up pillowcases, close zippers, hooks and poppers. Tie up belts, cords, shoelaces, ribbons and any other loose elements.
- Empty the pockets and unfold the items.
![Zanussi - ZWC1301 - THE LAUNDRY LOAD - Step 2 THE LAUNDRY LOAD - Step 2]()
STUBBORN STAINS
For some stains, water and detergent is not sufficient.
We recommend that you pre-treat these stains before you put the items in the appliance.
Special stain removers are available. Use the special stain remover that is applicable to the type of stain and fabric.
DETERGENT TYPE AND QUANTITY
The choice of detergent and use of correct quantities not only affects your wash performance, but also helps to avoid waste and protect the environment:
- Use only detergents and other treatments specially made for washing machines. First, follow these generic rules:
- powder detergents for all types of fabric, excluding delicate. Prefer powder detergents containing bleach for whites and laundry sanitization,
- liquid detergents, preferably for low temperature wash programmes (60°C max) for all types of fabric, or special ones for woollens only.
- The choice and quantity of detergent will depend on: type of fabric (delicates, woollens, cottons, etc), the colour of clothes, size of the load, degree of soiling, wash temperature and hardness of the water used.
- Follow the instructions that you find on packaging of the detergents or other treatments without exceeding the indicated maximum level (
). - Do not mix different types of detergents.
- Use less detergent if:
- you are washing a small load,
- the laundry is lightly soiled,
- there is large amounts of foam during washing.
- When using detergent tabs or pods, always put them inside the drum, not in the detergent dispenser.
Insufficient detergent may cause:
- unsatisfactory washing results,
- the wash load to turn grey,
- greasy clothes,
- mould in the appliance.
Excessive detergent may cause:
- sudsing,
- reduced washing effect,
- inadequate rinsing,
- a greater impact for the environment.
ECOLOGICAL HINTS
To save water, energy and to help protect the environment, we recommend that you follow these tips:
- Normally soiled laundry may be washed without prewash in order to save detergent, water and time (the environment is protected too!).
- Loading the appliance to the maximum capacity indicated for each programmes helps to reduce energy and water consumption.
- With adequate pre-treatment, stains and limited soiling can be removed; the laundry can then be washed at a lower temperature.
- To use the correct quantity of detergent, refer to the quantity suggested by the detergent producer and check the water hardness of your domestic system. Refer to "Water hardness".
- Set the maximum possible spin speed for the selected washing programme before drying your laundry in a tumble dryer. This will save energy during drying!
WATER HARDNESS
If the water hardness in your area is high or moderate, we recommend that you use a water softener for washing machines. In areas where the water hardness is soft it is not necessary to use a water softener.
To know the water hardness in your area, contact your local water authority.
Use the correct quantity of the water softener.
Obey the instructions that you find on the packaging of the product.
CARE AND CLEANING
![]()
Refer to Safety chapters.
PERIODIC CLEANING SCHEDULE
Periodic cleaning helps to extend the life of your appliance.
After each cycle, keep the door and the detergent dispenser slightly ajar to get air circulation and dry the humidity inside the appliance: this will prevent mildew and odours.
If the appliance is not used for a long time: close the water tap and unplug the appliance.
Indicative periodic cleaning schedule:
| Descaling | Twice a year |
| Maintenance wash | Once a month |
| Clean door seal | Every two months |
| Clean drum | Every two months |
| Clean detergent dispenser | Every two months |
| Clean the inlet hose and the valve filter | Twice a year |
The following paragraphs explain how you should clean each part.
REMOVING FOREIGN OBJECTS
Make sure that pockets are empty and all loose elements are tied up before running your cycle. Refer to 'The laundry load' in 'Hints and tips'.
Remove any foreign objects (such as metal clip, buttons, coins, etc) that you may find in the door seal, the inlet hose filter and the drum. Refer to 'Door seal with double lip trap', 'Cleaning the drum' and 'Cleaning the inlet hose and the valve filter' paragraphs. If necessary, please contact the Authorised Service Centre.
EXTERNAL CLEANING
Clean the appliance with soap and warm water only. Fully dry all the surfaces. Do not use a scouring pads or any scratching material.
![]()
Do not use alcohol, solvents or chemical products.
![]()
Do not use the metal surfaces with chlorine-based detergent.
DESCALING
If the water hardness in your area is high or moderate, we recommend that you use a water descaling product for washing machines.
Regularly examine the drum to prevent limescale and rust particles.
To remove rust particles use only special products for washing machines. Do this separately from the laundry wash.
Always obey the instructions that you find on the packaging of the product.
MAINTENANCE WASH
With the low temperature programmes it is possible that some detergent stays in the drum. Perform a maintenance wash regularly. To do this:
- Remove all laundry from the drum.
- Select the cotton programme with the highest temperature with a small quantity of detergent.
DOOR SEAL
Regularly examine the seal and remove all objects from the inner part.
![Zanussi - ZWC1301 - DOOR SEAL DOOR SEAL]()
CLEANING THE DISPENSER DRAWER
The washing powder and additive dispenser drawer should be cleaned regularly.
- If necessary, the whole detergent drawer can be taken out of the machine for cleaning. You need to pull it firmly outwards, so that it comes free of retaining stop.
![Zanussi - ZWC1301 - CLEANING THE DISPENSER DRAWER - Step 1 CLEANING THE DISPENSER DRAWER - Step 1]()
- To remove the siphon at the inside edge of the drawer for cleaning, you need to press it inwards and pull it upwards at the same time. Flush it out under a tap, to remove any traces of accumulated powder. When you put it back, press it downwards until you hear a distinct click.
![Zanussi - ZWC1301 - CLEANING THE DISPENSER DRAWER - Step 2 CLEANING THE DISPENSER DRAWER - Step 2]()
CLEANING THE DRAWER RECESS
Having removed the drawer, use a small brush to clean the recess, ensuring that all washing powder residue is removed from the upper and lower part of the recess.
![Zanussi - ZWC1301 - CLEANING THE DRAWER RECESS CLEANING THE DRAWER RECESS]()
Replace the drawer and run the rinse programme without any clothes in the drum.
CLEANING THE INLET HOSE AND THE VALVE FILTER
![Zanussi - ZWC1301 - CLEANING THE INLET HOSE AND THE VALVE FILTER CLEANING THE INLET HOSE AND THE VALVE FILTER]()
THE DANGERS OF FREEZING
If the machine is exposed to temperatures below 0°C, certain precautions should be taken.
- Turn off the water supply.
- Unscrew the inlet hose from the supply tap.
- Select a wash programme, start the machine and let the programme run for a short time.
- Interrupt the programme by turning the programme selector to
position. - Place the end of inlet and drain hoses down low, into the waste gully (floor drain) set into the floor. Make sure that the end of the hose does not go below the water level in the gully's (drain's) water tap.
- Select the programme "Drain" and let it run until it is finished.
- Turn the programme selector to
position. When you intend to start the machine up again, make sure that the room temperature is above 0°C.
The appliance is only to be used and stored indoors at normal room temperature. The manufacturer is not responsible for any frost damage.
TROUBLESHOOTING
![]()
Refer to Safety chapters.
INTRODUCTION
Certain problems are due to lack of simple maintenance or oversights, which can be solved easily without calling out an engineer. Before contacting your Authorised Service Centre, please carry out the checks listed below.
During machine operation it is possible that the pilot light blinks to indicate that the machine is not working:
- 1 flash: problem with the water supply.
- 2 flashes: problem with the water draining.
- 4 flashes: door open.
Once the problem has been eliminated, press the button Start/Pause to restart the programme. If after all checks, the problem persists, contact your Authorised Service Centre.
POSSIBLE FAILURES
| Problem | Possible cause/Solution |
| The programme does not start. | - Make sure that the mains plug is connected to the mains socket.
- Make sure that the appliance door is closed.
- Make sure that there is no damaged fuse in the fuse box.
- Make sure that the Start/Pause has been touched.
- Check the position of the knob on the selected programme.
- If the delay start is set (if available), cancel the setting or wait for the end of countdown.
|
| The appliance does not fill with water: | - Make sure that the water tap is open.
- Make sure that the pressure of the water supply is not too low. For this information, contact your local water authority.
- Make sure that the inlet hose has no kinks, damages or bends.
- Make sure that the connection of the water inlet hose is correct.
- Make sure that the filter of the inlet hose and the filter of the valve are not clogged. Refer to 'Care and cleaning'.
- This problem may be also caused by the clogged drain circuit. Please contact the Authorised Service Centre.
|
| The appliance fills with water then drains immediately: | - Make sure that the drain hose is in the correct position. The hose may be positioned too low. Refer to 'Installation' chapter.
|
| The appliance does not drain and/or does not spin: | - Make sure that the inlet hose has no kinks, damages or bends.
- An option or a programme that ends with the water still in the tub or eliminates all the spinning phases has been selected. Select the draining or spinning programme.
- Make sure that the laundry is evenly distributed in the drum.
|
| There is water on the floor: | - Make sure that the couplings of the water hoses are tight and there is not water leakages.
- Make sure that the water inlet hose and the drain hose have no damages.
- Make sure you use the correct detergent and the correct quantity of it.
|
| Unsatisfactory washing results: | - Increase the detergent quantity or use a different detergent.
- Use special products to remove the stubborn stains before you wash the laundry.
- Make sure that you set the correct temperature.
- Decrease the laundry load.
|
| You cannot open the appliance door. | - Make sure that a washing programme that ends with water in tub, has not been selected.
- Set the drain or the spin programme if there is water in the drum.
- Make sure that the washing programme is finished.
- Wait until the indicator light for door locked has gone out.
- Make sure that the appliance receives electrical power.
|
| The appliance vibrates/is noisy: | - Make sure that transit bolts have been removed.
- Make sure that appliance is levelled correctly.
- Make sure that laundry is evenly distributed.
|
| Spinning starts late or appliance does not spin: | - Add more items, redistribute the load manually and then select the spinning programme.
|
| No water is visible in the drum: | - Appliances based on modern technology operate very economically using very little water without affecting performance.
|
After the check, activate the appliance. The programme continues from the point of interruption.
If the problem occurs again, contact the Authorised Service Centre.
The necessary data for the service centre is on the rating plate.
CONSUMPTION VALUES
INTRODUCTION
See the web link www.theenergylabel.eu for detailed information about Energy Label.
The QR code on the energy label supplied with the appliance provides a web link to the information related to the performance of the appliance in the EU EPREL database. Keep the energy label for reference together with the user manual and all other documents provided with this appliance.
It is also possible to find the same information in EPREL using the link https://eprel.ec.europa.eu and the model name and product number that you find on the rating plate of the appliance. Refer to 'Product description' chapter for the position of the rating plate.
LEGEND
| kg | Laundry load. |
| kWh | Energy consumption. |
| Litres | Water consumption. |
| h: mm | Programme duration. |
| °C | Temperature in the laundry. |
| rpm | Spin speed. |
| % | Remaining moisture at the end of spinning phase. The higher is the spin speed, the higher is the noise and the lower is the remaining moisture. |
Values and programme duration may differ depending on different conditions (e.g. room temperature, water temperature and pressure, load size and type of laundry, supply voltage) and also if you change the default setting of a programme. |
ACCORDING TO COMMISSION REGULATION EU 2019/2023
| Eco 40-60 programme | kg | kWh | Litres | h: mm | % | °C | rpm1) |
| Full load | 3 | 0.634 | 36 | 2:40 | 62 | 48 | 1251 |
| Half load 2) | - | - | - | - | - | - | - |
| Quarter load 2) | - | - | - | - | - | - | - |
- Maximum spin speed.
- Half load and quarter load are not declared and tested when the appliance has rated capacity lower or equal than 3kg.
Power consumption in different modes
| Off (W) | Stand-by (W) | Delay start (W) |
| 0.10 | 0.98 | 4.00 |
| Time to Off/Standby mode is 15 minutes maximum. |
COMMON PROGRAMMES
These values are indicative only. |
| Programme | kg | kWh | Litres | h: mm | % | °C | rpm1) |
Cottons2) 90°C | 3 | 1.30 | 50 | 2:20 | 53 | 85 | 1300 |
Cottons 60°C | 3 | 0.89 | 45 | 2:05 | 53 | 55 | 1300 |
Mix3) 20°C | 1,5 | 0.11 | 50 | 1:10 | 50 | 20 | 900 |
Synthetics 40°C | 1,5 | 0.51 | 55 | 1:25 | 35 | 40 | 900 |
Delicates4) 30°C | 1,5 | 0.33 | 60 | 1:05 | 35 | 30 | 700 |
Wool 30°C | 1 | 0.33 | 65 | 1:00 | 30 | 30 | 900 |
- Reference indicator of the spin speed.
- Suitable for washing heavily soiled textiles.
- Suitable for washing lightly soiled cottons.
- It also performs as quick washing cycle for lightly soiled laundry.
Before the installation and use of the appliance, carefully read the supplied instructions. The manufacturer is not responsible for any injuries or damage that are the result of incorrect installation or usage. Always keep the instructions in a safe and accessible location for future reference.
CHILDREN AND VULNERABLE PEOPLE SAFETY
- This appliance can be used by children aged from 8 years and above and persons with reduced physical, sensory or mental capabilities or lack of experience and knowledge if they have been given supervision or instruction concerning the use of the appliance in a safe way and understand the hazards involved.
- Children between 3 and 8 years of age and persons with very extensive and complex disabilities shall be kept away from the appliance unless continuously supervised.
- Children of less than 3 years of age should be kept away from the appliance unless continuously supervised.
- Do not let children play with the appliance.
- Keep all packaging away from children and dispose of it appropriately.
- Keep detergents away from children.
- Keep children and pets away from the appliance when the door is open.
- Children shall not carry out cleaning and user maintenance of the appliance without supervision.
GENERAL SAFETY
- Do not change the specification of this appliance.
- This appliance is intended to be used in household and similar applications such as:
- staff kitchen areas in shops, offices and other working environments;
- by clients in hotels, motels, bed & breakfast and other residential type environments;
- areas for communal use in blocks of flats or in launderettes.
- The appliance maximum load is 3 kg. Do not exceed the maximum load of each programme (refer to the "Programmes" chapter).
- The operating water pressure at the water entry point from the outlet connection must be between 0.5 bar (0.05MPa) and 8 bar (0.8 MPa).
- The ventilation opening in the base must not be covered by a carpet, mat, or any floor covering.
- The appliance must be connected to the water mains using the new supplied hose sets, or other new hose sets supplied by the Authorised Service Centre.
- Old hose sets must not be reused.
- If the mains power supply cable is damaged, it must be replaced by the manufacturer, its Authorised Service Centre or similarly qualified persons to avoid an electrical hazard.
- Before any maintenance operation, deactivate the appliance and disconnect the mains plug from the socket.
- Do not use high pressure water sprays and/or steam to clean the appliance.
- Clean the appliance with a moist cloth. Use only neutral detergents. Do not use abrasive products, abrasive cleaning pads, solvents or metal objects.
SAFETY INSTRUCTIONS
INSTALLATION
The installation must comply with relevant national regulations.
- Remove all the packaging and the transit bolts including rubber bush with plastic spacer.
- Keep the transit bolts in a safe place. If the appliance is to be moved in the future they must be reattached to lock the drum to prevent an internal damage.
- Always take care when moving the appliance as it is heavy. Always use safety gloves and enclosed footwear.
- Follow the installation instructions supplied with the appliance.
- Do not install or use a damaged appliance.
- Do not install or use the appliance where the temperature can be less than 0°C or where it is exposed to the weather.
- The floor area on which the appliance is to be installed must be flat, stable, heat resistant and clean.
- Make sure that there is air circulation between the appliance and the floor.
- When the appliance is in its permanent position, check if it is levelled correctly with the aid of a spirit level. If it is not, adjust the feet accordingly.
- Do not install the appliance directly above a floor drain.
- Do not spray water on the appliance and do not expose it to excessive humidity.
- Do not install the appliance where the appliance door cannot be fully opened.
- Do not put a closed container to collect possible water leakage under the appliance. Contact the Authorised Service Centre to ensure which accessories can be used.
ELECTRICAL CONNECTION
![]()
Risk of fire and electric shock.
- The appliance must be earthed.
- Always use a correctly installed shockproof socket.
- Make sure that the parameters on the rating plate are compatible with the electrical ratings of the mains power supply.
- Do not use multi-plug adapters and extension cables.
- Make sure not to cause damage to the mains plug and to the mains cable. Should the mains cable need to be replaced, this must be carried out by our Authorised Service Centre.
- Connect the mains plug to the mains socket only at the end of the installation. Make sure that there is access to the mains plug after the installation.
- Do not touch the mains cable or the mains plug with wet hands.
- Do not pull the mains cable to disconnect the appliance. Always pull the mains plug.
- This appliance is fitted with a 13 A mains plug. If it is necessary to change the mains plug fuse, use only a 13 A ASTA (BS 1362) fuse (UK and Ireland only).
WATER CONNECTION
- Do not cause damage to the water hoses.
- Before connection to new pipes, pipes not used for a long time, where repair work has been carried out or new devices fitted (water meters, etc.), let the water flow until it is clean and clear.
- Ensure that there are no visible water leaks during and after the first use of the appliance.
- Do not use an extension hose if the inlet hose is too short. Contact the Authorised Service Centre for the replacement of the inlet hose.
- When unpacking the appliance, It is possible to see water flowing from the drain hose. This is due to the testing of the appliance with the use of water in the factory.
- You can extend the drain hose to maximum 400 cm. Contact the Authorised Service Centre for the other drain hose and the extension.
- Make sure that there is access to the tap after the installation.
USE
![]()
Risk of injury, electric shock, fire, burns or damage to the appliance.
- Follow the safety instructions on the detergent packaging.
- Do not put flammable products or items that are wet with flammable products in, near or on the appliance.
- Do not wash fabrics which are heavily soiled with oil, grease or other greasy substances. It can damage rubber parts of the washing machine. Prewash such fabrics by hand before loading them into the washing machine.
- Do not touch the glass door while a programme operates. The glass can get hot.
- Make sure that all metal objects are removed from the laundry.
INTERNAL LIGHTING
![]()
Risk of injury.
- Concerning the lamp(s) inside this product and spare part lamps sold separately: These lamps are intended to withstand extreme physical conditions in household appliances, such as temperature, vibration, humidity, or are intended to signal information about the operational status of the appliance. They are not intended to be used in other applications and are not suitable for household room illumination.
- To replace the internal lighting, contact the Authorised Service Centre.
SERVICE
- To repair the appliance contact the Authorised Service Centre. Use original spare parts only.
- Please note that self-repair or non-professional repair can have safety consequences and might void the guarantee.
- The following spare parts will be available for 10 years after the model has been discontinued: motor and motor brushes, transmission between motor and drum, pumps, shock absorbers and springs, washing drum, drum spider and related ball bearings, heaters and heating elements, including heat pumps, piping and related equipment including hoses, valves, filters and aquastops, printed circuit boards, electronic displays, pressure switches, thermostats and sensors, software and firmware including reset software, door, door hinge and seals, other seals, door locking assembly, plastic peripherals such as detergent dispensers. Please note that some of these spare parts are only available to professional repairers, and that not all spare parts are relevant for all models.
![]()
Documents / Resources
References
Download manual
Here you can download full pdf version of manual, it may contain additional safety instructions, warranty information, FCC rules, etc.
Download Zanussi ZWC1301 - Compact Washing Machine Manual
Need help?
Do you have a question about the ZWC1301 and is the answer not in the manual?
Questions and answers