Advertisement

Doors
Leveling
Electrical Power
Water Supply
Final Checks
Features may vary according to model

*Do not place items in front of the Multi-Port Air Exhaust Ducts or the Temperature Sensor as this will impact temperature performance.

Cleaning your Appliance
Remove tape and glue residue from surfaces before turning on the appliance. Rub a small amount of liquid dish soap over any remaining adhesive with your fingers. Rinse with warm water and dry with a soft cloth.
Do not use sharp instruments, rubbing alcohol, flammable fluids, or abrasive cleaners to remove tape or glue. These products can damage the surface of your appliance.
After you remove all of the package materials, clean the inside of your appliance before using it. See the CARE AND CLEANING section in this manual.
See important information about cleaning glass shelves and covers in the STORAGE FEATURES section of this manual.
Moving your Appliance
Your appliance is heavy. When moving the appliance for cleaning or service, raise the anti-tip bracket (see Setting the anti-tip bracket). Be sure to cover the floor with cardboard or hardboard to avoid floor damage. Always pull the appliance straight out when moving it. Do not wiggle or "walk" the appliance when trying to move it as floor damage could occur.
Accessories are available for your appliance and may be purchased at Frigidaire.com or by calling 1-800-374-4432 (Frigidaire.ca or 1-800-265-8352 in Canada) or from an authorized seller.
This Use & Care Manual provides general operating instructions for your model. Use the appliance only as instructed in this Use & Care Manual. Before starting the appliance, follow these important first steps.
This appliance is intended for use in residential household and similar interior applications such as:
DO NOT install the appliance where the temperature will drop below 55°F (13°C) or rise above 110°F (43°C). The compressor will not be able to maintain proper temperatures inside the unit.
Do not block the lower front of your appliance. Sufficient air circulation is essential to operate your appliance properly.
Installation clearances
Allow the following clearances for ease of installation, proper air circulation, and plumbing and electrical connections:

NOTE: If you place your appliance with the door hinge side against a wall, you may have to allow additional space for the handle so you can open the door wider.

This unit does not have rollers. Use an appliance slider or protective floor covering while moving the unit into place. Do not slide the unit with leveling legs fully extended.
Rest all bottom feet firmly on a solid floor.
It is VERY IMPORTANT for your unit to be level in order to function properly. If you do not level the appliance during installation, the door may be misaligned and not close or seal properly, causing cooling, frost or moisture problems.
The cabinet is heavy. We recommend two people to level the cabinet.
Insert the appliance slider under the unit. Place the unit into its location. Use the carpenter's level to make sure the unit is level from front to back and side to side. First adjust the front leveling legs, and then the rear if necessary. If you cannot access the rear leveling legs, slide the unit back out and adjust it. Slide the unit back into place and recheck with the level.
Repeat if necessary.

Units are equipped with an anti-tip bracket. The anti-tip bracket is located on the lower front corner of the cabinet, on the lower hinge bracket. After fully leveling the unit, lower the anti-tip foot by turning it clockwise until is securely contacts the floor. Do not raise the cabinet.

Anti-tip Bracket

Install the anti-tip device according to the instructions in your Use & Care Manual. Failure to do so may result in injury.
To level the doors using the adjustable lower hinge (some models): If the refrigerator door is lower than the freezer door, raise the refrigerator door by turning the adjustment screw counterclockwise using a 19 mm socket wrench. (See illustration below.)
If the freezer door is lower than the refrigerator door, raise the freezer door by turning the adjustment screw counterclockwise using a 19 mm socket wrench. (See illustration below.)

Pairing kit (TWINSPAIRKIT) is REQUIRED if you are installing the following appliances next to each other:
Order the kit on Frigidaire.com or by calling 1-800-374-4432 (Frigidaire.ca or 1-800-265-8352 in Canada).

NOTE: You need to also transfer the hinges and associated hardware in order to the switch doors.
Doors are heavy. Two people are recommended to remove or replace the door assembly from the cabinet.

Before you begin, remove the electrical power cord from the wall outlet. Remove any food from door bins.
Doors are heavy. Two people are recommended to remove or replace the door assembly from the cabinet.
Close the door prior to removing or installing.
If you need to remove the door to transport your unit, you must have a consistent 9 mm door gap around the perimeter of the cabinet to ensure proper gasket sealing to prevent frost in freezer. Measure the 9 mm gap from the metal of the cabinet to the metal on the door.

Wear gloves and use extreme CAUTION when installing these handles. The rounded end of the handles may be sharp.

NOTE: Tighten and sub flush all set screws (Allen set screw should be seated just below the surface of the end cap) of the handle end cap. Tightly draw the end caps to the door with no gaps.
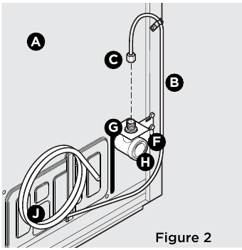
To avoid electric shock, which can cause death or severe personal injury, disconnect the unit from electrical power source before connecting a water supply line to the appliance.
To Avoid Property Damage:
NOTE: Ensure your water supply line connections comply with all local plumbing codes.
NOTE: Check with your local building authority for recommendations on water lines and associated materials prior to installing your new refrigerator. Depending on your local/state building codes, we recommend for homes with existing valves its Smart Choice® water line kit 5305513409 (with a 6' Stainless Steel Water Line) and for homes without an existing valve, we recommend Smart Choice® water line kit 5305510264 (with a 20' copper water line with self-tapping saddle valve). Please refer to Frigidaire.com for more information.
To ensure safe food storage, allow the appliance to operate with the door closed for at least 8 hours before loading it with food.
Upon opening the door, the settings icon illuminates on the appliance control display.

By pressing the settings icon, you illuminate all of the icons on the appliance control. After 10 seconds of no user interaction with the icons or door closure, all the icons fade, except for the settings icon.
The appliance control display is located in the cabinet below the upper drawer.

* Features may vary by model.
| 1 | DOOR OPEN | This alert indicates the door has been open for 5 minutes or more. The DOOR OPEN LED illuminates and the audible alert sounds until the door is closed. You can turn off the audible alert by pressing DOOR OPEN or by closing the door. If the door is ajar for 5 minutes, the interior light turns off. |
| 2 | POWER OUTAGE | The POWER OUTAGE indicator light informs you of a power interruption. Reset the alarm by pressing POWER OUTAGE. |
| 3 | HIGH TEMP | If the temperature increases above a safe temperature range, the red HIGH TEMP LED light illuminates and the alarm sounds. Reset the alarm by pressing HIGH TEMP. |
| 4 | ![]() | You can use the lock button to lock the control display. Press and hold for 3 seconds to enable. While in the locked state, you cannot make changes until unlocked.Press and hold for 3 seconds to disable. |
| 5 | ![]() | The settings icon illuminates upon opening the appliance door. Press the settings icon to reveal other function icons. After 10 seconds of non use of icons or door closure, all icons fade except the settings icon. |
| 6 | Adjusting Temp | To adjust the temperature setting, press + to raise the temperature and - to lower the temperature on the appliance control display. Allow several hours for the temperature to stabilize between adjustments. |
| 7 | TEMP °F/°C | Short press to toggle between Fahrenheit (°F) and Celsius (°C). |
| 8 | CHILL BOOST | Turning on CHILL BOOST cools the appliance down to a target temperature and remains active for up to 24 hours before automatically deactivating or being manually exited. To turn the function on/off, press CHILL BOOST. When you turn off CHILL BOOST, it automatically resets the refrigerator back to the previous temperature setting. |
| 9 | AIR FILTERS | The AIR FILTERS replacement alert illuminates when it is time to replace the air filters. See the FILTER REPLACEMENT section for instructions on how to replace the air filters. After changing the air filters, reset the AIR FILTERS alert by pressing and holding AIR FILTERS. |
| 10 | WATER FILTER | The WATER FILTER replacement alert illuminates when it is time to replace the water filter. See the FILTER REPLACEMENT section for instructions on how to replace the water filter. After changing the water filter, reset the WATER FILTER alert by pressing and holding WATER FILTER. After replacing the water filter, see the AUTOMATIC WATER DISPENSER section for instructions on how to prime the water system. |
| 11 | WATER DISP | The illuminated WATER DISP LED means the internal water dispenser is ON. Open the internal water dispenser by pushing the push-push nozzle. Press the water dispenser paddle inside the cabinet to dispense water. Turn the dispenser off by pressing and holding WATER DISP for 3 seconds. When the water dispenser is off, you cannot dispense water. You will hear a beep if you try to press the paddle without turning on WATER DISP. Press and hold WATER DISP to turn it on. |
The Sabbath Mode feature disables portions of the appliance and its controls in accordance with observance of the weekly Sabbath and religious holidays within the Orthodox Jewish community.
Simultaneously press and hold — and TEMP F/C for 5 seconds.

Sb appears on the appliance control display indicating the unit is in Sabbath mode.


For further assistance, guidelines of proper usage and a complete list of models with the Sabbath feature, please visit the web at star-k.org.
The unit stays in Sabbath mode after a power failure recovery. You must deactivate it with the buttons on the appliance control display.
NOTE
While in the Sabbath Mode, neither the lights nor the appliance control display will work (except to exit Sabbath Mode) until you deactivate Sabbath Mode.
The appliance stays in Sabbath Mode after power failure recovery. You must deactivate it with the buttons on the appliance control display.
Simultaneously press and hold — and TEMP F/C for 5 seconds.

The appliance control display shows all of the icons depending on your model.

In the Sabbath mode, the HIGH TEMP alarm is active for health reasons. For example, if you leave the door ajar, the HIGH TEMP alarm is activated. The refrigerator functions normally once you close the door, without any violation of the Sabbath/holidays. The HIGH TEMP alarm comes on when the cabinet temperature is outside the safe zone for 20 minutes. The alarm silences itself after 10 minutes while the HIGH TEMP icon stays lit until you exit the Sabbath mode.
All buttons are disabled, and all sounds (except the HIGH TEMP alert*) are muted.
Only the HIGH TEMP alert illuminates until you deactivate the Sabbath Mode.

Your refrigerator might be equipped with an internal water dispenser mounted inside the cabinet, along the left-hand cabinet wall (varies by model).
Before using the water dispenser for the first time or after changing the water filter, you must prime your water supply system.
For proper dispenser operation, the recommended water supply pressure should fall between 30 psi and 100 psi. Excessive pressure may cause the system to malfunction.
Using the dispenser after installation:
If you do not flush the system, the first glass of water may have discolored water or have an odd flavor.
If the water dispenser function becomes disabled, enable the water dispenser by pressing and holding WATER DISP on the appliance control display. When you turn on the water dispenser, the LEDs above WATER DISP illuminate.
NOTE: If you prefer to keep the internal water dispenser disabled, use the appliance control display to disable it. The LEDs will not illuminate above WATER DISP.

The water nozzle inside the cabinet allows the water nozzle (A) to be recessed against cabinet when not in use and to be extended outward when in use. To use the water dispenser, push the water nozzle (A) so it is fully extended. Place a cup against the paddle (B) and press to dispense water.
NOTE:
Optional: Lock the water dispenser back in place by pushing the water nozzle back in when you have finished dispensing water.

You can move multi-position adjustable glass shelves to any position for larger or smaller packages. You may also remove and discard the shipping spacers stabilizing the shelves for shipping.
Carefully handle the shelves when removing and installing them to prevent making contact with the cabinet liners and the stainless steel rear air tower.
Do not block the air-flow vents located on the back wall of the air tower with the shelves.
The slide-out shelf can hold many different containers and food types for your convenience.

We recommend opening and closing the slide-out shelf by grabbing the shelf with a single hand in the middle of the shelf handle.
To remove the slide-out shelf:
The CrispSeal Crisper with Auto Humidity keeps produce fresher longer, so you waste less food and save money. It blocks dry air by maintaining the perfect amount of moisture while removing excess moisture. The crisper contains the PureAir Produce Keeper to ensure your produce stays fresher longer. For more information about your PureAir Produce Keeper, see FILTER REPLACEMENT.

We recommend opening and closing the drawer by grabbing the center of the crisper handle.
To remove the Crisper:
The lower drawer with dividers works great for food needing to be separated.
Use the drawer with the dividers or without by removing or adding the inserts.

We recommend opening and closing the lower drawer by grabbing the center of the handle.
To remove the lower drawer:
The adjustable door bins are specially designed to hold large containers or storage bags. You can use each bin type only in the zone indicated below so the door can close correctly. Your unit has two 2-Liter Door Bins (A), a Gallon Door Bin (B), and two Tall Item Door Bins (C).

To remove a door bin:
To install a door bin:
Use the bins with or without the dividers. Customize your unit to fit different sized items as your needs change with door bin dividers.
To remove, grasp the divider and pull it upward until it disengages with the door bin.

To install, slide the divider downward into the corresponding door bin alignment features until it is fully placed.
Keep safe, great-tasting water flowing with a PurePour water filter. Using a PurePour water filter:
Ordering your replacement water filter
If you have not used your refrigerator for a period of time (during moving for example), change the filter before reinstalling the refrigerator. Order replacement filters online at Frigidaire.com, by calling 1 (800) 374-4432 or through the dealer from which the refrigerator was purchased. We recommend replacing filters at least once every 6 months.
Here are the product numbers to request when ordering:
PurePour™ Water & Ice Refrigerator
Filter PWF-1™ FPPWFUO1
NOTE: When you order your replacement filter, please reorder the same filter type currently in your refrigerator.
*Find the Performance Data Sheet located in the Guides and Manuals section for your specific water filter on Frigidaire.com.

Certified by IAPMO R&T against NSF/ANSI Standards 42, 53, 401, CSA B483.1 and NSF/ANSI/CAN 372 in PurePour PWF-1 systems for reduction of the claims on the Performance Data Sheet*.
Do not use with water that is microbiologically unsafe or of unknown quality without adequate disinfection before or after the system. Use systems certified for cyst reduction on disinfected waters that may contain filterable cysts.
The water filter is located at the middle left side of the refrigerator compartment. In general, you should change the water filter every 6 months to ensure the highest possible water quality. Water Filter Status on the appliance control display prompts you to replace the filter after a standard amount of water (125 gal/453 L for PurePour) has flowed through the system.

It is not necessary to turn the water supply off to change the filter. Be ready to wipe up any small amounts of water released during the filter replacement.
With more power to clear the air, Frigidaire air filters banish pungent smells and work better than baking soda. PureAir Ultra II Air Filters:
Your appliance control display is equipped with a REPLACE AIR FILTER indicator to remind you to change your filter every 6 months to ensure optimal filtering of appliance odors. Your PureAir Ultra II Air Filter is included in your
Literature Pack. To order replacement filters, please visit our online store at Frigidaire.com, by calling toll-free at 1 (800) 372-4432, or by visiting the dealer where you purchased your unit.
Here are the product numbers to request when ordering:
PureAir Ultra II™ Air Filter PAULTRA2

Your air filter housing is located in the upper rear center of the cabinet, behind a removable stainless steel decorative plate. To install the air filter element:
Keep fruits and vegetables fresher longer with PureAir Produce Keeper. Our produce keeper absorbs ethylene gas, the natural gas that causes produce to ripen quicker. Reduce food waste, save money and enjoy fresh-tasting produce with a longer storage life. Your PureAir Produce Keeper is included in your Literature Pack. To order replacements, please visit our online store at Frigidaire.com, by calling toll-free at 1 (800) 372-4432, or by visiting the dealer where you purchased your unit.
Here are the product numbers to request when ordering:
PureAir Produce Keeper™ FRPAPKRF Installing the PureAir Produce Keeper:
Your ethelene absorber holder is attached to the rear wall of the upper crisper. Remove it to install the PureAir Produce Keeper.

DO NOT OPEN. Contents may irritate eyes or skin. Keep out of reach of children.
FIRST AID: Contains potassium permanganate. In case of contact with eyes or skin, rinse immediately with water.
DO NOT EAT: If swallowed, seek medical treatment immediately.
Before cleaning your appliance, turn off power to your appliance by unpluging the power cord from the electrical outlet.
Keeping your appliance clean maintains appearance and prevents odor build-up. Wipe up any spills immediately and clean the appliance at least twice a year. When cleaning, take the following precautions:
Do not use abrasive cleaners such as win dow sprays, scouring cleansers, brushes, flammable fluids, cleaning waxes, concentrated detergents, bleaches or cleansers containing petroleum products on plastic parts, interior doors, gaskets or cabinet liners. Do not use paper towels, metallic scouring pads, or other abrasive cleaning materials or strong alkaline solutions.
Short Vacations: Leave the unit operating during vacations of less than 3 weeks.
Long Vacations: If the appliance will not be used for several months:
Moving: When moving the unit, follow these guidelines to prevent damage:
NOTE: Do not use razor blades or other sharp instruments which can scratch the appliance surface when removing adhesive labels. Any glue left from tape or labels can be removed with a mixture of warm water and mild detergent, or, touch the glue residue with the sticky side of tape you have already removed.
Do not remove the serial plate.
| Part | What To Use | Tips and Precautions |
| Interior & Door Liners |
| Use 2 tbsp of baking soda in 1 qt of warm water. Be sure to wring excess water out of sponge or cloth before cleaning around controls, light bulb or any electrical part. |
| Door Gaskets |
| Wipe gaskets with a clean soft cloth. |
| Drawers & Bins |
| Use a soft cloth to clean drawer runners and tracks. Do not wash any removable items (bins, drawers, etc.) in dishwasher. |
| Glass Shelves |
| Allow glass to warm to room temperature before immersing in warm water. |
| Exterior & Handles |
| Do not use commercial household cleaners, ammonia, or alcohol to clean handles. Use a soft cloth to clean smooth handles. Do not use a dry cloth to clean smooth doors. |
| Exterior & Handles (Stainless Steel Models Only) |
| Never use CHLORIDE to clean stainless steel. Clean stainless steel front and handles with non-abrasive soapy water and a dishcloth. Rinse with clean water and a soft cloth. Wipe stubborn spots with an ammonia-soaked paper towel, and rinse. Use a non-abrasive stainless steel cleaner. These cleaners can be purchased at most home improvement or major department stores. Always follow manufacturer's instruction.
|
Let us help you troubleshoot your concern! This section will help you with common issues. If you need us, visit our website, chat with an agent, or call us. We may be able to help you avoid a service visit. If you do need service, we can get that started for you!
1-800-374-4432 (United States)
Frigidaire.com
1-800-265-8352 (Canada)
Frigidaire.ca
| CONCERN | CAUSE | SOLUTION |
| APPLIANCE OPERATION | ||
| Appliance does not run. |
|
|
| Appliance temperature is warmer than preferred. |
|
|
| Appliance is noisy or vibrates. |
|
|
| Appliance runs too much or too long. |
|
|
| APPLIANCE TEMPERATURES | ||
| Interior appliance temperature is too cold. |
|
|
| APPLIANCE TEMPERATURES (cont'd) | ||
| Temperature inside appliance is too warm. |
|
|
| is displayed on control. |
|
|
| Sb is displayed on the control. |
|
|
| DEMO is displayed in the control. |
|
|
| SOUND AND NOISE | ||
| Louder sound levels whenever appliance is on. |
|
|
| Popping or cracking sound when compressor comes on. Bubbling or gurgling sound. |
|
|
| Vibrating or rattling noise. |
|
|
| WATER / MOISTURE / FROST INSIDE APPLIANCE | ||
| Moisture forms on inside appliance walls. |
|
|
| ODOR IN APPLIANCE | ||
| Odors in appliance. |
|
|
| DOOR PROBLEMS | ||
| Door will not close. |
|
|
| LIGHTING PROBLEMS | ||
| Cabinet light is not working. |
|
|
Please read all instructions before using this appliance.
This is the safety alert symbol. It is used to alert of potential personal injury hazards. Obey all safety messages that follow this symbol to avoid possible injury or death.
indicates an imminently hazardous situation which, if not avoided, will result in death or serious injury.
indicates a potentially hazardous situation which, if not avoided, could result in death or serious injury.
indicates a potentially hazardous situation which, if not avoided, may result in minor or moderate injury.
indicates installation, operation or maintenance information which is important but not hazard-related.
CALIFORNIA RESIDENTS ONLY
Cancer and Reproductive Harm www.P65Warnings.ca.gov
This appliance is not intended for use by persons (including children) with reduced physical, sensory or mental capabilities, or lack of experience and knowledge, unless they have been given supervision or instruction concerning use of the appliance by a person responsible for their safety. Destroy or recycle the carton, plastic bags, and any exterior wrapping material immediately after you unpack the refrigerator. Children should NEVER use these items to play. Cartons covered with rugs, bedspreads, plastic sheets or stretch wrap may become airtight chambers, and can quickly cause suffocation.
Do not use electrical appliances inside the food storage compartments of the appliance unless they are of the type recommended by the manufacturer.
Child entrapment and suffocation are not problems of the past. Junked or abandoned appliances are still dangerous – even if they will sit for "just a few days". If you are getting rid of your old appliance, please follow the instructions below to help prevent accidents.
We strongly encourage responsible appliance recycling/disposal methods. Check with your utility company or visit energystar.gov/products/recycle for more information on recycling your old appliance.

CFC/HCFC Disposal
Your old appliance may have a cooling system that used CFCs or HCFCs (chlorofluorocarbons or hydrochlorofluorocarbons). CFCs and HCFCs are believed to harm stratospheric ozone if released to the atmosphere. Other refrigerants may also cause harm to the environment if released to the atmosphere. If you are throwing away your old appliance, make sure the refrigerant is removed for proper disposal by a qualified technician. If you intentionally release refrigerant, you may be subject to fines and imprisonment under provisions of environmental legislation.
Follow these guidelines to ensure safety mechanisms in this appliance will operate properly.
To turn off power to your appliance you must unplug the power cord from the electrical outlet

Use a dedicated grounding-type duplex electrical outlet for each unit (i.e. two duplex outlet receptacles, each on a dedicated electrical circuit) for a paired unit configuration

Here you can download full pdf version of manual, it may contain additional safety instructions, warranty information, FCC rules, etc.
Download Frigidaire FPRU19F8WF - Professional 19 Cu. Ft. Single-Door Refrigerator Manual
Advertisement







Need help?
Do you have a question about the FPRU19F8WF and is the answer not in the manual?
Questions and answers