Frigidaire GRQC2255BF - Gallery 21.5 Cu. Ft. Counter-Depth 4-Door Refrigerator Manual
![]()
INTRODUCTION
Welcome to our family!
Thank you for bringing Frigidaire into your home! We see your purchase as the beginning of a long relationship together. This manual is your resource for the use and care of your product. Please read it before using your appliance. Keep it handy for quick reference. If something doesn't seem right, the troubleshooting section will help you with common issues. FAQs, helpful tips and videos, cleaning products, and kitchen and home accessories are available at Frigidaire.com.
We are here for you! Visit our website, chat with an agent, or call us if you need help. We may be able to help you avoid a service visit. If you do need service, we can get that started for you. Let's make it official! Be sure to register your product.
Keep your product info here so it's easy to find.
![Frigidaire - GRQC2255BF - INTRODUCTION INTRODUCTION]()
Serial Number Location
FEATURES
![Frigidaire - GRQC2255BF - FEATURES FEATURES]()
- Ice and Water Dispenser**
- Custom-Flex Zone Controls
- Flipper Mullion
- Door Bin
- Fresh Food Ice Maker
- Flip Shelf
- Auto CrispSeal™ Drawers
- Adjustable Hinges
- Reversible Custom-Flex Zone Slide Shelf with Wine Rack Feature**
- Custom-Flex™ Zone Drawer**
- Anti-tip Leg
- Flipper Mullion Guide
- PureAir Ultra II ® Air Filter
- Full Width Shelf
- SnackZone™ Storage Compartments (Recessed below Crispers)
- PureSource Ultra ® II Water Filter
- Slide-Under Shelf
- Freezer Ice Maker*
- Freezer Slide Shelf with Ice Container
- Freezer Slide Shelf
- Freezer Drawer
- Dairy Compartment
- Full Width Adjustable Door Bin
- Fast Adapt Door Bin
- Fixed Door Bin
*Optional Accessory Shown
**Switches between Refrigerator and Freezer
![]()
Accessories are available for refrigerator and can be purchased at Frigidaire.com or by calling 1-800-374-4432.
INSTALLATION
Tools Necessary:
![]()
This Use & Care Manual provides general installation and operating instructions for this model. We recommend using a service or kitchen contracting professional to install the refrigerator. Use the refrigerator only as instructed in this Use & Care Manual. Before starting the refrigerator, follow these important first steps.
Location
![]()
This appliance is intended to be used in household and similar applications such as:
- a kitchen/kitchenette
- a pantry room
- a basement
- an enclosed garage
- other interior residential-type environments
- Choose a place that is near a grounded, non-GFCI, electrical outlet. Do Not use an extension cord or an adapter plug.
- If possible, place the refrigerator out of direct sunlight and away from the range, dishwasher, or other heat sources.
- The refrigerator must be installed on a floor that is level and strong enough to support a fully loaded refrigerator.
- Consider water supply availability for models equipped with an automatic ice maker.
![]()
Do Not install the refrigerator where the temperature will drop below 55°F (13°C) or rise above 110°F (43°C). The compressor will not be able to maintain proper temperatures inside the refrigerator.
![]()
Installation
Allow the following clearances for ease of installation, proper air circulation, and plumbing and electrical connections:
| Sides & Top | ⅜" (9.5 mm) |
| Back | 1" (25.4 mm) |
![]()
NOTE
If the refrigerator is placed with the door hinge side against a wall, allow additional space so the door can be opened wider.
Door opening
The refrigerator should be positioned to allow easy access to a counter when removing food. For best use of refrigerator drawers and freezer baskets, the refrigerator should be in a position where both can be fully opened.
![Frigidaire - GRQC2255BF - Door opening Door opening]()
Cabinet Leveling & Refrigerator Door Alignment (if necessary)
Guidelines for final positioning of refrigerator:
- Firmly rest all 4 corners of the cabinet on the floor.
- Slightly elevate the front to ensure the doors close and seal properly.
- Align and level the doors with each other.
To level the cabinet using the anti-tip legs:
- Slightly open freezer compartment.
- Lower anti-tip legs until they are both touching the floor. Use a pair of pliers to adjust.
To raise unit: turn leg clockwise.
To lower unit: turn leg counterclockwise.
![Frigidaire - GRQC2255BF - Cabinet Leveling & Refrigerator Door - Step 1 Cabinet Leveling & Refrigerator Door - Step 1]()
- Ensure both doors are bind-free with their seals touching the cabinet on all 4 sides and the cabinet is stable.
![Frigidaire - GRQC2255BF - Cabinet Leveling & Refrigerator Door - Step 2 Cabinet Leveling & Refrigerator Door - Step 2]()
To make final door height adjustments:
- Open the lower doors to make the middle hinge visible.
- Insert the 10 mm wrench (included) into the shaft of the middle hinge.
To lower door: turn the adjustment screw clockwise.
To raise door: turn the adjustment screw counterclockwise.
![]()
NOTE
After adjusting the screw, you might need to swing the door to check for proper alignment.
![Frigidaire - GRQC2255BF - Cabinet Leveling & Refrigerator Door - Step 3 Cabinet Leveling & Refrigerator Door - Step 3]()
Bottom Doors Alignment
In a few cases the doors might not align vertically. To correct this condition a snap ring shim is supplied with the door alignment kit (in the literature pack). To assemble it, lift the lower door slightly to access the door hinge pin and insert the snap ring as illustrated.
![Frigidaire - GRQC2255BF - Bottom Doors Alignment - Step 1 Bottom Doors Alignment - Step 1]()
![Frigidaire - GRQC2255BF - Bottom Doors Alignment - Step 2 Bottom Doors Alignment - Step 2]()
Flipper Mullion
Adjust the flipper mullion for proper connection with the mullion guide by ensuring the flipper mullion is folded and perpendicular to the fresh food door. If the mullion guide is not in the correct position, it could prevent the door from closing completely.
![Frigidaire - GRQC2255BF - Flipper Mullion Flipper Mullion]()
DOOR REMOVAL
Getting through narrow spaces
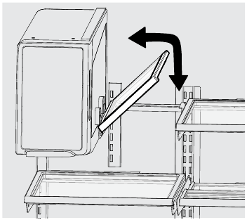
If the refrigerator will not fit through an entrance area, you can remove the doors. Check first by measuring the entrance.
To prepare for removing the doors:
- Make sure you unplug the electrical power cord from the wall outlet.
- Remove any food from the door shelves and close the doors.
To remove the refrigerator doors:
- Open the doors to 90°.
- Remove all 4 PhillipsTM screws from top hinge cover and lift up.
![Frigidaire - GRQC2255BF - Getting through narrow spaces - Step 1 Getting through narrow spaces - Step 1]()
- Trace lightly around the door's top hinges with a pencil. This makes reinstallation easier.
- Disconnect electrical harnesses running from door to hinge cover on both doors.
![Frigidaire - GRQC2255BF - Getting through narrow spaces - Step 2 Getting through narrow spaces - Step 2]()
- Unscrew the plastic clamps that hold the cables and tubes and then gently pull up on the water line to remove them from door.
![Frigidaire - GRQC2255BF - Getting through narrow spaces - Step 3 Getting through narrow spaces - Step 3]()
![]()
NOTE
Use care while pulling the water tube from the door to be sure the tube does not kink. To prevent damage to the water line, be sure to install the water line in a protective spring after reinstalling the doors.
![]()
NOTE
You will pull approximately 4 ft of water tube from the refrigerator door.
![]()
Be sure to set the doors aside in a secure position where they cannot fall and cause personal injury, or damage to the doors.
- Remove three 8 mm bolts from both top hinges. Lift the doors up off the lower hinges and carefully set aside.
![Frigidaire - GRQC2255BF - Getting through narrow spaces - Step 4 Getting through narrow spaces - Step 4]()
- To reinstall the doors, reverse the procedure.
![]()
Make sure the water line tubing goes through the hole at the top of the dispenser pocket. A metal wrap on the tubing prevents damage from the hinge rubbing against it. Fix this back around the tube in the proper location upon reinstallation (just as long as the tube is protected from the hinge).
![]()
NOTE
When reinserting the water tube and replacing the top hinge cover, use care to be sure the tube does not kink.
Once both doors are in place, ensure they are aligned with each other and level (Reference INSTALLATION for more details), and replace the top hinge cover.
To remove bottom doors
- Fully open the bottom doors in order to remove the bottom hinge cover.
- Remove the screw and the bottom hinge cover.
![Frigidaire - GRQC2255BF - Getting through narrow spaces - Step 5 Getting through narrow spaces - Step 5]()
- Disconnect the switch connector and detach the wires from the guide.
![Frigidaire - GRQC2255BF - Getting through narrow spaces - Step 6 Getting through narrow spaces - Step 6]()
- Make sure you removed the top doors.
- With the bottom doors closed, remove the center hinge unscrewing the 3 screws fixing them to the cabinet.
![]()
NOTE
To gain access to center hinge, unscrew the 3 hinge screws and remove the hinge.
![Frigidaire - GRQC2255BF - Getting through narrow spaces - Step 7 Getting through narrow spaces - Step 7]()
Center Hinge Removal
- Carefully remove the door by opening it and pushing it upward.
- Repeat this procedure for both bottom doors.
![Frigidaire - GRQC2255BF - Getting through narrow spaces - Step 8 Getting through narrow spaces - Step 8]()
- To reinstall the doors, reverse the procedure.
WATER SUPPLY CONNECTION
![]()
To avoid electric shock, which can cause death or severe personal injury, disconnect the refrigerator from electrical power before connecting a water supply line to the refrigerator.
![]()
To Avoid Property Damage:
- We recommend using Copper or Stainless Steel braided tubing for the water supply line. We do not reommend using water supply tubing made of ¼" plastic. Plastic tubing greatly increases the potential for water leaks, and the manufacturer will not be responsible for any damage if you use plastic tubing for the supply line.
- DO NOT install water supply tubing in areas where temperatures fall below freezing.
- Chemicals from a malfunctioning water softener can damage the ice maker. If a water softening system is present, maintain the softener and ensure it is working properly.
![]()
Ensure the water supply line connections comply with all local plumbing codes.
To install the water supply line, you will need the following:
- Basic Tools: adjustable wrench, flat-blade screwdriver, and Phillips screwdriver
- Access to a household cold water line with water pressure between 30 and 100 psi.
- A water supply line made of ¼" (6.4 mm) OD, copper or braided stainless steel tubing. To determine the length of tubing needed, measure the distance from the inlet water tube at the back of the refrigerator to the cold water pipe. Then add approximately 7 ft (2.1 m.), so you can move the refrigerator for cleaning.
- A shutoff valve to connect the water supply line to the household water system. DO NOT use a self-piercing type shutoff valve.
- Do not reuse compression fitting or use thread seal tape.
- A compression nut and ferrule (sleeve) for connecting a copper water supply line to the ice maker inlet valve.
![]()
NOTE
Check with local building authority for recommendations on water lines and associated materials prior to installing refrigerator. Depending on local/state building codes, we recommend Smart Choice ® water line kit 5304437642 with a 6 ft. (1.8 meters) braided Stainless Steel Water Line for homes with existing valves. Please refer to Frigidaire.com for more information.
![]()
NOTE
Expect the first ice harvest within first 24 hours of unit operation. To prevent any issues concerning ice production, please ensure that all water lines are primed. See Priming the water supply system in the ICE MAKER.
![]()
The refrigerator's water supply system includes several tubing lines, a water filter, and a water valve. To ensure the water dispenser works properly, you must completely fill this system with water when you first connect the refrigerator to the household water supply line.
![]()
NOTE
The water dispenser has a built-in device that shuts off the water flow after 2 minutes of continuous use. To reset this shutoff device, simply release the dispenser paddle.
![Frigidaire - GRQC2255BF - WATER SUPPLY CONNECTION WATER SUPPLY CONNECTION]()
To Connect the Water Tube to Household Water Supply
- Disconnect the refrigerator from the electrical power source.
- Place the end of the water supply line into a sink or bucket. Turn ON the water supply and flush the supply line until the water is clear. Turn OFF the water supply at the shutoff valve.
![]()
- Open the locking clips and grab the water line coming from the refrigerator. Remove the plastic cap from the water inlet fitting and discard the cap.
![]()
- If you use (recommended) stainless steel braided tubing - the nut and ferrule are already assembled on the tubing. Slide the compression nut onto the water inlet fitting and finger tighten.
- Using ½" and 7/16" wrenches (one to hold the household water line nut and the other to hold the water inlet fitting nut), tighten a half turn with wrench. DO NOT overtighten.
![Frigidaire - GRQC2255BF - To Connect the Water Tube To Connect the Water Tube]()
- Replace the connected tubes into the clips and lock the clips back in place to keep the tubing in the right position.
- Turn ON the water supply at the shutoff valve and tighten any connections that leak.
- Reconnect the refrigerator to an electrical power source.
- Turn on the ice maker.
- Purge air from the ice and water dispenser system by operating the water dispenser for 3-4 minutes. This requires dispensing several glasses of water.
CONTROLS AND SETTINGS
Sleep Mode
Frigidaire Gallery Display
Sleep Mode Display
![Frigidaire - GRQC2255BF - Sleep Mode Sleep Mode]()
As a default, the display will go to sleep after a short time. If any icon is pressed, the display will be awakened. After a short time, it will go back to sleep. When in sleep mode, wake up the display to confirm ice maker is On/Off. Sleep mode can be turned off to have the display on full time (awake mode). When sleep mode is Off, the display will always be illuminated. To turn sleep mode On/Off, simultaneously press and hold Crush and
for 5 seconds. Audible tone will confirm selection is set.
![]()
NOTE
When the refrigerator is adjusting temperature and the adjusting temperature icon is on, the sleep mode is disabled until the unit reaches desired temperature.
Awake Mode
Awake Mode Display
![Frigidaire - GRQC2255BF - Awake Mode Awake Mode]()
To change from sleep mode (on) to awake mode (off), simultaneously press and hold Crush and
for 5 seconds. Display will show the current temperature/ice maker status.
Audible tone will confirm selection is set.
Appliance Control Display Settings
![Frigidaire - GRQC2255BF - Appliance Control Display Settings Appliance Control Display Settings]()
- Freeze Boost (on/off)
Prior to grocery shopping, activate Freeze Boost to lower the temperature and freeze food faster. Freeze Boost remains active for up to 12 hours before automatically deactivating or manually exiting by pressing Freeze Boost to turn the function off. This will reset the freezer to the previous temperature setting. - Cold Drink Timer
Quickly chills a drink inside the freezer compartment. To enable, touch the Cold Drink Timer key. A time value will appear on the freezer temp display (in minutes) and can be changed using the +/- buttons. A tone will sound when the time has been input. Range is from 20-45 minutes in 5 minute intervals. Drinks will freeze if temperature setting is too low or timer setting is too long.
![]()
When using the cold drink timer, be sure to remove drinks from the freezer compartment when the alarm sounds. Carbonated drinks may explode if left in freezer for too long.
- Ice Maker On/Off
Press and hold for 3 seconds to turn ice maker on/off. When indicator is lit, ice maker is on. When ice maker is OFF, ice maker OFF indicator is lit. When ice maker is in the OFF state, it will stop making ice. When sleep mode is enabled, wake the display to confirm ice maker is on/ off (see Sleep Mode). While off, ice dispensing can continue as long as there is ice in the bucket. When ice maker is off and ice is dispensing, indicator above ice maker button and ice maker OFF will both blink. - The
lock button can be used to lock the display preventing it from being used in certain situations. Press and hold for 3 seconds to enable/ disable. While in the locked state, no changes can be made to settings on the display. Dispensing ice and water will be disabled. The indicator will flash and an audible warning tone is played. - Power Outage
In the event of a power failure, the power outage alert will be illuminated once power has been restored and a tone will sound. Press any button to silence the tone. - Adjusting Temp
illuminates when you press either + or — to change temperature setting on the appliance display and will remain illuminated until the the refrigerator and freezer reach the desired temperatures inside.
Freezer temp
Control temperatures range from -6°F / -21°C to 6°F / -15°C.
Refrigerator temp
Control temperatures range from 34°F / 1°C to 44°F / 7°C. This unit is designed to operate at 37°F Refrigerator/0°F Freezer. Temperatures should stabilize within 24 hours of installation.
![]()
NOTE
When in Sleep mode, the display will not illuminate. Touch any key to wake the display.
- Door Open illuminates whenever you open the doors. If you leave a door open for 5 minutes or more, an alarm sounds and the display illuminates until you shut the doors. Press any button to mute the alarm temporarily. Check to make sure no food is blocking the doorway.
- Replace Water Filter illuminates every 6 months or when you need to replace the filter. Replace the filter and then press and hold Reset Water Filter for 3 seconds to deactivate the warning on the display. See FILTER REPLACEMENT for more information.
- Replace Air Filters illuminates every 6 months or when you need to replace the filter. Replace the filter and then press and hold Reset Air Filters for 3 seconds to deactivate the warning on the display. See FILTER REPLACEMENT for more information.
- Press Water to select water. An indicator light illuminates above the active feature. Press the paddle to dispense water.
- Press Cube to select cubed ice. An indicator light illuminates above the active feature. Press the paddle to dispense cubed ice.
- Press Crush to select crushed ice. An indicator light illuminates above the active feature. Press the paddle to dispense crushed ice.
- °F/°C
To toggle between Fahrenheit (°F) and Celsius (°C), simultaneously press and hold + and — for 5 seconds on the refrigerator side of the appliance display control. - Chill Boost
Prior to grocery shopping, activate Chill Boost to lower the temperature and cool food faster. Chill Boost remains active for up to 6 hours before automatically deactivating or manually exiting by pressing Chill Boost to turn the function off. This resets the freezer to the previous temperature setting. - Reset Air Filters
After replacing the filter, press and hold for 3 seconds to reset. - Reset Water Filter
After replacing the filter, press and hold for 3 seconds to reset. - Toggles dispenser light On and Off. Press and hold
for 5 seconds to turn on the ambient lighting, located under the fresh food doors. Press and hold again for 2 seconds to turn this feature off.
Setting Temperatures
![]()
NOTE
The recommended settings for a product installed in a kitchen is 37˚F for the fresh food compartment and 0˚F for the freezer.
![]()
If food is freezing in the fresh food compartment, increase the temperature setting by 1 or 2 degrees. Wait 24 hours for temperature to stabilize.
![]()
Food placed within 1 inch in front of the air ports may cause food to freeze. Ensure air ports are not blocked.
![Frigidaire - GRQC2255BF - Setting Temperatures Setting Temperatures]()
![]()
NOTE
Unit should stabilize temperatures within 24 hours of installation.
Alarms
Power Outage
In the event of a power failure, the power outage alert illuminates once power has been restored and a tone sounds. Press any button to silence the tone.
Door Open
If you have left a door open for 5 minutes or more, an alarm sounds and the door open indicator illuminates on the display. You can turn off the alarm by closing the door or pressing any key. The appliance control display returns to normal operations after you close the door.
High Temperature
In the event of a high temperature condition, an alarm sounds. The appliance control display reads HI on whichever compartment the alert is detected in and an alarm sounds over 10 seconds until you acknowledge the alert. You can turn off the alarm by closing the door or pressing any key.
Flapper (Dispenser Models Only)
If the flapper (or ice chute door) is held open by a jammed ice cube when you select Cube or Crush, an alarm sounds and the current selection blinks on the dispenser control. The alarm resets when you remove the ice cube.
![]()
NOTE
You must manually turn off the optional freezer ice maker to comply with sabbath mode.
Sabbath Mode
The Sabbath Mode is a feature that disables portions of the refrigerator and its controls in accordance with observance of the weekly Sabbath and religious holidays within the Orthodox Jewish community. Turn Sabbath Mode ON and OFF by simultaneously pressing and holding both — (freezer side) and + (refrigerator side) for 5 seconds. Other than the High Temp alarm, no audible sounds occur until you exit the Sabbath Mode. The appliance control display shows Sb while in Sabbath mode.
In the Sabbath Mode, the High Temp alarm is active for health reasons. For example, if you leave the door ajar it activates the High Temp alarm. The refrigerator functions normally once you close the door, without any violation of the Sabbath/holidays. The High Temp alarm sounds when the cabinet temperature is outside the safe zone for 20 minutes. The alarm silences itself after 10 minutes while High Temp stays lit until you exit the Sabbath Mode.
![]()
For further assistance, guidelines for proper usage and a complete list of models with the Sabbath feature, please visit the web at star-k.org.
![]()
NOTE
While in Sabbath Mode, neither the lights, the dispenser, nor the display will work until you deactivate Sabbath Mode.
The refrigerator stays in Sabbath Mode after power failure recovery. You must deactivate it with the buttons on the appliance control display.
![]()
NOTE
Although you have initiated the Sabbath Mode, the ice maker complets the cycle it has already started. The ice cube compartment remains cold and you can make new ice cubes with standard trays.
ICE MAKER
Using the Ice Maker after Installation
Before making ice for the first time, be sure to prime the water supply system. Air in new plumbing lines can result in 2 or 3 empty ice maker cycles. Furthermore, if you do not flush the system, the first ice cubes may be discolored or have an odd flavor.
Priming the Water Supply System
![]()
We recommend a water supply pressure between 30 psi and 100 psi.
The system may malfunction with excessive pressure.
- Begin filling the system by pressing and holding a drinking glass against the dispenser.
- Keep the glass in this position until water comes out of the dispenser. It may take about 1 ½ minutes.
- Continue dispensing water for 3-4 minutes (or after you have dispensed 1½ gallons) to flush the system and plumbing connection of any impurities, stopping to empty the glass as necessary.
![Frigidaire - GRQC2255BF - Priming the Water Supply System Priming the Water Supply System]()
Dispenser
![]()
NOTE
The water dispenser has a built-in device that shuts off the water flow after 2 minutes of continuous use. To reset this shutoff device, simply release the dispenser paddle.
![]()
NOTE
After the initial 26 ounces (750 ml), the water remains room temperature until the tank refills and has enough time to chill the next 26 ounces (750 ml) of water. It may take up to 8 hours to chill.
Ice Maker Operation and Care
After you have properly installed the refrigerator and it has cooled for several hours, the ice maker produces ice within 24 hours. The ice maker fills the ice bin from the rear. Dispense some ice to force the ice forward in the bin. This allows the bin to fill completely.
Ice Maker and Storage Bin Capacity
The ice maker should produce 3.2 to 3.7 lbs of ice per 24 hours, depending on the usage conditions. The fresh food ice bin holds about 4 lbs of ice.
Turning the Fresh Food Ice Maker On and Off
![]()
The ice maker is turned on at the factory so it can work as soon as you install the refrigerator. If you cannot connect a water supply, set the ice maker's On/ Off feature to Off; otherwise, the ice maker's fill valve may make a loud chattering noise when it attempts to operate without water.
Ice production is controlled by the ice maker's On/Off feature on the appliance control display. Pressing the On/Off feature turns the ice maker on and off.
![]()
NOTE
The ice maker also has a built-in plastic signal arm that automatically stops ice production when the ice bin is full. Do not use this signal arm to manually stop the ice maker.
![]()
Turning off the ice maker simply disables ice making. You can still dispense existing ice and water.
![]()
NOTE
We recommend you turn the ice maker off if you will not use the refrigerator for an extended period of time.
![]()
Occasionally, you may notice unusually small ice cubes in the bucket or in dispensed ice. This could occur in normal operation of the ice maker. If this happens frequently, it may indicate low water pressure or the water filter needs to be replaced. As the water filter nears the end of its useful life and becomes clogged with particles, less water is delivered to the ice maker during each cycle. Remember, if it's been 6 months or longer or you have dispensed more than 200 gallons (757 liters) since last changing the water filter, replace it with a new one. You may have to change the filter more frequently if you have poor quality household water.
![]()
Properly maintain the water supply to the refrigerator if it is softened. Chemicals from a water softener can damage the ice maker.
Ice maker/dispenser tips
If refrigerator is not connected to a water supply or the water supply is turned off, turn off the ice maker as described in the previous section.
The following sounds are normal when the ice maker is operating:
- Motor running
- Ice dropping into ice bin
- Water valve opening or closing
- Running water
- If you need a large quantity of ice at one time, it is best to get cubes directly from the ice bin.
- Ice cubes stored too long may develop an odd flavor. Empty the ice bin as explained below.
- When dispensing cubed ice, it is normal to have a small quantity of little pieces along with the whole cubes.
- To avoid splashing, dispense ice into the container before adding liquids.
- It is normal for ice to fill to the top of the ice bin.
Cleaning the Ice Bin
Regularly clean the ice maker and ice bin, especially prior to vacation or moving.
- Turn off the ice maker.
- Remove the ice bin by lifting it upward and pulling it straight out.
- Empty and carefully clean the ice bin with mild detergent. Do not use harsh or abrasive cleaners. Do not place it in the dishwasher. Rinse with clear water.
- Allow the ice bin to dry completely before replacing it into the compartment.
- Replace the ice bin. Turn the ice maker on.
Remove and empty the ice bin if:
- An extended power failure (1 hour or longer) causes ice cubes in the ice bin to melt and refreeze together after power is restored, jamming the dispenser mechanism.
- You use the ice dispenser. Ice cubes will freeze together in the bin, jamming the dispenser mechanism.
![Frigidaire - GRQC2255BF - Ice maker/dispenser tips - Step 1 Ice maker/dispenser tips - Step 1]()
Removing Ice Bin
Remove the ice bin by (1) lifting upward and (2) pulling straight out. Then shake to loosen the cubes or clean as explained above.
![]()
NEVER use an ice pick or similar sharp instrument to break up the ice. This could damage the ice bin and dispenser mechanism.
To loosen stuck ice, use warm water. Before replacing the ice bin, make sure it is completely dry.
![]()
When removing or replacing the ice bin, avoid rotating the auger in the ice bin. If you accidentally rotate the auger, realign the auger by turning it in 45° turns (see below) until the ice bin fits into place with the drive mechanism. If you do not properly align the auger when replacing the ice bin, the refrigerator will not dispense ice. The fresh food door also may not close properly causing warm air to leak into the fresh food compartment.
![Frigidaire - GRQC2255BF - Ice maker/dispenser tips - Step 2 Ice maker/dispenser tips - Step 2]()
Adjusting Ice Bin Auger
Freezer Ice Maker (optional accessory)
Ordering Optional Freezer Ice Maker
Order the optional freezer ice maker at Frigidaire.com, by calling 1-800-374- 4432 or through the dealer from which you purchased the refrigerator.
Ice Maker Operation and Care
After you have properly installed the refrigerator, the ice maker can produce ice within 24 hours. When using the ice maker for the first time, and in order for it to work properly, you need to clear air from the water tubing and the filter. Furthermore, if you do not flush the system, the first ice cubes may be discolored or have an odd flavor. Once the ice maker begins making ice, allow the bin to fill completely, and then discard the first FULL bin of ice.
Ice Maker and Storage Bin Capacity
This ice maker should produce between 2 and 2.5 lbs of ice per 24 hours depending on usage conditions. The ice bin will hold about 6 lbs of ice.
![]()
NOTE
The ice maker will only produce the advertised production rate if the product is set at 0°F.
Turning the Ice Maker On and Off
Press the power button to turn the ice maker on (button should illuminate).
![Frigidaire - GRQC2255BF - Turning the Ice Maker On and Off Turning the Ice Maker On and Off]()
![]()
NOTE
The freezer ice maker fills in the center of the ice bin. Occasionally move the ice to the borders to allow the bin to fill completely.
Ice Maker Tips
- The following sounds are normal when the ice maker is operating:
- Motor running
- Ice dropping into ice bin
- Water valve opening or closing
- Running water
- Ice cubes stored too long may develop an odd flavor. Empty the ice bin. (See To remove freezer ice container in STORAGE FEATURES).
![]()
Properly maintain the water supply to the refrigerator if it is softened. Chemicals from a water softener can damage the ice maker.
![]()
To avoid personal injury or property damage, handle tempered glass shelves carefully. Shelves may break suddenly if nicked, scratched, or exposed to sudden temperature change. Allow the glass shelves to stabilize to room temperature before cleaning. Do not wash in the dishwasher.
You can easliy adjust shelf positions in the fresh food compartments as needed. The shelves have mounting brackets that attach to slotted supports at the rear of each compartment.
You can easliy adjust shelf positions in the fresh food compartments as needed. The shelves have mounting brackets that attach to slotted supports at the rear of each compartment.
Change the Position of a Shelf
- Remove all food from the shelf.
- Lift the front edge up and pull the shelf out.
- Replace by inserting the mounting bracket hooks into the desired support slots.
- Lower the shelf and lock it into position.
To adjust the flip shelf:
- Remove food from the shelf.
- Lift the right side edge of the shelf upward and push to the left toward the ice maker.
![Frigidaire - GRQC2255BF - To adjust the flip shelf To adjust the flip shelf]()
Flip Shelf
To adjust the slide-under shelf: Push the front half shelf backward toward the rear of the cabinet until the rear half shelf drops down. Then gently continue pushing the front half shelf back and under the rear half shelf.
![]()
Slide-Under Shelf
Drawers
The refrigerator includes a variety of storage drawers.
Auto CrispSeal Drawer
Crispers are designed for storing fruits, vegetables, and other fresh produce. Crispers have an auto humidity control at the rear of each crisper under the humidity control cover.
To remove the auto humidity control membrane for cleaning:
- Reach to back of the humidity control cover.
- Place fingers between the humidity control and the back wall, pulling up on the cover.
- Pull the cover toward the front of the cabinet and remove.
- Remove the humidity membrane from the housing by lifting it up and sliding it over.
- Clean the humidity membrane with hot soapy water. Thoroughly dry it before replacing.
- Replace the membrane in the housing and unit by reversing the steps above.
![Frigidaire - GRQC2255BF - To remove the auto humidity control membrane To remove the auto humidity control membrane]()
Removing Auto Humidity Control Membrane
![]()
NOTE
We do not recommend replacing the auto-humidity membrane unless it becomes damaged or ruined. If the membrane becomes soiled, you can wash it with soap and water. Ensure the membrane is dry before replacing it in the unit.
To remove the Auto CrispSeal drawer for cleaning:
- Pull the drawer out until it stops.
- Lift the front slightly and remove the drawer.
![Frigidaire - GRQC2255BF - Removing Auto CrispSeal Drawer Removing Auto CrispSeal Drawer]()
Removing Auto CrispSeal Drawer
SnackZone - Recessed Snack Drawers
These drawers are ideal for storing deli meats and cheeses.
To open: slide back the cover to allow
![Frigidaire - GRQC2255BF - SnackZone - Recessed Snack Drawers SnackZone - Recessed Snack Drawers]()
Opening SnackZone
Recessed Snack Drawers
STORAGE FEATURES
Custom-Flex Zone
![]()
You can adjust the Custom-Flex Temp Zone from -6°F to 45°F, giving you versatility and control of your appliance.
![]()
Do not store glass bottles in the Custom-Flex Zone when the temperature setting is in Freezer, Meat/ Seafood, or Cold Drink modes. The glass may break and shatter, causing physical harm and injury.
![]()
Do not use the Custom-Flex Zone to store fresh produce as these items may freeze and cause damage to the fruits and leafy vegetables stored in the drawer.
![]()
NOTE
Temp Adjust stays lit until reaching the new set temp.
Using Your Custom-Flex Zone Controls
- The Custom-Flex Zone automatically defaults to a locked state to prevent any unwanted use. To change the Custom-Flex Zone's settings, you must first unlock it. To unlock, press and hold UNLOCK for 3 seconds. It automatically locks after 10 seconds without any interaction.
Refrigerator:
- Choosing Chilled Wine sets the zone temperature to 45°F (7°C). A tone sounds to confirm choice.
- Choosing Deli/Snacks sets the zone temperature to 37°F (3°C). A tone sounds to confirm choice.
- Choosing Cold Drinks sets the zone temperature to 32°F (0°C). A tone sounds to confirm choice.
- Choosing Meat/Seafood sets the drawer temperature to 28°F (-2°C). A tone sounds to confirm choice. Use this setting for short-term storage. Place any meat to be kept longer than 2 days in the freezer.
Freezer:
- To change the Custom-Flex Zone temperature when in the freezer temp setting, use the appliance control display on the front door. Changing the temp on the display changes both the Custom-Flex Zone AND the freezer temp settings.
To remove Custom Flex-Zone shelves and drawers:
- Open doors completely to gain access to shelves/drawers.
- Pull the shelf/drawer to the stopper. Lift the shelf/drawer up and pull it to remove it from the cabinet.
- Reverse the steps to reinstall the shelf/drawer.
![]()
You can mount the middle drawers in the freezer and Flex-Zone in up to 3 height positions and can also invert them 90° allowing bottles to be stored in the Flex-Zone.
![Frigidaire - GRQC2255BF - Shelves in 3 Height Positions and Inverted Shelves in 3 Height Positions and Inverted]()
Shelves in 3 Height Positions and Inverted
![]()
Possible Shelf Configuration Example
To remove the Wine Rack Mat:
- Unhook the rack from the shelf.
- Pivot as shown in the image and remove the silicone mat.
![]()
The Wine Rack Mat helps to keep the bottles from sliding off when opening the Custom-Flex Zone drawers.
![]()
You can remove and clean the Wine Rack Mat with tap water.
![Frigidaire - GRQC2255BF - To remove the Wine Rack Mat To remove the Wine Rack Mat]()
Doors
Storage bins
The doors use a system of modular storage bins. You can remove all of these bins for easy cleaning. Adjust the bins as needed.
Use the door bins to store jars, bottles, cans, and large drink containers. You can also quickly select frequently used items.
Adjustable door bins
Move the adjustable door bins to suit individual needs.
To adjust the collapsible door bin:
- Make sure the bin is securely seated on rail in the door.
- Grab one side of the bin and place the other hand on the adjustable side.
- Pull on the side of the bin until the bin is adjusted to the desired width.
To move the door bin side to side:
- Tilt the bin up so the back of the bin is off the door but the hook is still engaged.
- Slide the bin along the rail to the desired position.
- Lower the bin back into place.
To move the door bin up or down:
- Lift the bin up disengaging the hook.
- Move the bin to the desired rail location.
- Push the bin hook into the rail engaging the hook.
![Frigidaire - GRQC2255BF - Adjustable Door Bins Adjustable Door Bins]()
Adjustable Door Bins
To remove freezer ice container:
- Open the doors completely to gain access to the drawers.
- Pull the freezer drawer to its most forward position.
- Lift up the front side of the ice container and pull it out of the drawer.
- Allow the ice container to dry completely before replacing it in the freezer. Reverse the steps to reinstall the ice container.
![Frigidaire - GRQC2255BF - To remove freezer ice container To remove freezer ice container]()
![]()
If you do not correctly assemble the ice container with the slider shelf, it will not close properly and may damage the freezer ice maker. Check to make sure door closes properly after removing the ice container. If you leave a door ajar, frosting or condensation may collect in the freezer.
![]()
Make sure all the wheels on the back of the shelves are aligned on their respective tracks for proper function. If the shelf is not aligned properly, the door will not operate properly.
STORING FOOD AND SAVING ENERGY
Ideas for storing foods
Fresh food storage
- Keep the fresh food compartment between 34°F and 44°F with an optimum temperature of 37°F.
- Avoid overcrowding the refrigerator shelves, which reduces air circulation and causes uneven cooling.
- Avoid placing food in front of air ports. (See CONTROLS AND SETTINGS.)
Fruits and vegetables
- Store fruits and vegetables in crispers, where trapped moisture helps preserve food quality for longer time periods.
- Do not wash items until you are ready to use them. Remove excess water before placing them inside the unit.
- Wrap any items with strong odors or high moisture content.
Meat
- Wrap raw meat and poultry separately and securely to prevent leaks and contamination of other foods or surfaces.
- Use the Custom-Flex Temp Zone to store meat/poultry for short-term storage. Freeze any meat to be kept longer than 2 days.
Frozen food storage
- Keep the freezer compartment at 0°F or lower.
- A freezer operates most efficiently when it is at least ⅔ full.
Packaging foods for freezing
- To minimize food dehydration and quality deterioration, use aluminum foil, freezer wrap, freezer bags, or airtight containers. Force as much air out of the packages as possible and seal them tightly. Trapped air can cause food to dry out, change color, and develop an off flavor (freezer burn).
- Wrap fresh meats and poultry with suitable freezer wrap prior to freezing.
- Do not refreeze meat that has completely thawed.
Loading the freezer
- Prior to grocery shopping, activate Freeze Boost so newly purchased food designated for the freezer will be preserved as quickly as possible.
- Activating Freeze Boost also will help the freezer more efficiently maintain the selected temperature after placing new purchases with pre-existing frozen foods.
- Avoid adding too much warm food to the freezer at one time. This overloads the freezer, slows the rate of freezing, and can raise the temperature of frozen foods.
- Leave a space between packages, so cold air can circulate freely, allowing food to freeze as quickly as possible.
Ideas for saving energy
Installation
- Locate the refrigerator in the coolest part of the room, out of direct sunlight, and away from heating ducts or registers.
- Do not place the refrigerator next to heat-producing appliances such as a range, oven, or dishwasher. If this is not possible, a section of cabinetry or an added layer of insulation between the 2 appliances will help the refrigerator operate more efficiently.
- Level the refrigerator so the doors close tightly.
Temperature settings
- Refer to CONTROLS AND SETTINGS for procedures on temperature settings.
Food storage
- Avoid overcrowding the refrigerator or blocking cold air vents. Doing so causes the refrigerator to run longer and use more energy.
- Cover foods and wipe containers dry before placing them in the refrigerator. This cuts down on moisture build-up inside the unit.
- Organize the refrigerator to reduce door openings. Remove as many items as needed at one time and close the door as soon as possible.
- Do not place a hot container directly on a cold shelf. Remember, such an extreme temperature change may damage the glass.
Understanding the Sounds Coming from the Refrigerator
High-efficiency refrigerators may introduce unfamiliar sounds. These sounds normally indicate you are correctly operating the refrigerator. Some surfaces on floors, walls, and kitchen cabinets may make these sounds more noticeable. The following is a list of major components in the refrigerator and the sounds they can cause:
![Frigidaire - GRQC2255BF - Understanding the Sounds Coming Understanding the Sounds Coming]()
- Evaporators Refrigerant through the evaporators may create a boiling or gurgling sound.
- Evaporator fans Sounds of air being forced through the refrigerator by the evaporator fans may be heard.
- Defrost heaters During defrost cycles, water dripping onto the defrost heaters may cause a hissing or sizzling sound. After defrosting, a popping sound may occur.
- Automatic ice maker When ice has been produced, sounds of ice cubes falling into the ice bin may be heard. Ice maker fan, water valve activation, and refrigerant gas fluid may create sounds from its operation.
- Electronic control & automatic defrost control These parts can produce a snapping or clicking sound when turning the cooling system on and off.
- Condenser fan Sounds of air being forced through the condenser may be heard.
- Compressor Modern, high-efficiency compressors run much faster than older models. The compressor may have a high-pitched hum or pulsating sound. Variable speed compressors may run more frequently for energy efficiencies.
- Water valves Make a buzzing sound each time they open to fill the ice maker.
- Drain pan (not removable) Sounds of water dripping into the drain pan during the defrost cycle may be heard.
- Condenser May create minimal sounds from forced air.
- Motorized damper May produce a light humming during operation.
- Ice dispenser When dispensing ice, a snapping, clicking, or popping sound may be heard.
![]()
NOTE
Energy efficient foam in the refrigerator is not a sound insulator.
![]()
NOTE
During automatic defrost cycle, a red glow in the back wall vents of the freezer compartment is normal.
FILTER REPLACEMENT
PureAir Ultra II Air Filter
The air filter is located in the top center of the fresh food compartment.
Replacing the Air Filter
To ensure optimal filtering of refrigerator odors, change the air filter every 6 months (Replace Air Filter on the appliance control display indicates replacing the filter after 6 months).
- Remove the air filter cover by squeezing the top and bottom of the cover together and removing it from liner.
- Remove the old filter and discard it.
- Unpack the new filter and snap it into the filter cover. You should install the open face (carbon media) of the filter facing outward in the cover.
- Replace the air filter cover by squeezing the sides and snapping it back into place.
- Press and hold Reset Air Filters on the appliance control display for 3 seconds. When the indicator turns off, you have reset the status.
![Frigidaire - GRQC2255BF - Replacing the Air Filter Replacing the Air Filter]()
Ordering Replacement Air Filters
Order replacement filters online at Frigidaire.com, by calling 1-800-374-4432 or through the dealer from which the refrigerator was purchased. we recommend replacing filters at least once every 6 months.
Request this product number when ordering:
PureAir Ultra II® Air Filter
Part # PAULTRA2™
PureSource Ultra II Water Filter
The refrigerator is equipped with a water filtering system. This system filters all dispensed drinking water, as well as the water used to produce ice. The water filter is located at the top right side of the fresh food compartment.
Replacing the Water Filter
Change the water filter every 6 months to ensure the highest possible water quality. Replace Water Filter on the appliance control display indicates when to replace the filter after a standard amount of water (125 gallons/473 L for PureSource Ultra II) has flowed through the system.
If you have not used the refrigerator for a period of time (during moving for example), change the filter before reinstalling the refrigerator.
Removing and Replacing the Water Filter Cover
To Remove: Pull the cover forward and the cover will drop down and allow access to the filter.
To Reinstall: Push the cover up toward the liner, and then push toward the rear of the cabinet. The filter cover will snap back into place.
Ordering Replacement Water Filters
Order replacement filters online at Frigidaire.com, by calling 1-800-374- 4432 or through the dealer from which the refrigerator was purchased. We recommend replacing filters at least once every 6 months.
Request this product number when ordering:
PureSource Ultra® II Water Filter
Part #EPTWFU01™
![]()
NOTE
When ordering replacement filters, please reorder the same filter type that is currently in the refrigerator.
More about the Advanced Water Filter
Do not use with water that is microbiologically unsafe or of unknown quality without adequate disinfection before or after the system. Systems certified for cyst reduction may be used on disinfected waters that may contain filterable cysts.
Test & certification results:
- Rated Capacity - 125 gallons/473 L for PureSource Ultra II ice and water filter
- Rated service flow -.65 gallons per minute
- Operating Temp: Min. 33°F, Max.100°F
- Maximum Rated Pressure - 100 lbs/in2
- Recommended Minimum Operating Pressure: 30 lbs/in2
To replace the PureSource Ultra II water filter:
It is not necessary to turn the water supply off to change the filter. Be ready to wipe up any small amounts of water released during the filter replacement. (Instructional video of procedure can be found on Frigidaire.com.)
- Pull forward and then push down on front edge of filter cover. Cover will tilt down and expose water filter.
- Remove the old filter by rotating it counter-clockwise (to the left) 90 degrees to release it.
- Slide the old filter cartridge straight out of the housing and discard it.
- Unpackage the new filter cartridge and remove any protective caps from filter before installing. Slide it into the filter housing as far as it will go with the grip end vertical.
- Push lightly inward on the filter while rotating it clockwise (to the right). The filter will then pull itself inward as it is rotated. Rotate the filter 90 degrees until it stops and the grip end is horizontal. A very light click may be heard as the filter locks into place.
- Press a drinking glass against the water dispenser while checking for any leaks at the filter housing. Any spurts and sputters that occur as the system purges air out of the dispenser system are normal.
- Continue dispensing water for 3-4 minutes. It may be necessary to empty and refill the container several times.
- To reset filter alert, press and hold the Reset Water Filter on the display for 3 seconds. Tone will sound once it has been reset.
- Replace filter cover by pushing up and snapping into place.
CARE AND CLEANING
Care and Cleaning Tips
Keeping the refrigerator clean maintains its appearance and prevents odor build-up. Wipe up any spills immediately and clean the freezer and fresh food compartments at least twice a year.
![]()
NOTE
Do not use abrasive cleaners such as window sprays, scouring cleansers, flammable fluids, cleaning waxes, concentrated detergents, bleaches, or cleansers containing petroleum products on plastic parts, interior doors, gaskets, or cabinet liners. Do not use scouring pads or other abrasive cleaning materials.
- Never use metallic scouring pads, brushes, abrasive cleaners, or strong alkaline solutions on any surface.
- Never use CHLORIDE or cleaners with bleach to clean stainless steel.
- Do not wash any removable parts in a dishwasher.
![]()
NOTE
When setting temperature controls to turn off cooling, power to lights and other electrical components will continue until the power cord is unplugged from the wall outlet.
- Always unplug the electrical power cord from the wall outlet before cleaning.
- Remove adhesive labels by hand. Do not use razor blades or other sharp instruments which can scratch the appliance surface.
- Do not remove the serial plate. Removal of the serial plate voids the warranty.
- Before moving refrigerator, raise the anti-tip brackets so the rollers will work correctly. This will prevent the floor from being damaged.
Refer to the guide on the next page for details on caring and cleaning specific areas of refrigerator.
![]()
- Pull the refrigerator straight out to move it. Shifting it from side to side may damage flooring. Be careful not to move the refrigerator beyond the plumbing connections.
- Damp objects stick to cold metal surfaces. Do not touch refrigerated surfaces with wet or damp hands.
![]()
When storing or moving refrigerator in freezing temperatures, be sure to completely drain the water supply system. Failure to do so could result in water leaks when the refrigerator is put back into service. Contact a service representative to perform this operation.
Vacation and moving tips
| Occasion Tips |
| Short Vacations | - Leave refrigerator operating during vacations of 3 weeks or less.
- Use all perishable items from refrigerator compartment.
- Turn automatic ice maker off and empty ice bucket, even if only away a few days.
|
| Long Vacations | - Remove all food and ice if leaving for one month or more.
- Turn the cooling system off (see CONTROLS AND SETTINGS for the location of On/Off) and disconnect the power cord.
- Turn the water supply valve to closed.
- Clean the interior thoroughly.
- Leave both doors open to prevent odors and mold build-up. Block the doors open if necessary.
|
| Moving | - Unplug the unit.
- Remove all food and ice.
- If using a handcart, load from the side.
- Adjust rollers all the way up to protect them during sliding or moving.
- Pad cabinet to avoid scratching the surface.
|
Care & Cleaning Tips
| Part | What To Use | Tips and Precautions |
| Interior & Door Liners | - Soap and water
- Baking soda and water
| Use two tablespoons of baking soda in one quart of warm water. Be sure to wring excess water out of sponge or cloth before cleaning around controls, light bulb or any electrical part. |
| Door Gaskets | | Wipe gaskets with a clean soft cloth. |
| Drawers & Bins | | Use a soft cloth to clean drawer runners and tracks. |
| Glass Shelves | - Soap and water
- Glass cleaner
- Mild liquid sprays
| Allow glass to warm to room temperature before immersing in warm water. |
| Exterior & Handles | - Soap and water
- Non Abrasive Glass Cleaner
| Do not use commercial household cleaners containing ammonia, bleach or alcohol to clean handles. Use a soft cloth to clean smooth handles or exterior. DO NOT use a dry cloth to clean smooth doors. |
| Exterior & Handles (Stainless Steel Models Only) | - Soap and water
- Stainless Steel Cleaners
| Never use CHLORIDE or cleaners with bleach to clean stainless steel. Clean stainless steel front and handles with non-abrasive soapy water and a dishcloth. Rinse with clean water and a soft cloth. Use a non-abrasive stainless steel cleaner. These cleaners can be purchased at most home improvement or major department stores. Always follow manufacturer's instructions. Do not use household cleaners containing ammonia or bleach. NOTE: Always clean, wipe and dry with the grain to prevent scratching. Wash the rest of the cabinet with warm water and mild liquid detergent. Rinse well, and wipe dry with a clean soft cloth. Stainless steel cleaning supplies can be purchased from Frigidaire.com |
TROUBLESHOOTING
Let us help you troubleshoot your concern! This section will help you with common issues. If you need us, visit our website, chat with an agent, or call us. We may be able to help you avoid a service visit. If you do need service, we can get that started for you!
1-800-374-4432 (United States)
Frigidaire.com
1-800-265-8352 (Canada)
Frigidaire.ca
| Concern | Potential Cause | Common Solution |
| Automatic Ice Maker |
| Ice maker is not making any ice. | - Ice maker is turned off.
- Refrigerator is not connected to water line or water valve is not open.
- The water supply line is kinked.
- The water filter is not seated properly.
- The water filter may be clogged with foreign material.
| - Turn on ice maker. For the fresh food ice maker, press ice maker onoff button once.
- Connect the unit to the household water supply and ensure the water valve is open.
- Ensure that the supply line does not kink when the refrigerator is pushed into place against the wall.
- Remove and re-install the water filter. Be sure to seat it fully into the locked position.
- If water dispenses slowly or not at all, or if the filter is six months old or older, it should be replaced.
|
| Ice maker is not making enough ice. | - Ice maker is producing less ice than expected.
- The water filter may be clogged with foreign material.
- The water supply line is kinked.
- Water pressure is extremely low. Cut-off and cut-on pressures are too low (well systems only).
- Reverse osmosis system is in regenerative phase.
| - The fresh food ice maker will produce approximately 3.2 to 3.7 pounds of ice every 24 hours depending on usage conditions. The freezer ice maker will produce 2 to 2.5 pounds of ice every 24 hours depending on usage conditions.
- If water dispenses slower than normal, or if the filter is six months old or older, it should be replaced.
- Ensure that the supply line does not kink when the refrigerator is pushed into place against the wall.
- Have someone turn up the cut-off and cut-on pressure on the water pump system (well systems only).
- It is normal for a reverse osmosis system to be below 20 psi during the regenerative phase.
|
| Automatic Ice Maker (continued) |
| Ice cubes are freezing together. | - Ice cubes are not being used frequently enough or interruption of power for prolonged time.
- Ice cubes are hollow (shells of ice with water inside). The hollow cubes break open in the bin and leak their water onto existing ice, which causes it to freeze together.
| - Remove ice container and discard ice. The ice maker will produce fresh supply. Ice should be used at least twice weekly to keep the cubes separated.
- This generally occurs when the ice maker does not get enough water. This is usually the result of a clogged water filter or restricted water supply. Replace the water filter and if the condition still occurs, check to see if the water valve is not turned on all the way or if there is a kinked water supply line.
|
| Dispenser (Ice & Water) |
| Dispenser will not dispense ice. | - There is no ice in the bin to be dispensed.
- The refrigerator doors are not completely closed.
- Dispenser paddle has been pressed too long and the dispenser motor has overheated.
| - See the Ice maker is not making any ice.
- Be sure the refrigerator doors are completely closed.
- The motor overload protector will reset in about three minutes and then ice can be dispensed.
|
| Ice dispenser is jammed. | - Ice has melted and frozen around auger due to infrequent use, temperature fluctuations, and/or power outages.
- Ice cubes are jammed between ice maker and back of ice container.
| - Remove ice container, thaw, and empty the contents. Clean container, wipe dry, and replace in proper position. When new ice is made, dispenser should operate.
- Remove ice cubes that are jamming the dispenser.
|
| Dispenser will not dispense water. | - Water filter not seated properly.
- Water filter is clogged.
- Household water line valve is not open.
| - Remove and reinstall the water filter. For PureSource Ultra II, be sure to rotate it to the right until it stops and the grip end is vertical.
- Replace filter cartridge. Be sure to rotate it to the right until it stops and the grip end is vertical.
- Open household water line valve. See CONCERN column under Automatic Ice Maker.
|
| Dispenser (Ice & Water) (continued) |
| Water not cold enough. | - As warmer tap water goes through the filter and enters the water supply system, the chilled water is pushed through to the dispenser. Once the chilled water is used up, it will take several hours to bring the freshly replaced water to a cooler temperature.
| - Add ice to cup or container before dispensing water.
Note: Only first 26 ounces are chilled. |
| Water has an odd taste and/or odor. | - Water has not been dispensed for an extended period of time.
- Unit not properly connected to cold water line.
- Filter needs to be replaced.
| - Draw and discard 10-12 glasses of water to freshen the supply.
- Connect unit to cold water line that supplies water to the kitchen faucet.
- Replace water filter per instructions in this manual.
|
| Opening/Closing Of Doors/Drawers |
| Door(s) will not close. | - Door was closed too hard, causing other door to open slightly.
- Refrigerator is not level. It rocks on the floor when moved slightly.
- Refrigerator is touching a wall or cabinet.
- Food/packaging is obstructing the door from closing.
- Flipper mullion on left fresh food door is not in the correct position.
| - Close both doors gently.
- Adjust leveling legs. Ensure floor is level and solid, and can adequately support the refrigerator. Contact a carpenter to correct a sagging or sloping floor.
- Ensure floor is level and solid, and can adequately support the refrigerator. Contact a carpenter to correct a sagging or sloping floor.
- Make sure there is no food/ packaging blocking the doorway.
- Ensure the flipper mullion is in the correct position to allow the door to close. See Flipper Mullion in INSTALLATION.
|
| Drawers are difficult to move. | - Food is touching shelf on top of drawer.
- Track that drawers slide on is dirty.
| - Remove top layer of items in drawer.
- Ensure drawer is properly installed on track.
- Clean drawer, rollers, and track. See CARE AND CLEANING.
|
| Running of Refrigerator |
| Compressor does not run. | - Refrigerator is in defrost cycle.
- Plug at electrical outlet is disconnected.
- House fuse blown or tripped circuit breaker.
- Power outage.
| - This is normal for a fully automatic defrost refrigerator. The defrost cycle occurs periodically, lasting about 30 minutes.
- Ensure plug is tightly pushed into outlet.
- Check/replace fuse with a 15 amp time-delay fuse. Reset circuit breaker.
- Check house lights. Call local electric company.
|
| Refrigerator seems to run too much or too long. | - The variable speed compressor is designed to run 100% of the time except during the defrost cycle. At times it will run faster, such as after a defrost cycle.
| - It is normal for the compressor to run continuously except during defrost mode.
|
| Digital Temperature Setting Display |
| Digital temperature displays an error. | - Electronic control system has detected a performance problem.
| - Contact Electrolux Customer Care for assistance with any errors or codes flashing in the display by calling 1-800-374-4432.
|
| Water/Moisture/Frost Inside Refrigerator |
| Moisture collects on inside of refrigerator walls. | - Weather is hot and humid.
- Flipper mullion
| - The rate of frost buildup and internal sweating increases.
- Adjust flipper mullion. (See Flipper Mullion in INSTALLATION.)
|
| Water collects on bottom side of drawer cover. | - Vegetables contain and give off moisture.
| - It is not unusual to have moisture on the bottom side of the cover.
- Both crispers contain an automatic humidity control, which should adjust automatically to the varying levels of moisture inside the drawer without creating additional condensation or drying out the air inside the crisper drawer, works with various types of produce. If excess moisture is noticed, check to verify humidity membrane is not damaged and replace as necessary.
|
| Water collects in bottom of drawer. | - Washed vegetables and fruit drain while in the drawer.
| - Dry items before putting them in the drawer. Water collecting in bottom of drawer is normal.
|
| Water/Moisture/Frost Outside Refrigerator |
| Moisture collects on outside of refrigerator or between doors. | | - This is normal in humid weather. When humidity is lower, the moisture should disappear.
|
| Food/Drinks in Fresh Food Compartment/Custom-Flex Drawer |
| Food is freezing. | - Temperature setting is too low.
- Temperature sensor is covered by food (right side of fresh food area).
- Food is covering the air ports.
| - Move the setting to a higher degree.
- Allow space for air flow to the sensor.
- Allow space between the air ports and the food.
|
![]()
Please read all instructions before using this refrigerator.
Safety Definitions
This is the safety alert symbol. It is used to alert of potential personal injury hazards. Obey all safety messages that follow this symbol to avoid possible injury or death.
![]()
DANGER indicates an imminently hazardous situation which, if not avoided, will result in death or serious injury.
![]()
WARNING indicates a potentially hazardous situation which, if not avoided, could result in death or serious injury.
![]()
CAUTION indicates a potentially hazardous situation which, if not avoided, may result in minor or moderate injury.
![]()
IMPORTANT indicates installation, operation or maintenance information which is important but not hazard-related.
![]()
![]()
DANGER Risk of fire or explosion. Flammable refrigerant used. Do not use mechanical devices to defrost refrigerator. Do not puncture refrigerant tubing.
DANGER Risk of fire or explosion. Flammable refrigerant used. To be repaired only by trained service personnel. Use only manufacturerauthorized service parts. Any repair equipment used must be designed for flammable refrigerants. Follow all manufacturer repair instructions. Do not puncture refrigerant tubing.
![]()
![]()
CAUTION Risk of fire or explosion. Dispose of refrigerator properly in accordance with the applicable federal or local regulations. Flammable refrigerant used.
CAUTION Risk of fire or explosion due to puncture of refrigerant tubing. Follow handling instructions carefully. Flammable refrigerant used.
![]()
CALIFORNIA RESIDENTS ONLY Cancer and Reproductive Harm www.P65Warnings.ca.gov
Child Safety
Destroy or recycle the carton, plastic bags, and any exterior wrapping material immediately after the refrigerator is unpacked. Children should NEVER use these items to play. Cartons covered with rugs, bedspreads, plastic sheets or stretch wrap may become airtight chambers, and can quickly cause suffocation.
Safety Instructions
- DO NOT store or use gasoline, or other flammable liquids in the vicinity of this or any other appliance. Read product labels for warnings regarding flammability and other hazards.
- DO NOT operate the refrigerator in the presence of explosive fumes.
- Avoid contact with any moving parts of automatic ice maker.
- Remove all staples from the carton. Staples can cause severe cuts, and also destroy finishes if they come in contact with other appliances or furniture.
![]()
Do not use electrical appliances inside the food storage compartments of the appliance unless they are of the type recommended by the manufacturer.
Proper Disposal of your Appliance
Risk of child entrapment
Child entrapment and suffocation are not problems of the past. Junked or abandoned refrigerators or freezers are still dangerous – even if they will sit for "just a few days". When disposing of an old refrigerator or freezer, please follow the instructions below to help prevent accidents.
Proper Disposal of Refrigerators/Freezers
We strongly encourage responsible appliance recycling/disposal methods. Check with the utility company or visit energystar.gov/recycle for more information on recycling an old refrigerator.
Before disposing of an old appliance:
- Remove doors.
- Leave shelves in place so children may not easily climb inside.
- Have refrigerant removed by a qualified service technician.
![]()
![]()
CFC/HCFC Disposal
Some old refrigerators may have a cooling system that used CFCs or HCFCs (chlorofluorocarbons or hydrochlorofluorocarbons). CFCs and HCFCs are believed to harm stratospheric ozone if released to the atmosphere. Other refrigerants may also cause harm to the environment if released to the atmosphere. If disposing of an old refrigerator, make sure the refrigerant is removed for proper disposal by a qualified technician. Intentionally released refrigerant may subject one to fines and imprisonment under provisions of environmental legislation.
- The refrigerator must be plugged into its own dedicated 115 Volt, 60 Hz., 15 Amp, AC only electrical outlet. The power cord of the appliance is equipped with a three-prong grounding plug for protection against electrical shock hazards. It must be plugged directly into a properly grounded three prong receptacle. The receptacle must be installed in accordance with local codes and ordinances. Consult a qualified electrician. Avoid connecting refrigerator to a Ground Fault Interrupter (GFI) circuit. Do not use an extension cord or adapter plug.
- If the power cord is damaged, it should be replaced by an authorized service technician to prevent any risk.
- Never unplug the refrigerator by pulling on the power cord. Always grip the plug firmly, and pull straight out from the receptacle to prevent damaging the power cord.
- Unplug the refrigerator before cleaning and before replacing a light bulb to avoid electrical shock.
- Performance may be affected if the voltage varies by 10% or more. Operating the refrigerator with insufficient power can damage the compressor. Such damage is not covered under the warranty.
- Do not plug the unit into an electrical outlet controlled by a wall switch or pull cord to prevent the refrigerator from being turned off accidentally.
![Frigidaire - GRQC2255BF - Electrical information Electrical information]()
![]()
Documents / Resources
References
Download manual
Here you can download full pdf version of manual, it may contain additional safety instructions, warranty information, FCC rules, etc.
Download Frigidaire GRQC2255BF - Gallery 21.5 Cu. Ft. Counter-Depth 4-Door Refrigerator Manual
Need help?
Do you have a question about the GRQC2255BF and is the answer not in the manual?
Questions and answers