Advertisement

Before cleaning, make sure all controls are off and the cooktop is cool. Always follow label instructions on cleaning products.
Soap, water, and a soft cloth or sponge are suggested first, unless otherwise noted. Food spills containing acids, such as vinegar and tomato, should be cleaned as soon the cooktop is cool. These spills may affect the finish.
| Surface Type | Cleaning Recommendation |
| Control Knobs | The knobs should be cleaned with soap and water. Do not clean knobs in the dishwasher or use abrasive cleaners or steel wool. To remove the knobs, be sure the knobs are in the OFF position. Do not remove the seals under the knobs. |
| Burner Grates | Soap and Water: Use a nonabrasive plastic scrubbing pad and mildly abrasive cleanser, soap, and water. Dishwasher: The grates may be cleaned in the dishwasher. Remove any burnt-on food prior to placing the grates in the lowest rack in the dishwasher. To avoid chipping, do not bang grates against each other or hard surfaces, such as cast iron cookware. Although the grates are durable, they will gradually lose their shine due to exposure to high temperatures. |
| Burner Caps | Use a nonabrasive plastic scrubbing pad and mildly abrasive cleanser, soap, and water. Do not place caps in the dishwasher or reassemble caps on burners when wet. |
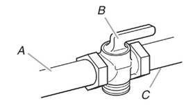
| Burner Base | The holes in the burner bases must be kept clean for proper ignition and a complete, even flame. Refer to "Cleaning the Burners: Tips." |
| Stainless Steel Cooktop Surface | For best results, use a soft cloth or non-scratch sponge. Rub in direction of the grain to avoid damaging the surface. Use all-purpose cleaner, such as affresh®† Kitchen and Appliance Cleaner, Part Number W10355010. For stainless steel finishes, use affresh® Stainless Steel Cleaner, Part Number W10355016. Do not use scouring pads, abrasive cleaners, cooktop cleaner, steel wool pads, gritty washcloths, or abrasive paper towels. To order affresh® cleaners, refer to the Quick Start Guide for ordering information. |
| Porcelain Enamel Cooktop Surface (on some models) | Use a nonabrasive scrubbing pad and glass cleanser or a mild liquid cleaner, such as affresh® Kitchen and Appliance Cleaner, Part Number W10355010. |
| Griddle (on some models) | Use soap and water or mild detergent. To avoid damaging the nonstick surface, do not clean the griddle in the dishwasher or use abrasive cleaners. |
The burners should be kept clean. Spillovers should be cleaned immediately since they can clog the openings in the burners.
Before cleaning, make sure all controls are OFF and the cooktop is cool. For more information, see the "General Cleaning" section.
Check local codes and consult gas supplier. Check existing gas supply and electrical supply. See "Electrical Requirements" and "Gas Supply Requirements" sections.
NOTE: Be sure to purchase only Whirlpool factory-certified parts and accessories for your appliance. Your installation may require additional parts. To order, refer to the contact information referenced in your Quick Start Guide.
Observe all governing codes and ordinances. Do not obstruct flow of combustion and ventilation air.
To avoid damage, check with your builder or cabinet supplier to make sure that the materials used will not discolor, delaminate or sustain other damage.
The installation of this cooktop must conform to the Manufactured Home Construction and Safety Standard, Title 24 CFR, Part 3280 (formerly the Federal Standard for Mobile Home Construction and Safety, Title 24, HUD Part 280). When such standard is not applicable, use the Standard for Manufactured Home Installations, ANSI A225.1/NFPA 501A or local codes.
In Canada, the installation of this range must conform with the current standards CAN/CSA-Z240.1, latest edition, or with local codes.


| Cutout (Product Opening) Dimensions | |||||||||
| 30" (76.2 cm) Models | |||||||||
| Models | A | B | |||||||
| Minimum | Recommended | Maximum | Minimum | Recommended | Maximum | ||||
| KCGS550 and KCGS950 | 281⁄2" (72.4 cm) | 287⁄8" (73.4 cm) | 295⁄16" (74.3 cm) | 191⁄2" (49.5 cm) | 1913⁄16" (50.2 cm) | 20" (50.8 cm) | |||
| All Other 30" (76.2 cm) Models | 281⁄2" (72.4 cm) | 287⁄8" (73.4 cm) | 295⁄16" (74.3 cm) | 19" (48.3 cm) | 191⁄2" (49.5 cm) | 20" (50.8 cm) | |||
| 36" (91.4 cm) Models | |||||||||
| KCGS556 and KCGS956 | 347⁄8" (88.4 cm) | 353⁄16" (89.4 cm) | 355⁄8" (90.3 cm) | 191⁄2" (49.5 cm) | 1913⁄16" (50.2 cm) | 20" (50.8 cm) | |||
| All Other 36" (91.4 cm) Models | 337⁄8" (86.0 cm) | 345⁄16" (87.0 cm) | 351⁄4" (89.5 cm) | 19" (48.3 cm) | 191⁄2" (49.5 cm) | 20" (50.8 cm) | |||
| Side Walls (Combustible Surfaces) | |||||||||
| Models | H and I | ||||||||
| KCGS5 and KCGS9 | H and I added together must be at least 48" (122.0 cm), with each side individually being at least 8" (20.3 cm). | ||||||||
| KCGS350, KCGS356, MGC9536, WCG97US0, WCG97US6 | H and I added together must be at least 48" (122.0 cm), with each side individually being at least 12" (30.5 cm). | ||||||||
| All Other Models | Both have to be 8" (20.3 cm) or more. | ||||||||
| Back Wall and Countertop Front Dimensions | |||||||||
| Models | C | D | E | ||||||
| KCGS550 and KCGS950 | 25" (63.5 cm) | 27/8" (7.3 cm) | 23/4" (6.9 cm) | ||||||
| All Other Models | 31/8" (7.9 cm) | ||||||||
NOTE: After making the countertop cutout, some installations may require notching down the base cabinet side walls to clear the cooktop base. To avoid this modification, use a base cabinet with sidewalls wider than the cutout.
If cabinet has a drawer, a 4" (10.2 cm) depth clearance from the countertop to the top of the drawer (or other obstruction) in base cabinet is required. The drawer depth may need to be shortened to avoid interfering with the regulator.
If a built-in wall oven is to be installed below this cooktop, the grounded outlet and gas supply piping must be located in an adjacent cabinet. If installing a range hood or microwave hood combination above the cooking surface, follow the range hood or microwave hood combination installation instructions for dimensional clearances above the cooktop surface.
This cooktop and its gas and electrical supply sources must be installed before the undercounter built-in wall oven is installed.
Electrical Shock Hazard Plug into a grounded 3 prong outlet.
Do not remove ground prong.
Do not use an adapter.
Do not use an extension cord.
Failure to follow these instructions can result in death, fire, or electrical shock.
The cooktop must be electrically grounded in accordance with local codes and ordinances, or in the absence of local codes, with the National Electrical Code, ANSI/NFPA 70 or Canadian Electrical Code, CSA C22.1.
This cooktop is equipped with an electronic ignition system that will not operate if plugged into an outlet that is not properly polarized.
If codes permit and a separate ground wire is used, it is recommended that a qualified electrical installer determine that the ground path is adequate.
A copy of the above code standards can be obtained from:
National Fire Protection Association
1 Batterymarch Park
Quincy, MA 02169-7471
CSA International
8501 East Pleasant Valley Road Cleveland, OH 44131-5575
Explosion Hazard
Use a new CSA International approved gas supply line.
Install a shut-off valve.
Securely tighten all gas connections.
If connected to propane, have a qualified person make sure gas pressure does not exceed 14ʺ (36 cm) water column.
Examples of a qualified person include: licensed heating personnel, authorized gas company personnel, and authorized service personnel.
Failure to do so can result in death, explosion, or fire.
Observe all governing codes and ordinances.
This installation must conform with all local codes and ordinances. In the absence of local codes, installation must conform with the National Fuel Gas Code, ANSI Z223.1/NFPA 54 or, in Canada, the Natural Gas and Propane Installation Code, CSA B149.1 - latest edition.
Leak testing of the cooktop must be conducted according to the manufacturer's instructions.
Natural Gas:
This cooktop is factory set for use with Natural gas. If converting to Propane gas, see the following "Propane Gas Conversion" section. The model/serial rating plate located on the underside of the cooktop base has information on the types of gas that can be used. If the types of gas listed do not include the type of gas available, check with the local gas supplier.
Propane Gas Conversion:
Conversion must be done by a qualified service technician.
No attempt shall be made to convert the cooktop from the gas specified on the model/serial/rating plate for use with a different gas without consulting the serving gas supplier. See the Gas Conversion instructions provided in the package containing literature.
The gas pressure regulator supplied with this cooktop must be used. The inlet pressure to the regulator should be as follows for proper operation:
Natural Gas:
Minimum pressure: 5" (12.7 cm) WCP
Maximum pressure: 7" to 14" (17.8 cm to 35.5 cm) WCP
Propane Gas:
Minimum pressure: 10" (25.4 cm) WCP
Maximum pressure: 14" (35.5 cm) WCP
Contact local gas supplier if you are not sure about the inlet pressure.
Input ratings shown on the model/serial/rating plate are for elevations up to 2,000 ft (609.6 m).
For elevations above 2,000 ft (609.6 m), ratings should be reduced at a rate of 4% for each 1,000 ft (304.8 m) above sea level (not applicable for Canada).
Gas supply pressure for testing regulator must be at least 1" (2.5 cm) water column pressure above the manifold pressure shown on the model/serial rating plate.
Line pressure testing above 1/2 psi (3.5 kPa) gauge 14" (35.5 cm) WCP
The cooktop and its individual shutoff valve must be disconnected from the gas supply piping system during any pressure testing of that system at test pressures in excess of 1/2 psi (3.5 kPa).
Line pressure testing at 1/2 psi (3.5 kPa) gauge 14" (35.5 cm) WCP or lower
The cooktop must be isolated from the gas supply piping system by closing its individual manual shut-off valve during any pressure testing of the gas supply piping system at test pressures equal to or less than 1/2 psi (3.5 kPa).
Excessive Weight Hazard
Use two or more people to move and install or uninstall appliance.
Failure to do so can result in back or other injury.
Decide on the final location for the cooktop. Avoid drilling into or severing existing wiring during installation.
Explosion Hazard
Use a new CSA International approved gas supply line.
Install a shut-off valve.
Securely tighten all gas connections.
If connected to propane, have a qualified person make sure gas pressure does not exceed 14ʺ (36 cm) water column.
Examples of a qualified person include: licensed heating personnel, authorized gas company personnel, and authorized service personnel.
Failure to do so can result in death, explosion, or fire.

Use only pipe-joint compound made for use with Natural and propane gas.
Do not use TEFLON® tape. You will need to determine the fittings required depending on your installation.
Electrical Shock Hazard Plug into a grounded 3 or 4 prong outlet.
Do not remove ground prong.
Do not use an adapter.
Do not use an extension cord.
Failure to follow these instructions can result in death, fire, or electrical shock
Initial lighting and gas flame adjustments
Surface burners use electronic igniters in place of standing pilots. When the cooktop control knob is turned to the "IGNITE" position, the system creates a spark to light the burner. This sparking continues, as long as the control knob is turned to "IGNITE".
Check Operation of Surface Burners
Push in and turn the surface burners control knobs to light.
The surface burner flame should light within 4 seconds. The first time a surface burner is lit, it may take longer that 4 seconds to light because of air in the gas line.
Check the flame on "HIGH" for a blue color. It should be clean and soft in character. No yellow tip, blowing or lifting of flame should occur. Occasional orange flashes are normal and reflect different elements in the air or gas.
After verifying the proper burner operation, turn the control knobs to "OFF."
If burners do not light properly:
Recheck operation of surface burners. If a burner does not light at this point, contact your dealer or authorized service company for assistance.
Check Flame Height
Adjust the height of surface burner flames. The surface burner low flame should be a steady blue flame approximately 1/4" (6.4 mm) high.

Adjustment for Single Valve:
Dual valve adjustments must be performed by a qualified installer or service agency.
Power failure
In case of prolonged power failure, the surface burners can be lit manually. Hold a lit match near a burner and turn knob counterclockwise to IGNITE/Lite/
. After burner lights, turn knob to setting. Do not use a grill or griddle accessory during a power failure as the vent fan will not operate.
Your safety and the safety of others are very important.
We have provided many important safety messages in this manual and on your appliance. Always read and obey all safety messages.
This is the safety alert symbol.
This symbol alerts you to potential hazards that can kill or hurt you and others.
All safety messages will follow the safety alert symbol and either the word "DANGER" or "WARNING." These words mean:
You can be killed or seriously injured if you don't immediately follow instructions.
You can be killed or seriously injured if you don't follow instructions.
All safety messages will tell you what the potential hazard is, tell you how to reduce the chance of injury, and tell you what can happen if the instructions are not followed.
If the information in these instructions is not followed exactly, a fire or explosion may result causing property damage, personal injury or death.
Never Operate the Top Surface Cooking Section of this Appliance Unattended
DO NOTATTEMPT TO EXTINGUISH AN OIL/GREASE FIRE WITH WATER.
Gas leaks cannot always be detected by smell.
Gas suppliers recommend that you use a gas detector approved by UL or CSA.
For more information, contact your gas supplier.
If a gas leak is detected, follow the "What to do if you smell gas" instructions.
Do not install a ventilation system that blows air downward toward this gas cooking appliance. This type of ventilation system may cause ignition and combustion problems with this gas cooking appliance resulting in personal injury or unintended operation.
In the State of Massachusetts, the following installation instructions apply:
To reduce the risk of fire, electrical shock, injury to persons, or damage when using the cooktop, follow basic precautions, including the following:
NEVER use this appliance as a space heater to heat or warm the room. Doing so may result in carbon monoxide poisoning and overheating of the cooktop.
For units with ventilating hood
For smart enabled ranges and ovens

Here you can download full pdf version of manual, it may contain additional safety instructions, warranty information, FCC rules, etc.
Download KitchenAid KCGS550ESS - 30" 5-Burner Gas Cooktop Manual
Advertisement




Need help?
Do you have a question about the KCGS550ESS and is the answer not in the manual?
Questions and answers