Husqvarna YTH18542 - Riding Lawn Mower Manual
![]()
PRODUCT SPECIFICATIONS
| Gasoline Capacity and type: | 2.5 Gallons (9,46 L) Unleaded Regular |
Oil Type: (API: SJ-SN) | SAE 30 (above 32°F/0°C) SAE 5W30 (above 32°F/0°C) |
| Oil Capacity: | w/Filter: | 48oz. (1,4 L) |
| w/o Filter: | 44 oz. (1,3 L) |
| Spark Plug: | Champion XC92YC Gap: .030"(0,76 mm) |
| Spark Plug Torque: | 180 lb-in (20 Nm) |
| Charging System: | 3 Amps Battery 5 Amps Headlights |
| Battery: | Amp/Hr: | 28 |
| Min. CCA: | 230 |
| Case Size: | U1R |
| Blade Bolt Torque: | 45-55 FT. LBS. (62-75 Nm) |
CUSTOMER RESPONSIBILITIES
- Read and observe the safety rules.
- Follow a regular schedule in maintaining, caring for and using your tractor.
- Follow the instructions under "Maintenance" and "Storage" sections of this manual.
- Wear proper Personal Protective Equipment (PPE) while operating this machine, including (at a minimum) sturdy footwear, eye protection, and hearing protection. Do not mow in shorts and/or, open toed footwear.
- Always let someone know you are outside mowing.
![]()
This tractor is equipped with an internal combustion engine and should not be used on or near any unim proved forest-covered, brush-covered or grass-cov ered land unless the engine's exhaust system is equipped with a spark arrester meeting applicable local or state laws (if any). If a spark arrester is used, it should be maintained in effective working order by the operator.
A spark arrester for the muffler is available through your nearest authorized service center/department.
In the state of California the above is required by law (Section 4442 of the California Public Resources Code). Other states may have similar laws. Federal laws apply on federal lands.
SUPPORT HELP
If you require assistance or have questions concerning the application, operation, maintenance or parts for your product:
UNASSEMBLED PARTS
![Husqvarna - YTH18542 - UNASSEMBLED PARTS UNASSEMBLED PARTS]()
ASSEMBLY
Your new tractor has been assembled at the factory with the exception of those parts left unassembled for shipping purposes.
A socket wrench set will make assembly easier. Standard wrench sizes are listed.
(1) 1/2" wrench
Tire pressure gauge
(2) 7/16" wrenches
Utility knife
Pliers
When right or left hand is mentioned in this manual, it means when you are in the operating po si tion (seated be hind the steering wheel).
TO REMOVE THE PRODUCT FROM CARTON
UNPACK CARTON
- Remove all accessible loose parts and parts cartons from carton.
- Cut along dotted lines on all four panels of carton. Remove end panels and lay side panels flat.
- Check for any additional loose parts or cartons and remove.
BEFORE REMOVING THE PRODUCT FROM SKID
CONNECT BATTERY
![]()
Do not short battery terminals by allowing a wrench or any other object to contact both terminals at the same time. Before connecting battery, remove metal bracelets, wristwatch bands, rings, etc. Positive terminal must be connected first to prevent sparking from accidental grounding.
NOTE: If this battery is put into service after month and year indicated on label (label is located between terminals) charge battery for minimum of one hour at 6-10 amps. (See "BATTERY" in the Maintenance section of this manual for charging instructions.)
- Determine battery location. Battery location will be under the seat or the hood.
- Lift seat pan or hood to raised position.
- Remove two terminal caps and discard.
- First connect RED battery cable to positive (+) terminal with bolt and nut as shown. Tighten securely. Slide terminal cover over terminal.
![Husqvarna - YTH18542 - ASSEMBLY - Connecting the battery ASSEMBLY - Connecting the battery]()
- Connect BLACK grounding cable to negative (-) terminal with remaining bolt and nut. Tighten securely.
- Lower seat pan or hood.
NOTE: For battery installation see "REPLACING BATTERY" in the Service and Adjustments section in this manual.
ADJUST SEAT
- Sit in seat.
- Lift up adjustment lever (A) and slide seat until a comfortable position is reached which allows you to press clutch/brake pedal all the way down.
![Husqvarna - YTH18542 - ASSEMBLY - Adjusting the seat ASSEMBLY - Adjusting the seat]()
- Release lever to lock seat in position.
NOTE: You may now roll your tractor off the skid. Follow the instructions below to remove the tractor from the skid.
![]()
Before starting, read, under stand and follow all in structions in the Operation section of this manual. Be sure tractor is in a well-ventilated area. Be sure the area in front of tractor is clear of other people and objects.
TO ROLL THE UNIT OFF SKID
See Operation section for location and function of controls
- Raise attachment lift lever to its highest position.
- Release parking brake by depressing clutch/brake pedal.
- Place freewheel control in "transmission disengaged" position (See "TO TRANSPORT" in the Operation section of this manual).
- Roll tractor forward off skid.
- Remove banding holding the deflector shield up against tractor.
Continue with the instructions that follow.
CHECK TIRE PRESSURE
The tires on your tractor were overinflated at the factory for shipping purposes. Correct tire pressure is important for best cutting performance.
- Reduce tire pressure to PSI shown on tires.
CHECK DECK LEVELNESS
For best cutting results, mower housing should be properly leveled. See "TO LEVEL MOWER HOUSING" in the Service and Adjustments section of this manual.
CHECK FOR PROPER POSITION OF ALL BELTS
See the figures that are shown for replacing motion and mower blade drive belts in the Service and Adjustments section of this manual. Verify that the belts are routed correctly.
CHECK BRAKE SYSTEM
After you learn how to operate your tractor, check to see that the brake is operating properly. See "TO CHECK BRAKE" in the Service and Adjustments section of this manual.
CHECKLIST
BEFORE YOU OPERATE YOUR NEW TRACT OR, WE WISH TO ENSURE THAT YOU RECEIVE THE BEST PERFORMANCE AND SATISFACTION FROM THIS QUALITY PRODUCT.
PLEASE REVIEW THE FOLLOWING CHECKLIST:
- All assembly instructions have been completed.
- No remaining loose parts in carton.
- Battery is properly prepared and charged.
- Seat is adjusted comfortably and tightened securely.
- All tires are properly inflated. (For shipping purposes, the tires were overinflated at the factory.)
- Ensure mower deck is properly leveled side-to-side/ front-to-rear for best cutting results. (Tires must be properly inflated for leveling.)
- Check mower and drive belts. Ensure they are routed properly around pulleys and inside all belt keepers.
- Check wiring. See that all connections are still secure and wires are properly clamped.
- Before driving tractor, ensure freewheel control is in "TRANSMISSION ENGAGED" position. (See "TO TRANSPORT" in the Operation section of this manual.)
WHILE LEARNING HOW TO USE YOUR TRACTOR, PAY EXTRA ATTENTION TO THE FOLLOWING IMPORTANT ITEMS:
- Engine oil is at proper level.
- Fuel tank is filled with fresh, clean, regular unleaded gasoline.
- Become familiar with all controls, their location and functions. Operate them before you start the engine.
- Ensure brake system is in safe operating condition.
- Ensure Operator Presence System and Reverse Operation System (ROS) are working properly. (See the Operation and Maintenance sections in this manual.)
- It is important to purge the transmission before operating your tractor for the first time. Follow proper starting and transmission purging instructions. (See "TO START ENGINE" and "PURGE TRANSMISSION" in the Operation section of this manual.)
OPERATION
These symbols may appear on your tractor or in literature supplied with the product. Learn and understand their meaning.
![Husqvarna - YTH18542 - OPERATION - Symbols description OPERATION - Symbols description]()
Failure to follow instructions could result in serious injury or death. The safety alert symbol is used to identify safety information about hazards which can result in death, serious injury and/or property damage.
![]()
indicates a hazard which, if not avoided, will result in death or serious injury.
![]()
indicates a hazard which, if not avoided, could result in death or serious injury.
![]()
indicates a hazard which, if not avoided, might result in minor or moderate injury.
![]()
when used without the alert symbol, indicates a situation that could result in damage to the tractor and/or engine.
HOT SURFACES indicates a hazard which, if not avoided, could result in death, serious injury and/or property damage.
FIRE indicates a hazard which, if not avoided, could result in death, serious injury and/or property damage.
KNOW YOUR DEVICE
READ THIS MANUAL AND SAFETY RULES BEFORE OPERATING YOUR TRACTOR
Compare the illustrations with your tractor to familiarize yourself with the locations of various controls and adjust ments. Save this manual for future reference.
![Husqvarna - YTH18542 - KNOW YOUR DEVICE KNOW YOUR DEVICE]()
Our tractors conform to the applicable safety standards of the American National Standards Institute.
- ATTACHMENT LIFT LEVER - Used to raise and lower the mower or other attachments mounted to your tractor.
- CLUTH/BRAKE PEDAL - Used for braking the tractor and starting the engine.
- PARKING BRAKE - Locks clutch/brake pedal into the brake position.
- THROTTLE CONTROL - Used for starting and controlling engine speed.
- ATTACHMENT CLUTCH SWITCH - Used to engage the mower blades, or other attach ments mounted to your tractor.
- IGNITION SWITCH - Used for starting and stopping the engine.
- REVERSE OPERATION SYSTEM (ROS) "ON" POSITION - Allows operation of mower or other powered attachment while in reverse.
- LIGHT SWITCH - Turns the headlights on and off.
- FORWARD DRIVE PEDAL - Used for forward movement of tractor.
- REVERSE DRIVE PEDAL - Used for reverse movement of tractor.
- FREEWHEEL CONTROL - Disengages transmission for pushing or slowly towing the tractor with the engine off.
![]()
The operation of any tractor can result in foreign objects thrown into the eyes, which can result in severe eye damage. Always wear safety glasses or eye shields while operating your tractor or performing any adjustments or repairs. We recommend standard safety glasses or a wide vision safety mask worn over spectacles.
HOW TO USE YOUR PRODUCT
TO SET PARKING BRAKE
Your tractor is equipped with an operator presence sensing switch. When engine is running, any attempt by the operator to leave the seat without first setting the parking brake will shut off the engine.
- Depress brake pedal (B) all the way down and hold.
- Pull parking brake lever (C) up and hold, release pressure from brake pedal (B), then release parking brake lever. Pedal should remain in brake position. Make sure parking brake will hold tractor secure
![Husqvarna - YTH18542 - OPERATION - SETTING THE PARKING BRAKE OPERATION - SETTING THE PARKING BRAKE]()
STOPPING
MOWER BLADES -
- To stop mower blades, place attachment clutch control in the "DISENGAGED" position (
).
![Husqvarna - YTH18542 - OPERATION - STOPPING THE MOWER BLADES OPERATION - STOPPING THE MOWER BLADES]()
(
) ATTACHMENT CLUTCH CONTROL "DISENGAGED"
(
) ATTACHMENT CLUTCH CONTROL "ENGAGED"
GROUND DRIVE -
- To stop ground drive, depress brake pedal into full "BRAKE" position.
![]()
FORWARD AND REVERSE DRIVE PEDALS RETURN TO NEUTRAL POSITION WHEN NOT DEPRESSED.
ENGINE -
- Move throttle control (D) between half and full speed (fast) position.
![Husqvarna - YTH18542 - OPERATION - STOPPING THE ENGINE OPERATION - STOPPING THE ENGINE]()
NOTE: Failure to move throttle control between half and full speed (fast) position, before stop ping may cause engine to "backfire".
- Turn ignition key (F) to "STOP" position and remove key. Always remove key when leaving tractor to prevent unauthorized use.
- Never use the cold weather starting position to stop the engine.
![]()
LEAVING THE IGNITION SWITCH IN ANY POSITION OTHER THAN "STOP" WILL CAUSE THE BATTERY TO BE DISCHARGED, (DEAD).
NOTE: Under certain conditions when tractor is standing idle with the engine running, hot engine exhaust gases may cause "browning" of grass. To eliminate this possibility, always stop engine when stopping tractor on grass areas.
![]()
Always stop tractor completely, as described above, and set parking brake before leaving the operator's position.
TO USE THROTTLE CONTROL
Always operate engine at full speed (fast).
- Operating engine at less than full speed (fast) reduces the engine's operating efficiency.
- Full speed (fast) of fers the best mower performance.
TO MOVE FORWARD AND BACKWARD
The direction and speed of movement is controlled by the forward and reverse drive pedals.
- Start tractor and release parking brake.
- Slowly depress forward (K) or reverse (L) drive pedal to begin movement. Ground speed increases the further down the pedal is depressed.
![Husqvarna - YTH18542 - OPERATION - MOVING FORWARD AND BACKWARD OPERATION - MOVING FORWARD AND BACKWARD]()
TO ADJUST MOWER CUTTING HEIGHT
The position of the attachment lift lever (A) determines the cutting height.
![Husqvarna - YTH18542 - OPERATION - ADJUSTING THE MOWER CUTTING HEIGHT OPERATION - ADJUSTING THE MOWER CUTTING HEIGHT]()
- Put attachment lift lever in desired cutting height slot.
The cutting height range is approximately 1 to 4" (25,4 to 101,6 mm). The heights are measured from the ground to the blade tip with the engine not running. These heights are approximate and may vary depending upon soil conditions, height of grass and types of grass being mowed.
- The average lawn should be cut to approximately 2-1/2" (63,5 mm) during the cool season and to over 3" (76,2 mm) during hot months. For healthier and better looking lawns, mow often and after moderate growth.
- For best cutting performance, grass over 6" (152,4 mm) in height should be mowed twice. Make the first cut relatively high; the second to desired height.
TO ADJUST GAUGE WHEELS
Gauge wheels are properly adjusted when they are slightly off the ground when mower is at the desired cutting height in operating position. Gauge wheels then keep the deck in proper position to help prevent scalping in most terrain conditions.
NOTE:Adjust gauge wheels with tractor on a flat level surface.
- Adjust mower to desired cutting height. (See "TO ADJUST MOWER CUTTING HEIGHT" in the Operation section of this manual.)
- With mower in desired height of cut position, gauge wheels should be assembled so they are slightly off the ground. Install gauge wheel in appropriate hole as shown and tighten securely.
- Repeat for opposite side installing gauge wheel in same adjustment hole.
TO OPERATE MOWER
Your tractor is equipped with an operator presence sensing switch. Any attempt by the operator to leave the seat with the engine running and the attachment clutch engaged will shut off the engine. You must remain fully and centrally positioned in the seat to prevent the engine from hesitating or cutting off when operating your equipment on rough, rolling terrain or hills.
- Select desired height of cut. (See "TO ADJUST THE DEVICE CUTTING HEIGHT".)
- Start mower blades by engaging attachment clutch control.
TO STOP MOWER BLADES
Disengage attachment clutch control.
![]()
Do not operate the mower without either the entire grass catcher, on mowers so equipped, or the deflector chute in place
![]()
REVERSE OPERATION SYSTEM (ROS)
Your tractor is equipped with a Reverse Operation System (ROS). Any attempt by the operator to travel in the reverse direction with the attachment clutch engaged will shut off the engine unless ignition key is placed in the ROS "ON" position.
![]()
Backing up with the attachment clutch engaged while mowing is strongly discouraged. Turning the ROS "ON", to allow reverse operation with the attachment clutch engaged, should only be done when the operator decides it is necessary to reposition the machine with the attachment engaged. Do not mow in reverse unless absolutely necessary.
USING THE REVERSE OPERATION SYSTEM -
Only use if you are certain no children or other bystanders will enter the mowing area.
- Depress brake pedal all the way down.
- With engine running, turn ignition key counterclockwise to ROS "ON" position.
![]()
- Look down and behind before and while backing.
- Slowly depress reverse drive pedal to start movement.
- When use of the ROS is no longer needed, turn the ignition key clockwise to engine "ON" position.
TO OPERATE ON HILLS
![]()
Do not drive up or down hills with slopes greater than 15° and do not drive across any slope.
- Choose the slowest speed before starting up or down hills.
- Avoid stopping or changing speed on hills.
- If stopping is absolutely necessary, push brake pedal quickly to brake position and engage parking brake.
- To restart movement, slowly release parking brake and brake pedal.
- Slowly depress appropriate drive pedal to slowest set ting.
- Make all turns slowly.
TO TRANSPORT
When pushing or towing your tractor, ensure transmission is disengaged by placing freewheel control in freewheeling position. Freewheel control is located at the rear drawbar of tractor.
- Raise attachment lift to highest position with attachment lift control.
- Pull freewheel control out and into the slot and release so it is held in the disengaged position.
- Do not push or tow tractor at more than two (2) mph (3,2 km/h).
- To reengage transmission, reverse above procedure.
NOTE: To protect hood from damage when transporting your tractor on a truck or a trailer, ensure hood is closed and secured to tractor. Use an appropriate means of tying hood to tractor (rope, cord, etc.).
TOWING CARTS AND OTHER ATTACHMENTS
Tow only the attachments that are recommended by and comply with specifications of the manufacturer of your tractor. Use common sense when towing. Too heavy of a load, while on a slope, is dangerous. Tires can lose traction with the ground and cause you to lose control of your tractor.
BEFORE STARTING THE ENGINE
CHECK ENGINE OIL LEVEL
The engine in your tractor has been shipped from the factory already filled with summer weight oil.
- Check engine oil with tractor on level ground.
- Remove oil fill cap/dipstick and wipe clean, reinsert the dipstick and screw cap tight, wait for a few seconds, remove and read oil level. If necessary, add oil until "FULL" mark on dipstick is reached. Do not overfill.
- For cold weather operation you should change oil for easier starting. (See "OIL VISCOSITY CHART" in the Maintenance section of this manual.)
- To change engine oil, see the Maintenance section in this manual.
ADD GASOLINE
- Fill fuel tank to bottom of filler neck. Do not overfill. Use fresh, clean, regular gasoline with a minimum of 87 octane. Do not mix oil with gasoline. Purchase fuel in quantities that can be used within 30 days to ensure fuel freshness.
![]()
Wipe off any spilled oil or fuel. Do not store, spill or use gasoline near an open flame.
![]()
WHEN OPERATING IN TEMPERATURES BELOW 32°F (0°C), USE FRESH, CLEAN WINTER GRADE GASOLINE TO HELP ENSURE GOOD COLD WEATHER STARTING.
![]()
Alcohol blended fuels (called gasohol or using ethanol or methanol) can attract moisture which leads to separation and formation of acids during storage. Acidic gas can damage the fuel system of an engine while in storage. To avoid engine problems, the fuel system should be emptied before storage of 30 days or longer. Drain the gas tank, start the engine and let it run until the fuel lines and carburetor are empty. Use fresh fuel next season. See Storage Instructions for additional information. Never use engine or carburetor cleaner products in the fuel tank or permanent damage may occur. Fuel stabilizer is an acceptable alternative in minimizing the formation of fuel gum deposits during storage. Add stabilizer to gasoline in fuel tank or storage container. Always follow the mix ratio found on stabilizer container. Run engine at least 10 minutes after adding stabilizer to allow the stabilizer to reach the carburetor. Do not empty the gas tank and carburetor if using fuel stabilizer.
TO START ENGINE
When starting the engine for the first time or if the engine has run out of fuel, it will take extra cranking time to move fuel from the tank to the engine.
- Ensure freewheel control is in the transmission engaged position.
- Sit on seat in operating position, depress brake pedal and set parking brake.
- Move attachment clutch to "DISENGAGED" position.
- Move throttle control to choke position.
NOTE: Before starting, read the warm and cold starting procedures below.
- Insert key into ignition and turn key clockwise to "START" position and release key as soon as engine starts. Do not run starter continuously for more than fifteen sec onds per minute. If the engine does not start after several attempts, move throttle control to fast position, wait a few minutes and try again. If engine still does not start, move the throttle control back to the choke position and retry.
WARM WEATHER STARTING (50°F/10°C and above)
- When engine starts, move the throttle control to the fast position.
- The attachments and ground drive can now be used. If the engine does not accept the load, restart the engine and allow it to warm up for one minute using the choke as described above.
COLD WEATHER STARTING (50°F/10°C and below)
- When engine starts, allow engine to run with the throttle control in the choke position until the engine runs roughly, then move throttle control to fast position. This may require an engine warm-up period from several seconds to several minutes, depending on the tem per a ture.
AUTOMATIC TRANSMISSION WARM UP
- Before driving the unit in cold weather, the trans mis sion should be warmed up as follows:
- Be sure the tractor is on level ground.
- Release the parking brake and let the brake slowly return to operating position.
- Allow one minute for transmission to warm up. This can be done during the engine warm up period.
- The attachments can also be used during the engine warm-up period after the transmission has been warmed up.
PURGE TRANSMISSION
![]()
Never engage or disengage freewheel lever while the engine is run ning.
To ensure proper operation and performance, it is recommended that the transmission be purged before operating tractor for the first time. This procedure will remove any trapped air inside the transmission which may have developed during shipping of your tractor.
![]()
SHOULD YOUR TRANSMISSION REQ UIRE REMOVAL FOR SERVICE OR REPLACEMENT, IT SHOULD BE PURGED AFTER REINSTALLATION BEFORE OPERATING THE TRACTOR.
- Place tractor safely on a level surface - that is clear and open - with engine off and parking brake set.
- Disengage transmission by placing freewheel control in disengaged position. (See "TO TRANSPORT" in this section of manual.)
- Sitting in the tractor seat, start engine. After the engine is running, move throttle control to slow position. Disengage parking brake
![]()
At any time, during step 4, there may be movement of the drive wheels.
- Depress forward drive pedal to full forward position, hold for five (5) seconds and release pedal. Depress reverse drive pedal to full reverse position, hold for five (5) seconds and release pedal. Repeat this procedure three (3) times.
- Shut-off engine and set parking brake.
- Engage transmission by placing freewheel control in engaged position. (See "TO TRANSPORT" in this section of manual.)
- Sitting in the tractor seat, start engine. After the engine is running, move throttle control to half (1/2) speed. Disengage parking brake.
- Drive tractor forward for approximately 5 feet (1,5 m) then backwards for 5 feet (1,5 m). Repeat this driving procedure three times.
Your transmission is now purged and now ready for normal operation.
MOWING TIPS
- DO NOT use tire chains when the mower housing is attached to tractor.
- Mower should be properly leveled for best mowing performance. See "TO LEVEL MOWER HOUSING" in the Service and Adjustments section of this manual.
- The left hand side of mower should be used for trim ming.
- Drive so that clippings are discharged onto the area that has been cut. Have the cut area to the right of the tractor. This will result in a more even distribution of clippings and more uniform cutting.
- When mowing large areas, start by turning to the right so that clippings will discharge away from shrubs, fences, driveways, etc. After one or two rounds, mow in the opposite direction making left hand turns until finished.
![]()
If grass is extremely tall, it should be mowed twice to reduce load and possible fire hazard from dried clip pings. Make first cut relatively high; the second to the desired height. - Do not mow grass when it is wet. Wet grass will plug mower and leave undesirable clumps. Allow grass to dry before mowing.
- Always operate engine at full throttle when mowing to ensure better mowing performance and proper discharge of material. Regulate ground speed by selecting a low enough gear to give the mower cutting performance as well as the quality of cut desired.
- When operating attachments, select a ground speed that will suit the terrain and give best performance of the attachment being used.
MAINTENANCE
| MAINTENANCE SCHEDULE | BEFORE EACH USE | EVERY 8 HOURS | EVERY 25 HOURS | EVERY 50 HOURS | EVERY 100 HOURS | EVERY SEASON | BEFORE STORAGE |
| TRACTOR | Check Brake Operation | ![]() | ![]() | | | | | |
| Check Tire Pressure | ![]() | ![]() | | | | | |
| Check Operator Presence and ROS Systems | ![]() | | | | | | |
| Check for Loose Fasteners | ![]() | | | | ![]() | | ![]() |
| Check/Replace Mower Blades | | | ![]() | | | | |
| Lubrication Chart | | | ![]() | | | | ![]() |
| Check Battery Level | | | ![]() | | | | |
| Clean Battery and Terminals | | | ![]() | | | | ![]() |
| Clean Debris off Steering Plate | | | ![]() | | | | |
| Check Transaxle Cooling | | | ![]() | | | | |
| Check Mower Levelness | | | | ![]() | | | |
| Check V-Belts | | | | | ![]() | | |
| ENGINE | Check Engine Oil Level | ![]() | ![]() | | | | | |
| Change Engine Oil (models with oil filter) | | | | ![]() | | | ![]() |
| Change Engine Oil (models without oil filter) | | | ![]() | | | | ![]() |
| Clean Air Filter | | | ![]() | | | | |
| Clean Air Screen | | | ![]() | | | | |
| Inspect Muffler/Spark Arrester | | | | ![]() | | | |
| Replace Oil Filter (If equipped) | | | | | ![]() | | |
| Clean Engine Cooling Fins | | | | | ![]() | | |
| Replace Spark Plug | | | | | ![]() | ![]() | |
| Replace Air Filter Paper Cartridge | | | | | ![]() | | |
| Replace Fuel Filter | | | | | | ![]() | |
- Change more often when operating under a heavy load or in high ambient temperatures
- Service more often when operating in dirty or dusty conditions.
- Replace blades more often when mowing in sandy soil.
- Not required if equipped with maintenance-free battery
- See Cleaning in Maintenance Section.
- Inspect the muffler every 50 hours of operation or six months for signs of damage. If damage is found, refer to the repair parts list or contact your local dealer to order a replacement.
GENERAL RECOMMENDATIONS
The warranty on this tractor does not cover items that have been subjected to operator abuse or negligence. To receive full value from the warranty, operator must main tain tractor as instructed in this manual.
Some adjustments will need to be made periodically to properly maintain your tractor.
At least once a season, check to see if you should make any of the adjustments described in the Service and Adjustments section of this manual.
- At least once a year you should replace the spark plug, clean or replace air filter, and check blades and belts for wear. A new spark plug and clean air filter assure proper air-fuel mixture and help your engine run better and last longer.
BEFORE EACH USE
- Check engine oil level.
- Check brake operation.
- Check tire pressure.
- Check operator presence and ROS systems for proper operation.
- Check for loose fasteners.
LUBRICATION CHART
![Husqvarna - YTH18542 - MAINTENANCE - LUBRICATION CHART MAINTENANCE - LUBRICATION CHART]()
- General Purpose Grease
- Refer to Maintenance "ENGINE" Section
![]()
DO NOT OIL OR GREASE THE PIVOT POINTS WHICH HAVE SPECIAL NYLON BEARINGS. VISCOUS LUBRICANTS WILL ATTRACT DUST AND DIRT THAT WILL SHORTEN THE LIFE OF THE SELF-LUBRICATING BEARINGS. IF YOU FEEL THEY MUST BE LUBRICATED, USE ONLY A DRY, POWDERED GRAPHITE TYPE LUBRICANT SPARINGLY.
TRACTOR
Always observe safety rules when per forming any main ten ance.
BRAKE OPERATION
If tractor requires more than five (5) feet (1,5 m) to stop at highest speed in high est gear on a level, dry concrete or paved surface, then brake must be checked and adjusted. (See "TO CHECK BRAKE" in the Service and Adjustments section of this manual.)
TIRES
- Maintain proper air pressure in all tires. (See the sides of tires for proper PSI.)
- Keep tires free of gasoline, oil, or insect control chemicals which can harm rubber.
- Avoid stumps, stones, deep ruts, sharp objects and other hazards that may cause tire damage.
NOTE: To seal tire punctures and prevent flat tires due to slow leaks, tire sealant may be purchased from your local parts dealer. Tire sealant also prevents tire dry rot and corrosion.
OPERATOR PRESENCE SYSTEM AND REVERSE OPERATION SYSTEM (ROS)
Be sure operator presence and reverse operation systems are working properly. If your tractor does not function as described, repair the problem immediately.
- The engine should not start unless the brake pedal is fully depressed, and the attachment clutch control is in the disengaged position.
CHECK OPERATOR PRESENCE SYSTEM
- When the engine is running, any attempt by the operator to leave the seat without first setting the parking brake should shut off the engine
- When the engine is running and the attachment clutch is engaged, any attempt by the operator to leave the seat should shut off the engine.
- The attachment clutch should never operate unless the operator is in the seat.
CHECK REVERSE OPERATION (ROS) SYSTEM
- When the engine is running with the ignition switch in the engine "ON" position and the attachment clutch engaged, any attempt by the operator to shift into reverse should shut off the engine.
![]()
- When the engine is running with the ignition switch in the ROS "ON" position and the attachment clutch engaged, any attempt by the operator to shift into reverse should NOT shut off the engine.
BLADE CARE
For best results mower blades must be kept sharp. Replace bent or damaged blades.
![]()
Use only a replacement blade approved by the manufacturer of your tractor. Using a blade not approved by the manufacturer of your tractor is hazardous, could damage your tractor and void your warranty.
BLADE REMOVAL
- Raise mower to highest position to allow access to blades.
NOTE: Protect your hands with gloves and/or wrap blade with heavy cloth.
- Remove blade bolt by turning counterclockwise.
- Install new or resharpened blade with stamped "GRASS SIDE" facing the ground.
![]()
To ensure proper assembly, center hole in blade must align with star on mandrel assembly.
- Install and tighten blade bolt securely (45-55 Ft. Lbs./ 62-75 Nm).
![]()
SPECIAL BLADE BOLT IS HEAT TREATED.
BATTERY
Your tractor has a battery charging system which is sufficient for normal use. However, periodic charging of the battery with an automotive charger will extend its life.
- Keep battery and terminals clean.
- Keep battery bolts tight.
- Keep small vent holes open.
- Recharge at 6-10 amperes for 1 hour.
NOTE: The original equipment battery on your tractor is maintenance free. Do not attempt to open or remove caps or covers. Adding or checking level of electrolyte is not necessary.
TO CLEAN BATTERY AND TERMINALS
Corrosion and dirt on the battery and terminals can cause the battery to "leak" power.
- Remove terminal guard.
- Disconnect BLACK battery cable first then RED battery cable and remove battery from tractor.
- Rinse the battery with plain water and dry.
- Clean terminals and battery cable ends with wire brush until bright.
- Coat terminals with grease or petroleum jelly.
- Reinstall battery. (See "REPLACING BATTERY" in the Service and Adjustments section of this manual.)
V-BELTS
Check V-belts for deterioration and wear after 100 hours of operation and replace if necessary. The belts are not adjustable. Replace belts if they begin to slip from wear.
TRANSAXLE MAINTENANCE
The transmission fan and cooling fins should be kept clean to ensure proper cooling.
Do not attempt to clean fan or transmission while engine is running or while the transmission is hot. To prevent possible damage to seals, do not use high pressure water or steam to clean transmission.
- Inspect cooling fan to be sure fan blades are intact and clean.
- Inspect cooling fins for dirt, grass clippings and other materials. To prevent damage to seals, do not use compressed air or high pressure sprayer to clean cooling fins.
TRANSAXLE PUMP FLUID
The transaxle was sealed at the factory and fluid main te nance is not required for the life of the transaxle. Should the transaxle ever leak or require servicing, contact your nearest authorized service center/department.
V-BELTS
Check V-belts for deterioration and wear after 100 hours of operation and replace if necessary. The belts are not adjustable. Replace belts if they begin to slip from wear.
ENGINE
LUBRICATION
Only use high quality detergent oil rated with API service classification SJ-SN. Select the oil's SAE viscosity grade according to your expected operating temperature.
![Husqvarna - YTH18542 - Choosing an oil for the engine lubrication Choosing an oil for the engine lubrication]()
NOTE: Although multi-viscosity oils (5W30, 10W30 etc.) improve starting in cold weather, they will result in increased oil consumption when used above 32°F/0°C. Check your engine oil level more frequently to avoid possible engine damage from running low on oil.
Change the oil after every 50 hours of operation or at least once a year if the tractor is not used for 50 hours in one year.
Check the crankcase oil level before starting the engine and after each eight (8) hours of operation. Tighten oil fill cap/dipstick securely each time you check the oil level.
TO CHANGE ENGINE OIL
See figure above.
Determine temperature range expected before oil change. All oil must meet API service classification SJ-SN.
- Be sure tractor is on level surface.
- Oil will drain more freely when warm.
- Catch oil in a suitable container.
LOWER DASH COVER REMOVAL
- Raise hood.
- Remove fastener from lower dash cover.
![]()
Remove lower dash cover carefully to ensure cover tabs are not broken.
- Slide lower dash cover up to release cover tabs from tapered slots in lower dash and remove.
![Husqvarna - YTH18542 - Changing the engine oil - Step 1 Changing the engine oil - Step 1]()
- Remove oil fill cap/dipstick. Be careful not to allow dirt to enter the engine when changing oil.
- Remove yellow cap from end of drain valve and install the drain tube onto the fitting.
- Unlock drain valve by pushing inward and turning counterclockwise.
- To open, pull out on the drain valve.
- After oil has drained completely, close and lock the drain valve by pushing inward and turning clockwise until the pin is in the locked position as shown.
- Remove the drain tube and replace the cap onto to the bottom fitting of the drain valve.
- Refill engine with oil through oil fill dipstick tube. Pour slowly. Do not overfill. For approximate capacity see "PRODUCT SPECIFICATIONS" section of this manual.
- Use gauge on oil fill cap/dipstick for checking level. Ensure dipstick cap is tightened securely for accurate reading. Keep oil at "FULL" line on dipstick. Tighten cap onto the tube securely when finished.
ENGINE OIL FILTER
Replace the engine oil filter every season or every other oil change if the tractor is used more than 100 hours in one year.
NOTE: If needed, remove lower dash covers using steps from "Lower dash cover removal" section of this manual.
AIR FILTER
Your engine will not run properly using a dirty air filter. Service air cleaner more often under dusty conditions.
CLEAN AIR SCREEN
The air screen is over the air intake blower located on top of engine. The air screen must be kept free of dirt and chaff to prevent engine damage from overheating. Clean with a wire brush or compressed air to remove dirt and stubborn dried gum fibers.
ENGINE COOLING SYSTEM
To ensure proper cooling, make sure the grass screen, cooling fins, and other external surfaces of the engine are kept clean at all times.
Every 100 hours of operation (more often under extremely dusty, dirty conditions), remove the blower housing and other cooling shrouds. Clean the cooling fins and external surfaces as necessary. Ensure the cooling shrouds are reinstalled.
NOTE: Operating the engine with a blocked grass screen, dirty or plugged cooling fins, and/or cooling shrouds removed will cause engine damage due to overheating.
SPARK PLUGS
Replace spark plugs at the beginning of each mowing season or after every 100 hours of operation, whichever occurs first. Spark plug type and gap setting are shown in "PRODUCT SPECIFICATIONS" section of this manual.
MUFFLER
![]()
Inspect and replace corroded muffler and spark arrester (if equipped) as it could create a fire hazard and/or damage.
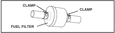
IN-LINE FUEL FILTER
The fuel filter should be replaced once each season. If fuel filter becomes clogged, obstructing fuel flow to carburetor, replacement is required.
![Husqvarna - YTH18542 - MAINTENANCE - REPLACING THE IN-LINE FUEL FILTER MAINTENANCE - REPLACING THE IN-LINE FUEL FILTER]()
- With engine cool, remove filter and plug fuel line sections.
- Place new fuel filter in position in fuel line with arrow pointing towards carburetor.
- Be sure there are no fuel line leaks and clamps are properly positioned.
- Immediately wipe up any spilled gasoline.
CLEANING
- Clean engine, battery, seat, finish, etc. of all foreign matter.
- Clean debris from steering plate. Debris can restrict clutch/brake pedal shaft movement, causing belt slip and loss of drive.
![]()
Avoid all pinch points and movable parts. - Keep finished surfaces and wheels free of all gasoline, oil, etc.
- Protect painted surfaces with automotive type wax.
Except for the washout port (if equipped), we do not recommend using a garden hose or pressure washer to clean the outside of your tractor unless the engine and transmission are covered to keep water out. Water in engine or transmission will shorten the useful life of your tractor. Use compressed air or a leaf blower to remove grass, leaves and trash from outside tractor and mower.
DECK WASHOUT PORT
Your tractor's deck is equipped with a washout port as part of its deck wash system. It should be utilized after each use.
- Drive the tractor to a level, clear spot on your lawn, near enough to a water spigot for your garden hose to reach.
![]()
Make certain the tractor's discharge chute is directed AWAY from your house, garage, parked cars, etc. Remove bagger chute or mulch cover if attached. - Make sure the attachment clutch control is in the "DISENGAGED" position, set the parking brake, and stop the engine.
- Thread the nozzle adapter (packaged with your tractor's Operator's Manual) onto the end of your garden hose.
- Pull back the lock collar of the nozzle adapter and push the adapter onto the deck washout port at the left end of the mower deck. Release the lock collar to lock the adapter on the nozzle.
![]()
Tug hose ensuring connection is secure.
- Turn the water on.
- While sitting in the operator's position on the tractor, re-start the engine and place the throttle lever in the Fast "
" position.
![]()
Recheck the area to ensure the area is clear. Ensure no children are in the area while cleaning the deck.
- Move the tractor's attachment clutch control to the "ENGAGED" position. Remain in the operator's position with the cutting deck engaged until the deck is cleaned.
- Move the tractor's attachment clutch control to the "DISENGAGED" position. Turn the ignition key to the STOP position to turn the tractor's engine off. Turn the water off.
- Pull back the lock collar of the nozzle adapter to disconnect the adapter from the nozzle washout port.
- Move the tractor to a dry area, preferably a concrete or paved area. Place the attachment clutch control in the "ENGAGED" position to remove excess water and to help dry before putting the tractor away.
![]()
A broken or missing washout fitting could expose you or others to thrown objects from contact with the blade.
- Replace broken or missing washout fitting immediately, prior to using mower again.
- Plug any holes in mower with bolts and locknuts.
SERVICE AND ADJUSTMENTS
![]()
TO AVOID SERIOUS INJURY, BEFORE PERFORMING ANY SERVICE OR ADJUSTMENTS:
- Depress brake pedal fully and set parking brake.
- Place attachment clutch in "DISENGAGED" position.
- Turn ignition key to "STOP" and remove key.
- Make sure the blades and all moving parts have completely stopped.
- Disconnect spark plug wire from spark plug and place wire where it cannot come in contact with plug.
TO REMOVE MOWER
![Husqvarna - YTH18542 - SERVICE AND ADJUSTMENTS - REMOVING THE MOWER SERVICE AND ADJUSTMENTS - REMOVING THE MOWER]()
- Place attachment clutch in "DISENGAGED" position.
- Lower attachment lift lever to its lowest position.
- Roll belt off engine pulley (M) and belt keepers (G).
- Push housing guide (P) and slide out of brack et.
- Remove clutch cable spring (Q) from idler arm (R).
- Disconnect front link (E) from mower - remove retainer spring and washer.
- Go to either side of mower and disconnect mower suspension arm (A) from chassis pin (B) and rear lift link (C) from rear mower bracket (D) - remove retainer springs and washers.
- Go to other side of mower and disconnect the suspension arm and rear lift link.
![]()
AFTER REAR LIFT LINKS ARE DISCONNECTED, THE ATTACHMENT LIFT LEVER WILL BE SPRING LOADED. HAVE A TIGHT GRIP ON LIFT LEVER WHEN CHANGING POSITION OF THE LEVER. - Slide mower out from under right side of tractor.
![]()
IF AN ATTACHMENT OTHER THAN THE MOWER IS TO BE MOUNTED ON THE TRACTOR, REMOVE THE FRONT LINK (E) AND REAR LIFT LINKS (C) FROM TRACTOR AND HOOK THE CLUTCH SPRING (Q) INTO THE CABLE GUIDE ON FRONT EDGE OF LOWER DASH.
TO INSTALL MOWER
Ensure tractor is on level surface and engage parking brake.
- Lower attachment lift lever to its lowest position.
![]()
LIFT LEVER IS SPRING LOADED. HAVE A TIGHT GRIP ON LIFT LEVER, LOWER IT SLOWLY AND ENGAGE IN LOWEST POSITION.
NOTE: Ensure mower side suspension arms (A) are pointing forward before sliding mower under tractor.
- Slide mower under tractor until it is centered under tractor.
- ATTACH MOWER SIDE SUSPENSION ARMS (A) TO CHASSIS - Position hole in arm over pin (B) on outside of tractor chassis and secure with retainer spring.
- Repeat on opposite side of tractor.
- ATTACH REAR LIFT LINKS (C) - Lift rear corner of mower and position slot in link assembly over pin (D) on rear mower bracket and secure with washer and retainer spring.
![Husqvarna - YTH18542 - INSTALLING THE MOWER - Step 2 INSTALLING THE MOWER - Step 2]()
- ATTACH FRONT LINK (E) - Work from left side of tractor. Insert rod end of link assembly through front hole in tractor front suspension bracket (F).
![Husqvarna - YTH18542 - INSTALLING THE MOWER - Step 3 - Attach front link INSTALLING THE MOWER - Step 3 - Attach front link]()
- Insert end of link (E) into hole in front mower bracket and secure with washer and retainer spring (J).
- Hook end of clutch cable spring (Q) into hole in idler arm (R).
- Push clutch cable housing guide (P) into bracket, slide collar (L) onto guide and secure with retainer spring (K).
- Install belt on engine pulley (M), in belt keepers (G).
![Husqvarna - YTH18542 - INSTALLING THE MOWER - Step 4 INSTALLING THE MOWER - Step 4]()
![]()
CHECK BELT FOR PROPER ROUTING IN ALL MOWER PULLEY GROOVES.
- Raise attachment lift lever to highest position.
- If necessary, adjust gauge wheels before operating mower as shown in the Operation section of this manual.
TO LEVEL MOWER
Ensure tires are properly inflated to the PSI shown on tires. If tires are over or under inflated, it may affect the appearance of your lawn and lead you to think the mower is not adjusted properly.
VISUAL SIDE-TO-SIDE ADJUSTMENT
- With all tires properly infl ated and if your lawn appears unevenly cut, determine which side of mower is cutting lower.
- With a 3/4" or adjustable wrench, turn lift link adjustment nut (A) to the left to lower LH side of mower, or to the right to raise LH side of mower.
![Husqvarna - YTH18542 - TO LEVEL MOWER - VISUAL SIDE-TO-SIDE ADJUSTMENT TO LEVEL MOWER - VISUAL SIDE-TO-SIDE ADJUSTMENT]()
NOTE: Each full turn of adjustment nut will change mower height about 3/16" (4,7 mm).
- Test your adjustment by mowing some uncut grass and visually checking the appearance. Readjust, if necessary, until you are satisfied with the results.
PRECISION SIDE-TO-SIDE ADJUSTMENT
- With all tires properly inflated, park tractor on level ground or driveway.
![]()
Blades are sharp. Protect your hands with gloves and/or wrap blade with heavy cloth. - Raise mower to its highest position.
- At both sides of mower, position blade at side and measure the distance (A) from bottom edge of blade to the ground. The distance should be the same on both sides.
- If adjustment is necessary, see steps in Visual Adjust-ment instructions above.
- Recheck measurements, adjust if necessary until both sides are equal.
FRONT-TO-BACK ADJUSTMENT
![]()
Deck must be level side-to-side.
To obtain the best cutting results, the mower blades should be adjusted so the front tip is 1/8" to 1/2" (3,1 to 12,7 mm) lower than the rear tip when the mower is in its highest position.
![]()
Blades are sharp. Protect your hands with gloves and/or wrap blade with heavy cloth.
- Raise mower to highest position.
- Position any blade so the tip is pointing straight forward. Measure distance (B) to the ground at front and rear tip of the blade.
![Husqvarna - YTH18542 - FRONT-TO-BACK MOWER ADJUSTMENT - Step 1 FRONT-TO-BACK MOWER ADJUSTMENT - Step 1]()
- If front tip of blade is not 1/8" to 1/2" (3,1 to 12,7 mm) lower than the rear tip, go to the front of tractor.
- With an 11/16" or adjustable wrench, loosen jam nut A several turns to clear adjustment nut B.
- With a 3/4" or adjustable wrench, turn front link adjustment nut (B) clockwise (
) (tighten) to raise the front of mower, or, counterclockwise (
) (loosen) to lower the front mower.
NOTE: Each full turn of the adjustment nut will change mower height about 1/8" (3,1 mm).
- Recheck measurements, adjust if necessary until front tip of blade is 1/8 to 1/2" (3,1 to 12,7 mm) lower than the rear tip.
- Hold adjustment nut in position with wrench and tighten jam nut securely against adjustment nut.
TO REPLACE MOWER BLADE DRIVE BELT
The mower blade drive belt may be replaced without tools. Park the tractor on level surface. Engage parking brake.
![Husqvarna - YTH18542 - REPLACING MOWER BLADE DRIVE BELT REPLACING MOWER BLADE DRIVE BELT]()
BELT REMOVAL
- Remove mower from tractor (See "TO REMOVE MOW ER" in this section of manual).
- Work belt off both mandrel pulleys and idler pulleys.
- Pull belt away from mower.
BELT INSTALLATION
- Work belt around both mandrel pulleys and idler pulleys.
- Make sure belt is in all pulley grooves and in side all belt guides.
- Install mower (See "TO INSTALL MOWER" in this section of manual).
TO CHECK BRAKE
If tractor requires more than five (5) feet (1,5 m) to stop at highest speed in high est gear on a level, dry concrete or paved surface, then brake must be serviced.
You may also check brake by:
- Park tractor on a level, dry concrete or paved surface, depress brake pedal all the way down and engage parking brake.
- Disengage transmission by placing freewheel control in "transmission disengaged" position. Pull freewheel control out and into the slot and release so it is held in the disengaged position.
The rear wheels must lock and skid when you try to manually push the tractor forward. If the rear wheels rotate, then the brake needs to be serviced. Contact a qualified service center.
TO REPLACE MOTION DRIVE BELT
Park the tractor on level surface. Engage parking brake. For assistance, there is a belt installation guide decal on bottom side of left footrest.
![Husqvarna - YTH18542 - REPLACING MOTION DRIVE BELT REPLACING MOTION DRIVE BELT]()
BELT REMOVAL
- Remove mower. (See "TO REMOVE MOWER" section in this manual.)
NOTE: Observe entire motion drive belt and position of all belt guides and keepers.
- Remove belt from stationary idler (A) and clutching idler (B).
- Remove belt from centerspan idler (C).
- Pull belt slack toward rear of tractor. Carefully remove belt up wards from trans mis sion input pulley and over cooling fan blades (D).
- Remove belt downward from engine pulley (E).
- Slide belt toward rear of tractor, off the steering plate (F) and remove from tractor.
BELT INSTALLATION
- Install new belt from tractor rear to front, over the steering plate (F) and above clutch brake pedal shaft (G).
- Pull belt toward front of tractor and roll belt onto engine pulley (E).
- Pull belt toward rear of tractor. Carefully work belt down around transmission cooling fan and onto the input pulley (D). Be sure belt is inside the belt keeper.
- Install belt on centerspan idler (C).
- Install belt through stationary idler (A) and clutching idler (B).
- Make sure belt is in all pulley grooves and in side all belt guides and keep ers.
- Install mower. (See "TO INSTALL MOWER" section in this manual.)
TO REMOVE WHEEL
![Husqvarna - YTH18542 - SERVICE AND ADJUSTMENTS - REMOVING THE WHEEL SERVICE AND ADJUSTMENTS - REMOVING THE WHEEL]()
- Block up axle securely.
- Remove axle cover, retaining ring and washers to allow wheel removal (rear wheel contains a square key - Do not lose).
- Repair tire and reassemble.
- On rear wheels only: align grooves in rear wheel hub and axle. Insert square key.
- Replace washers and snap retaining ring securely in axle groove.
- Replace axle cover.
NOTE: To seal tire punctures and prevent flat tires due to slow leaks, tire sealant may be purchased from your local parts dealer. Tire sealant also prevents tire dry rot and corrosion.
FRONT WHEEL TOE-IN/CAMBER
Your new tractor front wheel toe-in and camber is set at the factory and is normal. The front wheel toe-in and camber are not adjustable. If damage has occurred to affect the factory set front wheel toe-in or camber, contact a qualified service center.
TO START ENGINE WITH A WEAK BATTERY
![]()
Lead-acid batteries generate explosive gases. Keep sparks, flame and smoking materials away from batteries. Always wear eye protection when around batteries.
If your battery is too weak to start the engine, it should be recharged. (See "BATTERY" in the MAINTENANCE section of this manual).
If "jumper cables" are used for emergency starting, follow this procedure:
![]()
YOUR TRACTOR IS EQUIPPED WITH A 12 VOLT SYSTEM. THE OTHER VEHICLE MUST ALSO BE A 12 VOLT SYSTEM. DO NOT USE YOUR TRACTOR BATTERY TO START OTHER VEHICLES.
TO ATTACH JUMPER CABLES
- Connect one end of the RED cable to the POSITIVE (+) terminal of each battery(A-B), taking care not to short against tractor chassis.
- Connect one end of the BLACK cable to the NEGATIVE (-) terminal (C) of fully charged battery.
- Connect the other end of the BLACK cable (D) to good chassis ground, away from fuel tank and battery.
TO REMOVE CABLES, REVERSE ORDER
- BLACK cable first from chassis and then from the fully charged battery.
- RED cable last from both batteries.
REPLACING BATTERY
![]()
Do not short battery terminals by allowing a wrench or any other object to contact both terminals at the same time. Before connecting battery, remove metal bracelets, wristwatch bands, rings, etc. Positive terminal must be connected first to prevent sparking from accidental grounding.
![Husqvarna - YTH18542 - SERVICE AND ADJUSTMENTS - REPLACING BATTERY SERVICE AND ADJUSTMENTS - REPLACING BATTERY]()
- Lift seat pan to raised position.
- Disconnect BLACK battery cable first then RED battery cable and carefully remove battery from tractor.
- Install new battery with terminals in same position as old battery.
- First connect RED battery cable to positive (+) terminal with bolt and nut as shown. Tighten securely. Slide terminal cover over terminal.
- Connect BLACK grounding cable to negative (-) ter mi nal with remaining bolt and nut. Tighten securely.
- Lower seat pan.
TO REPLACE HEADLIGHT BULB
- Raise hood.
- Pull bulb holder out of the hole in the backside of the grill.
- Replace bulb in holder and push bulb holder securely back into the hole in the backside of the grill.
- Close hood.
INTERLOCKS AND RELAYS
Loose or damaged wiring may cause your tractor to run poorly, stop running, or prevent it from starting.
TO REPLACE FUSE
Replace with 20 amp automotive-type plug-in fuse. The fuse holder is located behind the dash.
TO REMOVE HOOD AND GRILL ASSEMBLY
![Husqvarna - YTH18542 - REMOVING HOOD AND GRILL ASSEMBLY REMOVING HOOD AND GRILL ASSEMBLY]()
- Raise hood.
- Unsnap headlight wire connector.
- Stand in front of tractor. Grasp hood at sides, tilt toward engine and lift off of tractor.
- To replace, reverse above procedure.
TRANSMISSION REMOVAL/REPLACEMENT
Should your transmission require removal for service or replacement, it should be purged after reinstallation and before operating the tractor. See "PURGE TRANSMISSION" in the Operation section of this manual.
TO ADJUST THROTTLE CONTROL CABLE
The throttle control has been preset at the factory and adjustment should not be necessary. If adjustment is necessary, see engine manual.
STORAGE
Immediately prepare your tractor for storage at the end of the season or if the tractor will not be used for 30 days or more.
![]()
Never store the tractor with gasoline in the tank inside a building where fumes may reach an open flame or spark. Allow the engine to cool before storing in any enclosure.
TRACTOR
Remove mower from tractor for winter storage. When mower is to be stored for a period of time, clean it thoro ughly, remove all dirt, grease, leaves, etc. Store in a clean, dry area.
- Clean entire tractor. (See "CLEANING" in the Maintenance section of this manual.)
- Inspect and replace belts, if necessary. (See belt replacement instructions in the Service and Adjustments section of this manual.)
- Lubricate as shown in the Maintenance section of this manual.
- Be sure that all nuts, bolts and screws are securely fastened. Inspect moving parts for damage, breakage and wear. Replace if necessary.
- Touch up all rusted or chipped paint surfaces; sand lightly before painting.
BATTERY
- Fully charge the battery for storage.
- After a period of time in storage, battery may require recharging.
- To help prevent corrosion and power leakage during long periods of storage, battery cables should be disconnected and battery cleaned thoroughly. (See "TO CLEAN BATTERY AND TERMINALS" in the Maintenance section of this manual.)
- After cleaning, leave cables disconnected and place cables where they cannot come in contact with battery terminals.
- If battery is removed from tractor for storage, do not store battery directly on concrete or damp surfaces.
- If unit is equipped with battery indicator/charging plug, an optional charging unit may be purchased and connected to the unit to charge the battery during long term storage. Inspect and clean the battery terminals as needed prior to long term storage with charger connected.
ENGINE
FUEL SYSTEM
![]()
IT IS IMPORTANT TO PREVENT GUM DEPOSITS FROM FORMING IN ESSENTIAL FUEL SYSTEM PARTS SUCH AS CARBURETOR, FUEL FILTER, FUEL HOSE, OR TANK DURING STORAGE. ALSO, EXPERIENCE INDICATES THAT ALCOHOL BLENDED FUELS (CALLED GASOHOL OR USING ETHANOL OR METHANOL) CAN ATTRACT MOISTURE WHICH LEADS TO SEPARATION AND FORMATION OF ACIDS DURING STORAGE. ACIDIC GAS CAN DAMAGE THE FUEL SYSTEM OF AN ENGINE WHILE IN STORAGE.
- Empty the fuel tank by starting the engine and let it run until the fuel lines and carburetor are empty.
- Never use engine or carburetor cleaner products in the fuel tank or permanent damage may occur.
- Use fresh fuel next season.
NOTE: Fuel stabilizer is an acceptable alternative in minimizing the formation of fuel gum deposits during storage. Add stabilizer to gasoline in fuel tank or storage container. Always follow the mix ratio found on stabilizer container. Run engine at least 10 minutes after adding stabilizer to allow the stabilizer to reach the carburetor. Do not empty the gas tank and carburetor if using fuel stabilizer.
ENGINE OIL
Drain oil (with engine warm) and replace with clean engine oil. (See "ENGINE" in the Maintenance section of this manual.)
CYLINDER(S)
- Remove spark plug(s).
- Pour one ounce (29.5 mL) of oil through spark plug hole(s) into cylinder(s).
- Turn ignition key to "START" position for a few seconds to distribute oil.
- Replace with new spark plug(s).
OTHER
- Do not store gasoline from one season to another.
- Replace your gasoline can if your can starts to rust. Rust and/or dirt in your gasoline will cause problems.
- If possible, store your tractor indoors and cover it to give protection from dust and dirt.
- Cover your tractor with a suitable protective cover that does not retain moisture. Do not use plastic. Plastic cannot breathe which allows condensation to form and will cause your tractor to rust.
![]()
NEVER COVER TRACTOR WHILE ENGINE AND EXHAUST AREAS ARE STILL WARM.
TROUBLESHOOTING
| PROBLEM | CAUSE | CORRECTION |
| Will not start | - Out of fuel.
- Engine not "CHOKED" properly.
- Engine flooded.
- Bad spark plug.
- Dirty air filter.
- Dirty fuel filter.
- Water in fuel.
- Loose or damaged wiring.
- Engine valves out of adjustment.
| - Fill fuel tank.
- See "TO START ENGINE" in Operation section.
- Wait several minutes before attempting to start.
- Replace spark plug.
- Clean/replace air filter.
- Replace fuel filter.
- Empty fuel tank and carburetor, refill tank with fresh gasoline and replace fuel filter.
- Check all wiring.
- Contact an authorized service center/department.
|
| Hard to start | - Dirty air filter.
- Bad spark plug.
- Weak or dead battery.
- Dirty fuel filter.
- Stale or dirty fuel.
- Loose or damaged wiring.
- Engine valves out of adjustment.
| - Clean/replace air filter.
- Replace spark plug.
- Recharge or replace battery.
- Replace fuel filter.
- Empty fuel tank and refill tank with fresh, clean gas.
- Check all wiring.
- Contact an authorized service center/department.
|
| Engine will not turn over | - Brake pedal not depressed.
- Attachment clutch is engaged.
- Weak or dead battery.
- Blown fuse.
- Corroded battery terminals.
- Loose or damaged wiring.
- Faulty ignition switch.
- Faulty solenoid or starter.
- Faulty operator presence switch(es).
| - Depress brake pedal.
- Disengage attachment clutch.
- Recharge or replace battery.
- Replace fuse.
- Clean battery terminals.
- Check all wiring.
- Check/replace ignition switch.
- Check/replace solenoid or starter.
- Contact an authorized service center/department.
|
| Engine clicks but will not start | - Weak or dead battery.
- Corroded battery terminals.
- Loose or damaged wiring.
- Faulty solenoid or starter.
| - Recharge or replace battery.
- Clean battery terminals.
- Check all wiring.
- Check/replace solenoid or starter.
|
| Loss of power | - Cutting too much grass/too fast.
- Throttle in "CHOKE" position.
- Build-up of grass, leaves, trash under mower.
- Dirty air filter.
- Low oil level/dirty oil.
- Faulty spark plug.
- Dirty fuel filter.
- Stale or dirty fuel.
- Water in fuel.
- Spark plug wire loose.
- Dirty engine air screen/fins.
- Dirty/clogged muffl er.
- Loose or damaged wiring.
- Engine valves out of adjustment.
| - Raise cutting height/reduce speed.
- Adjust throttle control.
- Clean underside of mower housing.
- Clean/replace air filter.
- Check oil level/change oil.
- Clean and regap or change spark plug.
- Replace fuel filter.
- Empty fuel tank and refill tank with fresh, clean gas.
- Empty fuel tank and carburetor, refill tank with fresh gasoline and replace fuel filter.
- Connect and tighten spark plug wire.
- Clean engine air screen/fins.
- Clean/replace muffl er.
- Check all wiring.
- Contact an authorized service center/department.
|
| Excessive vibration | - Worn, bent or loose blade.
- Bent blade mandrel.
- Loose/damaged part(s).
| - Replace blade. Tighten blade bolt.
- Replace blade mandrel.
- Tighten loose part(s). Replace damaged parts.
|
| Engine continues to run when operator leaves seat with attachment clutch engaged | - Faulty operator-safety presence control system.
| - Check wiring, switches and connections. If not corrected, contact an authorized service center/department.
![]() DO NOT operate machine until problem is corrected. |
| Poor cut - uneven | - Worn, bent or loose blade.
- Mower deck not level.
- Buildup of grass, leaves, trash under mower.
- Bent blade mandrel.
- Clogged mower deck vent holes from buildup of grass, leaves, and trash around mandrels.
| - Replace blade. Tighten blade bolt.
- Level mower deck.
- Clean underside of mower housing.
- Replace blade mandrel.
- Clean around mandrels to open vent holes.
|
| Mower blades will not rotate | - Obstruction in clutch mechanism.
- Worn/damaged mower drive belt.
- Frozen idler pulley.
- Frozen blade mandrel.
| - Remove obstruction.
- Replace mower drive belt.
- Replace idler pulley.
- Replace blade mandrel.
|
| Poor grass discharge | - Engine speed too slow.
- Travel speed too fast.
- Wet grass.
- Mower deck not level.
- Low/uneven tire air pressure.
- Worn, bent or loose blade.
- Buildup of grass, leaves, trash under mower.
- Mower drive belt worn.
- Blades improperly installed.
- Improper blades used.
- Clogged mower deck vent holes from buildup of grass, leaves, trash around mandrels.
| - Place throttle control in "FAST" position.
- Shift to slower speed.
- Allow grass to dry before mowing.
- Level mower deck.
- Check tires for proper air pressure.
- Replace blade. Tighten blade bolt.
- Clean underside of mower housing.
- Replace mower drive belt.
- Reinstall blades sharp edge down.
- Replace with blades listed in parts manual.
- Clean around mandrels to open vent holes.
|
| Headlight(s) not working (if so equipped) | - Switch is "OFF".
- Bulb(s) or lamp(s) burned out.
- Faulty light switch.
- Loose or damaged wiring.
- Blown fuse.
| - Turn switch "ON".
- Replace bulb(s) or lamp(s).
- Check/replace light switch.
- Check wiring and connections.
- Replace fuse.
|
| Battery will not charge | - Bad battery cell(s).
- Poor cable connections.
- Faulty regulator (if so equipped).
- Faulty alternator.
| - Replace battery.
- Check/clean all connections.
- Replace regulator.
- Replace alternator.
|
| Loss of drive | - Freewheel control in "disengaged" position.
- Debris on steering plate (if equipped).
- Motion drive belt worn, damaged, or broken.
- Air trapped in transmission during shipment or servicing.
- Axle key missing.
| - Place freewheel control in "engaged" position.
- See "CLEANING" in the Maintenance section.
- Replace motion drive belt.
- Purge transmission.
- Install axle key at rear wheel. See "TO REMOVE WHEEL" in the Service and Adjustments section.
|
| Engine "backfires" when turning engine "OFF" | - Engine throttle control not set between half and full speed (fast) position before stopping engine.
| - Move throttle control between half and full speed (fast) position before stopping engine.
|
| Engine dies when tractor is shifted into reverse | - Reverse operation system (ROS) is not "ON" while mower or other attachment is engaged.
| - Turn ignition key to ROS "ON" position. See Operation section.
|
SUGGESTED GUIDE FOR SIGHTING SLOPES FOR SAFE OPERATION
![Husqvarna - YTH18542 - GUIDE FOR SIGHTING SLOPES FOR SAFE OPERATION GUIDE FOR SIGHTING SLOPES FOR SAFE OPERATION]()
![]()
To avoid serious injury, operate your tractor up and down the face of slopes, never across the face. Do not mow slopes greater than 15 degrees. Make turns gradually to prevent tipping or loss of control. Exercise extreme caution when changing direction on slopes.
- Fold the page along dotted line indicated above.
- Hold page before you so that its left edge is ventically parallel to a tree trunk or other upright structure.
- Sight across the fold in the direction of hill slope you want to measure.
- Compare the angle of the fold with the slope of the hill.
SAFETY RULES
![]()
THIS CUTTING MACHINE IS CAPABLE OF AMPUTATING HANDS AND FEET AND THROWING OBJECTS. FAILURE TO OBSERVE THE FOLLOWING SAFETY INSTRUCTIONS COULD RESULT IN SERIOUS INJURY OR DEATH.
![]()
In order to prevent accidental starting when setting up, trans porting, adjusting or making repairs, always disconnect spark plug wire and place wire where it can not contact spark plug.
![]()
Do not coast down a hill in neutral, you may lose control of the tractor.
![]()
Tow only the attachments that are recommended by and comply with specifications of the manufacturer of your tractor. Use common sense when towing. Operate only at the lowest possible speed when on a slope. Too heavy of a load, while on a slope, is dangerous. Tires can lose traction with the ground and cause you to lose control of your tractor.
![]()
Engine exhaust, some of its constituents, and certain vehicle components contain or emit chemicals known to the State of California to cause cancer and birth defects or other reproductive harm.
![]()
Battery posts, terminals and related accessories contain lead and lead compounds, chemicals known to the State of California to cause cancer and birth defects or other reproductive harm. Wash hands after handling.
CHILDREN
![]()
CHILDREN CAN BE INJURED BY THIS EQUIPMENT. The American Academy of Pediatrics recommends that children be a minimum of 12 year of age before operating a pedestrian controlled lawn mower and a minimum of 16 years of age before operating a riding lawn mower.
![]()
CHILDREN CAN BE SERIOUSLY INJURED OR KILLED BY THIS EQUIPMENT. Carefully read and follow all of the safety instructions below.
Tragic accidents can occur if the operator is not alert to the presence of children. Children are often attracted to the machine and the mowing activity. Never assume that children will remain where you last saw them.
- Keep children out of the mowing area and in the watchful care of a responsible adult other than the operator.
- Be alert and turn machine off if a child enters the area.
- Before and while backing, look behind and down for small children.
- Never carry children, even with the blades shut off. They may fall off and be seriously injured or interfere with safe machine operation. Children who have been given rides in the past may suddenly appear in the mowing area for another ride and be run over or backed over by the machine.
- Never allow children to operate the machine.
- Use extreme caution when approaching blind corners, shrubs, trees, or other objects that may block your view of a child.
GENERAL OPERATION
- Read, understand, and follow all instructions on the machine and in the manual before starting.
- Do not put hands or feet near rotating parts or under the machine. Keep clear of the discharge opening at all times.
- Only allow responsible adults, who are familiar with the in structions, to operate the machine.
- Clear the area of objects such as rocks, toys, wire, etc., which could be picked up and thrown by the blades.
- Ensure the area is clear of bystanders before operating.
Stop machine if anyone enters the area. - Never carry passengers.
- Do not mow in reverse unless absolutely necessary. Always look down and behind before and while backing.
- Never direct discharged material toward anyone. Avoid discharging material against a wall or obstruction. Material may ricochet back toward the operator. Stop the blades when crossing gravel surfaces.
- Do not operate machine without the entire grass catcher, discharge chute, or other safety devices in place and working.
- Slow down before turning.
- Never leave a running machine unattended. Always turn off blades, set parking brake, and stop engine before dismounting. Manually lock ignition switch. (See "MANUALLY LOCKING THE SmartSwitch IGNITION" in the Operation section of this manual).
- Disengage blades when not mowing. Shut off engine and wait for all parts to come to a complete stop before cleaning the machine, removing the grass catcher, or unclogging the discharge chute.
- Operate machine only in daylight or good artificial light.
- Do not operate the machine while under the influence of alcohol or drugs.
- Watch for traffic when operating near or crossing road ways.
- Use extreme caution when loading or unloading the machine into a trailer or truck.
- Always wear eye protection when operating machine.
- Use ear protectors to avoid damage to hearing.
- Data indicates that operators, age 60 years and above, are involved in a large percentage of riding mower-related injuries. These operators should evaluate their ability to operate the riding mower safely enough to protect themselves and others from serious injury.
- Follow the manufacturer's recommendation for wheel weights or counterweights.
![]()
Keep machine free of grass, leaves or other debris build-up which can touch hot exhaust / engine parts and burn. Do not allow the mower deck to plow leaves or other debris which can cause build-up to occur. Clean any oil or fuel spillage before operating or storing the machine. Allow machine to cool before storage.
SLOPE OPERATION
![]()
When loading or unloading this machine, do not exceed the maximum recommended operation angle of 15°.
Slopes are a major factor related to loss of control and tip-over accidents, which can result in severe injury or death. Operation on all slopes requires extreme caution. If you cannot back up the slope or if you feel uneasy on it, do not mow it.
- Mow up and down slopes, not across.
- Watch for holes, ruts, bumps, rocks, or other hidden objects. Uneven terrain could overturn the machine. Tall grass can hide obstacles.
- Choose a low ground speed so that you will not have to stop or shift while on the slope.
- Do not mow on wet grass. Tires may lose traction. Always keep the machine in gear when going down slopes.
- Do not shift to neutral and coast downhill.
- Avoid starting, stopping, or turning on a slope. If the tires lose traction, disengage the blades and proceed slowly straight down the slope.
- Keep all movement on the slopes slow and gradual. Do not make sudden changes in speed or direction, which could cause the machine to roll over.
- Use extreme caution while operating machine with grass catchers or other attachments; they can affect the stability of the machine. Do no use on steep slopes.
- Do not try to stabilize the machine by putting your foot on the ground.
- Do not mow near drop-offs, ditches, or embankments. The machine could suddenly roll over if a wheel is over the edge or if the edge caves in.
- If machine stops while going uphill, disengage blades, shift into reverse and back down slowly.
- Do not turn on slopes unless necessary, and then, turn slowly and gradually downhill, if possible.
TOWING
- Tow only with a machine that has a hitch designed for towing. Do not attach towed equipment except at the hitch point.
- Follow the manufacturer's recommendation for weight limits for towed equipment and towing on slopes.
- Never allow children or others in or on towed equipment.
- On slopes, the weight of the towed equipment may cause loss of traction and loss of control.
- Travel slowly and allow extra distance to stop.
SERVICE
SAFE HANDLING OF GASOLINE
To avoid personal injury or property damage, use extreme care in handling gasoline. Gasoline is extremely flammable and the vapors are explosive.
- Extinguish all cigarettes, cigars, pipes, and other sources of ignition.
- Use only approved gasoline container.
- Never remove gas cap or add fuel with the engine running.
- Allow engine to cool before refueling.
- Never fuel the machine indoors.
- Never store the machine or fuel container where there is an open flame, spark, or pilot light such as on a water heater or other appliances.
- Never fill containers inside a vehicle or on a truck or trailer bed with plastic liner. Always place containers on the ground away from your vehicle when filling.
- Remove gas-powered equipment from the truck or trailer and refuel it on the ground. If this is not possible, then refuel such equipment with a portable container, rather than from a gasoline dispenser nozzle.
- Keep the nozzle in contact with the rim of the fuel tank or container opening at all times until fueling is complete. Do not use a nozzle lock-open device.
- If fuel is spilled on clothing, change clothing immediately.
- Never overfill fuel tank. Replace gas cap and tighten securely.
GENERAL SERVICE
- Never operate machine in a closed area.
- Keep all nuts and bolts tight to ensure the equipment is in safe working condition.
- Never tamper with safety devices. Never interfere with the intended function of a safety device or reduce the protection provided by a safety device. Check there proper operation regularly. NEVER operate a machine with a safety device that does not function properly.
- Keep machine free of grass, leaves, or other debris buildup. Clean oil or fuel spillage and remove any fuel-soaked debris. Allow machine to cool before storing.
- If you strike a foreign object, stop and inspect the machine. Repair, if necessary, before restarting.
- Never make any adjustments or repairs with the engine run ning.
- Check grass catcher components and the discharge chute frequently and replace with manufacturer's recommended parts, when necessary.
- Mower blades are sharp. Wrap the blade or wear gloves, and use extreme caution when servicing them.
- Check brake operation frequently. Adjust and service as required.
- Maintain or replace safety and instruction labels, as necessary.
![]()
Use ear protectors to avoid damage to hearing.
![]()
Always wear eye protection when operating machine.
Gasoline containing up to 10% ethanol (E10) is acceptable for use in this machine. The use of any gasoline exceeding 10% ethanol (E10) will void the product warranty.
![]()
Documents / Resources
References
Download manual
Here you can download full pdf version of manual, it may contain additional safety instructions, warranty information, FCC rules, etc.
Download Husqvarna YTH18542 - Riding Lawn Mower Manual
Available languages
Need help?
Do you have a question about the YTH18542 and is the answer not in the manual?
Questions and answers