Advertisement
This symbol points out important safety instructions which, if not followed, could endanger the personal safety and/or property of yourself and others. Read and follow all instructions in this manual before attempting to operate this machine. Failure to comply with these instructions may result in personal injury. When you see this symbol, HEED ITS WARNING!
This machine was built to be operated according to the safe operation practices in this manual. As with any type of power equipment, carelessness or error on the part of the operator can result in serious injury. This machine is capable of amputating fingers, hands, toes and feet and throwing debris. Failure to observe the following safety instructions could result in serious injury or death.
GENERAL INFORMATION
PREPARATION BEFORE OPERATING
OPERATING
CHILDREN
SLOPE OPERATION FOR WALK-BEHIND MOWERS
FIRE & FUEL
SERVICE
NOTICE REGARDING EMISSIONS
Engines which are certified to comply with California and federal EPA emission regulations for SORE (Small Off Road Equipment) are certified to operate on regular unleaded gasoline, and may include the following emission control systems: Engine Modification (EM) and Three Way Catalyst (TWC) if so equipped.
When required, models are equipped with low permeation fuel lines and fuel tanks for evaporative emission control. California models may also include a carbon canister. Please contact Customer Support for information regarding the evaporative emission control configuration for your model.
SPARK ARRESTOR
This mower is equipped with an internal combustion engine and should not be used on or near any unimproved forest-covered, brush-covered or grasscovered land unless the engine's exhaust system is equipped with a spark arrestor meeting applicable local or state laws (if any).
If a spark arrestor is used, it should be maintained in effective working order by the operator. In the State of California the above is required by law (Section 4442 of the California Public Resources Code). Other states may have similar laws. Federal laws apply on federal lands. A spark arrestor for the muffler is available through your nearest engine authorized service dealer or contact the service department, P.O. Box 361131 Cleveland, Ohio 44136-0019.
SLOPE GAUGE (BACK COVER)
Slopes are a major factor related to slip and fall accidents which can result in severe injury or death. All slopes require extra caution. If you feel uneasy on the slope, do not mow it. Do not mow on slopes greater than 15 degrees (25%). Only mow across slopes, never mow up and down slopes.
USE THE SLOPE GAUGE ON THE BACK COVER AS SHOWN TO DETERMINE IF A SLOPE IS TOO STEEP FOR SAFE OPERATION!
To check the slope, proceed as follows:
This page depicts and describes safety symbols that may appear on this mower. Read, understand, and follow all instructions on the mower before attempting to assemble and operate.
| Symbol | Description |
![]() | READ THE OPERATOR'S MANUAL(S) Read, understand and follow all the safety rules and instructions in the manual(s) and on the mower before attempting to operate this mower. Failure to comply with this information may result in personal injury or death. Keep this manual in a safe location for future and regular reference. |
![]() | AVOID AMPUTATION INJURY Do not put hands or feet near or under the cutting deck. Contact with the blade can amputate hands and feet. |
![]() | AVOID CHILD RUNOVER/BLADE INJURY Do not mow when children or others are around. To help avoid blade contact or a thrown object injury, stay in the operator zone behind the mower handles. Keep helpers at least 75 feet (23 meters) from the mower while it is in operation. Keep bystanders, children and pets inside while the mower is in operation. Stop mower if anyone enters the area. |
![]() | AVOID THROWN OBJECT INJURY Keep helpers at least 75' (23 meters) from mower during operation. Remove all stones, sticks, wire, bones, toys, and other foreign objects which could be picked up and thrown by the blade(s). Do not operate the mower without the discharge cover or entire grass catcher in its proper place. |
![]() | AVOID SLIP AND FALL ON SLOPES Slopes are a major factor related to slip and fall accidents which can result in severe injury or death. All slopes require extra caution. If you feel uneasy on the slope, do not mow it. Do not mow on slopes greater than 15 degrees (25%). Only mow across slopes, never mow up and down slopes. |
![]() | GASOLINE IS FLAMMABLE Allow the engine to cool at least five minutes before refueling. |
![]() | AVOID BURN INJURY The muffler and engine become very hot and can cause serious burn injuries. Do not touch. Allow the mower to cool for at least five minutes before storing or attempting any service. |
Your Responsibility —Restrict the use of this power machine to persons who read, understand and follow the warnings and instructions in this manual and on the machine - SAVE THESE INSTRUCTIONS!
This mower is shipped without gasoline or oil in the engine. Be certain to service engine with gasoline and oil as instructed in the Operation section of the Engine Manual before starting or operating your mower.
NOTE: Reference to right and left hand side of the Lawn Mower is observed from the operating position.
Unpacking
OPENING CARTON
REMOVING MOWER FROM CARTON
Mower Assembly
Preform the following procedures to assemble and set up the mower:
NOTE: If necessary, refer to the procedures in the Adjustments Section after assembling the mower.
Handle Assembly
PULL-OUT HANDLE
FOLDING HANDLE
VERTICAL STORAGE HANDLE
Recoil Starter Rope Handle Assembly
NOTE: The rope guide is attached to the right side of the upper handle. Loosen the knob securing the rope guide (Figure 14).

NOTE: Vertical Storage Mowers Only: The recoil starter rope is equipped with a rope stop clamp to prevent the starter rope being pulled into the engine. Do not remove the rope stop clamp.
NOTE: On select units, use the two cable clips provided to secure blade control and drive cables to lower handle (Figure 15).

To reduce wear and allow for proper operation, make sure to leave some slack in the upper portion of the cables.
Attaching the Grass Catcher (If Equipped)
NOTE: To remove grass catcher, lift rear discharge door on the mower. Lift grass catcher up and off the slots in the handle brackets. Reinstall the rear mulch plug (if equipped). Release rear discharge door to allow it to close rear opening of mower.
Attaching Side Discharge Chute or Side Discharge Blower (If Equipped)
The mower is shipped as a mulcher. To convert to side discharge or side discharge blower, ensure the grass catcher is removed, the rear mulch plug is installed (if equipped) and the rear discharge door is closed.
Electric Start Set-Up (If Equipped)
NOTE: Mowers equipped with electric start will use either a lead acid battery in an enclosed battery box (see Electric Starter Battery Box) or a removable lithium ion battery pack (See Installing/Removing Battery Pack).
ELECTRIC STARTER BATTERY BOX (IF EQUIPPED)
NOTE: Remove cable tie (a) from around battery box. Cable tie is used for shipping only (Figure 20).

INSTALLING/REMOVING BATTERY PACK (IF EQUIPPED)
NOTE: To ensure maximum performance and life of lithium-ion battery packs, charge the battery fully before first use.
Read all safety warnings, instructions, and cautionary markings for the battery pack, charger and product. Failure to follow the warnings and instructions may result in electric shock, fire and/or serious injury.
Refer to instructional manual supplied with battery charger for charging, maintenance and battery disposal instructions.
Installing The Battery Pack (Figure 21):

Removing The Battery Pack (Figure 21):
Cutting Height Adjustments
This mower is equipped with one of three types of cutting height adjustment. Refer to Single Lever, Dual Lever or Rear Wheel/ Caster Wheels in this section.
SINGLE LEVER
The single lever cutting height adjustment is located above the rear left wheel (Figure 22).

DUAL LEVER
Front Wheel Drive Mowers - The dual lever cutting height adjustment levers are located above the front and rear right wheels.
Rear Wheel Drive Mowers - The dual lever cutting height adjustment levers are located above the front and rear left wheels.
NOTE: Front wheel drive mower shown in Figure 23.

NOTE: On select mowers - The front and rear height adjustment levers move in the opposite direction to adjust height.
REAR WHEEL/CASTER WHEELS
NOTE: The rear wheel cutting height adjustment lever is located above the rear left wheel (Inset A, Figure 24).

Handle Pitch (If Equipped)
For convenience of operation, you may adjust the pitch of the handle. Perform one of the following.
PULL-OUT AND FOLDING HANDLES
EZ-FOLD OR VERTICAL STORAGE HANDLES
NOTE: For EZ-Fold handles see Figure 26 or for vertical storage handles see Figure 27.


Features
Standing a mower with out the vertical storage feature in the upright position may cause damage to the engine or cause a fuel or oil leak.
Only mowers with the vertical storage feature include an engine that can be stored in the upright position.
Gasoline And Oil Fill-up
Refer to the separate Engine Operator's Manual for additional engine information. This mower is shipped without gasoline (fuel) or oil in the engine. Be certain to service engine with gasoline and oil as instructed before starting or operating your lawn mower.
Use extreme care when handling gasoline. Gasoline is extremely flammable and the vapors are explosive. Never fuel the machine indoors or while the engine is hot or running. Extinguish cigarettes, cigars, pipes and other sources of ignition.
Checking Battery Pack Charge (if Equipped)
Read all safety warnings, instructions, and cautionary markings for the battery pack, charger and product. Failure to follow the warnings and instructions may result in electric shock, fire and/or serious injury.
Refer to instructional manual supplied with battery charger for charging, maintenance and battery disposal instructions.
To Start Engine
Be sure no one other than the operator is standing near the lawn mower while starting engine or operating mower. Never run engine indoors or in enclosed, poorly ventilated areas. Engine exhaust contains carbon monoxide, an odorless and deadly gas. Keep hands, feet, hair and loose clothing away from any moving parts on engine and lawn mower.
Refer to the Engine Operator's Manual for instructions on starting and stopping the engine.
To Stop Engine
Release blade control to stop the engine and blade.
NOTE: If equipped with an electric starter push key, remove the key when the mower is unattended to prevent unauthorized operation.
Wait for the blade to stop completely before performing any work on the mower or to remove the grass catcher. Check blade stopping time is within 3 seconds. If blade does not stop within 3 seconds contact your Service Center.
Using Your Lawn Mower
The operation of any lawn mower can result in foreign objects being thrown into the eyes, which can damage your eyes severely. Always wear safety glasses while operating the mower, or while performing any adjustments or repairs.
Be sure lawn is clear of stones, sticks, wire, or other objects which could damage lawn mower or engine. Such objects could be thrown by the blade in any direction and cause serious personal injury to the operator and helpers.
BAIL DRIVE CONTROL
SINGLE LEVER DRIVE CONTROL
DUAL LEVER DRIVE CONTROLS
NOTE: Your mower is equipped with an advanced internal drive system for ease of use and smooth shifting. When turning or pulling the unit rearward, you may notice higher than normal resistance in the rear wheels under certain conditions. This is perfectly normal and can be remedied by allowing the unit to roll forward slightly without the drive lever(s) engaged before pulling backwards.
PREMIUM DRIVE CONTROL
Using Side Discharge Chute (If Equipped)
To use the mower without mulching or collecting grass, remove the grass catcher and ensure the rear mulch plug (if equipped) is installed. Allow the rear discharge door to close the rear opening of mower. Refer to Attaching The Side Discharge Chute or Side Discharge Blower.
Using Mower as a Mulcher (If Equipped)
For mulching grass, remove the grass catcher or side discharge chute from the mower. When you remove the grass catcher from the mower, ensure the rear mulch plug (if equipped) is installed and allow the rear discharge door to close the rear opening of mower. When you remove the side discharge chute, the mulching plug will close. For effective mulching, do not cut wet grass. If the grass has been allowed to grow in excess of four inches, mulching is not recommended. Use the grass catcher to collect clippings instead.
Using Mower with Grass Catcher (If Equipped)
You can use the grass catcher to collect clippings while you are operating the mower.
If you strike a foreign object, stop the engine. Disconnect the spark plug wire, thoroughly inspect mower for any damage, and repair damage before restarting and operating. Extensive vibration of mower during operation is an indication of damage. The mower should be promptly inspected and repaired.
Vertical Storage Mower (If Equipped)
Standing a mower without the vertical storage feature in the upright position may cause damage to the engine or cause a fuel or oil leak. Only mowers with the vertical storage feature include an engine that can be stored in the upright position. Do not store the mower outside or in damp area. Store mower in a dry, clean area.
STORING THE MOWER
Wait for engine to cool before wiping or storing.
Before storing the mower in the vertica l position ensure the fuel level is at or below the recommended fill level.
Refer to the Engine Operator's Manual.
REMOVING THE MOWER FROM STORAGE
When moving the mower or unfolding the handle do not put hands or feet near or under the cutting deck. Otherwise serious injury may occur. To prevent accidentally starting the mower engine when unfolding the handle, do not hold the blade control against the upper handle. Otherwise serious injury may occur.
Before performing any type of maintenance/service, disengage all controls and stop the engine. Wait until all moving parts have come to a complete stop. Allow the engine to cool. Disconnect spark plug wire and ground it against the engine to prevent unintended starting.
General Recommendations
Lubrication
BLADE CONTROL
Lubricate pivot points on the blade control at least once a season and before storage with light oil. This control must operate freely in both directions (Figure 34).

WHEELS
Lubricate all wheel hubs/axles at least once a season and before storage with light oil (Figure 34). Figure 34
Engine Maintenance
Annually check the engine mounting bolts torque: Min. 29.2 ft-lbs (39.6 N-m), Max. 41.7 ft-lbs (56.3 N-m). Refer to the Engine Operator's Manual packed with your mower for a detailed description of all engine-related service specifications and storage. If engine fails to start, runs erratic, overheats, skips (hesitates) or idles poorly refer to the Engine Operator's Manual.
Check engine oil level before each use. Refer to Engine Operator's Manual.
CLEAN ENGINE
Do not use water to clean engine parts. Water could contaminate fuel system. Use a brush or dry cloth.
Mower Maintenance
DECK WASH (IF EQUIPPED)
Your mower's deck may be equipped with a deck wash system. Use the deck wash to rinse grass clippings from the deck's underside and prevent the buildup of corrosive chemicals. Complete the following steps AFTER EACH MOWING:
DECK CLEANING
At least once a season and before storage, clean the underside of the mower deck to prevent build-up of grass clippings or other debris.
Blade Care
Wait for the blade to stop completely before performing any work on the mower or to remove the grass catcher.
Check blade stopping time is within 3 seconds. If blade does not stop within 3 seconds contact your Service Center.
When removing the cutting blade for sharpening or replacement, protect your hands with a pair of heavy gloves or use a heavy rag to hold the blade.
Annually check the mower blade mounting bolt torque: Min. 37.5 ft-lbs (50.8 N-m), Max. 50.0 ft-lbs (67.8 N-m).
Periodically inspect the blade and blade adapter for bends or cracks, especially if you strike a foreign object or experience excessive vibration. Replace when necessary. Follow the steps below for blade service:
Belt Care
A damaged or worn belt may prevent the mower from selfpropelling. Periodically inspect the belt and pulley system for damage or wear. If necessary contact an authorized Service Center to have belt replaced.
NOTE: Several components must be removed in order to change the mower's drive belt. See an authorized Service Center to have belt replaced.
Drive Control Adjustment
SINGLE LEVER AND DUAL LEVER DRIVE CONTROLS (IF EQUIPPED)
If equipped, there is an adjustment wheel located in the drive control handle housing that is used to tighten or loosen the drive belt. You will need to adjust the drive control if the mower does not propel itself with the drive control engaged or if the mower's wheels hesitate with the drive control engaged. If either of these conditions occur, rotate adjustment wheel clockwise to tighten cable or counterclockwise to loosen the cable. See Figure 37 for location on Single Lever Drive Control and Figure 38 for Dual Lever Drive Control.

PREMIUM DRIVE (IF EQUIPPED)
The drive system consists of pulleys, a belt, and a cable linking the transmission to the drive handle. As these components wear, adjustment may be needed. To adjust the drive linkage perform the following:
Replacing Battery (If Equipped)
Batteries contain sulfuric acid which may cause burns. Do not short circuit or damage batteries in any way. Do not put batteries in fire as these may burst or release toxic materials.
Charging Battery (If Equipped)
The battery contains corrosive fluid and toxic material; handle with care and keep away from children. Do not puncture, disassemble, damage or incinerate the battery. Explosive gases could be vented during charging or discharging. Use in a well ventilated area, away from sources of ignition.
Charge the battery at initial setup, at end of the season, after extended periods of non-use, and as needed. The battery may need to be charged more often if stopping and starting the mower frequently during each cut throughout the season, such as when bagging.
NOTE: The specially designed plug on the charger lead will only fit into the charging port on the battery box.
NOTE: The battery must be stored with a full charge. Extended storage of a discharged battery will reduce life and capacity of the battery. For optimal battery life, charge the battery once per month while in storage.
Do not remove the battery from the battery box for any reason other than replacement.
Charging the Battery Pack (If Equipped)
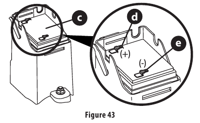
Refer to instructional manual supplied with battery charger for charging, maintenance and battery disposal instructions (Figure 45).

The battery contains corrosive fluid and toxic material; handle with care and keep away from children. Do not puncture, disassemble, mutilate or incinerate the battery. Explosive gases could be vented during charging or discharging. Use in a well ventilated area, away from sources of ignition.
Read all safety warnings, instructions, and cautionary markings for the battery pack, charger and product. Failure to follow the warnings and instructions may result in electric shock, fire and/or serious injury.
Battery Disposal
This procedure refers to mowers equipped with a battery in an enclosed battery box. For mowers equipped with a removable battery pack, refer to instructional manual supplied with battery charger for disposal instructions.
DISPOSING OF DAMAGED OR WORN-OUT BATTERIES
The following toxic and corrosive material is used in this battery: SULFURIC ACID, a toxic material.
To prevent contamination of the environment, contact your local waste disposal agency for specific instructions before disposing of damaged or worn-out lithium-ion batteries. Take batteries to a local recycling and/or disposal center, certified for lithium-ion battery disposal.
Do not use broken or cracked batteries, even if there is no leakage. Replace damaged or worn-out batteries with new batteries. DO NOT ATTEMPT TO REPAIR BATTERIES! Repair attempts may result in severe personal injury, due to explosion or electrical shock.
To avoid personal injury and damage to the environment:
BATTERIES LABELED WITH THE CALL2RECYCLE BATTERY SEAL

About Call2Recycle Battery Seals - Call2Recycle's industry steward program helps battery and product manufacturers fulfill recycling requirements in the U.S. and Canada, including compliance with extensive state, provincial and federal regulations, such as the Mercury- Containing and Rechargeable Battery Act (The Battery Act). Call2Recycle® Licensees/Industry Stewards, participating battery and product manufacturers and marketers, purchase the rights to imprint the Call2Recycle Battery Seals on their rechargeable batteries and products. When you see the Call2Recycle Battery Seal, you can feel confident knowing that your battery or product can be safely and responsibly recycled.
About Call2Recycle - Since 1994, Call2Recycle has diverted more than 75 million pounds of rechargeable batteries from local landfills and established a network of 30,000 recycling drop-off locations. More than 200 battery and/or product manufacturers, Call2Recycle Industry Stewards, have united to ensure that batteries are responsibly recycled when they reach their end of life and fund the program that is operated by Call2Recycle, Inc., a 501(c)4 nonprofit public service organization.
To locate the nearest recycling center, please call 1-800-822-8837.
Before setting up and operating your new mower, please locate the model plate on the equipment and record the information in the provided area to the right. You can locate the model plate by standing at the operator's position and looking down at the rear of the deck. This information will be necessary, should you seek technical support via our web site, Customer Support Department, or with a local authorized service dealer.

Read and follow all safety rules and instructions in this manual before attempting to operate this machine.
Failure to comply with these instructions may result in personal injury - SAVE THESE INSTRUCTIONS.
CALIFORNIA PROPOSITION 65
Engine Exhaust, some of its constituents, and certain vehicle components contain or emit chemicals known to State of California to cause cancer and birth defects or other reproductive harm.
NOTE: This Operator's Manual covers several models. Features may vary by model. Not all features in this manual are applicable to all models and the model depicted may differ from yours.

Form No. 769-22911
(October 30, 2019)
Advertisement
































Need help?
Do you have a question about the M220 and is the answer not in the manual?
Questions and answers