Advertisement

Key features of your new refrigerator
Your Samsung French Door Refrigerator comes equipped with various innovative storage and energy-efficient features.
*For easy future reference, write the model and serial number. You will find your model number and serial number on the left side of the refrigerator.
Congratulations on your purchase of the Samsung French Door Refrigerator. We hope you enjoy the state-of-art features and efficiencies that this new appliance offers.
Selecting the best location for the Refrigerator
First thing! Make sure that you can easily move your Refrigerator to its final location by measuring doorways (both width and height), thresholds, ceilings, stairways, etc.
The following chart details the exact height and depth of Samsung French Door Refrigerator.
| MODEL | RFG297 | ||
| Dimension (inches/mm) | Width | 912mm (35 5/8) | |
| Case Height | with Hinge | 1775mm (69 7/8) | |
| without Hinge | 1730mm (68 1/8) | ||
| Depth | with Door | 912mm (35 7/8) | |
| without Door | 734mm (28 7/8) | ||
When moving your refrigerator
To prevent floor damage be sure the front leveling legs are in the up position (above the floor).

Refer to 'Leveling the refrigerator' in the manua.
For proper installation, this refrigerator must be placed on a level surface of hard material that is the same height as the rest of the flooring. This surface should be strong enough to support a fully loaded refrigerator, or approximately 660lbs (299kg). To protect the finish of the flooring, cut a large section of the cardboard carton and place under the refrigerator where you are working. When moving, be sure to pull the unit straight out and push back in straight.

Now that you have your new Refrigerator installed in place, you are ready to set up and enjoy the features and functions of the appliance. By completing the following steps, your Refrigerator should be fully operational.
Check the accessory list below.

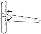
If the Refrigerator is too large to pass through your doorway easily, you can remove the refrigerator doors.
Tools you will need

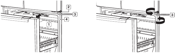
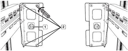
Now that the doors are back on the Refrigerator, you want to make sure the Refrigerator is level so that you can make final adjustments. If the Refrigerator is not level, it will not be possible to get the doors perfectly even.
When the Left door is lower than the Right door.
Insert a flat-blade screwdriver into a notch on the left control lever, turn it clockwise or counter-clockwise to level the left door.

When the Left door is higher than the Right door.
Insert a flat-blade screwdriver into a notch on the right control lever, turn it clockwise or counter-clockwise to level the right door.

We do not recommend making small adjustments with the control lever. Instead, refer to for the best way to make minor adjustments to the doors below.
Remember a level Refrigerator is necessary for getting the doors perfectly even. If you need help, review the previous section on leveling the Refrigerator.


After adjustment, first tighten screw (3) and then screw (2).
A water dispenser is one of the helpful features on your new Samsung Refrigerator. To help promote better health, the Samsung water filter removes unwanted particles from your water. However, it does not sterilize or destroy microorganisms. You may need to purchase a water purifying system to do that. In order for the ice maker to operate properly, a water pressure of 20~125 psi (pound per square inch) is required.
Under normal conditions, a 170 cc (5.75 oz.) cup can be filled in 10 seconds.
If the Refrigerator is installed in an area with low water pressure (below 20psi), you can install a booster pump to compensate for the low pressure.
Make sure the water storage tank inside the Refrigerator is properly filled. To do this, press the water dispenser lever until the water runs from the water outlet.
Water line installation kits are available at extra cost from your dealer. We recommend using a water supply kit that contains copper tubing.
There are several items that you need to purchase to complete this connection.
You may find these items sold as a kit at your local hardware store.

You should remove the right side upper glass shelf before installing the water filter.
Be sure to flush the dispenser thoroughly or water may from it. This is due to the fact that there is still air in the line.

| ( 1 ) Energy Saver Button | For better energy efficiency, press the Energy Saver button. If condensation occurs on the doors, turn the Energy Saver function off. |
| ( 2 ) Freezer/Hold 3 sec for Power Freezer Button | Press the Freezer/Hold 3 sec for Power Freezer button to set the Freezer to your desired temperature. You can set the temperature between -14ºC and -25ºC. Press and hold the Freezer/Hold 3 sec for Power Freezer button for 3 seconds, to speed up the time needed to freeze products in the Freezer. It can be helpful if you need to quickly freeze easily spoiled items or if the temperature in the Freezer has warmed dramatically (For example, if the door was left open). |
| ( 3 ) Alarm/Hold 3 sec for Filter Reset Button | Press the Alarm button to turn off the door open alarm. After removing the old water filter and installing a new one, reset the Indicator by pressing and holing the "Alarm" button for 3seconds. The indicator will light again in about 6months to let you know it is Time to change your water filter. |
| ( 4 ) Lighting Button | Press the Lighting button to turn on the Dispenser LED lamp. |
| ( 5 ) Fridge/Hold 3 sec for Power Cool Button | Press the Fridge/Hold 3 sec for Power Cool button to set the fridge to your desired temperature. You can set the temperature between 1ºC and 7ºC. Press and hold the Fridge/Hold 3 sec for Power Cool button for 3 seconds, to speed up the time needed to cool products in the Refrigerator. It can be helpful if you need to quickly cool easily spoiled items or if the temperature in the fridge has warmed dramatically (For example, if the door was left open). |
| ( 6 ) Ice Off / Hold 3 sec to Child Lock | Press the Ice Off button to turn the ice making function off. If you press and hold the Ice Off button for 3 seconds, the Display and Dispenser will be locked. |
| ( 7 ) Ice Type Button | Press the Ice Type button to select your desired ice type. Cubed and crushed ice modes will be alternatively changed whenever you press the button. After selecting, push the Dispenser Lever gently with your glass. This mode can not be used with the Water mode simultaneously. |
| ( 8 ) Water Button | Press the Water button to dispense water. There is no Off mode additionally. After selecting, push the Dispenser Lever gently with your glass. This button can not be used with the Ice Type button simultaneously. Water mode will be off if you press the Ice Type button. |
| ( 1, 2 ) COOLING OFF | Cooling off stops cooling in the freezer and refrigerator compartments, but does not shut off electrical power to the refrigerator. To use this feature, press Energy Saver Button and Freezer/Hold 3 sec for Power Freezer Button simultaneously for 3 seconds until an alarm sound is heard. To cancel this mode, press the same buttons again for 3 seconds. Even though power is turned off and then back on, it remain in Cooling off mode. |
"Freezer Temp" indicates the current Freezer temperature.
"Fridge Temp" indicates the current Refrigerator temperature.
When not in use the Display will turn off not in use, this is normal.

Power Freeze 
This icon will light up when you activate the "Power Freeze" feature. "Power Freeze" is great when you need a lot of ice. When you have enough ice, just press the button again to cancel the "Power Freeze" mode.
If you select "Power Freeze", the inside temperature of the Freezer will decrease for about two and a half hours.
Cubed ice
, Crushed ice
, Water 
Enjoy cubed or crushed ice by selecting your preference from the digital control panel. If you don't need ice, turn the feature off to save on water and energy consumption. Each Ice type icon will light up depending on what is currently chosen.
Power Cool 
This icon will light up when you activate the "Power Cool" button. For a quick fridge cool down, use "Power Cool".
If you select "Power Cool", the inside temperature of the Fridge will decrease for about two and a half hours.
Filter indicator 
When the filter indicator light is on, it is time to change the filter. Typically this happens about every 6 months.
The filter Indicator will be Blue when you initially insert the water filter.
The filter Indicator will be Light Pink when you have used your water filter for 5 months.
The filter Indicator will be Red when you have used your water filter for 6 months.
After removing the old water filter and installing a new one (see instructions on how to do this), reset the indicator by pressing and holding the "Alarm/Hold 3 sec for Filter Reset" button for 3 seconds.
Cooling off Mode ("OF & OF" code on the display)
This function is for store display refrigerators. It is not for customer use.
In Cooling Off Mode, the refrigerator works but doesn't make cool air. To cancel this mode, press the Power Freeze and Freezer buttons at the same time for 3 seconds until a "Ding-dong" sound is heard and the unit will now cool.
Energy saver
This icon will light up when you activate the "Energy Saver" function. The Energy Saver function is automatically set to "ON" when power is supplied to the Refrigerator. If condensation occurs on the doors, turn the Energy Saver function off.
Lighting 
This icon will light up when you activate the "Lighting" feature. In this case, the dispenser light(under the display) will be on constantly. If you would like the dispenser light to come on only when using the dispenser, turn the "Lighting" feature off.
Alarm 
This icon will light up when you activate the "Alarm" feature. The door alarm will sound if any door is open for more than 3 minutes. The beeping stops when you close the door. Initially the Alarm is set to on.
Ice off
This icon will light up when you activate the "Ice Off" feature. In this case, the ice will not be produced.
Lock 
This icon will light up when you activate the "Lock" feature. In this case, you won't be able to use the control panel. If you press and hold the Ice Off/Hold button for 3 sec to unlock Child Lock, you will be able to use the control panel again.
Basic temperature of Freezer and Refrigerator Compartments
The basic temperature and/or recommended temperature of Freezer and Refrigerator Compartments are -19°C and 3°C respectively. If the temperature of Freezer and Refrigerator Compartments are too high or low, adjust the temperature manually.
Controlling the Freezer temperature
The Freezer temperature can be set between -14ºC and -25ºC to suit your particular needs. Press the Freezer button repeatedly until the desired temperature is shown in the temperature display. Keep in mind that foods like ice cream may melt at 15ºC. The temperature display will move sequentially from -25ºC to -14ºC. When the display reaches -14ºC, it will begin again at -25ºC. Five seconds after the new temperature is set, the display will again show the actual current freezer temperature until the new temperature is reached.
Controlling the Refrigerator temperature
The Refrigerator temperature can be set between 7ºC and 1ºC to suit your particular needs. Press the Fridge button repeatedly until the desired temperature is shown in the temperature display. The temperature control process for the Fridge works just like the Freezer process. Press the Fridge button to set your desired temperature. After a few seconds, the Fridge will begin adjusting towards the newly set temperature. This will be reflected in the digital display.
Press the ice / water button to select the type of you want

Place a glass underneath the ice dispenser and push gently against the dispenser lever with your glass.
Make sure the glass is in line with the dispenser to prevent the ice from bouncing out.
Please wait 2 seconds before removing the glass under the dispenser to prevent spills. If the Refrigerator door opens, the Dispenser does not work.
When you dump the ice from the ice bucket, you should press the dispenser lever once with 'ICE CUBED' or 'CRUSHED' function ON to get new ice faster after replacing the ice bucket in the refrigerator.
Whenever all ice is used at one time, the above step 3 and4 must be repeated (before dispense the first 4 to 6 ice cubes, it needs waiting 8 hours). This will replenish the ice cubes and ensure maximum ice production.
Place a glass underneath the water outlet and push gently against the water dispenser lever with your glass. Make sure the glass is in line with the dispenser to prevent the water from splashing out. If you have just installed the refrigerator or installed a new water filter, Flush 3 gallons through filter before use (flush approximately 6 minutes). Make sure that water flows clearly again before drinking.
When you do not use the water dispenser for 2~3 days (especially during the summer), the dispensed water may have a funny smell or taste. If this occurs, we recommend that you discard the first 1~2 glasses for better tasting water.
Function When selecting the Ice Off mode, remove all ice cubes from the bucket. If you are not using the ice dispenser, the ice cubes may clump together. Pull the lock lever forward to throw away ice cubes or remove clumped ice from the bucket.
Push the bucket back until you hear a click.

If you have a long vacation or business trip, close the water valve and shut off the water supply to the Refrigerator. This will help prevent accidental leakages. Do not put your fingers, hands or any other unsuitable objects in the chute or ice-maker bucket.
Never put your finger or any other objects in the dispenser opening.
Water clouding phenomenon
All water provided to refrigerators flows through the core filter which is an alkaline water filter. In this process, the pressure in the water that has flowed out of the filter gets increased, and oxygen and nitrogen become saturated. When this water flows out in the air, the pressure plummets and the oxygen and nitrogen get supersaturated so that they turn into gas bubbles. The water could look misty due to these oxygen bubbles. The water may look temporarily cloudy due to these oxygen bubbles. After a few seconds, the water will look clear.
Please wait 1 second before removing the cup after dispensing water to prevent spills. Do not pull out the lever dispenser after taking out ice or water. It comes back automatically. Ice is made in cubes. When you select "Crushed", the icemaker grinds the ice cubes into crushed ice.
Operating your SAMSUNG French Door Refrigerator wherever it appears
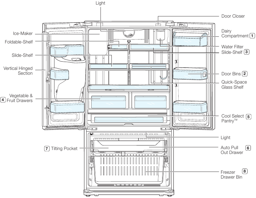
Use this page to become more familiar with the parts and features of the Refrigerator.

When closing the door, make sure the Vertical Hinged Section is in the correct position to avoid scratching the other door.
If the Vertical Hinged Section is reversed, put it back to the right position and close the door.
Moisture may occur at times on the Vertical Hinged Section.
The door handle may become loose over time. If this happens, tighten the bolts found on the inside of the door.
If you close one door with a lot of force, the other door may open.
The Samsung French Door Refrigerator has been designed to provide you with maximum space saving features and functions. Here are some of the customized compartments we have created to keep your food fresher longer. In order to further prevent odor from seeping into the ice compartment, stored food should be wrapped securely and as airtight as possible.
| ( 1 ) DAIRY COMPARTMENT | Can be used to store small dairy items like butter or margarine, yogurt or cream cheese bricks | |
| ( 2 ) DOOR BINS | Designed to handle large, bulky items such as gallons of milk or other large bottles and containers. | ![]() |
| ( 3 ) TEMPERED GLASS SHELVES | Designed to be crack-resistant, the shelves can be used to store all types of food and drinks. Circular marks on the glass surface are a normal phenomenon and can usually be wiped clean with a damp cloth. | ![]() |
| ( 4 ) VEGETABLE & FRUIT DRAWERS | Used to preserve the freshness of your stored vegetables and fruits. This drawer has been specifically designed to control the level of humidity within the compartment. Keep vegetables and fruits separate when possible. | ![]() |
| ( 5 ) COOL SELECT PANTRY™ | Can be used for large party trays, deli items, pizza, beverages or miscellaneous items. | ![]() |
Do not place any large articles of food under the lamp in the Refrigerator. An air sensor is located near the lamp and if the sensor is blocked, your Refrigerator may become too cold. Please place Vegetable and Fruits in the Vegetable and Fruits drawers to avoid freezing them. If the food in your Refrigerator becomes frozen, please set the temperature higher.
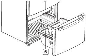
| ( 6 ) AUTO PULL OUT DRAWER | Best used to store meats or dry foods. Stored food should be placed in a container or wrapped securely using foil or other suitable wrapping materials. | |
| ( 7 ) TILTING POCKET | Can be used for small packages of frozen food. You can store a 16" pizza. | ![]() |
| ( 8 ) FREEZER DRAWER BIN | Can be used to store meat and dry foods. Stored food should be placed in a container or wrapped securely using foil or other suitable wrapping materials. | ![]() |
Bottles should be stored tightly together so that they do not tip and fall out when the Refrigerator door is opened.
If you plan to go away for a long time, empty the Refrigerator and turn it off. Wipe the excess moisture from the inside of the appliance and leave the doors open. This helps keep odor and mold from developing.
The Cool Select Pantry™ is a full-width drawer with adjustable temperature control. This pantry can be used for large party trays, deli items, pizza, beverages or miscellaneous items. There is a temperature control which can adjust the amount of cold air allowed into the pantry. The control is located on the right side of the pantry.
You can select your Pantry temperature from among Fresh(3°C[38°F]), Chilled(0°C[34°F]), and Deli(5°C[41°F]) modes.
Deli
Fresh
Chilled
Fruits and vegetables may be damaged under the "Chilled" setting. Do not store lettuce or other leafy produce in this pantry.
Do not store glass bottles in this pantry. If they are frozen, they can break and cause personal injury.
Injury may occur if the door bins are not firmly assembled. Do not allow children to play with bins. Sharp corners of the bins may cause injury.
Do not adjust a bin full of foods.
Dust removal method -Remove the guard and wash in water.
The drawers need to be removed before the glass shelf above them can be lifted out. Do not open the drawers while the pantry is open. It may cause a scratch or breakage to the drawer covers.
The Refrigerator doors ensure that the doors close all the way and are securely sealed. When the Refrigerator door is only partially open, it will automatically close. The door will stay open when opened more than 3 Inches.
The Tilting Pocket can be used to store up to a 16" pizza if you place it as shown in the illustration.

Do not allow babies or children go inside the freezer drawer. They could damage the refrigerator and seriously injure themselves. Do not sit on the freezer door. The door may break. Do not allow children to climb into the freezer drawer.
If you remove the divider to clean the freezer drawer, be sure to replace the divider. It is for the safety of babes or children.
Children can become trapped inside and suffocate.
Caring for your Samsung French Door Refrigerator prolongs the life of your appliance and helps keep the refrigerator free of odor and germs.
Clean the inside walls and accessories with a mild detergent and then wipe dry with a soft cloth. You can remove the drawers and shelves for a more thorough cleaning. Just make sure to dry drawers and shelves before putting them back into place.

Wipe the control panel and digital display with a damp, clean, soft cloth. Do not spray water directly on the surface of the refrigerator. The doors, handles and cabinet surfaces should be cleaned with a mild detergent and then wiped dry with a soft cloth. To keep your appliance looking its best, polish the exterior once or twice a year.

Do not spray water directly or not use a wet or damp cloth.
Do not use benzene, thinner, or Clorox for cleaning. They may damage the surface of the appliance and may cause a fire.

Printed letters on the display may be erased if the stainless cleaner is applied directly to the area where the letters are printed.
Push down one end of the tray dispenser and remove it. Wipe the Ice / Water Dispenser with a clean and soft cloth.

When using the crushed ice selection from the dispenser some residual ice chips may start to collect in the ice chute. In order to prevent that residual ice from melting and running out of the chute you should clean out the residual ice when you see it start to collect in the ice chute.
If the rubber door seals are dirty, the doors may not close properly, and the refrigerator will not operate efficiently. Keep the door seals free of dust or stain by cleaning the doors with a mild detergent and damp cloth. Wipe dry with a clean, soft cloth.

Do not clean the refrigerator with benzene, thinner, or car detergent due to risk of fire.
To keep cords and exposed parts free of dust and dirt accumulation. Vacuum the rear side of the appliance once or twice a year.
Do not remove the back cover (
). You could suffer an electric shock.

Do not disassemble or replace the LED type Lighting. To change the LED Type Lighting contact Samsung service center or your authorised Samsung dealer.
If Users randomly exchange the LED lamp by yourself, this may result in electric shock or personal injury.
When the interior or exterior LED lamp has gone out, please contact your service agents.
To reduce risk of water damage to your property DO NOT use generic brands of water filters in your SAMSUNG Refrigerator. USE ONLY SAMSUNG BRAND WATER FILTERS. SAMSUNG will not be legally responsible for any damage, including, but not limited to property damage caused by water leakage from use of a generic water filter. SAMSUNG Refrigerators are designed to work ONLY WITH SAMSUNG WATER Filter.
The "Filter Indicator" light lets you know when it is time to change your water filter cartridge. To give you preparation time to get a new filter, the red light will come on just before the capacity of the current filter runs out. Changing the filter on time provides you with the freshest, cleanest water from your fridge.
Filter For replacement water filter you can visit your local service center or contact the Samsung Parts distributor. Be sure the replacement water filter has the SAMSUNG logo on the box and on the water filter.
Link: http://www.samsungparts.com
| PROBLEM | SOLUTION |
| The Refrigerator does not work at all or it does not chill sufficiently. |
|
| The food in the Refrigerator is frozen. |
|
| You hear unusual noise or sounds. |
|
| The front corners and vertical hinged section of the appliance are hot and condensation is occurring. |
|
| Ice Maker is not producing ice. |
|
| You can hear water bubbling in the Refrigerator. |
|
| There is a bad smell in the Refrigerator. |
|
| Frost forms on the walls of the Freezer. |
|
| Water dispenser is not functioning. |
|
In case the need for servicing arises do not hesitate to call any samsung authorized service Center nearby giving them your name, address and telephone number when your product is not functioning properly.
Samsung Electronics America, Inc. 400 Valley Road Sulte 201 Mt. Arlington, NJ 07956
1-800-SAMSUNG (1-800-726-7864)
and www.samsung.com
Customer Care Center 1-800-SAMSUNG(7267864)
Customer Care Center fax. 1-866-436-4617
All warranty repairs or part replacements must be performed by a SECA Authorized Service Center. (To find the nearest SECA Service Center, call 1-800-SAMSUNG (7267864) or visit our web site at www.samsung.com/ca)
To receive more complete service, please register your product at www.samsung.com/register
TEL: 905-542-3535
FAX: 905-542-3835
Before using your new Samsung French Door Refrigerator, please read this manual thoroughly to ensure that you know how to safely and efficiently operate the features and functions that your new appliance offers.
Because the following instruction covers various models, the characteristics of your Refrigerator may differ slightly from the Refrigerator described in this manual. If you have any question, contact us at 1-800-SAMSUNG or find help and information online at www.samsung.com.
What the icons and signs in this user manual mean:
| | Hazards or unsafe practices that may result in severe personal injury or death. |
| | Hazards or unsafe practices that may result in minor personal injury or property damage. |
| | To reduce the risk of fire, explosion, electric shock, or personal injury when using your refrigerator, follow these basic safety precautions: |
| Do NOT attempt. |
| Do NOT disassemble. |
| Do NOT touch. |
| Follow directions explicitly. |
| Unplug the power plug from the wall socket. |
| Make sure the machine is grounded to prevent electric shock. |
| Call the service center for help. |
These warning signs are here to prevent injury to you and others.
Please follow them explicitly
Keep this manual in a safe place for future reference.
Do not plug several appliances into the same power receptacle.
Make sure that the power plug is not kinked or damaged by the back of the Refrigerator.
Do not spray water directly into or on the outside of the Refrigerator/Freezer drawer.
Do not use aerosols near the Refrigerator.
Do not put undue stress on the power cord or place heavy articles on it.
Do not insert the power plug with wet hands.
Do not put a container filled with water on the Refrigerator.
Do not install the Refrigerator in a damp place or place where it may come in contact with water.
Do not store volatile or flammable substances in the Refrigerator.
Do not disassemble or repair the Refrigerator by yourself.
unplug the Refrigerator before changing the interior light.
If you wish to dispose of the Refrigerator, remove the doors and seals before throwing it away.
The Refrigerator must be safely grounded
Never use gas pipes, telephone lines or other potential lightning attractors as an electrical ground.
Use good judgment when filling the Refrigerator with food and drinks.
Do not put bottles or glass containers in the Freezer drawer.
If the electrical wall socket is loose, do not insert the power plug.
Never unplug your Refrigerator by pulling on the power cord.
Do not store articles on the top of the appliance.
Do not store pharmaceutical products, scientific materials and temperature-sensitive products in the refrigerator.
Do not allow children to climb, stand or hang on shelves and handles of the Refrigerator. they could damage the Refrigerator and seriously injure themselves. Do not sit on the freezer door. the door may break. Do not allow children to climb into the freezer basket.
if you notice a chemical or burning plastic smell or see smoke, unplug the Refrigerator immediately and contact your samsung Electronics service Center.
after your Refrigerator is in operation, do not touch the cold surfaces in the Freezer compartment. Particularly when hands are damp or wet, skin may adhere to these extremely cold surfaces.
Do not put your hands under the appliance.
Never put fingers or other objects into the water dispenser hole or ice chute.
If the Refrigerator will not be used for a long period of time (for example, over several months), unplug the power from the wall.
Do not use a wet or damp cloth when cleaning the plug.
Remove any dust or foreign matter from the power plug pins.
If the Refrigerator is disconnected from the power supply, you should wait for at least five minutes before plugging it back in.
Do not place the refrigerator directly in sunlight.
The appliance must be positioned for easy access to power source.
If the power cord is damaged, it must be replaced by the manufacturer, a certified service agent or qualified service personnel.
If you have a long vacation planned, empty the Refrigerator and turn it off.
Service warranty and Modification
Children can get trapped inside Refrigerators.
Before you throw away your old Refrigerator or Freezer, make sure that you;
This appliance is not intended for use by small children or infirm persons without capable, adult supervision. Small children should be supervised when using the appliance.
Do not block air holes
Here you can download full pdf version of manual, it may contain additional safety instructions, warranty information, FCC rules, etc.
Advertisement

).
) at each side of the top cap and the one connector (
) on left side door. Remove the tube (
) with pressing the dark gray color part (
) of the water line coupler.
) attached to the upper left and right door hinges with a wrench(10mm). With a Philips head screwdriver, remove the ground screw (
) attached to the upper left and right door hinges.
).

) attached to the lower left and right door hinges. With an wrench(3/16"), remove the two hex head bolts (
) attached to the lower left and right door hinges.
).





).

) into the upper left and right door hinges.






) into both brackets (
) or counter-clockwise (
).

























Need help?
Do you have a question about the RFG297 and is the answer not in the manual?
Questions and answers