Advertisement

WARNING!
Chain saws can be dangerous! Careless or improper use can result in serious or fatal injury to the operator or others.

Please read the operator's manual carefully and make sure you understand the instructions before using the machine.
Always wear:


Both of the operator ' s hands must be used to operate the chain saw.

Never operate a chain saw holding it with one hand only.

Contact of the guide bar tip with any object must be avoided.

Tip contact may cause the guide bar to move suddenly upward and backward (so-called kickback), which may cause serious injury.

Decompression valve: The valve is to reduce the pressure in the cylinder and make starting easier. You should always use the decompression valve when starting the machine.

Ignition; choke: Set the choke control in the choke position. This should automatically set the stop switch to the start position.

Adjustment of the oil pump

Chain brake, activated (right)
Chain brake, not activated (left)
Other symbols/decals on the machine refer to special certification requirements for certain markets.

Switch off the engine by moving the stop switch to the STOP position before carrying out any checks or maintenance.

Always wear approved protective gloves.

Regular cleaning is required.

Visual check.

Protective goggles or a visor must be worn.

Refuelling.

Filling with oil and adjusting oil flow.

The chain brake must be engaged when the chain saw is started.

Kickback may occur when the nose or tip of the guide bar touches an object, and cause a lightning fast reverse reaction, kicking the guide bar up and towards the operator. May cause serious personal injury.
You will find the following labels on your chain saw:

EPA

The Emissions Compliance Period referred to on the Emission Compliance label indicates the number of operating hours for which the engine has been shown to meet Federal emissions requirements. Category C = 50 hours, B = 125 hours, and A = 300 hours.
Maintenance, replacement, or repair of the emission control devices and system may be performed by any non-road engine repair establishment or individual.

Under no circumstances may the design of the machine be modified without the permission of the manufacturer. Always use genuine accessories. Non-authorized modifications and/or accessories can result in serious personal injury or the death of the operator or others. Your warranty may not cover damage or liability caused by the use of non-authorized accessories or replacement parts.
A chain saw is a dangerous tool if used carelessly or incorrectly and can cause serious, even fatal injuries. It is very important that you read and understand the contents of this operator's manual.
The inside of the muffler contain chemicals that may be carcinogenic. Avoid contact with these elements in the event of a damaged muffler.
Long term inhalation of the engine's exhaust fumes, chain oil mist and dust from sawdust can represent a health risk.
This machine produces an electromagnetic field during operation. This field may under some circumstances interfere with active or passive medical implants. To reduce the risk of serious or fatal injury, we recommend persons with medical implants to consult their physician and the medical implant manufacturer before operating this machine.
Never allow children to use or be in the vicinity of the machine. As the machine is equipped with a spring-loaded stop switch and can be started by low speed and force on the starter handle, even small children under some circumstances can produce the force necessary to start the machine. This can mean a risk of serious personal injury. Therefore remove the spark plug cap when the machine is not under close supervision.
Running an engine in a confined or badly ventilated area can result in death due to asphyxiation or carbon monoxide poisoning.
Faulty cutting equipment or the wrong combination of bar and saw chain increases the risk of kickback! Only use the bar/saw chain combinations we recommend, and follow the filing instructions. See instructions under the heading Technical data.
It is not possible to cover every conceivable situation you can face when using a chain saw. Always exercise care and use your common sense. Avoid all situations which you consider to be beyond your capability. If you still feel uncertain about operating procedures after reading these instructions, you should consult an expert before continuing. Do not hesitate to contact your dealer or us if you have any questions about the use of the chain saw.
We will willingly be of service and provide you with advice as well as help you to use your chain saw both efficiently and safely. Attend a training course in chain saw usage if possible. Your dealer, forestry school or your library can provide information about which training materials and courses are available.

Work is constantly in progress to improve the design and technology - improvements that increase your safety and efficiency. Visit your dealer regularly to see whether you can benefit from new features that have been introduced.
Most chain saw accidents happen when the chain touches the operator. You must use approved personal protective equipment whenever you use the machine. Personal protective equipment cannot eliminate the risk of injury but it will reduce the degree of injury if an accident does happen. Ask your dealer for help in choosing the right equipment.

Generally clothes should be close-fitting without restricting your freedom of movement.
Sparks can come from the muffler, the bar and chain or other sources. Always have fire extinguishing tools available if you should need them. Help prevent forest fires.
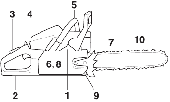
In this section the machine's safety features and their function are explained. For inspection and maintenance see instructions under the heading Checking, maintaining and servicing chain saw safety equipment. See instructions under the heading, What is what?, to find where these parts are located on your machine.
The life span of the machine can be reduced and the risk of accidents can increase if machine maintenance is not carried out correctly and if service and/or repairs are not carried out professionally. If you need further information please contact your nearest servicing dealer.
Never use a machine with defective safety components. Safety equipment must be inspected and maintained. See instructions under the heading Checking, maintaining and servicing chain saw safety equipment. If your machine does not pass all the checks, take the saw to a servicing dealer for repair.
Your chain saw is equipped with a chain brake that is designed to stop the chain if you get a kickback. The chain brake reduces the risk of accidents, but only you can prevent them.

Take care when using your saw and make sure the kickback zone of the bar never touches any object.

No. It takes a certain force to move the hand guard forward. If your hand only lightly touches the front guard or slips over it, the force may not be enough to trigger the chain brake. You should also maintain a firm grip of the chain saw handles while working. If you do and experience a kickback, your hand may never leave the front handle and will not activate the chain brake, or the chain brake will only activate after the saw has swung around a considerable distance. In such instances, the chain brake might not have enough time to stop the saw chain before it touches you.
There are also certain positions in which your hand cannot reach the front hand guard to activate the chain brake; for example, when the saw chain is held in felling position.
No. First your brake must be in working order. Testing the brake is simple, see instructions under the heading Checking, maintaining and servicing chain saw safety equipment. We recommend you do before you begin each work session. Second the kickback must be strong enough to activate the chain brake. If the chain brake is too sensitive it would activate all the time which would be a nuisance.
No. First, the chain brake must be in working order to provide the intended protection. Second, it must be activated during the kickback as described above to stop the saw chain. Third, the chain brake may be activated but if the bar is too close to you the brake might not have enough time to slow down and stop the chain before the chain saw hits you.
Only you and proper working technique can eliminate kickback and its danger.
The throttle lockout is designed to prevent accidental operation of the throttle control. When you press the lock (A) (i.e. when you grasp the handle) it releases the throttle control (B). When you release the handle the throttle control and the throttle lockout both move back to their original positions. This arrangement means that the throttle control is automatically locked at the idle setting.

The chain catcher is designed to catch the chain if it snaps or jumps off. This should not happen if the chain is properly tensioned (see instructions under the heading Assembly) and if the bar and chain are properly serviced and maintained (see instructions under the heading General working instructions).

Apart from protecting your hand if the chain jumps or snaps, the right hand guard stops branches and twigs from interfering with your grip on the rear handle.

Your machine is equipped with a vibration damping system that is designed to reduce vibration and make operation easier.

The machine's vibration damping system reduces the transfer of vibration between the engine unit/cutting equipment and the machine's handle unit. The body of the chain saw, including the cutting equipment, is insulated from the handles by vibration damping units.

Cutting hardwoods (most broadleaf trees) creates more vibration than cutting softwoods (most conifers). Cutting with cutting equipment that is blunt or faulty (wrong type or badly sharpened) will increase the vibration level.

Overexposure to vibration can lead to circulatory damage or nerve damage in people who have impaired circulation. Contact your doctor if you experience symptoms of overexposure to vibration. Such symptoms include numbness, loss of feeling, tingling, pricking, pain, loss of strength, changes in skin colour or condition. These symptoms normally appear in the fingers, hands or wrists. These symptoms may be increased in cold temperatures.
Use the stop switch to switch off the engine.

The muffler is designed to keep noise levels to a minimum and to direct exhaust fumes away from the user.
The exhaust fumes from the engine are hot and may contain sparks which can start a fire. Never start the machine indoors or near combustible material!
In areas with a hot, dry climate there is a high risk of fires. These areas are sometimes subject to government rules requiring among other things the muffler must be equipped with an approved type of spark arrestor screen.

The muffler gets very hot during and after use. This also applies during idling. Be aware of the fire hazard, especially when working near flammable substances and/or vapours.
Never use a saw without a muffler, or with a damaged muffler. A damaged muffler may substantially increase the noise level and the fire hazard. Keep fire fighting equipment handy. If a spark arrestor screen is required in your area, never use the saw without or with a broken spark arrestor screen.
This section describes how to choose and maintain your cutting equipment in order to:
Faulty cutting equipment or the wrong combination of bar and saw chain increases the risk of kickback! Only use the bar/saw chain combinations we recommend, and follow the filing instructions. See instructions under the heading Technical data.
The only way to avoid kickback is to make sure that the kickback zone of the bar never touches anything.
By using cutting equipment with "built-in" kickback reduction and keeping the chain sharp and well-maintained you can reduce the effects of kickback.
Bar
The smaller the tip radius the lower the chance of kickback.
Chain
A chain is made up of a number of links, which are available in standard and low-kickback versions.
No saw chain design eliminates the danger of kickback.
Any contact with a rotating saw chain can cause extremely serious injuries.
To maintain the safety features of the cutting equipment, you should replace a worn or damaged bar or chain with a bar and chain combinations recommended by Husqvarna. See instructions under the heading Technical Data for a list of replacement bar and chain combinations we recommend.
Bar
Chain
It is very difficult to sharpen a chain correctly without the right equipment. We recommend that you use our file gauge. This will help you obtain the maximum kickback reduction and cutting performance from your chain.

See instructions under the heading Technical data for information about sharpening your chain.
Departure from the sharpening instructions considerably increases the risk of kickback.

To sharpen cutting teeth you will need a round file and a file gauge.
See instructions under the heading Technical data for information on the size of file and gauge that are recommended for the chain fitted to your chain saw.

The risk of kickback is increased if the depth gauge setting is too large!


A slack chain may jump off the bar and cause serious or even fatal injury.
The more you use a chain the longer it becomes. It is therefore important to adjust the chain regularly to take up the slack.
Check the chain tension every time you refuel.
NOTE! A new chain has a running-in period during which you should check the tension more frequently.
Tension the chain as tightly as possible, but not so tight that you cannot pull it round freely by hand.

The position of the chain tensioning screw on our chain saws varies from model to model. See instructions under the heading What is what? to find out where it is on your model.
Poor lubrication of cutting equipment may cause the chain to snap, which could lead to serious, even fatal injuries.
Chain oil must demonstrate good adhesion to the chain and also maintain its flow characteristics regardless of whether it is warm summer or cold winter weather.
As a chain saw manufacturer we have developed an optimal chain oil which has a vegetable oil base. We recommend the use of our own oil for both maximum chain life and to minimise environmental damage. If our own chain oil is not available, standard chain oil is recommended.
Never use waste oil! Using waste oil can be dangerous to you and damage the machine and environment.
When using vegetable based saw chain oil, dismantle and clean the groove in the bar and saw chain before long-term storage. Otherwise there is a risk of the saw chain oil oxidizing, which will result in the saw chain becoming stiff and the bar tip sprocket jamming.
If the chain lubrication is not working:
If the chain lubrication system is still not working after carrying out the above checks and associated measures you should contact your servicing dealer.

The clutch drum is fitted with one of the following drive sprockets:
Regularly check the degree of wear on the drive sprocket. Replace if wear is excessive.
Replace the drive sprocket whenever you replace the chain.

Both versions of sprockets have a needle bearing on the drive shaft, which has to be greased regularly (once a week).
Use only high quality bearing grease or engine oil.
See instructions under the heading Maintenance, Needle bearing lubrication.

Check the chain daily for:

Replace the saw chain if it exhibits any of the points above.
We recommend you compare the existing chain with a new chain to decide how badly the existing chain is worn.
When the length of the cutting teeth has worn down to only 5/32 inch (4 mm) the chain must be replaced.

Check regularly:

Always wear gloves, when working with the chain.
Check that the chain brake is in disengaged position by moving the front hand guard towards the front handle.

Remove the bar nuts and remove the clutch cover (chain brake). Take off the transportation ring (A).

Fit the bar over the bar bolts. Place the bar in its rearmost position. Place the chain over the drive sprocket locate it in the groove on the bar. Begin on the top edge of the bar.

Make sure that the edges of the cutting links are facing forward on the top edge of the bar.
Fit the clutch cover and locate the chain adjuster pin in the hole in the bar. Check that the drive links of the chain fit correctly over the drive sprocket and that the chain is correctly located in the groove in the bar. Tighten the bar nuts finger tight.

Tension the chain by turning the chain tensioning screw clockwise using the combination spanner.

The chain is correctly tensioned when it does not sag from the underside of the bar, but can still be turned easily by hand. Hold up the bar tip and tighten the bar nuts with the combination spanner.

When fitting a new chain, the chain tension has to be checked frequently until the chain is run-in. Check the chain tension regularly. A correctly tensioned chain ensures good cutting performance and long life.

Note: If clutch cover is difficult to remove, replace bar nuts, engage brake and re-release (an audible click will be heard if released properly).
Note! The machine is equipped with a two-stroke engine and must always be run using a mixture of gasoline and two-stroke oil. It is important to accurately measure the amount of oil to be mixed to ensure that the correct mixture is obtained. When mixing small amounts of fuel, even small inaccuracies can drastically affect the ratio of the mixture.
Always ensure there is adequate ventilation when handling fuel.

HUSQVARNA recommends the use of alkylate fuel or environmental fuel for four-stroke engines blended with two-stroke oil as set out below. Note that carburetor adjustment may be necessary when changing the type of fuel (see instructions under the heading Carburetor).
Avoid running at a too high speed for extended periods during the first 10 hours.
1:50 (2%) for all engines.
| Gasoline, litre | Two-stroke oil, litre |
| 2% (1:50) | |
| 5 | 0,10 |
| 10 | 0,20 |
| 15 | 0,30 |
| 20 | 0,40 |
| US gallon | US fl. oz. |
| 1 | 2 1/2 |
| 2 1/2 | 6 1/2 |
| 5 | 12 7/8 |


Clean the area around the fuel cap. Clean the fuel and chain oil tanks regularly. The fuel filter must be replaced at least once a year. Contamination in the tanks causes malfunction. Make sure the fuel is well mixed by shaking the container before refuelling. The capacities of the chain oil tank and fuel tank are carefully matched. You should therefore always fill the chain oil tank and fuel tank at the same time.

Fuel and fuel vapor are highly flammable. Take care when handling fuel and chain oil. Be aware of the risks of fire, explosion and those associated with inhalation.
Never use a machine with visible damage to the spark plug guard and ignition cable. A risk of sparking arises, which can cause a fire.
Empty the fuel/oil tanks in a well ventilated area. Store the fuel in approved cans in a safe place. Fit the bar guard. Clean the machine. See instructions under the heading Maintenance schedule.
Ensure the machine is cleaned and that a complete service is carried out before long-term storage.
Starting: The chain brake should be activated when starting the chain saw. Activate the chain brake by pushing the front hand guard forwards.

Ignition; choke: Set the choke control in the choke position. This should automatically set the stop switch to the start position.

Start throttle: The correct choke/start throttle setting is obtained by moving the control to the choke position.
If the machine is fitted with a decompression valve (A): Press the valve to reduce the pressure in the cylinder and make starting easier. You should always use the decompression valve when starting the machine. Once the machine has started the valve will automatically return to its closed position.

Use the same procedure as for starting a cold engine but without setting the choke control in the choke position.
The correct choke/start throttle setting is obtained by moving the choke control to the choke position and then pushing it in again.


Grip the front handle with your left hand. Hold the chain saw on the ground by placing your right foot through the rear handle. Pull the starter handle with your right hand and pull out the starter cord slowly until you feel a resistance (as the starter pawls engage) then pull firmly and rapidly. Never wrap the starter cord around your hand.
Do not pull the starter cord all the way out and do not let go of the starter handle when the cord is fully extended. This can damage the machine.

Push in the choke control as soon as the engine fires and make repeated starting attempts. Immediately press and release the throttle when the engine starts. That will disengage the throttle latch.
As the chain brake is still activated the engine must return to idling speed as soon as possible by disengaging the throttle latch in order to avoid unnecessary wear on the clutch assembly.

Do not pull the starter cord all the way out and do not let go of the starter handle when the cord is fully extended. This can damage the machine.

Note! Pull the front hand guard towards the front handle. The chain brake is now disengaged. Your saw is ready for use.

Long term inhalation of the engine's exhaust fumes, chain oil mist and dust from sawdust can represent a health risk.

The engine is stopped by pushing the stop switch to the stop position.

This section describes basic safety rules for using a chain saw. This information is never a substitute for professional skills and experience. If you get into a situation where you feel unsafe, stop and seek expert advice. Contact your chain saw dealer, service agent or an experienced chain saw user. Do not attempt any task that you are not sure you can handle!
Before using a chain saw you must understand the effects of kickback and how to avoid them. See instructions under the heading How to avoid kickback.
Before using a chain saw you must understand the difference between cutting with the top and bottom edges of the bar. See instructions under the headings How to avoid kickback and Machine's safety equipment.
Wear personal protective equipment. See instructions under the heading "Personal protective equipment".
Sometimes chips get stuck in the clutch cover causing the chain to jam. Always stop the engine before cleaning.
Never use a chain saw by holding it with one hand. A chain saw is not safely controlled with one hand. Always have a secure, firm grip around the handles with both hands.
Cutting = General term for cutting through wood.
Limbing = Cutting branches off a felled tree.
Splitting = When the object you are cutting breaks off before the cut is complete.
There are five important factors you should consider before making a cut:
Two factors decide whether the chain will jam or the object that you are cutting will split: the first is how the object is supported before and after cutting, and the second is whether it is in tension.
In most cases you can avoid these problems by cutting in two stages; from the top and from the bottom. You need to support the object so that it will not trap the chain or split during cutting.
If the chain jams in the cut: stop the engine! Don't try to pull the chain saw free. If you do you may be injured by the chain when the chain saw suddenly breaks free. Use a lever to open up the cut and free the chain saw.
The following instructions describe how to handle the common situations you are likely to encounter when using a chain saw.
When limbing thick branches you should use the same approach as for cutting.
Cut difficult branches piece by piece.

Never attempt to cut logs while they are in a pile or when a couple of logs are lying together. Such procedures drastically increase the risk of kickback which can result in a serious or fatal injury.
If you have a pile of logs, each log you attempt to cut should be removed from the pile, placed on a saw horse or runners and cut individually.
Remove the cut pieces from the cutting area. By leaving them in the cutting area, you increase the risk for inadvertently getting a kickback, as well as increasing the risk of losing your balance while working.

The log is lying on the ground. There is little risk of the chain jamming or the object splitting. However there is a risk that the chain will touch the ground when you finish the cut.

Cut all the way through the log from above. Avoid letting the chain touch the ground as you finish the cut. Maintain full throttle but be prepared for what might happen.

If it is possible (can you turn the log?) stop cutting about 2/3 of the way through the log.
Turn the log and finish the cut from the opposite side.

The log is supported at one end. There is a high risk that it will split.

Start by cutting from below (about 1/3 of the way through).
Finish by cutting from above so that the two cuts meet.

The log is supported at both ends. There is a high risk that the chain will jam.

Start by cutting from above (about 1/3 of the way through).
Finish by cutting from below so that the two cuts meet.

It takes a lot of experience to fell a tree. Inexperienced users of chain saws should not fell trees. Do not attempt any task beyond your experience level!
The safe distance between a tree that is to be felled and anyone else working nearby is at least 2 1/2 tree lengths. Make sure that no-one else is in this "risk zone" before or during felling.

The aim is to fell the tree in a position where you can limb and cross-cut the log as easily as possible. You want it to fall in a location where you can stand and move about safely.
Once you have decided which way you want the tree to fall you must judge which way the tree would fall naturally.
Several factors affect this:
You may find you are forced to let the tree fall in its natural direction because it is impossible or dangerous to try to make it fall in the direction you first intended.
Another very important factor, which does not affect the felling direction but does affect your safety, is to make sure the tree has no damaged or dead branches that might break off and hit you during felling.
The main point to avoid is letting the tree fall onto another tree. It is very dangerous to remove a trapped tree and there is high accident risk. See instructions under the heading Freeing a tree that has fallen badly.

During critical felling operations, hearing protectors should be lifted immediately when sawing is completed so that sounds and warning signals can be heard.
Delimb the stem up to shoulder height. It is safer to work from the top down and to have the tree between you and the saw.

Remove any undergrowth from the base of the tree and check the area for obstacles (stones, branches, holes, etc.) so that you have a clear path of retreat when the tree starts to fall. Your path of retreat should be roughly 135 degrees away from the intended felling direction.

Unless you have special training we advise you not to fell trees with a diameter larger than the bar length of your saw!
Felling is done using three cuts. First you make the directional cuts, which consist of the top cut and the bottom cut, then you finish with the felling cut. By placing these cuts correctly you can control the felling direction very accurately.
To make the directional cut you begin with the top cut. Aim using to the saw's felling direction mark (1) toward a goal further forward in the terrain, where you would like the tree to fall (2). Stand on the right-hand side of the tree, behind the saw, and cut with a pull stroke.
Next make the bottom cut so that it finishes exactly at the end of the top cut.

The directional cuts should run 1/4 of the diameter through the trunk and the angle between the top cut and bottom cut should be 45°.
The line where the two cuts meet is called the directional cut line. This line should be perfectly horizontal and at right angles (90°) to the chosen felling direction.

The felling cut is made from the opposite side of the tree and it must be perfectly horizontal. Stand on the left side of the tree and cut on the pull stroke.
Make the felling cut about 1.5-2 inches (3-5 cm) above the bottom directional cut.

Finish the felling cut parallel with the directional cut line so that the distance between them is at least 1/10 of the trunk diameter. The uncut section of the trunk is called the felling hinge.
The felling hinge controls the direction that the tree falls in.

All control over the felling direction is lost if the felling hinge is too narrow or non-existent, or if the directional cuts and felling cut are badly placed.

When the felling cut and directional cut are complete the tree should start to fall by itself or with the aid of a felling wedge or breaking bar.

We recommend that you use a bar that is longer than the diameter of the tree, so that you can make the felling cut and directional cuts with single cutting strokes. See instructions under the heading Technical data section to find out which lengths of bar are recommended for your saw.

There are methods for felling trees with a diameter larger than the bar length. However these methods involve a much greater risk that the kickback zone of the bar will come into contact with the tree.

It is very dangerous to remove a trapped tree and there is high accident risk.
Never try to fell the tree that is trapped.
Never work in the risk zone of the hanging trapped tree.

The safest method is to use a winch.
Preparations: Work out which side is in tension and where the point of maximum tension is (i.e. where it would break if it was bent even more).

Decide which is the safest way to release the tension and whether you are able to do it safely. In complicated situations the only safe method is to put aside your chain saw and use a winch.
General advice:
Position yourself so that you will be clear of the tree or branch when the tension is released.

Make one or more cuts at or near the point of maximum tension. Make as many cuts of sufficient depth as necessary to reduce the tension and make the tree or branch break at the point of maximum tension.

Never cut straight through a tree or branch that is in tension!
If you must cut across tree/limb, make two to three cuts, one inch apart, one to two inches deep.

Continue to cut deeper until tree/limb bends and tension is released.

Cut tree/limb from outside the bend, after tension has been released.
Kickback can happen very suddenly and violently; kicking the chain saw, bar and chain back at the user. If this happens when the chain is moving it can cause very serious, even fatal injuries. It is vital you understand what causes kickback and that you can avoid it by taking care and using the right working technique.
The word kickback is used to describe the sudden reaction that causes the chain saw and bar to jump off an object when the upper quadrant of the tip of the bar, known as the kickback zone, touches an object.

Kickback always occurs in the cutting plane of the bar.
Normally the chain saw and bar are thrown backwards and upwards towards the user. However, the chain saw may move in a different direction depending on the way it was being used when the kickback zone of the bar touched the object.

Kickback only occurs if the kickback zone of the bar touches an object.

A majority of kickback accidents occur during limbing. Do not use the kickback zone of the guide bar. Be extremely cautious and avoid contacting the log, other limbs or objects with the nose of the guide bar. Be extremely cautious of limbs under tension. They can spring back toward you and cause loss of control resulting in injury.
Make sure that you can stand and move about safely.
Work on the left side of the trunk. Work as close as possible to the chain saw for maximum control. If possible, let the weight of the chain saw rest on the trunk.

Keep the trunk between you and the chain saw as you move along the trunk.
See instructions under the heading Basic cutting technique.
The user must only carry out the maintenance and service work described in this manual. More extensive work must be carried out by an authorized service workshop.
Your Husqvarna product has been designed and manufactured to specifications that reduce harmful emissions.
If the engine is equipped with AutoTune, manual adjustment of the carburettor's H and L needles and the T-screw no longer applies. Both needles and the T-screw have been removed. AutoTune is a function that adjusts the carburettor electronically, always resulting in optimal adjustment.
There is an integrated speed governor in the ignition system that limits the maximum speed to 13600 rpm. When the speed governor is activated, you will get the same sound experience as when the chain saw 4cycles.
A correctly adjusted carburettor means the machine accelerates without hesitation and it four-strokes a little at full throttle. In addition, the chain should not rotate when idling.
Note! All servicing and repair work on the machine requires special training. This is especially true of the machine's safety equipment. If your machine fails any of the checks described below we recommend you to contact our servicing dealer.
Checking brake band wear

Brush off any wood dust, resin and dirt from the chain brake and clutch drum. Dirt and wear can impair operation of the brake.

Regularly check that the brake band is at least 0.024 inch (0.6 mm) thick at its thinnest point.
Checking the front hand guard

Make sure the front hand guard is not damaged and that there are no visible defects such as cracks.

Move the front hand guard forwards and back to make sure it moves freely and that it is securely anchored to the clutch cover.

Checking the inertia brake release

With the engine turned off, hold the chain saw over a stump or other firm object. Let go of the front handle so that the bar drops towards the stump as the chain saw rotates around the rear handle.

When the bar hits the stump the brake should be applied.

Checking the brake trigger
Place the chain saw on firm ground and start it. Make sure the chain does not touch the ground or any other object. See the instructions under the heading Start and stop.

Grasp the chain saw firmly, wrapping your fingers and thumbs around the handles.

Apply full throttle and activate the chain brake by tilting your left wrist forward onto the front hand guard. Do not let go of the front handle. The chain should stop immediately.



Check that the chain catcher is not damaged and is firmly attached to the body of the chain saw.


Check that the right hand guard is not damaged and that there are no visible defects, such as cracks.

Regularly check the vibration damping units for cracks or deformation.

Make sure the vibration damping units are securely attached to the engine unit and handle unit.

Start the engine and make sure the engine stops when you move the stop switch to the stop setting.


Never use a machine that has a faulty muffler.

Regularly check that the muffler is securely attached to the machine.

Some mufflers are equipped with a special spark arrestor screen. If your machine has this type of muffler, you should clean the screen at least once a week. This is best done with a wire brush. A blocked screen will cause the engine to overheat and may lead to serious damage.
Note! The screen must be replaced if it is damaged. If the screen is blocked the machine will overheat and this will cause damage to the cylinder and piston. Never use a machine with a muffler that is in poor condition. Never use a muffler if the spark arrestor screen is missing or defective.

The muffler is designed to reduce the noise level and to direct the exhaust gases away from the operator. The exhaust gases are hot and can contain sparks, which may cause fire if directed against dry and combustible material.
When the recoil spring is wound up in the starter housing it is under tension and can, if handled carelessly, pop out and cause personal injury.
Care must be exercised when replacing the return spring or the starter cord. Wear protective glasses and protective gloves.![]()



The air filter must be regularly cleaned to remove dust and dirt in order to avoid:

The spark plug condition is influenced by:
These factors cause deposits on the spark plug electrodes, which may result in operating problems and starting difficulties.
If the machine is low on power, difficult to start or runs poorly at idle speed: always check the spark plug first before taking any further action. If the spark plug is dirty, clean it and check that the electrode gap is 0.020 inch (0.5 mm). The spark plug should be replaced after about a month in operation or earlier if necessary.

Note! Always use the recommended spark plug type! Use of the wrong spark plug can damage the piston/cylinder. Check that the spark plug is fitted with a suppressor.

Lubricate the bar tip sprocket each time you refuel. Use the special grease gun and a good quality bearing grease.


The clutch drum has a needle bearing on the output shaft. This needle bearing must be lubricated regularly (once a week).
When lubricating, remove the clutch cover by loosening the two bar nuts. Lay the saw on its side with the clutch drum upwards.
Lubrication involves engine oil dripping into the centre of the clutch drum as it rotates.


The oil pump is adjustable. Adjustments are made by turning the screw using a screwdriver or combination spanner. The machine is supplied from the factory set to 1 turn open. Turning the screw clockwise will reduce the oil flow and turning the screw anti-clockwise will increase the oil flow.

Recommended settings:
| Bar -15": | 1 turn from the closed position. |
| Bar 15" -18": | 2 turns from the closed position. |
| Bar 18" -24": | 3 turns from the closed position. |
| Bar 24" -: | 4 turns from the closed position. |
These recommendations apply to Husqvarna's chain oil, for other chain oils increase the oil flow by one step.
The engine must be stopped when making adjustments.

To keep the working temperature as low as possible the machine is equipped with a cooling system.
The cooling system consists of:
Clean the cooling system with a brush once a week, more often in demanding conditions. A dirty or blocked cooling system results in the machine overheating which causes damage to the piston and cylinder.
Note! The cooling system on a chain saw with catalytic converter must be cleaned daily. This is particularly important on chain saws with catalytic converters, because the higher exhaust temperature requires efficient cooling of the engine and the catalytic converter unit.
Centrifugal cleaning means the following: All air to the carburetor passes through the starter. Dirt and dust is pushed out by the cooling fan.

In order to maintain operation of the centrifugal cleaning system it must be regularly maintained. Clean the air intake to the starter, the fins on the flywheel, the space around the flywheel, inlet pipe and carburetor compartment.
Running problems can occur when using the machine in the cold and snowy conditions caused by:
Special measures are therefore often required:
Cut out a hole using a knife as shown.

Fit the winter cover in the cylinder cover.


Move the cover from position A to position B so that preheated air from the cylinder can pass into the carburettor compartment and prevent, e.g. the air filter icing up again. When fitting the winter cover in position B the centrifugal cleaning nozzle is blocked. This measure requires the air filter to be cleaned more regularly.


For running the machine in cold weather or powder snow, a special cover is available, which is mounted on the starter housing. This reduces the intake of cold air and prevents large amounts of snow from being sucked in.

If the special winterising kit has been fitted or any measures have been taken to increase the temperature these changes must be reversed before the machine is used in normal temperature conditions. Otherwise there is a risk of overheating, resulting in severe damage to the engine.
Any maintenance other than that described in this manual must be carried out by your servicing dealer (retailer).
On models with the model code XPG both the front handle bar and the rear handle are equipped with electrical heating coils. These are supplied with electricity from a generator built into the chain saw.

The following is a list of the maintenance that must be performed on the machine. Most of the items are described in the Maintenance section.
| Daily maintenance | Weekly maintenance | Monthly maintenance |
| Clean the outside of the machine. | On chain saws without a catalytic converter, check the cooling system weekly. | Check the brake band on the chain brake for wear. Replace when less than 0.024 inch (0.6 mm) remains at the most worn point. |
| Check that the components of the throttle control work safely. (Throttle lockout and throttle control.) | Check the starter, starter cord and return spring. | Check the clutch centre, clutch drum and clutch spring for wear. |
| Clean the chain brake and check that it operates safely. Make sure that the chain catcher is undamaged, and replace it if necessary. | Check that the vibration damping elements are not damaged. | Clean the spark plug. Check that the electrode gap is 0.020 inch (0.5 mm). |
| The bar should be turned daily for more even wear. Check the lubrication hole in the bar, to be sure it is not clogged. Clean the bar groove. If the bar has a sprocket tip, this should be lubricated. | Lubricate the clutch drum bearing. | Clean the outside of the carburetor. |
| Check that the bar and chain are getting sufficient oil. | File off any burrs from the edges of the bar. | Check fuel hose for cracks or other damage. Change if necessary. |
| Check the saw chain with regard to visible cracks in the rivets and links, whether the saw chain is stiff or whether the rivets and links are abnormally worn. Replace if necessary. | Clean or replace the spark arrestor screen on the muffler. | Empty the fuel tank and clean the inside. |
| Sharpen the chain and check its tension and condition. Check the drive sprocket for excessive wear and replace if necessary. | Clean the carburetor compartment. | Empty the oil tank and clean the inside. |
| Clean the starter units air intake. | Clean the air filter. Replace if necessary. | Check all cables and connections. |
| Check that nuts and screws are tight. | ||
| Check that the stop switch works correctly. | ||
| Check that there are no fuel leaks from the engine, tank or fuel lines. | ||
| On chain saws with a catalytic converter, check the cooling system daily. |
| 576XP AutoTune / 576XPG AutoTune | |
| Motor | |
| Cylinder displacement, cu.in/cm3 | 4,5/73,5 |
| Cylinder bore, inch/mm | 2,0/51 |
| Stroke, inch/mm | 1,42/36 |
| Idle speed, rpm | 2700 |
| Power, kW/hp @ rpm | 4,2/5,7 @ 9600 |
| Ignition system | |
| Spark plug | NGK BPMR 7A/ Champion RCJ 7Y |
| Electrode gap, inch/mm | 0,02/0,5 |
| Fuel and lubrication system | |
| Fuel tank capacity, US pint/litre | 1,48/0,7 |
| Oil pump capacity at 9,000 rpm, ml/min | 5-22 |
| Oil tank capacity, US pint/litre | 0,80/0,40 |
| Type of oil pump | Automatic |
| Weight | |
| Chain saw without bar or chain, empty tanks, lb/kg | 15,0/6,8 |
| Chain/bar | |
| Recommended bar lengths, inch/cm | 16-32"/40-80 |
| Pitch, inch/mm | 3/8" /9,52 |
| Thickness of drive links, inch/mm | 0,050/1,3 0,058/1,5 |
| Usable cutting length, inches/cm | 15-31"/38-78 |
| Drive sprocket type/teeth | Rim/7 |
| Chain speed at max. power, m/sec | 21,4 |
Following is a list of recommended cutting equipment for Husqvarna chain saw models 576XP AutoTune and 576XPG AutoTune. These chain saw models equipped with either of the listed bar and sawchain combinations, fulfills the requirements according to ANSI B 175.1-2000 (Gasoline Powered Chain Saws - Safety Requirements).
| Bar | Chain | ||||
| Length, inch | Pitch, inch | Gauge, inch | Max. nose radius | Type | Drive link count |
| 16 | 3/8 | 0,058 | 11T or ATM 1,33" | Husqvarna H42, Husqvarna H48 | 60 |
| 18 | 3/8 | 0,058 | 68 | ||
| 20 | 3/8 | 0,058 | 72 | ||
| 24 | 3/8 | 0,058 | 84 | ||
| 28 | 3/8 | 0,058 | 92 | ||
| 32 | 3/8 | 0,058 | 105 | ||
| 16 | 3/8 | 0,050 | 11T or ATM 1,33" | Husqvarna H46, Husqvarna H47, Husqvarna H47S, Husqvarna H82 | 60 |
| 18 | 3/8 | 0,050 | 68 | ||
| 20 | 3/8 | 0,050 | 72 | ||
| 24 | 3/8 | 0,050 | 84 | ||
| 28 | 3/8 | 0,050 | 93 | ||
| 32 | 3/8 | 0,050 | 105 | ||
Note: ATM (Armour Tip Medium) is a designation for a hard nose bar with nose radius 1,33".
This chain saw is capable of severe kickback that could result in serious injury to the user. Do not operate this chain saw unless you have extraordinary cutting needs and experience and specialized training for dealing with kickback. Chain saws with significantly reduced kickback potential are available.

(ANSI B175.1-2000 Annex C)
With a basic understanding of kickback, you can reduce or eliminate the element of surprise. Sudden surprise contributes to accidents.
Keep a good firm grip on the saw with both hands, the right hand on the rear handle, and the left hand on the front handle, when the engine is running. Use a firm grip with thumbs and fingers encircling the chain saw handles. A firm grip will help you reduce kickback and maintain control of the saw. Don't let go.
Make sure that the area in which you are cutting is free from obstacles. Do not let the nose of the guide bar contact a log, branch, or any other obstacle which could be hit while you are operating the saw.
Cut at high engine speeds.
Do not overreach or cut above shoulder height.
Follow manufacturer's sharpening and maintenance instructions for the saw chain.
Only use replacement bars and chains specified by the manufacturer or the equivalent.
Do not operate a chain saw with one hand! Serious injury to the operator, helpers, bystanders or any combination of these persons may result from one-handed operation. A chain saw is intended for two-handed use.
Do not operate a chain saw when you are fatigued.
Use safety footwear; snug-fitting clothing, protective gloves, and eye, hearing and head protection devices.
Use caution when handling fuel. Move the chain saw at least 10 feet (3 m) from the fueling point before starting the engine.
Do not allow other persons to be near the chain saw when starting or cutting with the chain saw. Keep bystanders and animals out of the work area.
Do not start cutting until you have a clear work area, secure footing and a planned retreat path from the falling tree.
Keep all parts of your body away from the saw chain when the engine is running.
Before you start the engine, make sure that the saw chain is not contacting anything.
Carry the chain saw with the engine stopped, the guide bar and saw chain to the rear, and the muffler away from your body.
Do not operate a chain saw that is damaged, improperly adjusted, or not completely and securely assembled. Be sure that the saw chain stops moving when the throttle control trigger is released.
Shut off the engine before setting the chain saw down.
Use extreme caution when cutting small size brush and saplings because slender material may catch the saw chain and be whipped toward you or pull you off balance.
When cutting a limb that is under tension be alert for springback so that you will not be struck when the tension in the wood fibers is released.
Keep handles dry, clean and free of oil or fuel mixture. Operate the chain saw only in well-ventilated areas.
Do not operate a chain saw in a tree unless you have been specifically trained to do so. Do not operate a chain saw above shoulder height.
All chain saw service, other than the items listed in the operator's/owner's safety and maintenance instructions, should be performed by competent chain saw service personnel. (For example, if improper tools are used to remove the flywheel or if an improper tool is used to hold the flywheel in order to remove the clutch, structural damage to the flywheel could occur and subsequently cause the flywheel to burst.)
When transporting your chain saw, use the appropriate guide bar guard.
Note: This Annex is intended primarily for the consumer or occasional user.
If you have any questions regarding your warranty rights and responsibilities, you should contact your nearest authorized servicing dealer or call Husqvarna Forest & Garden at 1-800-487-5963.
For customer assistance, contact us at our website: www.usa.husqvarna.com
Here you can download full pdf version of manual, it may contain additional safety instructions, warranty information, FCC rules, etc.
Advertisement





































































Need help?
Do you have a question about the 576XP AutoTune and is the answer not in the manual?
Questions and answers