Advertisement

| Model: | LS1219 | LS1219L | |
| Blade diameter | 305 mm | ||
| Hole diameter | European countries | 30 mm | |
| Countries other than Europe | 25.4 mm | ||
| Max. kerf thickness of the saw blade | 3.2 mm | ||
| Max. miter angle | Right 60°, Left 60° | ||
| Max. bevel angle | Right 48°, Left 48° | ||
| No load speed (RPM) | 3,200 min-1 | ||
| Laser type | - | Red Laser 650 nm, Maximum output 1.6mW ( Laser Class 2M ) | |
| Dimensions (L x W x H) | 898 mm x 664 mm x 725 mm | ||
| Net weight | 29.3 kg | 29.5 kg | |
| Safety class | /II | ||
Cutting capacities (H x W)
| Miter angle | Bevel angle | ||||
| 45° (left) | 0° | 45° (right) | |||
| 0° | - | 61 mm x 382 mm 71 mm x 363mm | 92 mm x 382 mm 107 mm x 363 mm | 44 mm x 382 mm 5 4 mm x 363 mm | |
| Thickness of wood facing on guide fence for increased height of cut | 20 mm | 78 mm × 325 mm | 115 mm × 325mm | 61 mm × 325 mm | |
| 38 mm | 80 mm × 292 mm | 120 mm × 292 mm | - | ||
| 45° (right and left) | - | 61 mm x 268 mm 71 mm x 255 mm | 92 mm x 268 mm 107 mm x 255 mm | 44 mm x 268 mm 54 mm x 255 mm | |
| Thickness of wood facing on guide fence for increased height of cut | 15 mm | - | 115 mm × 227 mm | - | |
| 25 mm | 120 mm × 212 mm | ||||
| 60° (right and left) | - | - | 92 mm x 185 mm 107 mm x 178 mm | - | |
| Thickness of wood facing on guide fence for increased height of cut | 15 mm | 115 mm × 155 mm | |||
| 25 mm | 120 mm × 140 mm | ||||
Cutting capacities for special cuttings
| Type of cutting | Cutting capacity |
| Crown molding 45° type (with crown molding stopper used) | 203 mm |
| Base board (with horizontal vise used) | 171 mm |
Symbols
The following show the symbols used for the equipment. Be sure that you understand their meaning before use.
![]() | Read instruction manual. |
![]() | DOUBLE INSULATION |
![]() | To avoid injury from flying debris, keep holding the saw head down, after making cuts, until the blade has come to a complete stop. |
![]() | When performing slide cut, first pull carriage fully and press down handle, then push carriage toward the guide fence. |
![]() | Do not place hand or fingers close to the blade. |
![]() | Never look into the laser beam. Direct laser beam may injure your eyes. |
![]() | Only for EU countries Do not dispose of electric equipment together with household waste material! In observance of the European Directive, on Waste Electric and Electronic Equipment and its implementation in accordance with national law, electric equipment that have reached the end of their life must be collected separately and returned to an environmentally compatible recycling facility. |
Intended use
The tool is intended for accurate straight and miter cutting in wood. With appropriate saw blades, aluminum can also be sawed.
Power supply
The tool should be connected only to a power supply of the same voltage as indicated on the nameplate, and can only be operated on single-phase AC supply. They are double-insulated and can, therefore, also be used from sockets without earth wire.
Noise
The typical A-weighted noise level determined according to EN62841:
Model LS1219
Sound pressure level (LpA): 91 dB(A)
Sound power level (LWA): 100 dB (A)
Uncertainty (K): 3 dB(A)
Model LS1219L
Sound pressure level (LpA): 91 dB(A)
Sound power level (LWA): 100 dB (A)
Uncertainty (K): 3 dB(A)
Wear ear protection.
Vibration
The vibration total value (tri-axial vector sum) determined according to EN62841:
Model LS1219
Vibration emission (ah): 2.5 m/s2 or less
Uncertainty (K): 1.5 m/s2
Model LS1219L
Vibration emission (ah): 2.5 m/s2 or less
Uncertainty (K): 1.5 m/s2
NOTE: The declared vibration emission value has been measured in accordance with the standard test method and may be used for comparing one tool with another.
NOTE: The declared vibration emission value may also be used in a preliminary assessment of exposure.
The vibration emission during actual use of the power tool can differ from the declared emission value depending on the ways in which the tool is used.
Be sure to identify safety measures to protect the operator that are based on an estimation of exposure in the actual conditions of use (taking account of all parts of the operating cycle such as the times when the tool is switched off and when it is running idle in addition to the trigger time).
General power tool safety warnings
Read all safety warnings, instructions, illustrations and specifications provided with this power tool. Failure to follow all instructions listed below may result in electric shock, fire and/or serious injury.
Save all warnings and instructions for future reference.
The term "power tool" in the warnings refers to your mains-operated (corded) power tool or battery-operated (cordless) power tool.
Work area safety
Electrical Safety
Personal Safety
Power tool use and care
Service
Safety instructions for mitre saws
Additional instructions
Additional safety rules for the laser
SAVE THESE INSTRUCTIONS.
DO NOT let comfort or familiarity with product (gained from repeated use) replace strict adherence to safety rules for the subject product. MISUSE or failure to follow the safety rules stated in this instruction manual may cause serious personal injury.



Screw the threaded shaft of the grip into the turn base.

Connect the dust extraction hose to the tool as illustrated. Make sure that the elbow and the sleeve fit properly to the ports of the tool.
When the tool is shipped, the handle is locked in the lowered position by the stopper pin. While lowering the handle slightly, pull the stopper pin and rotate it 90°.

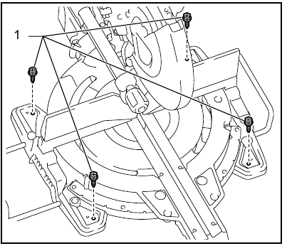
This tool should be bolted with four bolts to a level and stable surface using the bolt holes provided in the tool's base. This will help prevent tipping and possible injury.

Ensure that the tool will not move on the supporting surface. Movement of the miter saw on the supporting surface while cutting may result in loss of control and serious personal injury.
Always be sure that the tool is switched off and unplugged before adjusting or checking function on the tool. Failure to switch off and unplug the tool may result in serious personal injury from accidental start-up.

When lowering the handle, the blade guard rises automatically. The guard is spring loaded so it returns to its original position when the cut is completed and the handle is raised.
Never defeat or remove the blade guard or the spring which attaches to the guard. An exposed blade as a result of defeated guarding may result in serious personal injury during operation.
In the interest of your personal safety, always maintain the blade guard in good condition. Any irregular operation of the blade guard should be corrected immediately. Check to assure spring loaded return action of guard.
Never use the tool if the blade guard or spring are damaged, faulty or removed. Operation of the tool with a damaged, faulty or removed guard may result in serious personal injury.
If the see-through blade guard becomes dirty, or sawdust adheres to it in such a way that the blade and/or workpiece is no longer easily visible, unplug the saw and clean the guard carefully with a damp cloth. Do not use solvents or any petroleum-based cleaners on the plastic guard because this may cause damage to the guard.
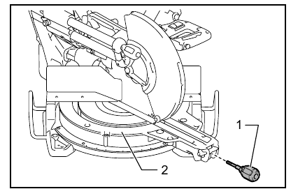
If the blade guard is especially dirty and vision through the guard is impaired, unplug the tool and use the supplied wrench to loosen the hex bolt holding the center cover. Loosen the hex bolt by turning it counterclockwise and raise the blade guard and center cover. With the blade guard so positioned, cleaning can be more completely and efficiently accomplished. When cleaning is complete, reverse procedure above and secure bolt. Do not remove spring holding blade guard. If guard becomes discolored through age or UV light exposure, contact a Makita service center for a new guard. DO NOT DEFEAT OR REMOVE GUARD.

This tool is provided with the kerf boards in the turn base to minimize tearing on the exit side of a cut. The kerf boards are factory adjusted so that the saw blade does not contact the kerf boards. Before use, adjust the kerf boards as follows:


First, unplug the tool. Loosen all the screws (2 each on left and right) securing the kerf boards until the kerf boards can still be easily moved by hand. Lower the handle fully, then pull and turn the stopper pin to lock the handle in the lowered position. Release the stopper pin on the sliding pole and pull the carriage toward you fully. Adjust the kerf boards so that the kerf boards just contact the sides of the blade teeth. Tighten the front screws (do not tighten firmly). Push the carriage toward the guide fence fully and adjust the kerf boards so that the kerf boards just contact the sides of blade teeth. Tighten the rear screws (do not tighten firmly).
After adjusting the kerf boards, release the stopper pin and raise the handle. Then tighten all the screws securely.
NOTICE: After setting the bevel angle ensure that the kerf boards are adjusted properly. Correct adjustment of the kerf boards will help provide proper support of the workpiece minimizing workpiece tear out.
This tool is factory adjusted to provide the maximum cutting capacity for a 305 mm saw blade. When installing a new blade, always check the lower limit position of the blade and if necessary, adjust it as follows:
First, unplug the tool. Turn the stopper lever to engaged position.

Push the carriage toward the guide fence fully and lower the handle completely.
Adjust the blade position by turning the adjusting bolt with the hex wrench. The periphery of the blade should extend slightly below the top surface of the turn base and also comes to the point where the front face of the guide fence meets the top surface of the turn base.


With the tool unplugged, rotate the blade by hand while holding the handle all the way down to be sure that the blade does not contact any part of the lower base. Re-adjust slightly, if necessary. After adjustment, always return the stopper lever to the original position.
After installing a new blade and with the tool unplugged, always be sure that the blade does not contact any part of the lower base when the handle is lowered completely. If a blade makes contact with the base it may cause kickback and result in serious personal injury.
The lower limit position of the blade can be easily adjusted with the stopper arm. To adjust it, turn the stopper arm in the direction of the arrow as shown in the figure. Turn the adjusting screw so that the blade stops at the desired position when lowering the handle fully.

After changing the miter angle, always secure the turn base by tightening the grip firmly.
NOTICE: When turning the turn base, be sure to raise the handle fully.

Rotate the grip counterclockwise to unlock the turn base. Turn the grip while holding down the lock lever to move the turn base. Align the pointer with your desired angle on the scale then tighten the grip.
NOTE: If you depress the releasing lever, you can move the turn base without holding down the lock lever. Tighten the grip at your desired position.
This miter saw employs positive stop function. You can set 0°, 15°, 22.5°, 31.6°, 45°, and 60° right/left miter angle quickly. To use this function, move the turn base close to your desired positive stop angle while holding down the lock lever. Then release the lock lever and move the turn base forward until the turn base is locked.
NOTICE: Always remove the upper guide fences and vertical vise before adjusting the bevel angle.
NOTICE: When changing bevel angles, be sure to position the kerf boards appropriately as explained in the "Kerf boards" section.
NOTICE: When tilting the saw blade, be sure to raise the handle fully.
NOTICE: Do not tighten the knob too hard. Doing so may cause malfunction of the locking mechanism of the bevel angle.
To tilt the carriage to the right, tilt the carriage to the left slightly and then tilt it to the right while pressing down the releasing button.

If you perform a bevel cut greater than 45°, move the carriage while sliding the releasing lever toward the front of the tool. You can perform up to 48° bevel cut.

This miter saw employs positive stop function. You can set 22.5° and 33.9° angle to both right and left quickly. Set the latch lever in the position as illustrated and tilt the carriage. To change the angle, pull the latch lever and tilt the carriage.

After changing the bevel angle, always secure the knob.
To lock the sliding movement of the carriage, push the carriage toward the guide fence until it stops. Pull the stopper pin and rotate it 90°.

Before plugging in the tool, always check to see that the switch trigger actuates properly and returns to the "OFF" position when released. Do not pull the switch trigger hard without pressing in the lock-off button. This can cause switch breakage. Operating a tool with a switch that does not actuate properly can lead to loss of control and serious personal injury.
NEVER use tool without a fully operative switch trigger. Any tool with an inoperative switch is HIGHLY DANGEROUS and must be repaired before further usage or serious personal injury may occur.
NEVER defeat the lock-off button by taping down or some other means. A switch with a negated lock-off button may result in unintentional operation and serious personal injury.
NEVER use the tool if it runs when you simply pull the switch trigger without pressing the lock-off button. A switch in need of repair may result in unintentional operation and serious personal injury. Return tool to a Makita service center for proper repairs BEFORE further usage.

To prevent the switch trigger from being accidentally pulled, a lock-off button is provided. To start the tool, press in the lock-off button and pull the switch trigger. Release the switch trigger to stop. A hole is provided in the switch trigger for insertion of a padlock to lock the tool off.
Do not use a lock with a shank or cable any smaller than 6.35 mm in diameter. A smaller shank or cable may not properly lock the tool in the off position and unintentional operation may occur resulting in serious personal injury.
Constant speed control
The tool is provided with an electronic speed control which helps maintain a constant blade rotation speed even under load. A constant blade rotation speed will result in a very smooth cut.
Soft start feature
This function allows the smooth start-up of the tool by limiting the start-up torque.
Laser beam action
For model LS1219L only
Never look into the laser beam. Direct laser beam may injure your eyes.
To turn on the laser beam, press the upper position (I) of the switch. To turn off the laser beam, press the lower position (0) of the switch.

Laser line can be shifted to either the left or right side of the saw blade by turning the adjusting screw as follows.

NOTE: Laser line is factory adjusted so that it is positioned within 1 mm from the side surface of the blade (cutting position).
NOTE: When laser line appears dim and hard to see because of direct sunlight, relocate the work area to a place where there is less direct sunlight.
Aligning the laser line
Align the cutting line on your workpiece with the laser line.

NOTE: Use wood facing against the guide fence when aligning the cutting line with the laser line at the side of guide fence in compound cutting (bevel angle 45° and miter angle right 45°).
Always be sure that the tool is switched off and unplugged before working on the tool. Failure to switch off and unplug the tool may result in serious personal injury.
When not in use, store the hex wrench as shown in the figure to keep it from being lost.

Always be sure that the tool is switched off and unplugged before installing or removing the blade. Accidental start up of the tool may result in serious personal injury.
Use only the Makita wrench provided to install or remove the blade. Failure to use the wrench may result in overtightening or insufficient tightening of the hex socket bolt and serious personal injury.
Always lock the carriage with raised position when removing and installing the blade. Pull the stopper pin and rotate it 90° with the carriage raised.

Removing the blade
Loosen the hex bolt holding the center cover using the hex wrench. Raise the blade guard and center cover.

Press the shaft lock to lock the spindle and use the hex wrench to loosen the hex socket bolt. Then remove the hex socket bolt, outer flange and blade.

Installing the blade
Mount the blade carefully onto the spindle, making sure that the direction of the arrow on the surface of the blade matches the direction of the arrow on the blade case.

Install the outer flange and hex socket bolt. Tighten the hex socket bolt counterclockwise using the hex wrench while pressing the shaft lock.

NOTICE: If the inner flange is removed, be sure to install it on the spindle with its protrusion facing away from the blade. If the flange is installed incorrectly, the flange will rub against the machine.
Return the blade guard and center cover to its original position. Then tighten the hex bolt clockwise to secure the center cover. Unlock the stopper pin to release carriage from the raised position. Lower the handle to make sure that the blade guard moves properly. Make sure shaft lock has released spindle before making cut.
Before mounting the blade onto the spindle, always be sure that the correct ring for the blade's arbor hole you intend to use is installed between the inner and the outer flanges. Use of the incorrect arbor hole ring may result in the improper mounting of the blade causing blade movement and severe vibration resulting in possible loss of control during operation and in serious personal injury.
When you wish to perform clean cutting operation, connect a Makita vacuum cleaner to the dust nozzle using a front cuff 24 (optional accessory).
The use of the dust bag makes cutting operations clean and dust collection easy. To attach the dust bag, remove the dust extraction hose on the tool and connect the dust bag.

When the dust bag is about half full, remove the dust bag from the tool and pull the fastener out. Empty the dust bag of its contents, tapping it lightly so as to remove particles adhering to the insides which might hamper further collection.

It is extremely important to always secure the workpiece correctly with the proper type of vise or crown molding stoppers. Failure to do so may result in serious personal injury and cause damage to the tool and/or the workpiece.
After a cutting operation do not raise the blade until it has come to a complete stop. The raising of a coasting blade may result in serious personal injury and damage to the workpiece.
When cutting a workpiece that is longer than the support base of the saw, the material should be supported the entire length beyond the support base and at the same height to keep the material level. Proper workpiece support will help avoid blade pinch and possible kickback which may result in serious personal injury. Do not rely solely on the vertical vise and/or horizontal vise to secure the workpiece. Thin material tends to sag. Support workpiece over its entire length to avoid blade pinch and possible KICKBACK.

Before operating the tool, make sure that the upper fence is secured firmly.
Before bevel-cutting, make sure that no part of the tool, especially the blade, contacts the upper and lower fences when fully lowering and raising the handle in any position and while moving the carriage through its full range of travel. If the tool or blade makes contact with the fence this may result in kickback or unexpected movement of the material and serious personal injury.
Use upper fences to support the material higher than the lower fences. Insert the upper fence into the hole on the lower fence and tighten the clamping screw.

NOTICE: The lower fences are fixed to the base in the factory. Do not remove the lower fences.
NOTICE: If the upper fence is still loose after tightening the clamping screw, turn the adjusting screw to close a gap. The adjusting screw is factory adjusted. You don't need to use it unless needed.
You can store the upper fences onto the holder when not in use. Use the clip on the upper fence to hold it on the holder.

The workpiece must be secured firmly against the turn base and guide fence with the vise during all operations. If the workpiece is not properly secured against the fence the material may move during the cutting operation causing possible damage to the blade, causing the material to be thrown and loss of control resulting in serious personal injury.

The vertical vise can be installed in two positions on either the left or right side of the base. Insert the vise rod into the hole in the base.
Position the vise arm according to the thickness and shape of the workpiece and secure the vise arm by tightening the screw. If the clamping screw contacts the carriage, install it on the opposite side of vise arm. Make sure that no part of the tool contacts the vise when lowering the handle all the way. If some part contacts the vise, re-position the vise.
Press the workpiece flat against the guide fence and the turn base. Position the workpiece at the desired cutting position and secure it firmly by tightening the vise knob.
NOTE: For a quick setting of workpiece, turning the vise knob to 90° counterclockwise allows the vise knob to be moved up and down. To secure the workpiece after setting, turn the vise knob clockwise.
Optional accessory
Always rotate the vise nut clockwise until the workpiece is properly secured. If the workpiece is not properly secured the material may move during the cutting operation causing possible damage to the blade, causing the material to be thrown and loss of control resulting in serious personal injury.
When cutting a thin workpiece, such as base boards, against the fence, always use the horizontal vise.
When cutting the workpiece of the thickness 20 mm or thinner, make sure to use a spacer block to secure the workpiece.
The horizontal vise can be installed in two positions on either the left or right side of the base. When performing 22.5° or greater miter cuts, install the horizontal vise on the side opposite the direction in which the turn base is to be turned.

By flipping the vise nut counterclockwise, the vise is released, and rapidly moves in and out. To grip the workpiece, push the vise knob forward until the vise plate contacts the workpiece and flip the vise nut clockwise. Then turn the vise knob clockwise to secure the workpiece.
NOTE: The maximum width of workpiece which can be secured by the horizontal vise is 228 mm.
Always support a long workpiece so it is level with the top surface of the turn base for an accurate cut and to prevent dangerous loss of tool control. Proper workpiece support will help avoid blade pinch and possible kickback which may result in serious personal injury.
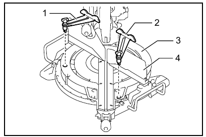
To hold long workpieces horizontally, holders are provided on both sides of the tool. Loosen the screws and extend the holders to the appropriate length for holding the workpiece. Then tighten the screws.

Make sure the blade is not contacting the workpiece, etc. before the switch is turned on. Turning the tool on with the blade in contact with the workpiece may result in kickback and serious personal injury.
After a cutting operation, do not raise the blade until it has come to a complete stop. The raising of a coasting blade may result in serious personal injury and damage to the workpiece.
Do not perform any adjustment such as turning grip, knob, and levers on the tool while the blade is rotating. Adjustment while the blade is rotating may result in serious personal injury.
NOTICE: Before use, be sure to unlock the stopper pin and release the handle from the lowered position.
NOTICE: Do not apply excessive pressure on the handle when cutting. Too much force may result in overload of the motor and/or decreased cutting efficiency. Press down handle with only as much force as necessary for smooth cutting and without significant decrease in blade speed.
NOTICE: Gently press down the handle to perform the cut. If the handle is pressed down with force or if lateral force is applied, the blade may vibrate and leave a mark (saw mark) in the workpiece and the precision of the cut may be impaired.
NOTICE: During a slide cut, gently push the carriage toward the guide fence without stopping. If the carriage movement is stopped during the cut, a mark will be left in the workpiece and the precision of the cut will be impaired.
Always lock the sliding movement of the carriage when performing a press cutting. Cutting without lock may cause possible kickback which may result in serious personal injury.
Workpieces up to 92 mm high and 183 mm wide can be cut in the following manner.

Whenever performing a slide cut, first pull the carriage full towards you and press the handle all the way down, then push the carriage toward the guide fence. Never start the cut with the carriage not pulled fully toward you. If you perform the slide cut without the carriage pulled fully toward you unexpected kickback may occur and serious personal injury may result.
Never attempt to perform a slide cut by pulling the carriage towards you. Pulling the carriage towards you while cutting may cause unexpected kickback resulting in possible serious personal injury.
Never perform the slide cut with the handle locked in the lowered position.

Refer to the previously covered "Adjusting the miter angle".
After setting the blade for a bevel cut, ensure that the carriage and blade will have free travel throughout the entire range of the intended cut before operating the tool. Interruption of the carriage or blade travel during the cutting operation may result in kickback and serious personal injury.
While making a bevel cut keep hands out of the path of the blade. The angle of the blade may confuse the operator as to the actual blade path while cutting and contact with the blade will result in serious personal injury
The blade should not be raised until it has come to a complete stop. During a bevel cut the piece cut off may come to rest against the blade. If the blade is raised while it is rotating the cut-off piece maybe ejected by the blade causing the material to fragment which may result in serious personal injury.
NOTICE: When pressing down the handle, apply pressure in parallel with the blade. If a force is applied perpendicularly to the turn base or if the pressure direction is changed during a cut, the precision of the cut will be impaired.

Compound cutting is the process in which a bevel angle is made at the same time in which a miter angle is being cut on a workpiece. Compound cutting can be performed at the angle shown in the table.
| Miter angle | Bevel angle |
| Left and Right 0° - 45° | Left and Right 0° - 45° |
When performing compound cutting, refer to "Press cutting", "Slide (push) cutting", "Miter cutting" and "Bevel cut" explanations
Make sure to use the horizontal vise (optional accessory) when cutting the base board.
When cutting the workpiece of the thickness 20 mm or thinner, make sure to use a spacer block to secure the workpiece.
When cutting the base board in 45° miter angle, engage the stopper lever to prevent the blade case from contacting the base board. This will keep the clearance between the base board and the blade case when the carriage is fully pushed forward.
Refer to the SPECIFICATIONS for base board cutting capacity.

Crown and cove moldings can be cut on a compound miter saw with the moldings laid flat on the turn base. There are two common types of crown moldings and one type of cove moldings; 52/38° wall angle crown molding, 45° wall angle crown molding and 45° wall angle cove molding.

There are crown and cove molding joints which are made to fit "Inside" 90° corners ((a) and (b) in the figure) and "Outside" 90° corners ((c) and (d) in the figure.)


Measuring
Measure the wall width, and adjust the width of the workpiece according to it. Always make sure that width of the workpiece's wall contact edge is the same as wall length.

Always use several pieces for test cuts to check the saw angles.
When cutting crown and cove moldings, set the bevel angle and miter angle as indicated in the table (A) and position the moldings on the top surface of the saw base as indicated in the table (B).
In the case of left bevel cut

Table (A)
| – | Molding position in the figure | Bevel angle | Miter angle | ||
| 52/38° type | 45° type | 52/38° type | 45° type | ||
| For inside corner | (a) | Left 33.9° | Left 30° | Right 31.6° | Right 35.3° |
| (b) | Left 31.6° | Left 35.3° | |||
| For outside corner | (c) | ||||
| (d) | Right 31.6° | Right 35.3° | |||
Table (B)
| – | Molding position in the figure | Molding edge against guide fence | Finished piece |
| For inside corner | (a) | Ceiling contact edge should be against guide fence. | Finished piece will be on the Left side of blade. |
| (b) | Wall contact edge should be against guide fence. | ||
| For outside corner | (c) | Finished piece will be on the Right side of blade. | |
| (d) | Ceiling contact edge should be against guide fence. |
Example:
In the case of cutting 52/38° type crown molding for position (a) in the above figure:
In the case of right bevel cut

Table (A)
| – | Molding position in the figure | Bevel angle | Miter angle | ||
| 52/38° type | 45° type | 52/38° type | 45° type | ||
| For inside corner | (a) | Right 33.9° | Right 30° | Right 31.6° | Right 35.3° |
| (b) | Left 31.6° | Left 35.3° | |||
| For outside corner | (c) | ||||
| (d) | Right 31.6° | Right 35.3° | |||
Table (B)
| – | Molding position in the figure | Molding edge against guide fence | Finished piece |
| For inside corner | (a) | Wall contact edge should be against guide fence. | Finished piece will be on the Right side of blade. |
| (b) | Ceiling contact edge should be against guide fence. | ||
| For outside corner | (c) | Finished piece will be on the Left side of blade. | |
| (d) | Wall contact edge should be against guide fence. |
Example:
In the case of cutting 52/38° type crown molding for position (a) in the above figure:
Crown molding stopper
Optional accessory
Crown molding stoppers allow easier cuts of crown molding without tilting the saw blade. Install them on the turn base as shown in the figures.
At right 45° miter angle

At left 45° miter angle

Position crown molding with its WALL CONTACT EDGE against the guide fence and its CEILING CONTACT EDGE against the crown molding stoppers as shown in the figure. Adjust the crown molding stoppers according to the size of the crown molding. Tighten the screws to secure the crown molding stoppers. Refer to the table (C) for the miter angle.


Table (C)
| – | Molding position in the figure | Miter angle | Finished piece |
| For inside corner | (a) | Right 45° | Save the right side of blade |
| (b) | Left 45° | Save the left side of blade | |
| For outside corner | (c) | Save the right side of blade | |
| (d) | Right 45° | Save the left side of blade |

When securing aluminum extrusions, use spacer blocks or pieces of scrap as shown in the figure to prevent deformation of the aluminum. Use a cutting lubricant when cutting the aluminum extrusion to prevent build-up of the aluminum material on the blade.
Never attempt to cut thick or round aluminum extrusions. Thick or round aluminum extrusions can be difficult to secure and the work may loosen during the cutting operation which may result in loss of control and serious personal injury.
Use screws to attach the wood facing to the guide fence. The screws should be installed so that the screw heads are below the surface of the wood facing so that they will not interfere with the positioning of the material being cut. Misalignment of the material being cut can case unexpected movement during the cutting operation which may result in a loss of control and serious personal injury.
Use straight wood of even thickness for the wood facing.
In order to completely cut through workpieces with a height of 107 mm to 120 mm, a wood facing should be used on the guide fence. The wood facing will space the workpiece away from the fence allowing the blade to complete a deeper cut.
NOTICE: When the wood facing is attached, do not turn the turn base with the handle lowered. The blade and/or the wood facing will be damaged.
Use of wood facing helps to assure splinter-free cuts in workpieces. Attach a wood facing to the guide fence using the holes in the guide fence and 6 mm screws.
See the figure concerning the dimensions for a suggested wood facing.

EXAMPLE
When cutting workpieces 115 mm and 120 mm high, use a wood facing with the following thickness.
| Miter angle | Thickness of wood facing | |
| 115 mm | 120 mm | |
| 0° | 20 mm | 38 mm |
| Left and Right 45° | 15 mm | 25 mm |
| Left and Right 60° | 15 mm | 25 mm |
Do not attempt to perform this type of cut by using a wider type blade or dado blade. Attempting to make a groove cut with a wider blade or dado blade could lead to unexpected cutting results and kickback which may result in serious personal injury.
Be sure to return the stopper arm to the original position when performing other than groove cutting. Attempting to make cuts with the stopper arm in the incorrect position could lead to unexpected cutting results and kickback which may result in serious personal injury.
For a dado type cut, perform as follows:
The maximum width cutting capacity of this tool can be achieved by following the steps below: For the maximum cutting width of this tool refer to the SPECIFICATIONS under "Cutting capacities for special cuttings".
Before carrying, make sure to unplug and all movable parts of the miter saw are secured. Always check the following:
Carry the tool by holding both sides of the tool base as shown in the figure.

Stopper pin for carriage elevation is for carrying and storage purposes only and not for any cutting operations. The use of the stopper pin for cutting operations may cause unexpected movement of the saw blade resulting in kickback and serious personal injury.
Always secure all moving portions before carrying the tool. If portions of the tool move or slide while being carried, loss of control or balance may occur and result in personal injury.
Always be sure that the tool is switched off and unplugged before attempting to perform inspection or maintenance. Failure to unplug and switch off the tool may result in accidental start up of the tool which may result in serious personal injury.
Always be sure that the blade is sharp and clean for the best and safest performance. Attempting a cut with a dull and /or dirty blade may cause kickback and result in a serious personal injury.
NOTICE: Never use gasoline, benzine, thinner, alcohol or the like. Discoloration, deformation or cracks may result.
This tool is carefully adjusted and aligned at the factory, but rough handling may have affected the alignment. If your tool is not aligned properly, perform the following:
Miter angle
Lower the handle fully and lock it in the lowered position by the stopper pin. Push the carriage toward the guide fence. Loosen the grip and the screws which secure the pointer and miter angle scale.

Set the turn base to the 0° position using the positive stop function. Square the side of the blade with the face of the guide fence using a triangular rule or try-square. While keeping the square, tighten the screws on the miter angle scale. After that, align the pointers (both right and left) with the 0° position in the miter angle scale and then tighten the screw on the pointer.

Bevel angle
0° bevel angle
Push the carriage toward the guide fence and lock the sliding movement by the stopper pin. Lower the handle fully and lock it in the lowered position by the stopper pin and then loosen the knob. Turn the 0° adjusting bolt two or three revolutions counterclockwise to tilt the blade to the right.

Carefully square the side of the blade with the top surface of the turn base using the triangular rule, trysquare, etc. by turning the 0° adjusting bolt clockwise. Then tighten the knob firmly to secure the 0° angle you have set.

Check if the side of the blade squares with the turn base surface once again. Loosen the screw on the pointer. Align the pointer with 0° position in the bevel angle scale and then tighten the screw.
45° bevel angle
NOTICE: Before adjusting the 45° bevel angle, finish 0° bevel angle adjustment.
Loosen the knob and fully tilt the carriage to the side that you want to check. Check if the pointer indicates the 45° position in the bevel angle scale.

If the pointer does not indicate the 45° position, align it with 45° position by turning the adjusting bolt on the opposite side of the bevel angle scale.

For model LS1219L only
The tool must be plugged in while adjusting the laser line. Take extra care not to switch on the tool during adjustment. Accidental start up of the tool may result in serious personal injury.
Never look directly into the laser beam. Direct eye exposure to the beam could cause serious damage to your eyes.
NOTICE: Check the position of laser line regularly for accuracy.
NOTICE: Beware that impacts to the tool. It may cause the laser line to be misaligned or may cause damage to the laser, shortening its life.
NOTICE: Have the tool repaired by a Makita authorized service center for any failure on the laser unit.
The movable range of laser line is decided by the range adjustment screws on both sides. Perform following procedures to alter the laser line position.
Adjusting the laser line on the left side of the blade

Adjusting the laser line on the right side of the blade

For model LS1219L only
The laser light becomes hard to see as the lens for the laser light gets dirty. Clean the lens for laser light periodically.

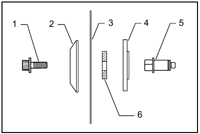
Unplug the tool. Loosen the screw and pull out the lens. Clean the lens gently with a damp soft cloth.
NOTICE: Do not remove the screw which secures the lens. If the lens does not come out, loosen the screw further.
NOTICE: Do not use solvents or any petroleum-based cleaners on the lens.

Remove and check the carbon brushes regularly. Replace when they wear down to the limit mark. Keep the carbon brushes clean and free to slip in the holders. Both carbon brushes should be replaced at the same time. Use only identical carbon brushes. Use a screwdriver to remove the brush holder caps. Take out the worn carbon brushes, insert the new ones and secure the brush holder caps.

After replacing brushes, plug in the tool and break in brushes by running tool with no load for about 10 minutes. Then check the tool while running and electric brake operation when releasing the switch trigger. If the electric brake is not working correctly, have the tool repaired by a Makita service center.
After use, wipe off chips and dust adhering to the tool with a cloth or the like. Keep the blade guard clean according to the directions in the previously covered section titled "Blade guard". Lubricate the sliding portions with machine oil to prevent rust.
To maintain product SAFETY and RELIABILITY, repairs, any other maintenance or adjustment should be performed by Makita Authorized or Factory Service Centers, always using Makita replacement parts.
These Makita accessories or attachments are recommended for use with your Makita tool specified in this manual. The use of any other accessories or attachments may result in serious personal injury.
Only use the Makita accessory or attachment for its stated purpose. Misuse of an accessory or attachment may result in serious personal injury.
If you need any assistance for more details regarding these accessories, ask your local Makita Service Center.
Here you can download full pdf version of manual, it may contain additional safety instructions, warranty information, FCC rules, etc.
Download Makita LS1219, LS1219L Manual
Advertisement


Need help?
Do you have a question about the LS1219 and is the answer not in the manual?
Questions and answers