Kenwood MultiPro Compact+, FDM31 - Food Processor & Meat Grinder Manual
![]()
Key
Processor
![Kenwood - MultiPro Compact+ - Processor Parts Processor Parts]()
- Pusher
- Feed tube
- Lid
- Bowl
- Detachable drive shaft
- Power unit
- Speed/pulse control
- Safety interlocks
- Cord storage (at back)
Weighing Function
![Kenwood - MultiPro Compact+ - Weighing Function Parts Weighing Function Parts]()
- Kg/lb button
- On/zero button
- Display screen
- Weighing tray
Plastic Blender
(if supplied)
![Kenwood - MultiPro Compact+ - Plastic Blender Assembly Plastic Blender Assembly]()
- Blade assembly
- Sealing ring
- Goblet
- Filler cap
- Lid
Glass Blender
(if supplied)
![Kenwood - MultiPro Compact+ - Glass Blender Assembly Glass Blender Assembly]()
- Blade assembly
- Sealing ring
- Goblet
- Lid
- Filler cap
Standard Attachments
![Kenwood - MultiPro Compact+ - Standard Attachments Standard Attachments]()
- Knife blade
- Dough tool
- Dual whisk
- 4mm slicing/grating disc
- 2mm slicing/grating disc
- Extra fine grating disc
Attachments
Not all of the attachments listed below may be included with your food processor. Attachments are dependent upon the model variant. Refer to 'Service and customer care' section for information on how to buy an attachment not included in pack.
Optional Attachments
![Kenwood - MultiPro Compact+ - Optional Attachments Optional Attachments]()
- Citrus juicer (if supplied)
- Glass mini chopper/mill (if supplied)
- Plastic mini chopper/mill (if supplied)
- Grinding mill (if supplied)
- Blend-Xtract 2GO (if supplied)
- Express Dice (if supplied)
- Express Serve (if supplied)
To Use Your Device
Illustrations
- ![]()
- Fit the detachable drive shaft onto the power unit.
- Then fit the bowl by aligning the
on the bowl with the
on the power unit, turn clockwise until it locks
. - Fit an attachment over the bowl drive shaft.
- Always fit the bowl and attachment onto the processor before adding ingredients.
- Fit the lid - ensuring the top of the drive shaft/tool locates into the centre of the lid.
- Do not use the lid to operate the processor, always use the on/off speed control.
- Plug in, switch on and select a speed. (Refer to the recommended usage chart).
- The processor will not operate if the bowl or lid are not fitted correctly into the interlock. Check that the feed tube and bowl handle are situated to the right front hand corner.
- Use the pulse (P) for short bursts. The pulse will operate for as long as the control is held in position.
- Reverse the above procedure to remove the lid, attachments and bowl.
- Always switch off and unplug before removing the lid.
![]()
- Your processor is not suitable for crushing or grinding coffee beans, or converting granulated sugar to caster sugar.
- When adding almond essence or flavouring to mixtures avoid contact with the plastic as this may result in permanent marking.
Weighing Function
Illustration ![]()
Your food processor is fitted with a built in weighing function to allow ingredients to be weighed straight into the bowl or blender goblet.
- The Maximum weighing capacity is 3kg.
To Use The Weighing Function
- Always fit the bowl, detachable drive shaft and attachment or blender goblet onto the power unit before adding ingredients.
- Plug in – the display screen will remain blank.
- Press the ON/ZERO button once and the display screen will light up.
- Press the (kg/lb) button to select either grams or ounces. The display will default to kg/g when first switched on.
- The unit weighs in 1g increments and teaspoon/tablespoon measures are recommended for weighing small quantities.
- To zero press the ON/ZERO button once.
- Weigh the required ingredients straight into the bowl or goblet.
- After all the ingredients are weighed fit the lid and select a speed to operate the processor.
- The weight of any additional ingredients added down the feed tube whilst the processor is running will not be shown on the display screen.
- The display screen can be turned off manually by pressing and holding down the ON/ZERO button for a few seconds.
Refer to the troubleshooting guide if you experience any problems with operating the weighing function.
Weighing Tray
A removable weighing tray is supplied for weighing ingredients without the bowl or blender.
To use, place the tray on top of the power unit and turn clockwise to secure. Then follow steps 2 to 4 under 'To Use The Weighing Function'.
To remove, rotate the tray anti-clockwise and lift off.
Using The Attachments
Refer to recommended usage chart for each attachment.
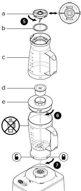
Plastic Blender
To Use Your Blender (if supplied)
Illustrations
- ![]()
- Fit the sealing ring into the blade assembly - ensuring the seal is located correctly in the grooved area.
- Leaking will occur if the seal is damaged or incorrectly fitted.
- Hold the underside of the blade assembly and insert the blades into the goblet - turn anti-clockwise until it is secure. Refer to the graphics on the underside of the blade assembly as follows:
- Unlocked position
- Locked position - Put your ingredients into the goblet.
- Fit the lid onto the goblet and turn clockwise until it clicks. Fit the filler cap.
- Place the blender onto the power unit, align the
on the blender with the
on the power unit and turn clockwise to lock
. - The appliance will not operate if the blender is incorrectly fitted to the interlock.
Glass Blender
To Use Your Blender (if supplied)
Illustrations
- ![]()
- Fit the sealing ring into the blade unit - ensuring the seal is located correctly in the grooved area.
- Leaking will occur if the seal is damaged or incorrectly fitted.
- Screw the goblet onto the blade assembly. Refer to the graphics on the underside of the blade unit as follows:
- Unlocked position
- Locked position - Put your ingredients into the goblet.
- Fit the lid to the goblet and push down to secure. Fit the filler cap.
- Place the blender onto the power unit, align thedon the blender with the
on the power unit and turn clockwise to lock. - The appliance will not operate if the blender is incorrectly fitted to the interlock.
Hints and Tips
- When making mayonnaise, put all the ingredients, except the oil, into the blender. Remove the filler cap. Then, with the appliance running, add the oil slowly through the hole in the lid.
- Thick mixtures, e.g. pâtés and dips, may need scraping down. If the mixture is difficult to process, add more liquid.
- The processing of spices is not recommended as they may damage the plastic parts.
- To blend dry ingredients - cut into pieces, remove the filler cap, then with the appliance running, drop the pieces down one by one. Keep your hand over the opening. For best results empty regularly.
Knife Blade
Follow the instructions under 'to use your food processor'.
![]()
Hints and Tips
- For coarser textures use the pulse control.
- Cut food such as meat, bread, vegetables into cubes approximately 2cm.
- Biscuits should be broken into pieces and added down the feed tube whilst the appliance is running.
- Take care not to over-process.
- When making pastry use fat straight from the fridge cut into 2cm cubes.
- For best results when processing sticky fruit/ingredients such as dates, use 'Pulse' first to break down the ingredients and then continue processing on maximum speed.
Use for yeasted dough mixes.
Follow the instructions under 'To use your food processor'.
Hints and Tips
- Do not process for longer than 60 seconds.
- Place the dry ingredients in the bowl and add the liquid down the feed tube whilst the appliance is running. Process until a smooth elastic ball of dough is formed.
- Re-knead by hand only. Re-kneading in the bowl is not recommended as it may cause the processor to become unstable.
Dual Whisk
Using The Whisk
![]()
- Fit the drive shaft and bowl onto the power unit.
- Push each beater securely into the drive head.
- Fit the whisk by carefully turning until it drops over the drive shaft.
- Add the ingredients.
- Fit the lid - ensuring the end of the shaft locates into the centre of the lid.
Hints and Tips
![]()
Use for light mixes only such as egg whites and cream.
The whisk is not suitable for making all in one cake mixes as these mixes are too heavy and will damage it. Always use the knife blade.
- Best results are obtained when the eggs are at room temperature.
- Ensure the bowl and whisks are clean and free from grease before whisking.
Discs
To Use The Cutting Discs
![]()
- Fit the drive shaft and bowl onto the power unit.
- Holding by the centre grip, place the disc onto the drive shaft with the appropriate side uppermost.
- Fit the lid.
- Put the food in the feed tube.
- Switch on and push down evenly with the pusher
- never put your fingers in the feed tube.
Hints and Tips
- Use fresh ingredients
- Do not cut food too small. Fill the width of the feed tube fairly full. This prevents the food from slipping sideways during processing.
- When slicing or grating: food placed upright comes out shorter than food placed horizontally.
- There will always be a small amount of waste on the disc or in the bowl after processing.
Citrus Juicer
(if supplied)
![Kenwood - MultiPro Compact+ - Using The Attachments - Citrus Juicer Assembly Using The Attachments - Citrus Juicer Assembly]()
- Cone
- Sieve
To use the citrus juicer
- Fit the drive shaft and bowl onto the power unit.
- Fit the sieve into the bowl - ensuring the sieve handle is locked into position directly over the bowl handle.
- Place the cone over the drive shaft turning until it drops all the way down.
- Cut the fruit in half. Then switch on and press the fruit onto the cone.
- The citrus juicer will not operate if the sieve is not locked correctly.
Hints and Tips
- For best results store and juice the fruit at room temperature and hand roll on a worktop before juicing.
- To help with juice extraction move the fruit from side to side when juicing.
- When juicing large quantities, empty the sieve regularly to prevent the build up of pulp and seeds.
Mini Chopper/Mill
(if supplied)
![Kenwood - MultiPro Compact+ - Using The Attachments - Mini Chopper Assembly Using The Attachments - Mini Chopper Assembly]()
![Kenwood - MultiPro Compact+ - Using The Attachments - Mill Assembly Using The Attachments - Mill Assembly]()
- Jar
- Sealing ring
- Blade assembly
- Put the ingredients into the jar.
- Fit the sealing ring into the blade assembly.
- Turn the blade assembly upside down. Lower it into the jar, blades down.
- Screw the blade assembly onto the jar until finger tight. Refer to the graphics on the underside of the blade assembly as follows:
- Unlocked position
- Locked position - Place the mill onto the power unit, align the
on the mill with the
on the power unit and turn clockwise to lock. - Select Maximum speed or use the pulse (P).
Hints and Tips
- Baby food/purée - allow cooked food to cool down to room temperature before processing in the mill.
- For best results the main bowl is recommended when chopping herbs.
Grinding Mill
(if supplied)
![Kenwood - MultiPro Compact+ - Using The Attachments - Grinding Mill Assembly Using The Attachments - Grinding Mill Assembly]()
- Mill lid
- Grinding mill blade assembly
- Place your ingredients into the blade assembly.
- Fit the lid and turn clockwise to lock.
- Place the mill onto the power unit and turn clockwise to lock.
- Select maximum speed or use the pulse (P).
Hints and Tips
- For optimum performance when processing spices do not process more than 50g at a time.
- Whole spices retain their flavour for a much longer time than ground spices so it is best to grind a small quantity fresh at a time to retain the flavour.
- To release the maximum flavour and essential oils whole spices are best roasted prior to milling.
- Do not process dried turmeric root in the mill as it is too hard and may damage the blades.
- Cut ginger and coconut into small pieces before processing.
- For best results the main bowl is recommended when chopping herbs.
Blend-Xtract 2GO
(if supplied)
![Kenwood - MultiPro Compact+ - Using The Attachments - Blend-Xtract 2GO Using The Attachments - Blend-Xtract 2GO]()
- Dispensing lid
- Bottle
- Sealing ring
- Blade assembly
- Add ingredients to the bottle up to the 400ml level mark.
- For best blending performance always add ice/frozen ingredients to the bottle first.
- When adding frozen ingredients (i.e. frozen fruit, yogurt, ice cream or ice) do not blend more than 60g or 3 ice cubes.
- Do not blend frozen ingredients without liquid.
- Fit the sealing ring to the blade unit, ensuring the seal is located correctly in the grooved area.
- Leaking will occur if the seal is damaged or incorrectly fitted.
- Hold the underside of the blade unit and lower it onto the bottle, blades down.
- Screw the blade holder onto the bottle - turn clockwise to lock.
- Shake to disperse the ingredients.
- Place the blender onto the power unit and turn clockwise to lock.
- Select maximum speed. Allow the ingredients to blend until smooth.
- Once your drink has reached the desired consistency, you can use the pulse 'P' to ensure all ingredients are thoroughly blended.
Hints and Tips
- Note that when the bottle is filled to max capacity (400ml), this is approximately two servings.
- If you do not intend to consume your drink immediately, keep it refrigerated.
- Ensure your drink is thin enough to be able to drink from the dispensing lid. To make a thinner drink add more liquid.
- After blending, some drinks may not be completely smooth due to seeds or the fibrous nature of ingredients.
- Some drinks may separate on standing, therefore it is best to drink them straight away. Separated drinks should be stirred before drinking.
- When the dispensing lid is fitted always keep the bottle upright.
Using the drinking lid
- Fit and lock the lid by turning clockwise.
- When you want to drink, simply flip open the lid cover. The drink can be consumed straight from the bottle.
Express Dice
(if supplied)
![Kenwood - MultiPro Compact+ - Using The Attachments - Express Dice Using The Attachments - Express Dice]()
![]()
- Dicing disc
- Dicing grid
- Dicing pusher
![]()
- The dicing disc is designed only to be used with the dicing attachment.
- The dicing pusher should only be used with the dicing grid. Using it without the dicing grid fitted will result in damage to the bottom of the pusher.
To use the Express Dice
- Fit the drive shaft and bowl onto the power unit.
- Add the dicing disc and fit the lid.
- Fit the dicing grid into the feed tube.
- Switch on and use the dicing pusher to process food items through the dicing grid.
Hints and Tips
- To assist with processing place both hands on top of the pusher and press down firmly.
- For best results, use raw fresh fruit and vegetables.
- To prevent the food from jamming do not pack the food tightly in the feed tube – ideally the food should be cut no larger than:
![]()
- If the food is too hard to push through the grid cook for approximately 10-15 minutes, then allow to cool in a refrigerator before processing.
- Always remove hard skins, stones, pips and seeds etc., from food before processing.
Note:
- Due to the various sizes and shapes of foods, the diced results will contain some misshapen pieces, this is normal.
- Foods such as cheese, ham, and chorizo will clog in the grid so are not recommended for use with this attachment.
Cleaning the grid
Use the end of the pusher to dislodge any food which may become trapped in the dicing grid.
The Express Dice can also be used to produce French fries, crudités and batons.
- Fit the dicing grid without the dicing disc.
![]()
- Then manually push the food through the grid without switching the appliance on.
Express Serve
(if supplied)
![Kenwood - MultiPro Compact+ - Using The Attachments - Express Serve Using The Attachments - Express Serve]()
- Express serve drive shaft
- Extension chute
- Base
- Slinger plate
- Fit the drive shaft and bowl onto the power unit.
- Fit the small drive shaft to the main shaft –the Express serve will not operate unless fitted.
- Fit the required attachment/disc - do not apply excessive force. Refer to the Discs and Express Dice sections for further information, hints and tips.
- Fit the lid.
Use in conjunction with the following:
![]()
![]()
![]()
Dicer and Discs
- If the food is not exiting the food outlet, switch off and check that food is not clogging under the disc and the slinger plate is fitted. Clear any trapped food before continuing to process.
Care and Cleaning
- Always switch off and unplug before cleaning.
- Handle the blade and cutting discs with care - they are extremely sharp.
- Some foods may discolour the plastic. This is perfectly normal and will not harm the plastic or affect the flavour of your food. Rub with a cloth dipped in vegetable oil to remove the discolouration.
Power Unit
- Wipe with a damp cloth, then dry. Ensure that the interlock area
is clear of food debris. - Do not immerse the power unit in water.
- Store excess cord in the storage area at the back of the power unit
.
![Kenwood - MultiPro Compact+ - Cleaning Instructions Cleaning Instructions]()
Cleaning Instructions
Service and Customer Care
- If you experience any problems with the operation of your appliance, before requesting assistance refer to the 'Troubleshooting Guide' section in the manual or visit www.kenwoodworld.com.
- Please note that your product is covered by a warranty, which complies with all legal provisions concerning any existing warranty and consumer rights in the country where the product was purchased.
- If your Kenwood product malfunctions or you find any defects, please send it or bring it to an authorised KENWOOD Service Centre. To find up to date details of your nearest authorised KENWOOD Service centre visit www.kenwoodworld.com or the website specific to your Country.
- Designed and engineered by Kenwood in the UK.
- Made in China.
Recommended Usage Chart
Do not operate your appliance for longer than the times specified below without a rest period.
Do not exceed the maximum capacities stated in the chart below.
Processing continuously for longer periods can damage your appliance.
Processing information supplied is for guidance only and will vary depending on the exact recipe and ingredients being processed. Do not process hot ingredients
| Tool/ Attachment | Function | | ![]() (Secs) | |
| All in one cake mixes | 2 | 10 | 1.2kg total weight |
Pastry - rubbing fat into flour Adding water to combine pastry ingredients | 2 1 – 2 | 10 10 – 20 | 300g flour weight |
| Chopping fish and lean meat Pâtés and terrines | 2 | 10 – 30 | 400g max lean beef |
| Chopping vegetables | P | 5 – 10 | 100 - 250g |
| Chopping nuts | 2 | 30 – 60 | 100g – 200g |
| Herbs | 2 | 20 – 30 | 30-50g |
| Mayonnaise | 2 | 60 – 80 | 4 egg yolks |
| Pureeing soft fruit, cooked fruit and vegetables | 2 | 10 – 30 | 500g |
| Egg whites | 2 | 60 – 120 | 2 – 6 (200g) |
| Whipping cream (Processing times may vary, depending on fat content of cream) | 2 | 60 – 120 | 250-500ml |
| Yeasted mixes | 2 | 60 | 340g flour weight 550g total weight |
| Grating and slicing firm food items - cheese, carrots, potatoes and foods of a similar texture | 2 | – | Do not fill above the maximum 1.2L marked on the bowl |
| Slicing softer food items - cucumbers and tomatoes | 1 | – |
| Grates Parmesan cheese | 2 | – |
| Use to squeeze the juice from citrus fruits e.g.oranges, lemons, limes and grapefruits. | 1 | – | – |
| Cold liquids and drinks (Add ice/frozen ingredients to goblet last) | 2 | 30 – 60 | 1.2 litre |
| Milkshake/Cold milk based mixtures | 2 | 15 – 30 | 1 litre |
| Ice crushing | P | 30 – 40 | 6 ice cubes (125g) |
Batter mix (Add liquid ingredients first) | 1 ![]() 2 | 10 ![]() 50 | 1 litre |
| Nuts | 2 | 10 – 30 | 50g |
| Coffee beans | 2 | 30 | 50g |
| Uncooked meat (beef steak) cut into 2cm cubes | P | 5 | 70g |
| Processing spices Black peppercorns, cardamom seeds, cumin seeds, coriander seeds and fennel seeds | 2 | 30 – 60 | 50g |
| Grinding coffee beans | 2 | 50g |
| Chopping nuts | P | – | 50g |
| Processing garlic cloves, fresh chillies and root ginger | P | – | 30g |
| Fresh coconut | 2/P | 30 – 60 | 40g |
| Drinks & smoothies | 2 | 30 – 60 | 400ml |
![]() | Use to cut a variety of foods such as carrot, courgette, cucumber, beetroot and apples into cubes. | 2 | – | Do not fill above the maximum capacity marked on the bowl |
![]() | Use to cut a variety of foods into French Fries and crudités such as potato, carrot, courgette and cucumber. | Manual |
Troubleshooting Guide
| Problem | Cause | Solution |
| The processor will not operate. | No Power. Bowl not fitted to power unit correctly. Bowl lid not locked on correctly. | Check processor is plugged in. Check bowl is located correctly and the handle is situated towards the right front hand corner. Check that the lid interlock is located correctly into the handle area. The processor will not work if the bowl and lid are fitted incorrectly. If none of the above check the fuse/circuit breaker in your home. |
Detachable drive shaft not fitted to power unit. | Fit the detachable drive shaft onto the power unit before fitting the bowl. The bowl tools and attachments will not operate unless the drive shaft is fitted. |
| Blender, Blend-Xtract 2GO or mill will not operate | Blender, Blend-Xtract 2GO or mill not locked on correctly. Blender, Blend-Xtract 2GO or mill not assembled correctly. | Blender, Blend-Xtract 2GO or mill will not operate if fitted incorrectly to the interlock. Check blade assembly is fully tightened into the goblet/bottle/jar |
| Processor stops during processing | Processor overloaded/ maximum capacities exceeded. | Check maximum capacities stated in the recommended usage chart |
| Lid unlocked. | Check lid is locked correctly. |
| Blender, Blend-Xtract 2GO or multi mill leaking from blade assembly base. | Seal missing Seal incorrectly fitted Seal damaged. | Check seal is fitted correctly and not damaged. To obtain a replacement seal see 'Service and customer care'. |
| Unit unstable/heavy vibrations and movement. | Sticky fruit/ingredients such as dates being processed. Speed selected too low. | For best results use 'Pulse' first to break down the ingredients and then continue processing on maximum speed. |
| Poor performance of tools/attachments | Refer to hints in relevant 'Using the attachment' section. Check attachments are assembled correctly. |
| Weighing Function |
| Display screen freezes on [- - - -] | The display screen will freeze during operation. | Normal operation. |
| Display screen showing a minus reading due to display not 'zeroed' and either ingredients or the bowl/lid/ attachment is removed. | Either zero the screen or replace the missing ingredients or refit the bowl/lid/attachment. |
| Quantity weighed too small. | Use teaspoon and tablespoon measures for very small quantities. |
| Weight changed on display | Power unit moved during operation. | Always place the processor on a dry flat surface prior to weighing. Do not move the power unit during operation of the weighing function. Zero the display before weighing next ingredients |
| Display screen turned off | Power unit unplugged The display screen will turn off automatically if the same weight reading is shown after 5 minutes. | Plug appliance in. Press the ON/ZERO button once and the display screen will light up. |
| Display showing [0 – Ld] | Weighing function overloaded Excessive force applied to power unit. | Do not exceed the maximum weighing capacity of 3Kg. Do not subject the power unit to excessive force as this may damage the weighing sensor. |
Safety
- Read these instructions carefully and retain for future reference.
- Remove all packaging and any labels.
- If the plug or cord is damaged it must, for safety reasons, be replaced by Kenwood or an authorised Kenwood repairer in order to avoid a hazard.
- DO NOT touch the sharp blades. The blades and discs are very sharp, handle with care. Always hold by the finger grip at the top, away from the cutting edge, when handling the sharp cutting blades, emptying the bowl and during cleaning.
- DO NOT process hot ingredients.
- Be careful if hot liquid is poured into the food processor or blender as it can be ejected out of the appliance due to sudden steaming.
- Never leave the appliance unattended when it is operating.
- Do not exceed the maximum capacities stated in the recommended usage chart.
- Do not operate your appliance for longer than the times specified below without a rest period. Processing continuously for longer periods can damage your appliance.
| Function/Attachment | Maximum Operation Time | Rest Period Between Operations |
| Blender/Blend-Xtract 2GO | 60 secs | Unplug the appliance and allow to cool down for 15 minutes |
| Heavy mixtures in the bowl (e.g. Dough) | 60 secs |
| Mini Chopper/Mill | 30 secs |
| Grinding Mill | 60 secs |
- Do not lift or carry the processor by the handle - or the handle may break resulting in injury.
- Always remove the knife blade before pouring contents from the bowl.
- Keep hands and utensils out of the processor bowl and blender goblet whilst connected to the power supply. If food needs to be pushed down use a suitable utensil such as a spatula.
- Always switch off the appliance and disconnect from the supply if it is left unattended and before assembling, disassembling or cleaning.
- Never use your fingers to push food down the feed tube. Always use the pusher supplied.
- Never fit the blade assembly to the power unit without the goblet/bottle or mill jar/lid fitted.
![]()
Before removing the lid from the bowl, blender or mill from the power unit: - switch off;
- wait until the attachment/blades have completely stopped;
- be careful not to unscrew the blender goblet/bottle or mill jar/lid from the blade assembly.
- Do not use the lid to operate the processor, always use the on/off speed control.
- This appliance will be damaged and may cause injury if the interlock mechanism is subjected to excessive force.
- Never use an unauthorised attachment.
- Never use a damaged appliance. Get it checked or repaired: see 'Service and Customer Care'.
- Never let the power unit, cord or plug get wet.
- Do not let excess cord hang over the edge of a table or worktop or touch hot surfaces.
- Children should be supervised to ensure that they do not play with the appliance.
- This appliance shall not be used by children. Keep the appliance and its cord out of reach of children.
- Appliances can be used by persons with reduced physical, sensory or mental capabilities or lack of experience and knowledge if they have been given supervision or instruction concerning use of the appliance in a safe way and if they understand the hazards involved.
- Only use the appliance for its intended domestic use. Kenwood will not accept any liability if the appliance is subject to improper use, or failure to comply with these instructions.
- Misuse of your processor, blender or mill can result in injury.
- The maximum rating is based on the mini chopper/mill attachment that draws the greatest load. Other attachments may draw less power.
Blender/Blend-Xtract 2GO
DO NOT process hot ingredients. - SCALD RISK: Hot ingredients must be allowed to cool to room temperature before placing in the goblet/bottle or before blending.
- Always take care when handling the blade assembly and avoid touching the cutting edge of the blades when cleaning.
- Only operate the blender with the lid in place.
- Only use the goblet/bottle with the blade assembly supplied. O Never run the blender empty.
- Smoothie recipes - never blend frozen ingredients that have formed a solid mass during freezing, break it up before adding to the goblet/bottle.
Blend-Xtract 2GO
- Never drink any hot liquids from the bottle.
- When drinking through the lid, take care that the drink is smooth. Some experimentation may be necessary to achieve the desired result, particularly when processing firm or unripened foods as you may find that some ingredients remain unprocessed.
- Do not blend frozen ingredients or ice cubes without liquid.
- Never blend dry ingredients (e.g. spices, nuts) or run the Blender empty.
Mill Attachments
- Never fit the blade assembly to the power unit without the jar/ lid fitted.
- Never unscrew the jar/lid while the mill is fitted to your appliance.
- Do not touch the sharp blades – Keep the blade assembly away from children.
- Never remove the mill until the blades have completely stopped.
- The appliance will not work if the mill is incorrectly fitted.
- Do not process hot ingredients in the mill allow to cool down to room temperature before processing.
Mini Chopper/Mill
- The processing of spices is not recommended as they may damage the plastic parts.
Grinding Mill
- Do not process dried turmeric root as it is too hard and may damage the blades.
Express Dice/Express Serve Attachment and Discs
- The cutting grid and discs are very sharp; handle with care when fitting, removing and cleaning.Always hold by the finger grip away from the cutting edge when handling the sharp cutting blades, emptying the bowl and during cleaning.
- Never use your fingers to push food down the feed tube. Only use the pusher supplied.
- Do not use excessive force to push food down the feed tube – you could damage your attachment.
- Before removing the lid, switch off wait until the cutting disc has completely stopped.
- Do not pour hot liquids down the feed tube.
Express Serve
- Avoid contact with moving parts. Keep fingers out of the food outlet opening.
- Do not operate when using the Dicer or Discs without the slinger plate fitted. If the slinger plate is not fitted food will clog under the plate and not exit the food outlet, resulting in damage to your attachment.
- The citrus juicer is not designed to be used with the Express Serve. Always use the citrus juicer with the main bowl.
Cleaning
- Wipe the power unit and whisk drive head with a damp cloth, then dry. Ensure that the interlock area is clear of food debris.
- Do not immerse the power unit, blade assemblies or whisk drive head in water.
- The bowl, lid, pusher and all attachment/tool apart from the blade assemblies and whisk drive head are suitable for both handwashing and dishwashing.
- The blade assemblies should be brushed clean and rinsed under running water.
Before plugging in
- Make sure your electricity supply is the same as the one shown on the underside of your appliance.
- This appliance conforms to EC Regulation 1935/2004 on materials and articles intended to come into contact with food.
Before using for the first time
- Remove the plastic blade covers from the knife blade.Take care the blades are very sharp. These covers should be discarded as they are to protect the blade during manufacture and transit only.
- Wash the parts see 'Care and Cleaning'.
![]()
Documents / Resources
References
Download manual
Here you can download full pdf version of manual, it may contain additional safety instructions, warranty information, FCC rules, etc.
Download Kenwood MultiPro Compact+, FDM31 - Food Processor & Meat Grinder Manual
Need help?
Do you have a question about the MultiPro Compact+ and is the answer not in the manual?
Questions and answers