Makita 6501X - High Speed Drill Manual

Makita 6501X - High Speed Drill Manual

Also See for 6501X:

Advertisement

Makita 6501X - High Speed Drill Manual

SPECIFICATIONS

Model 6501X
Capacities Steel 6.5 mm
Wood 9 mm
No load speed (min-1) 4,500
Overall length 219 mm
Net weight 0.9 kg
Safety class /II
  • Due to our continuing programme of research and development, the specifications herein are subject to change without notice.
  • Specifications may differ from country to country.
  • Weight according to EPTA-Procedure 01/2003

Intended use
The tool is intended for drilling in wood, metal and plastic.

Power supply
The tool should be connected only to a power supply of the same voltage as indicated on the nameplate, and can only be operated on single-phase AC supply. They are double-insulated in accordance with European Standard and can, therefore, also be used from sockets without earth wire.

Noise
The typical A-weighted noise level determined according to EN60745:

Sound pressure level (LpA): 77 dB(A)
Uncertainty (K): 3 dB(A)

The noise level under working may exceed 80 dB (A). Wear ear protection.

Vibration
The vibration total value (tri-axial vector sum) determined according to EN60745:

Work mode: drilling into metal
Vibration emission (ah, D): 2.5 m/s2 or less
Uncertainty (K): 1.5 m/s2

  • The declared vibration emission value has been measured in accordance with the standard test method and may be used for comparing one tool with another.
  • The declared vibration emission value may also be used in a preliminary assessment of exposure.
  • The vibration emission during actual use of the power tool can differ from the declared emission value depending on the ways in which the tool is used.
  • Be sure to identify safety measures to protect the operator that are based on an estimation of exposure in the actual conditions of use (taking account of all parts of the operating cycle such as the times when the tool is switched off and when it is running idle in addition to the trigger time).

General Power Tool Safety Warnings


Read all safety warnings and all instructions. Failure to follow the warnings and instructions may result in electric shock, fire and/or serious injury.

Save all warnings and instructions for future reference.

DRILL SAFETY WARNINGS

  1. Use auxiliary handle(s), if supplied with the tool. Loss of control can cause personal injury.
  2. Hold power tool by insulated gripping surfaces, when performing an operation where the cutting accessory may contact hidden wiring or its own cord. Cutting accessory contacting a "live" wire may make exposed metal parts of the power tool "live" and could give the operator an electric shock.
  3. Always be sure you have a firm footing. Be sure no one is below when using the tool in high locations.
  4. Hold the tool firmly.
  5. Keep hands away from rotating parts.
  6. Do not leave the tool running. Operate the tool only when hand-held.
  7. Do not touch the drill bit or the workpiece immediately after operation; they may be extremely hot and could burn your skin.
  8. Some material contains chemicals which may be toxic. Take caution to prevent dust inhalation and skin contact. Follow material supplier safety data.

SAVE THESE INSTRUCTIONS.


DO NOT let comfort or familiarity with product (gained from repeated use) replace strict adherence to safety rules for the subject product. MISUSE or failure to follow the safety rules stated in this instruction manual may cause serious personal injury.

FUNCTIONAL DESCRIPTION

  • Always be sure that the tool is switched off and unplugged before adjusting or checking function on the tool.

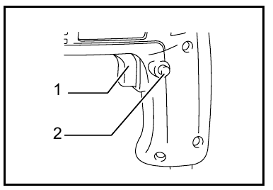
Switch action

Fig.1
Switch action

  1. Switch trigger
  2. Lock button
  • Before plugging in the tool, always check to see that the switch trigger actuates properly and returns to the "OFF" position when released. To start the tool, simply pull the switch trigger. Release the switch trigger to stop.

For continuous operation, pull the switch trigger and then push in the lock button.

To stop the tool from the locked position, pull the switch trigger fully, then release it.

ASSEMBLY

  • Always be sure that the tool is switched off and unplugged before carrying out any work on the tool.

Installing or removing drill bit

Fig.2
Installing or removing drill bit

  1. Sleeve
  2. Ring

Hold the ring and turn the sleeve counterclockwise to open the chuck jaws. Place the bit in the chuck as far as it will go. Hold the ring firmly and turn the sleeve clockwise to tighten the chuck.

To remove the bit, hold the ring and turn the sleeve counterclockwise.

Depth gauge

Fig.3
Depth gauge

  1. Depth gauge
  2. Washer
  3. Thumb screw

For tool with depth gauge
Install the depth gauge on the tool with the thumb screw and washer. Adjust the depth gauge to the desired depth and tighten the thumb screw.

OPERATION

Drilling operation

Drilling in wood

When drilling in wood, the best results are obtained with wood drills equipped with a guide screw. The guide screw makes drilling easier by pulling the bit into the workpiece.

Drilling in metal

To prevent the bit from slipping when starting a hole, make an indentation with a center-punch and hammer at the point to be drilled. Place the point of the bit in the indentation and start drilling.

Use a cutting lubricant when drilling metals. The exceptions are iron and brass which should be drilled dry.

  • Pressing excessively on the tool will not speed up the drilling. In fact, this excessive pressure will only serve to damage the tip of your bit, decrease the tool performance and shorten the service life of the tool.
  • There is a tremendous twisting force exerted on the tool/bit at the time of hole breakthrough. Hold the tool firmly and exert care when the bit begins to break through the workpiece.
  • Always secure small workpieces in a vise or similar hold-down device.
  • Avoid drilling in material that you suspect contains hidden nails or other things that may cause the bit to bind or break.

MAINTENANCE

  • Always be sure that the tool is switched off and unplugged before attempting to perform inspection or maintenance.
  • Never use gasoline, benzine, thinner, alcohol or the like. Discoloration, deformation or cracks may result.

To maintain product SAFETY and RELIABILITY, repairs, carbon brush inspection and replacement, any other maintenance or adjustment should be performed by Makita Authorized Service Centers, always using Makita replacement parts.

ACCESSORIES

  • These accessories or attachments are recommended for use with your Makita tool specified in this manual. The use of any other accessories or attachments might present a risk of injury to persons. Only use accessory or attachment for its stated purpose. If you need any assistance for more details regarding these accessories, ask your local Makita Service Center.
  • Drill bits

Documents / Resources

Download manual

Here you can download full pdf version of manual, it may contain additional safety instructions, warranty information, FCC rules, etc.

Download Makita 6501X - High Speed Drill Manual

Advertisement

Need help?

Need help?

Do you have a question about the 6501X and is the answer not in the manual?

Questions and answers

Table of Contents