Whirlpool WDF550SAFW - Dishwasher with Cycle Memory Manual

Whirlpool WDF550SAFW - Dishwasher with Cycle Memory Manual

Advertisement

Whirlpool WDF550SAFW - Dishwasher with Cycle Memory Manual

Quick Steps

  1. Prepare and load dishwasher.
  2. Add detergent for cleaning and rinse aid for drying.
  3. Select a cycle and option.
    Selecting a cycle and option
  4. Start dishwasher.

Product Use

Prepare and Load the Device


Remove leftover food, bones, toothpicks and other hard items from the dishes. Remove labels from containers before washing.

  • Make sure nothing keeps spray arm(s) from spinning freely. It is important for the water spray to reach all soiled surfaces.
  • Make sure that no items are blocking the detergent dispenser when the dishwasher door is closed.
  • Items should be loaded with soiled surfaces facing down and inward to the spray as shown. This will improve cleaning and drying results.
  • Avoid overlapping items like bowls or plates that may trap food.
  • Place plastics, small plates and glasses in the upper rack. Wash only plastic items marked "dishwasher safe."
  • To avoid thumping/clattering noises during operation: Load dishes so they do not touch one another. Make sure lightweight load items are secured in the racks.
  • When loading silverware, always place sharp items pointing down and avoid "nesting" as shown.

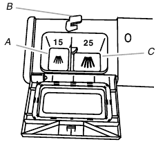
Add Detergent

  1. Main Wash section
  2. Cover latch
  3. Pre-Wash section

NOTE: If you do not plan to run a wash cycle soon, run a rinse cycle. Do not use detergent.

  • Use automatic dishwasher detergent only. Add powder, liquid or tablet detergent just before starting a cycle.
  • Fresh automatic dishwasher detergent results in better cleaning. Store tightly closed detergent container in a cool, dry place.
  • The amount of detergent to use depends on:
    How much soil remains on the items—Heavily soiled loads require more detergent.
    The hardness of the water—If you use too little in hard water, dishes won't be clean. If you use too much in soft water, glassware will etch.
    Soft to Medium Water (0-6 grains per U.S. gallon) (typical water softener water and some city water)
    Medium to Hard Water (7-12 grains per U.S. gallon) (well water and some city water)
  • Depending on your water hardness, fill the Main Wash section of the dispenser as shown. Fill the Pre-Wash section to the level shown, if needed.

NOTE: Fill amounts shown are for standard powdered detergent. Follow instructions on the package when using other dishwasher detergent.

Add Rinse Aid

  • Your dishwasher is designed to use rinse aid for good drying performance. Without rinse aid your dishes and dishwasher interior will have excessive moisture. The heat dry option will not perform as well without rinse aid.
  • Rinse aid keeps water from forming droplets that can dry as spots or streaks. They also improve drying by allowing water to drain off of the dishes after the final rinse.
  • Rinse aid helps to reduce excess moisture on the dish racks and interior of your dishwasher.
  • Check the rinse aid indicator. Add rinse aid when the indicator window looks clear.
    1. Indicator
  • To add rinse aid, turn the dispenser cap counterclockwise and lift off. Pour rinse aid into the opening until the indicator window looks full. Replace the dispenser cap and turn clockwise. Make sure cap is fully locked

NOTE: For most water conditions, the factory setting of 2 will give good results. If you have hard water or notice rings or spots, try a higher setting. Turn the arrow adjuster inside the dispenser by either using your fingers or inserting a flat-blade screwdriver into the center of the arrow and turning.

  1. Adjustable setting

Select a Cycle

Pots & Pans — Use for heavily soiled, or cookware with dried-on or baked-on soils.
Heavy — Use for heavy soiled, hard to clean items.
Normal — Use for normal food soil. The energy usage label is based on this cycle.
Light — Use for lightly soiled items or china and crystal.
Rinse Only —(no options apply to this cycle) Do not use detergent. This is only a rinse that keeps food from drying on your dishes and reduces odor buildup in your dishwasher until you are ready to wash a full load.

Select Options


You can customize your cycles by pressing the options desired.
Hi-Temp Wash —(use only with Pots & Pans and Normal wash cycles) heats the water during the wash portions of the cycle.

Heated Dry —use for best drying results. Turn off by pressing Heated Dry so that the light goes off.

Hour Delay —(any cycle) offers the choice to start the dishwasher automatically at a later time. Select a wash cycle and options. Press Delay until reaching the desired hour for Delay to start. Press START/RESUME. Close the door firmly.

Lock — use to avoid unintended use of your dishwasher. When Control Lock is lit, all buttons are disabled. The dishwasher door can be opened while the controls are locked.

To turn on Lock:
Press and Lock for at least 3 seconds. The Locked light glows. If you press any pad while your dishwasher is locked, the light flashes 3 times.

To turn off Lock:
Press and hold Heated Dry for at least 3 seconds. The Control Lock light turns off.

Start or Resume a Cycle

  • Run hot water at the sink nearest your dishwasher until the water is hot. Turn off water.
  • Push door firmly closed. The door latches automatically. Select the wash cycle and options desired OR press START/RESUME to repeat the same cycle and options as in the previous wash cycle.
  • You can add an item anytime before the main wash starts. Open the door slowly and add the item. Close the door firmly. Press START/RESUME.
  • Cycle status indicators allow you to follow the progress of your dishwasher cycle. The Clean indicator glows when the cycle is finished.

Product Care

Cleaning the Device

Clean the exterior of the dishwasher with a soft, damp cloth and mild detergent. If your dishwasher has a stainless steel exterior, a stainless steel cleaner is recommended - Stainless Steel Cleaner and Polish Part Number 31464.

Clean the interior of the dishwasher, with a paste of powdered dishwasher detergent and water or use liquid dishwasher detergent on a damp sponge to clean the cooled-down interior.

A white vinegar rinse may remove white spots and film. Vinegar is an acid, and using it too often could damage your dishwasher.

Put 2 cups (500 mL) white vinegar in a glass or dishwasher-safe measuring cup on the bottom rack. Run the dishwasher through a complete washing cycle using an air-dry or an energy-saving dry option. Do not use detergent. Vinegar will mix with the wash water.
If you have a drain air gap, check and clean it if the dishwasher isn't draining well.

Cleaning the Filters

  1. Main filter
  2. Metal strainer
  3. Fine filter

For best performance and results, the filter assembly must be cleaned regularly. The filter efficiently removes food particles from the wash water, allowing water to recirculate during the cycle. For this reason, it is a good idea to remove the large food particles trapped in the filter frequently by rinsing the Main filter, metal strainer and Fine filter under running water. The entire filter assembly should be cleaned at least once a month.

  1. Remove the filter assembly by turning the Main filter ¹⁄₄ turn counterclockwise. Lift to remove.
  2. Clean the Main filter and Fine filter using a cleaning brush.
  3. Reassemble the filter parts as shown in the illustration.
  4. Reinsert the entire filter assembly in the dishwasher, positioning it in place.
  5. Turn the Main filter 1/4 turn clockwise to secure in place.

NOTE: The dishwasher should not be operated without the filter assembly installed. Improper replacement of the filter assembly may reduce the performance level of the appliance and may damage dishes and utensils.

Storing the Device

If you will not be using the dishwasher during the summer months, turn off the water and power supply to the dishwasher. In the winter, if the dishwasher could be exposed to near freezing temperatures or is left in a seasonal dwelling such as a second home or vacation home, avoid water damage by having your dishwasher winterized by authorized service personnel.

Troubleshooting

First try the solutions suggested here or visit our website and reference FAQs (Frequently Asked Questions) to possibly avoid the cost of a service call.
In the U.S.A., www.whirlpool.com
In Canada, www.whirlpool.ca

The device is not operating properly

  • Dishwasher does not run or stops during a cycle
    Is the door closed tightly and latched?
    Is the right cycle selected?
    Is the START/RESUME light on? Press START/RESUME.
    Is there power to the dishwasher? Has a household fuse blown, or has a circuit breaker tripped? Replace the fuse or reset the circuit breaker. If the problem continues, call an electrician.
    Has the motor stopped due to an overload? The motor automatically resets itself within a few minutes. If it does not restart, call for service.
    Is the water shutoff valve (if installed) turned on?
  • Water remains in the dishwasher
    Is the cycle complete?
  • Detergent remains in the covered section of the dispenser
    Is the cycle complete?
    Is the detergent lump-free? Replace detergent if necessary.
  • White residue on the front of the access panel
    Was too much detergent used?
    Is the brand of detergent making excess foam? Try a different brand to reduce foaming and eliminate buildup.
  • Odor in the dishwasher
    Are dishes washed only every 2 or 3 days? Run a rinse cycle once or twice a day until you have a full load.
    Does the dishwasher have a new plastic smell? Run a vinegar rinse as described in "Product Care."
  • Condensation on the kitchen counter (built-in models)
    Is the dishwasher aligned with the countertop? Moisture from the vent in the dishwasher console can form on the counter. Refer to the Installation Instructions for more information.

Dishes do not dry completely

  • Dishes do not dry completely
    Did you use a rinse aid? Your dishwasher is designed to use rinse aid for good drying performance. Without rinse aid your dishes and dishwasher interior will have excessive moisture. The heat dry option will not perform as well without rinse aid.
  • Dishes are not dry
    Did you load your dishwasher to allow proper water drainage? Do not overload. Use a liquid rinse aid to speed drying.
    Are the plastics wet? Plastics often need towel drying.
    Is the rinse aid dispenser empty?
    Did you use an air-dry or energy-saving dry option? Use a heated drying option for dryer dishes.
  • Excess moisture on racks and dishwasher interior
    Check the rinse aid indicator to see that there is rinse aid in the dispenser.

Spots and stains on dishes

  • Spotting and filming on dishes
    Is your water hard, or is there a high mineral content in your water? Conditioning the final rinse water with a liquid rinse aid helps eliminate spotting and filming. Keep the rinse aid dispenser filled. Always use a high-temp option. If your water hardness is 13 grains or above, it is strongly recommended that you install a home water softener. If you do not wish to drink softened water, have the softener installed onto your hot water supply.
    Is the water temperature too low? For best dishwashing results, water should be 120°F (49°C) as it enters the dishwasher.
    Did you use the correct amount of effective detergent? Use recommended dishwasher detergents only. Do not use less than 1 tbs (15 g) per load. Detergent must be fresh to be effective. Heavy soil and/or hard water generally require extra detergent.
    Is the home water pressure high enough for proper dishwasher filling? Home water pressure should be 20 to 120 psi (138 to 828 kPa) for proper dishwasher fill. If you have questions about your water pressure, call a licensed, qualified plumber.
    NOTE: To remove spots and film from glassware, remove all silverware and metal items and run a vinegar rinse as described in "Product Care."
  • Silica film or etching (silica film is a milky, rainbow-colored deposit; etching is a cloudy film)
    Sometimes there is a water/chemical reaction with certain types of glassware. This is usually caused by some combination of soft or softened water, alkaline washing solutions, insufficient rinsing, overloading the dishwasher, and the heat of drying. It might not be possible to avoid the problem, except by hand washing.
    To slow this process use a minimum amount of detergent but not less than 1 tbs (15 g) per load. Use a liquid rinse aid and underload the dishwasher to allow thorough rinsing. Silica film and etching are permanent and cannot be removed. Do not use heated drying.
  • White spots on cookware with nonstick finish
    Has the dishwasher detergent removed cookware seasoning?
    Reseason cookware after washing it in the dishwasher.
  • Brown stains on dishes and dishwasher interior
    Does your water have high iron content? Rewash dishes using 1-3 tsp (5-15 mL) of citric acid crystals added to the covered section of the detergent dispenser. Do not use detergent.
    Follow with a Normal wash cycle with detergent. If treatment is needed more often than every other month, the installation of an iron removal unit is suggested.
  • Black or gray marks on dishes
    Are aluminum items rubbing dishes during washing? Disposable aluminum items can break down in the dishwasher and cause marking. Hand wash these items. Remove aluminum markings by using a mild abrasive cleaner.
  • Orange stains on plastic dishes or dishwasher interior
    Are large amounts of tomato-based foods on dishes placed in the dishwasher? It may be necessary to use a stain removal product to remove stains from your dishwasher. Stains will not affect dishwasher performance.

Noises

  • Grinding, grating, crunching or buzzing sounds
    A hard object has entered the wash module (on some models). When the object is ground up, the sound should stop. If the noise persists after a complete cycle, call for service.

Dishes are not completely clean

  • Food soil left on the dishes
    Is the dishwasher loaded correctly?
    Did you choose the cycle that describes the most difficult soil in your dishwasher? If you have some items with heavier soils, use a heavier cycle.
    Is the water temperature too low? For best dishwashing results, water should be 120°F (49°C) as it enters the dishwasher.
    Did you use the correct amount of fresh detergent? Use recommended dishwasher detergents only. Do not use less than 1 tbs (15 g) per load. Detergent must be fresh to be effective. Heavy soil and/or hard water generally require extra detergent.
    Is detergent caked in dispenser? Use fresh detergent only. Do not allow detergent to sit for several hours in a wet dispenser. Clean dispenser when caked detergent is present.
    Is the pump or spray arm clogged by labels from bottles and cans?
    Is the home water pressure high enough for proper dishwasher filling? Home water pressure should be 20 to 120 psi (138 to 828 kPa) for proper dishwasher fill. If you have questions about your water pressure, call a licensed, qualified plumber.
    Are high suds slowing the wash arm? Do not use soap or laundry detergents. Use recommended dishwasher detergents only.

Dishes are damaged during a cycle

  • Chipping of dishes
    Did you load the dishwasher properly? Load the dishes and glasses so they are stable and do not strike together from washing action. Minimize chipping by moving the rack in and out slowly.
    NOTE: Antiques, feather-edged crystal, and similar types of china and glassware might be too delicate for automatic dishwashing. Wash by hand.

LIMITED WARRANTY

For additional product information or to view FAQs (Frequently Asked Questions), in U.S.A., visit www.whirlpool.com In Canada, visit www.whirlpool.ca

If you do not have access to the Internet and you need assistance using your product or you would like to schedule service, you may contact Whirlpool at the number below.

Have your complete model number ready. You can find your model number and serial number on the label located near the door on the right-hand or left-hand side of the dishwasher interior.

For assistance or service in the U.S.A., call 1-800-253-1301. In Canada, call 1-800-807-6777.
If you need further assistance, you can write to Whirlpool with any questions or concerns at the address below:
In the U.S.A.:
Whirlpool Brand Home Appliances
Customer eXperience Center
553 Benson Road
Benton Harbor, MI 49022-2692

In Canada:
Whirlpool Brand Home Appliances
Customer eXperience Centre
1901 Minnesota Court
Mississauga, Ontario L5N 3A7

If you should experience a problem not covered in TROUBLESHOOTING, please visit our website at www.whirlpool.com for additional information. If you still need assistance, call us at 1-800-253-1301. In Canada, visit our website at www.whirlpool.ca or call us at 1-800-807-6777.

You will need your model and serial number located near the door on the right-hand or left-hand side of the dishwasher interior.

Product Safety

Your safety and the safety of others are very important.
We have provided many important safety messages in this manual and on your appliance. Always read and obey all safety messages.

warning This is the safety alert symbol.
This symbol alerts you to potential hazards that can kill or hurt you and others.
All safety messages will follow the safety alert symbol and either the word "DANGER" or "WARNING." These words mean:

You can be killed or seriously injured if you don't immediately follow instructions.
You can be killed or seriously injured if you don't follow instructions.

All safety messages will tell you what the potential hazard is, tell you how to reduce the chance of injury, and tell you what can happen if the instructions are not followed.

IMPORTANT SAFETY INSTRUCTIONS


When using the dishwasher, follow basic precautions, including the following:

  • Read all instructions before using the dishwasher.
  • Use the dishwasher only for its intended function.
  • Use only detergents or rinse agents recommended for use in a dishwasher, and keep them out of the reach of children.
  • When loading items to be washed:
  1. Locate sharp items so that they are not likely to damage the door seal; and
  2. Load sharp knives with the handles up to reduce the risk of cut-type injuries.
  • Do not wash plastic items unless they are marked "dishwasher safe" or the equivalent. For plastic items not so marked, check the manufacturer's recommendations.
  • Do not touch the heating element during or immediately after use.
  • Do not operate the dishwasher unless all enclosure panels are properly in place.
  • Do not tamper with controls.
  • Do not abuse, sit on, or stand on the door, lid, or dish racks of the dishwasher.
  • To reduce the risk of injury, do not allow children to play in or on the dishwasher.
  • Under certain conditions, hydrogen gas may be produced in a hot water system that has not been used for two weeks or more. HYDROGEN GAS IS EXPLOSIVE. If the hot water system has not been used for such a period, before using the dishwasher turn on all hot water faucets and let the water flow from each for several minutes. This will release any accumulated hydrogen gas. As the gas is flammable, do not smoke or use an open flame during this time.
  • Remove the door or lid to the washing compartment when removing an old dishwasher from service or discarding it.

SAVE THESE INSTRUCTIONS

State of California Proposition 65 Warnings:

This product contains one or more chemicals known to the State of California to cause cancer.


This product contains one or more chemicals known to the State of California to cause birth defects or other reproductive harm.

GROUNDING INSTRUCTIONS

  • For a grounded, cord-connected dishwasher:
    shock hazard The dishwasher must be grounded. In the event of a malfunction or breakdown, grounding will reduce the risk of electric shock by providing a path of least resistance for electric current. The dishwasher is equipped with a cord having an equipment-grounding conductor and a grounding plug. The plug must be plugged into an appropriate outlet that is installed and grounded in accordance with all local codes and ordinances.


Improper connection of the equipmentgrounding conductor can result in a risk of electric shock.
Check with a qualified electrician or service representative if you are in doubt whether the dishwasher is properly grounded. Do not modify the plug provided with the dishwasher; if it will not fit the outlet, have a proper outlet installed by a qualified electrician.

  • For a permanently connected dishwasher:
    The dishwasher must be connected to a grounded metal, permanent wiring system, or an equipment-grounding conductor must be run with the circuit conductors and connected to the equipment-grounding terminal or lead on the dishwasher.

SAVE THESE INSTRUCTIONS


Tip Over Hazard
Do not use dishwasher until completely installed.
Do not push down on open door.
Doing so can result in serious injury or cuts.

Documents / Resources

References

Download manual

Here you can download full pdf version of manual, it may contain additional safety instructions, warranty information, FCC rules, etc.

Download Whirlpool WDF550SAFW - Dishwasher with Cycle Memory Manual

Available languages

Advertisement

Need help?

Need help?

Do you have a question about the WDF550SAFW and is the answer not in the manual?

Questions and answers

Table of Contents