Makita AN250HC - Pneumatic Concrete Nailer Manual

Makita AN250HC - Pneumatic Concrete Nailer Manual

Also See for AN250HC:

Advertisement

Makita AN250HC - Pneumatic Concrete Nailer Manual

SPECIFICATIONS

Model AN250HC
Air pressure 1.18 - 2.26 MPa (11.8 - 22.6 bar)
Nail length 19 mm - 25 mm
Sheet-collated coil pin
Nail capacity 100 pcs
Min. hose diameter 5 mm
Pneumatic tool oil ISO VG32 or equivalent
Dimensions (L X W X H) 295 mm X 128 mm X 291 mm
Net weight 2.1 kg
  • Due to our continuing program of research and development, the specifications herein are subject to change without notice.
  • Specifications may differ from country to country.
  • Weight according to EPTA-Procedure 01/2003

Symbols

The following show the symbols used for the equipment. Be sure that you understand their meaning before use.

  • information Read instruction manual.
  • Wear safety glasses.

Intended use

The tool is intended for securing a thin steel plate to the concrete.

Noise

The typical A-weighted noise level determined according to:
Sound pressure level (LpA): 89 dB(A)
Sound power level (LWA): 102 dB(A)
Uncertainty (K): 3 dB(A)

Wear ear protection

Vibration

The vibration total value determined according to:
Vibration emission (ah): 3.5 m/s2
Uncertainty (K): 1.5 m/s2

  • The declared vibration emission value has been measured in accordance with the standard test method and may be used for comparing one tool with another.
  • The declared vibration emission value may also be used in a preliminary assessment of exposure.

  • The vibration emission during actual use of the power tool can differ from the declared emission value depending on the ways in which the tool is used.
  • Be sure to identify safety measures to protect the operator that are based on an estimation of exposure in the actual conditions of use (taking account of all parts of the operating cycle such as the times when the tool is switched off and when it is running idle in addition to the trigger time).

Pneumatic nailer/stapler safety warnings


Read all safety warnings and all instructions. Failure to follow the warnings and instructions may result in serious injury, electric shock and/or fire.

Save all warnings and instructions for future reference.

For personal safety and proper operation and maintenance of the tool, read this instruction manual before using the tool.

General safety

  • Do not permit those uninstructed to use the tool.
  • No horseplay. Respect the tool as a working implement.
  • Do not operate when under the influence of alcohol, drugs or the like.
  • Never alter the tool.

Personal protective equipments

  • Always wear safety glasses to protect your eyes from dust or fastener injury.


It is an employer's responsibility to enforce the use of safety eye protection equipment by the tool operators and by other persons in the immediate working area.

Personal protective equipments

  • Wear hearing protection to protect your ears against exhaust noise and head protection. Also wear light but not loose clothing. Sleeves should be buttoned or rolled up. No necktie should be worn.

Work area safety

  • Keep work area clean and well lit. Cluttered or dark areas invite accidents.
  • Do not operate the tool in explosive atmospheres, such as in the presence of flammable liquids, gases or dust. Operating the tool can create sparks which may ignite the dust or fumes.
  • Keep children and bystanders away while operating the tool. Distractions can cause you to lose control.
  • Illuminate the work area sufficiently.
  • There may be local regulations concerning noise which must be complied with by keeping noise levels within prescribed limits. In certain cases, shutters should be used to contain noise.

Safety devices

  • Make sure all safety systems are in working order before operation. The tool must not operate if only the trigger is pulled or if only the contact arm is pressed against the wood. It must work only when both actions are performed. Test for possible faulty operation with fasteners unloaded and the pusher in fully pulled position.
  • Do not play with the contact element: it prevents accidental discharge, so it must be kept on and not removed. Securing the trigger in the ON position is also very dangerous. Never attempt to fasten the trigger. Do not operate a tool if any portion of the tool operating controls is inoperable, disconnected, altered, or not working properly.
  • Do not attempt to keep the contact element depressed with tape or wire. Death or serious injury may occur.
  • Always check contact element as instructed in this manual. fasteners may be driven accidentally if the safety mechanism is not working correctly.
  • When not operating the tool, always lock the trigger by turning the lock lever to the LOCK position.
  • Make sure that the trigger is locked when the lock lever is set to the LOCK position.

Loading fasteners

  • Do not load the tool with fasteners when any one of the operating controls is activated.
  • Use only fasteners specified in this manual. The use of any other fasteners may cause malfunction of the tool.

Power source

  • Never connect the tool to compressed air line where the air pressure can exceed the suitable air pressure range of the tool, specified in the "SPECIFICATIONS" table, by 10%. Make sure that the pressure supplied by the compressed air system does not exceed the suitable air pressure range of the tool. Set the air pressure initially to the lower value of the suitable air pressure range.
  • Operate the tool at the lowest pressure required for the application, in order to prevent unnecessarily high noise levels, increased wear and resulting failures.
  • Never use the tool with other than compressed air. If bottled gas (carbon dioxide, oxygen, nitrogen, hydrogen, air, etc.) or combustible gas (hydrogen, propane, acetylene, etc.) is used as a power source for this tool, the tool will explode and cause serious injury.
  • Always disconnect the air hose and remove all of the fasteners:
    • when unattended;
    • before performing any maintenance or repair;
    • before cleaning a jam;
    • Before moving the tool to a new location.
  • Use only pneumatic tool oil specified in this manual.

Operational safety

  • Always check the tool for its overall condition and loose screws before operation. Tighten as required.
  • Handle the tool carefully, as there is high pressure inside the tool that can be dangerous if a crack is caused by rough handling (dropping or striking). Do not attempt to carve or engrave on the tool.
  • Stop the operation immediately if you notice something wrong or out of the ordinary with the tool. An improperly functioning tool must not be used.
  • Do not point the ejection port at anyone in the vicinity. Keep hands and feet away from the ejection port area.
  • Always assume that the tool contains fasteners.
  • Never point the tool toward yourself or anyone whether it contains fasteners or not.
  • Do not rush the job or force the tool. Handle the tool carefully.
  • Do not activate the tool unless the tool is placed firmly against the workpiece.
  • Never hold or carry the tool with a finger on the trigger or hand it to someone in this condition. Accidental firing can cause serious injury.
  • Never use fastener driving tools marked with the symbol "Do not use on scaffoldings, ladders" for specific application for example:
    • when changing one driving location to another involves the use of scaffoldings, stairs, ladders, or ladder alike constructions, e.g. roof laths;
    • closing boxes or crates;
    • fitting transportation safety systems e.g. on vehicles and wagons.
  • Check walls, ceilings, floors, roofing and the like carefully to avoid possible electrical shock, gas leakage, explosions, etc. caused by striking live wires, conduits or gas pipes.
  • Do not use the tool for fastening electrical cables. It is not designed for electric cable installation and may damage the insulation of electric cables thereby causing electric shock or fire hazards.
  • Watch your footing and maintain your balance with the tool. Make sure there is no one below when working in high locations, and secure the air hose to prevent danger if there is sudden jerking or catching.
  • On rooftops and other high locations, drive fasteners as you move forward. It is easy to lose your footing if you drive fasteners while inching backward. When driving fasteners against perpendicular surface, work from the top to the bottom. You can perform driving operations with less fatigue by doing so.
  • A fastener will be bent or the tool can become jammed if you mistakenly drive fastener on top of another fastener or strike a knot in the wood. The fastener may be thrown and hit someone, or the tool itself can react dangerously. Place the fasteners with care.
  • Do not leave the loaded tool or the air compressor under pressure for a long time out in the sun. Be sure that dust, sand, chips and foreign matter will not enter the tool in the place where you leave it setting.
  • Never attempt to drive fasteners from both the inside and outside at the same time. Fasteners may rip through and/or fly off, presenting a grave danger.

Service

  • Perform cleaning and maintenance right after finishing the job. Keep the tool in tip-top condition. Lubricate moving parts to prevent rusting and minimize friction-related wear. Wipe off all dust from the parts.
  • Ask Makita authorized service center for periodical inspection of the tool.
  • To maintain product SAFETY and RELIABILITY, maintenance and repairs should be performed by Makita Authorized Service Centers, always using Makita replacement parts.

SAVE THESE INSTRUCTIONS.


DO NOT let comfort or familiarity with product (gained from repeated use) replace strict adherence to safety rules for the subject product. MISUSE or failure to follow the safety rules stated in this instruction manual may cause serious personal injury.

INSTALLATION

Selecting compressor

Selecting compressor

The air compressor must comply with the requirements.
Select a compressor that has ample pressure and air output to assure cost-efficient operation. The graph shows the relation between pin-driving frequency, applicable pressure and compressor air output.
Thus, for example, if pin driving takes place at a rate of approximately 15 times per minute at a compression of 1.76 MPa (17.6 bar), a compressor with an air output over 70 liters/minute is required.
Pressure regulators must be used to limit air pressure to the rated pressure of the tool where air supply pressure exceeds the tool's rated pressure. Failure to do so may result in serious injury to tool operator or persons in the vicinity.

Selecting air hose


Fig.1

Use a high pressure resistant air hose.
Use an air hose as large and as short as possible to assure continuous, efficient pin-driving operation.

  • Low air output of the compressor, or a long or smaller diameter air hose in relation to the pindriving frequency may cause a decrease in the driving capability of the tool.

Lubrication


Fig.2

Before and after use, oil the tool with pneumatic tool oil by placing two or three drops into the air fitting. For proper lubrication, the tool must be fired a couple of times after pneumatic tool oil is introduced.

FUNCTIONAL DESCRIPTION

  • Always disconnect the air hose before adjusting or checking function on the tool.

Adjusting the pin-driving depth

  • Always disconnect the hose before adjusting the pin-driving depth.


Fig.3
3-1. Adjuster


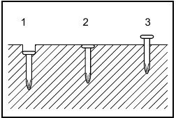
Fig.4
4-1. Too deep
4-2. Flush
4-3. Too shallow

If pins are driven too deep, turn the adjuster clockwise. If pins are driven too shallow, turn the adjuster counterclockwise.
The adjustable range is 10 mm. (One full turn allows 0.8 mm adjustment.)

Hook

  • Always disconnect the hose when hanging the tool using the hook.
  • Never hang the tool on a waist belt or like. Dangerous accidental firing may result.


Fig.5
5-1. Screw
5-2. Hook

The hook is convenient for hanging the tool temporarily. This hook can be installed on either side of the tool. When changing the installation position, remove the screw with a screwdriver. Install the hook on another side for installation and then secure it with the screw.

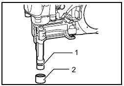
Use the nose adapter

  • Always disconnect the hose before installing or removing the nose adapter.


Fig.6
6-1. Contact element
6-2. Nose adapter

Always use the nose adapter. Otherwise a slippage may occur or even the nailer may not fire the nail.
Usually use one of two nose adapter A (transparent), one factory-installed on the contact element and the other stored below the grip.
When working on narrow partition tracks, use nose one of two nose adapter B (black) which are provided with in the tool carton box.
To attach the nose adapter to the contact element, press it onto the contact element as far as it will go.

Locking the trigger

This nailer is provided with the mechanism for locking trigger to avoid personal injuries and property damage caused by improper operation during other than pindriving operation.


Fig.7
7-1. LOCK position

Set the change lever to the LOCK position to lock the trigger.


Fig.8
8-1. FREE position

Before driving pins, set the change lever to the FREE position. When NOT driving pins, be sure to set the change lever to the LOCK position and disconnect the air hose

ASSEMBLY

  • Always disconnect the air hose before loading the nailer.

Loading the nailer


Fig.9
9-1. Latch lever

Disconnect the air hose from the tool. Select pins suitable for your work. Depress the latch lever and open the door and magazine cap.


Fig.10
10-1. Door
10-2. Driver channel

Place the pin coil in the magazine. Uncoil enough pins to reach the pin guide. Place the first pin in the feeder and the second pin in the feed claw. Place other uncoiled pins on feeder body. Close the magazine cap slowly until it lock after checking to see that the pin coil is set properly in the magazine.

Connecting air hose

Slip the air socket of the air hose onto the air fitting on the nailer. Be sure that the air socket locks firmly into position when installed onto the air fitting.

OPERATION

  • Be sure to set the change lever to the LOCK position to avoid unexpected misfiring when the tool is not in use.
  • Make sure all safety systems are in working order before operation.


Fig.11

Only pulling trigger without contact element contacting workpiece must not bring about the tool firing.


Fig.12

Only contact element contacting workpiece without pulling trigger must not bring about the tool firing.


Fig.13
13-1. Trigger
13-2. Contact arm
13-3. Workpiece

This nailer is only for intermittent pin-driving. Intermittent pin-driving is a method of pinning piece by piece with the following step.

  1. Set the change lever to the FREE position.
  2. Place the contact element against the workpiece
  3. And then pull the trigger.

Pin-driving of concrete

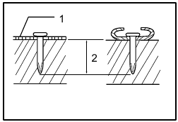
  • Use hardened pins only for concrete. Using other purposed pins may cause serious injuries. Do not pin directly on the concrete. Failure to do so may cause concrete fragments to fly off or pins to strike back, causing serious injuries.
  • When driving pins, hold the tool so that it stands upright to the driving surface. Slanted pin-driving may cause concrete fragments to fly off or pins to strike back, causing serious injuries.
  • Do not use on the surface that objects hang from, such as area where hangers for sewer pipe, dust pipe etc. are set up

Choose and use pins so that the penetration amount into concrete ranges 15 mm - 20 mm.


Fig.14
14-1. Thin steel plate
14-2. Penetration amount into concrete

  • Use this tool only for soft concrete built up not so long before. Using on the hard concrete may cause pin bending or pin-driving to insufficient depth.
  • When the penetration amount into concrete is required more than 20 mm, driving pins to the sufficient length may not be obtained. Pins may be driven too shallow causing unstable workpiece, resulting in personal injury and damage to property.

Cutting off the sheet

  • Always disconnect the hose before cutting off the sheet.


Fig.15

Tear off the output sheet in the direction of the arrow when using the sheet collated pins.

MAINTENANCE

  • Always disconnect the air hose from the tool before attempting to perform inspection or maintenance.
  • Never use gasoline, benzine, thinner, alcohol or the like. Discoloration, deformation or cracks may result.

Jammed nailer

  • Always disconnect the air hose and remove the pins from the magazine before cleaning a jam.


Fig.16


Fig.17

When the nailer becomes jammed, do as follows: Open the magazine cap and remove the pin coil. Insert a small rod or the like into the ejection port and tap it with a hammer to drive out the pin jamming from the ejection port. Reset the pin coil and close the magazine cap.

Drain tool


Fig.18

Remove the hose from the tool. Place the tool so that the air fitting faces down to the floor. Drain as much as possible.

Cleaning of tool

Blow off dust adherent to the tool by using an air duster.

Cap


Fig.19
19-1. Cap

When not in use, disconnect the hose. Then cap the air fitting with the cap.

Storage

When not in use, the nailer should be stored in a warm and dry place.

Maintenance of compressor and air hose


Fig.20
20-1. Drain cock

After operation, always drain the compressor tank. If moisture is allowed to enter the tool, It may result in poor performance and possible tool failure.
Keep the air hose away from heat (over 60°C, over 140°F), away from chemicals (thinner, strong acids or alkalis). Also, route the hose away from obstacles which it may become dangerously caught on during operation. Hoses must also be directed away from sharp edges and areas which may lead to damage or abrasion to the hose.

To maintain product SAFETY and RELIABILITY, repairs, any other maintenance or adjustment should be performed by Makita Authorized Service Centers, always using Makita replacement parts.

OPTIONAL ACCESSORIES

  • These accessories or attachments are recommended for use with your Makita tool specified in this manual. The use of any other accessories or attachments might present a risk of injury to persons. Only use accessory or attachment for its stated purpose.

If you need any assistance for more details regarding these accessories, ask your local Makita Service Center.

  • Pins
  • Air hoses
  • Safety goggles

warning NOTE:

  • Some items in the list may be included in the tool package as standard accessories. They may differ from country to country.

Documents / Resources

Download manual

Here you can download full pdf version of manual, it may contain additional safety instructions, warranty information, FCC rules, etc.

Download Makita AN250HC - Pneumatic Concrete Nailer Manual

Advertisement

Need help?

Need help?

Do you have a question about the AN250HC and is the answer not in the manual?

Questions and answers

Table of Contents