Advertisement

The symbols in this manual are identified by their level of importance, as defined below. Read the following carefully before handling the product.
Warnings must be followed carefully to avoid serious bodily injury.
Cautions must be observed to avoid minor injury to yourself, damage to your equipment, or loss of data.
Note:
Notes have important information and useful tips on the operation of your equipment.
Further product information is written in the TM-H6000IV Technical Reference Guide.
Drivers, utilities, and manuals can be the following URL. http://download.epson-biz.com/?serv

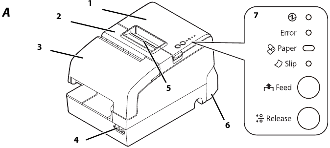
(Power) LED
On when the printer is on.
Error LED
On when the printer is offline after an error, such as paper out or roll paper cover open. Off when the printer operates normally. Flashes when an error occurs.
Paper LED
On when the roll paper is near its end.
Flashes when waiting for test printing on the roll paper.
Slip LED
On when the printer is in slip paper mode. Off when the printer is in roll paper mode. Flashes when the printer is waiting for slip paper to be inserted/ removed.
Feed button
This button feeds paper.
Release button
This button releases the retained paper.
Use the power switch on the front of the printer to turn the printer on and off.
The enclosed power switch cover ensures that the power switch is not pressed accidentally. To install the cover, see illustration C.
You can turn on and off the power switch by inserting a sharp-pointed object in the holes in the power switch cover.
To detach the cover, use a sharp-pointed object.

If an accident occurs with the power switch cover attached, unplug the AC cable immediately. Continued use may cause fire or shock.
To set up the printer, follow the steps below.
Check whether the following items are included. If any item is damaged, contact your dealer.
For a serial interface, use a null modem cable.
For a USB interface, do not turn on the printer before installing the printer driver.
Note:
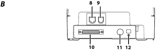
Available interfaces vary by the printer model. For the positions and shapes of the connectors, see illustration B.

The customer display is available only when using a serial interface or USB interface located at the position shown as 12 in illustration B.
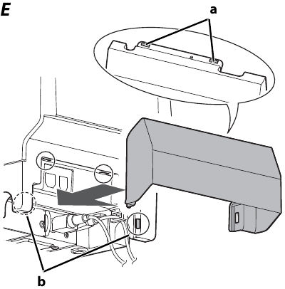
To install the included connector cover, follow the steps below.
To remove the connector cover, push both sides of the cover inward to remove the holes in both sides of the cover from the projections at the bottom of the printer (indicated as b in illustration E).
Note:
Use the EPSON ERC-32 ribbon cartridge.
Be sure to use the specified roll paper.
Do not insert any paper that has clips or staples. This may cause paper jams and damage.
Make sure the slip paper is flat, without curls, folds, or wrinkles.
Note:
Use personal checks of 12 cm {4.7"} long or more.
Follow the steps below to install/replace the roll paper.

When printing on slip paper, follow the steps below to insert the paper.

After the printer setup or when the printer is not operating correctly, you can check the printer operation with test printing. If the printer performs pattern printing following the steps below, the printer is operating normally.
Test Printing on Roll Paper
Make sure all the covers are closed, and while pressing the Feed button, turn on the printer. After the printer prints its status and the Paper LED flashes, press the Feed button again to restart the test printing.
Test Printing on Slip Paper
Make sure all the covers are closed, and while pressing the Release button, turn on the printer. After the Slip LED flashes, insert the slip paper.
The test printing is completed when "***completed***" is printed.
Cleaning the Printer Case
Be sure to turn off the printer, and wipe the dirt off the printer case with a dry cloth or a damp cloth.
Never clean the product with alcohol, benzine, thinner, or other such solvents. Doing so may damage or break the parts made of plastic and rubber.
Cleaning the Thermal Head
Epson recommends cleaning the thermal head periodically (generally every 3 months) to maintain receipt print quality.
The thermal head can be very hot after printing. Be careful not to touch it, and let it cool before you clean it.
Do not damage the thermal head by touching it with your fingers or any hard object.
Turn off the printer, open the roll paper cover, and clean the thermal elements of the thermal head with a cotton swab moistened with an alcohol solvent (ethanol or IPA).

Error LED is on or flashing
The roll paper cover will not open (the autocutter blade is locked)
Follow the steps below to return the autocutter blade to the correct position.
Paper jam occurs
Do not touch the thermal head, because it can be very hot after printing. Let it cool before you remove the jammed paper.
When the roll paper is jammed
When the slip paper is jammed
| Printing method | Receipt: Thermal line Slip: 9-pin serial impact dot matrix | |
| Paper dimensions | Receipt | 79.5 ± 0.5 × 83 mm {3.1 ± 0.02 × 3.3"} |
| Slip | 68 ~ 230 × 68 ~ 297 mm {2.7 ~ 9.1 × 2.7 ~ 11.7"} (W × L) | |
| Paper thickness | Slip (single ply): 0.09 ~ 0.22 mm {0.0035 ~ 0.0087"} | |
| Inked ribbon | Slip: ERC-32 | |
| Interface (compatible) | Serial (RS-232)/USB [Compliance: USB 2.0, Communication speed: Full-speed (12 Mbps)] | |
| Supply voltage* | DC + 24 V ± 7% | |
| Temperature | Operating: 5 to 45°C {41 to 113°F} Storage: –10 to 50°C {14 to 122°F}, except for paper | |
| Humidity | Operating: 10 to 90% RH Storage: 10 to 90% RH, except for paper | |
| Overall dimensions | 181 × 186 × 278 mm {7.13 × 7.32 × 10.94"} (H × W × D) | |
| Weight (mass) | Approx. 4.4 kg {9.7 lb} | |
Mbps: megabits per second
* Be sure to use a safety-standards-applied power source that meets the following specifications.
Rated output: 24 V/2.0 - 10.0 A, Maximum output: 240 VA or less
This section presents important information intended to ensure safe and effective use of this product. Read this section carefully and store it in an accessible location.
Safety Precautions
Shut down your equipment immediately if it produces smoke, a strange odor, or unusual noise. Continued use may lead to fire. Immediately unplug the equipment and contact your dealer or a Seiko Epson service center for advice. Never attempt to repair this product yourself. Improper repair work can be dangerous.
Never disassemble or modify this product. Tampering with this product may result in injury or fire.
Do not use this product with any voltage other than the specified one. Doing so may lead to fire or electric shock.
Do not allow foreign matter to fall into the equipment. Penetration by foreign objects may lead to fire.
If water or other liquid spills into this equipment, unplug the AC cable immediately, and then contact your dealer or a Seiko Epson service center for advice. Continued usage may lead to fire.
Do not use aerosol sprayers containing flammable gas inside or around this product. Doing so may cause fire.
Do not connect cables in ways other than those mentioned in this manual. Different connections may cause equipment damage and burning.
Be sure to set this equipment on a firm, stable, horizontal surface. Product may break or cause injury if it falls.
Do not use in locations subject to high humidity or dust levels. Excessive humidity and dust may cause equipment damage or fire.
Do not place heavy objects on top of this product. Never stand or lean on this product. Equipment may fall or collapse, causing breakage and possible injury.
Take care not to injure your fingers on the manual cutter
Do not connect a telephone line to the drawer kick-out connector or the display module connector; otherwise the printer and the telephone line may be damaged.
Caution Label
The caution label on the product indicates the following precaution.
Do not touch the thermal head because it can be very hot after printing.
Restriction of Use
When this product is used for applications requiring high reliability/safety, such as transportation devices related to aviation, rail, marine, automotive, etc.; disaster prevention devices; various safety devices, etc.; or functional/ precision devices, etc.; you should use this product only after giving consideration to including fail-safes and redundancies into your design to maintain safety and total system reliability. Because this product was not intended for use in applications requiring extremely high reliability/safety, such as aerospace equipment, main communication equipment, nuclear power control equipment, or medical equipment related to direct medical care, etc., please make your own judgment on this product's suitability after a full evaluation.
Here you can download full pdf version of manual, it may contain additional safety instructions, warranty information, FCC rules, etc.
Download Epson TM-H6000IV Manual
Advertisement






Need help?
Do you have a question about the TM-H6000IV and is the answer not in the manual?
Questions and answers