Advertisement

| Height (Min. / Max.) | 84,6 cm / 86,6 cm* |
| Width | 59,8 cm |
| Depth | 60,9 cm |
| Capacity (max.) | 9 kg** |
| Net weight (± %10) | 35 kg |
| Voltage | See type label*** |
| Rated power input | |
| Model code |
* Min. height: Height with the adjustable stand closed.
Max. height: Height with the adjustable stand opened at maximum height.
** Weight of dry laundry before washing.
*** Data plate is under the door on the drying machine.
In order to increase the drying machine's quality, the technical specifications may be changed without prior notice.
Figures in this manual are schematic and may not exactly match the product.
The values provided with the drying machine or its accompanying documents are laboratory readings in accordance with the respective standards. These values may differ depending on the use and ambient conditions.


*Optional - may not be included, depends on model.
Read the "Safety Instructions" first!
Before consulting the nearest Authorized Service for installing the drying machine, see the information in the user guide and make sure the electric and water utilities are as required. If not, call an electrician and plumber to arrange the utilities as necessary.
It is customer's responsibility to prepare the location the drying machine shall be placed on and also have power and waste water installation prepared.
Do not place the drying machine on its power cord.
Remove the shipping safety group prior to first use the product.

NOTICE
Do not leave an accessory or any parts of the shipping safety group inside the drum.
Instead of periodically draining the water accumulated in the water tank, you can discharge via the water discharge hose supplied with the drying machine.
Connecting the water drainage hose
NOTICE
The water discharge hose shall be fixed at maximum 80 cm height. Ensure that the water discharge hose do not get kinked, collapsed or pressed on between the discharge and the drying machine.
Hose shall be connected not to be disconnected from its location. Leaked water may cause damage.
Do not extend the water drainage hose.
Check whether the water runs at an appropriate flow. The drainage line shall not be closed or clogged.
If an accessory package is provided with your product, check the detailed instructions.
Until the drying machine stands level and sturdy, adjust the stands by turning them left and right.

The drying machine is recommended to be moved in upright position. Otherwise, tilt it to the right side when viewed from the front and move the drying machine.
If your drying machine has drum lighting lamp; Consult the authorized service to replace the bulb/LED used in lighting your drying machine. The bulb in this product is not suitable for home lighting. The intended use of this lamp is to ensure safely loading the laundry to the drying machine. The lamps used in this appliance is resistant to heavy physical conditions such as temperatures over 50°C.
Read the "Safety Instructions" first!
NOTICE
Laundry that are not drying machine safe may damage the appliance and the laundry during drying. Follow the instructions on the labels on the laundry to be dried. Only dry the laundry with "drying machine safe" written on their labels.

NOTICE
Undergarments with metal supports shall not be dried in drying machine. If these metal supports get loose and ripped from the garment, it may damage the machine.
Delicate embroidery textiles, cotton and silk garments, garments manufactured from delicate and valuable textiles, non breathing garments and tulle curtains shall not be dried in drying machine.
NOTICE
Items such as coins, metal parts, needles, nails, screws, stones etc. may damage the drum group of the product or may cause functional operation issues. Therefore check all laundry that will be loaded to the product.
Dry the laundry with metal accessories such as zippers by turning them inside out.
Close the zippers, hooks and clasps, button up the covers' buttons, tie textile belts and apron belts.
NOTICE
If the laundry in the product exceed maximum load capacity, it may not operate as intended and may cause material damage or damage the product. For each program, follow the maximum load capacity.

The weights below are provided as examples.
| Laundry | Approx. weight (g)* | Laundry | Approx. weight (g)* |
| Cotton bedding (double size) | 1500 | Cotton dress | 500 |
| Bedding (single size) | 1000 | Dress | 350 |
| Bed sheet (double size) | 500 | Denim | 700 |
| Bed sheet (single size) | 350 | Handkerchief (10 pcs) | 100 |
| Large table cloth | 700 | T-Shirt | 125 |
| Small table cloth | 250 | Blouse | 150 |
| Tea napkin | 100 | Cotton shirt | 300 |
| Bath towel | 700 | Shirt | 200 |
| Hand towel | 350 |
*Weight of dry laundry before washing.


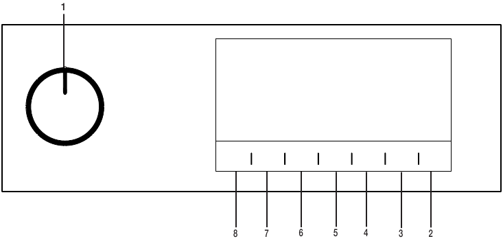
Selecting the program with the On/ Off/Program Selection button does not mean that the program started. Press Start / Stand-by button to start the program.
| Programmes | Programme Description | Capacity (kg) | Spin speed in washing machine (rpm) | Drying Time (minutes) |
| Cottons | You can dry your heat-resistant cotton textiles with this programme. A drying setting suitable for the thickness of the products to be dried and the desired level of dryness should be selected. | 9 | 1000 | 159 |
| Cottons Eco | It dries single layer, casual cotton textiles in the most economical way. | 9 | 1000 | 149 |
| Cottons Iron dry | You may dry your cotton laundry to be ironed in this program to have them slightly damp for ease of ironing. (Shirt, T-shirt, tablecloth, etc.) | 9 | 1000 | 120 |
| Synthetics | You can dry all your synthetic textiles with this programme. A drying setting suitable for the level of dryness you desire should be selected. | 4 | 800 | 50 |
| Mix | Use this programme to dry non-pigmenting synthetic and cotton laundry items together. Sports and fitness clothes may be dried with this program. | 4 | 1000 | 83 |
| Towels | Drying towels such as kitchen towel, bath towel and hand towel. | 5 | 1000 | 110 |
| GentleCare | You may dry your delicate laundry or laundry with hand wash symbol (silk blouses, thin underwear, etc.) at low temperature in this program. | 2 | 1200 | 35 |
| Sports | You can dry your single-layer sportswear for daily use made of synthetic, cotton or mixed fabrics with this program. | 4 | 1000 | 60 |
| Freshen up | It just provides airing for 10 minutes without any hot air. You can air the cotton and linen laundry that are kept closed for a long time, and eliminate the odour in them. | - | - | 10 |
| Timer Programme | You may select from time programmes between 10 and 160 minutes to achieve the desired drying level at low temperature. In this programme, tumble drier's operation lasts for the set time independently from the dryness of laundry. | - | - | - |
| Jeans | You may dry denim pants, skirts, shirts or jackets in this program. | 4 | 1200 | 80 |
| Outdoor | You can dry your multi-layer textile products made of synthetic, cotton or mixed fabrics used for outdoor activities and outdoor sports with this program. | 2 | 1000 | 60 |
| Daily | You can dry both cotton and synthetic laundry with this programme. Sports and fitness clothes may be dried with this program. | 4 | 1000 | 83 |
| Shirts | It dries the shirts in a more sensitive manner, and causes less creasing and easier ironing. | 1,5 | 1200 | 35 |
| Super Short 0.5kg | Use this program to have 2 shirts ready for ironing. | 0,5 | 1200 | 15 |
| Hygiene | It is a long-term program that you can use for the clothes (baby clothes, towels, underwear, etc. cotton) you require hygeine. Hygiene is provided with high temperature. It is especially suitable for durable fabrics. ((This program is identified and approved by England's "The British Foundation" (Allergy UK).)) | 5 | 800 | 105 |
| Energy consumption values | ||||
| Programmes | Capacity (kg) | Spin speed in washing machine (rpm) | Approximate amount of remaining humidity | Energy consumption value kWh |
| Cottons Eco * | 9 | 1000 | 60% | 5,21 |
| Cottons Iron dry | 9 | 1000 | 60% | 4,10 |
| Synthetics cupboard dry | 4 | 800 | 40% | 1,90 |
![]() | "Cottons Eco programme" used at full and partial load is the standard drying programme to which the information in the label and the fiche relates, that this programme is suitable for drying normal wet Cottons laundry and that it is the most efficient programme in terms of energy consumption for Cottons. | |||
![]() | "If you regularly dry the 9 Kg maximum load of Cottons we suggest to connect the drain hose to prevent the dryer stopping mid-cycle in order to empty the tank" (see Section "Connection to the drain") | |||
*: Energy Label standard program EN 61121The values in the table are determined according to the EN 61121 standard. Consumption values may vary from the valued in the chart depending on laundry type, wringing speed, ambient conditions and voltage levels.

Allergy UK is the trademark of the British Allergy Foundation. The Seal of Approval has been created to guide people requesting an advice that the product significantly reduces the amount of the allergens in an environment where allergic people are present or the product restricts/reduces/ eliminates the allergens. The purpose is to provide evidence that the products have been scientifically tested or analysed to yield measurable results.
Dryness level
Dryness level button is used for adjusting to desired dryness. Program time may change depending on the selection.
You can activate this function only prior to start of program.
Wrinkle prevention
You can turn on and off the wrinkle prevention function by pressing the wrinkle prevention selection button. If you will not take the laundry out immediately after the program has completed, you may use Wrinkle prevention function to prevent wrinkling of your laundry.
Audible warning
Drying machine makes an audible warning when the program is completed. Press the "Audible Warning" button if you do not want audible warning. When you press the audible warning button, the light goes off and it does not sound when the program is completed.
You can select this function before the program starts or after the program starts.
Low temperature
You can activate this function only prior to start of a program. You can activate this function if you want to dry your laundry at a lower temperature. The program duration will be longer after it becomes activated.
End time
You can delay the end time of the program up to 24 hours with end time function.
You can add or remove laundry within end time. Displayed time is the sum of normal drying time and end time. End Time LED turns off at the end of countdown, the drying starts and the drying LED turns on.
Changing the end time
If you want to change the duration during the countdown:
Pause the program and Turn the On/Off/ Program Selection button and cancel the program. Select the desired program and repeat the End Time selection.
Cancelling the end time function
If you want to cancel the end time countdown and start the program immediately:
Pause the program and Turn the On/Off/ Program Selection button and cancel the program. Select the desired program and press the "Start/Pause" button.
Drum Light
You can turn on and off the drum light by pressing this button. The light turns on when the button is pressed and turns off after certain time.
Warning indicators may vary depending on the model of your drying machine.
Filter cleaning
When the program is completed, the warning indicator for filter cleaning turns on.
Water tank
If the water tank fills up while the program continues, the warning indicator starts flashing and the machine goes into stand-by. In this case, empty the water tank and start the program by pressing the Start / Stand-by button. Warning indicator turns off and program resumes.
Cleaning of filter drawer/ heat exchanger
Warning symbol flashes periodically to remind that filter drawer must be cleaned.
Press the Start/Stand-by button to start the program.
Start/Stand-by and Drying indicators turn on to show that program started.
The drying machine has a child lock which prevents the program flow from being interrupted when the buttons are pressed during a program. When the Child Lock is activated, all buttons on the panel except the On/Off/Program Selection button are deactivated.
Press the Audible Warning button for 3 seconds in order to activate the child lock.
The child lock has to be deactivated to be able to start a new program after the current program is finished or to be able to interfere with the program. To deactivate the child lock, keep the same buttons pressed for 3 seconds.
When the child lock is activated, the child lock warning indicator on the screen turns on.
When the child lock is active:
The drying machine runs, or in stand-by state the indicator symbols will not change upon changing the position of the program selection button.
When the drying machine is operated and the child lock is active, if the program selection button is turned, a double beeping noise will be heard. If the child lock is deactivated before the program selection button is turned to its original place, the program will be terminated since the program selection button is displaced.
You can change the program you selected to dry your laundry with a different program after the drying machine starts running.
Adding and removing clothes during stand-by
If you want to add or remove clothes to/from the drying machine after the drying program starts:
Adding laundry after the drying operation starts may cause the dried laundry inside the drying machine to mix with wet laundry and leave the laundry damp at the end of operation.
Adding or removing laundry during drying may be repeated as many times as you wish. But this operation continuously interrupts the drying operation, and thus increases program duration and energy consumption. So, it is recommended to add laundry before the program starts. If a new program is selected by turning the program selection button while the drying machine is in stand-by, the running program terminates.
Do not touch the inner surface of the drum while adding or removing clothes during a continuing program. The drum surface is hot.
If you want to cancel the program and terminate the drying operation for any reason after the drying machine starts running, Pause the program and turn the On/Off/Program Selection button; the program terminates.
The inside of the drying machine shall be extremely hot when you cancel the program during machine operation, so run the refreshing program to allow it to cool down.
When the program ends, the LED's of End/Wrinkle Prevention and Fibre Filter Cleaning Warning on the program follow-up indicator turn on. Loading door can be opened and drying machine is ready for another operation.
Turn the On/Off/Program Selection button to On/Off position in order to turn off the drying machine.
If the Wrinkle Prevention mode is active and the laundry is not removed after the program is completed, the wrinkle prevention function activates for 2 hours to prevent the laundry inside the machine to get wrinkled. The program tumbles the laundry with 10-minute intervals to prevent them from wrinkling.
If your drying machine has odour feature, read the ProScent manual to use this feature.
Service life of the product extends and frequently faced problems decrease if cleaned at regular intervals.
This product must be unplugged during maintenance and cleaning works (control panel, body, etc.).
Lint and fiber released from the laundry to the air during the drying cycle are collected in the Lint Filter.
Always clean the lint filter and the inner surfaces of the loading door after each drying process.
You can clean the lint filter housing with a vacuum cleaner.
To clean the lint filter:

A layer can build up on the filter pores that can cause clogging of the filter after using the dryer for a while. Wash the lint filter with warm water to remove the layer that builds up on the lint filter surface. Dry the lint filter completely before reinstalling it.

There are dampness sensors in the dryer that detect whether the laundry is dry or not.

To clean the sensors:
Clean metal surfaces of the sensors 4 times a year.
Do not use metal tools when cleaning metal surfaces of the sensors.
Never use solvents, cleaning agents or similar substances for cleaning due to the risk of fire and explosion!
Dampness of the laundry is removed and condensed during drying process and the water that arise accumulates in the water tank. Drain the water tank after each drying cycle.
If you forget to drain the water tank, the machine will stop during the subsequent drying cycles when the water tank is full and the Water Tank warning symbol will flash. If this is the case, drain the water tank and press Start / Pause button to resume the drying cycle.
To drain the water tank:
If the direct water draining is used as an option, there is no need to empty the water tank.
Clean the condenser after every 30 drying cycles or once a month.
To clean the condenser:
Clean the condenser by applying pressurized water with a shower armature and wait until the water drains.

Place the condenser in its housing. Fasten the 2 locks and make sure that they are seated securely.

Close the kick plate cover.

Drying operation takes too long.
Fibre filter (interior and exterior filter) pores may be clogged. → Wash the fibre filters with warm water and dry.
Condenser front side may be clogged. → Clean the front side of the condenser.
The ventilation grills in front of the machine may be closed. → Remove any object in front of the ventilation grills that blocks air.
Ventilation may be inadequate because the are the machine is installed in is too small. → Open the door or windows to prevent the room temperature from rising very high.
If there is a humidity sensor.
A lime layer may have accumulated on the humidity sensor. → Clean the humidity sensor.
Excessive amount of laundry might be loaded. → Do not load the drying machine excessively.
Laundry might not have been wrung adequately. → Perform a higher speed wringing on the washing machine.
Clothes come out damp after drying.
A program not suitable for the laundry type may have been used. → Check the maintenance labels on the clothes and select a program suitable for the clothes' type or use time programs as extra.
Fibre filter (interior and exterior filter) pores may be clogged. → Wash the filters with warm water and dry.
Condenser front side may be clogged. → Clean the front side of the condenser.
Excessive amount of laundry might be loaded. → Do not load the drying machine excessively.
Laundry might not have been wrung adequately. → Perform a higher speed wringing on the washing machine.
Drying machine does not turn on or program cannot be started. Drying machine does not run after it is configured.
Power plug might be unplugged. → Make sure the power cord is plugged in.
Loading door might be open. → Ensure that the loading door is properly closed.
A program might not be set or Start / Pause button might not be pressed. → Check that the program is set and it is not in Pause position.
Child lock may be activated. → Turn off the child lock.
Program terminated prematurely for no reason.
Loading door might be closed completely. → Ensure that the loading door is properly closed.
There might be a power outage. → Press the Start / Pause / Cancel button to start the program.
Water tank may be full. → Empty the water tank.
Clothes have shrunk, hardened or spoiled.
A program not suitable with the laundry type might have been used. → Check the maintenance labels on the clothes and select a program suitable for the clothes.
Water drips from the loading door.
Fibres might have gathered on the inner sides of the loading door and the loading door gasket. → Clean the inner surfaces of the loading door and the loading door gasket surfaces.
Loading door opens by itself.
Loading door might be closed completely. → Push the loading door until the closing sound is heard.
Water tank warning symbol is on/flashing.
Water tank may be full. → Empty the water tank.
Water discharge hose might have collapsed. → If the product is connected directly to the water drain check the water discharge hose.
The lighting inside the drying machine does not turn on. (In models with lamp)
The drying machine might not have been turned on using On/Off button. → Check that the drying machine is turned on.
Lamp might be malfunctioning. → Contact Authorized Service to replace the lamp.
Wrinkle prevention icon or light is lit.
Anti-Crease mode that prevents the laundry in the drier to crease may be activated. → Turn the drier off and remove the laundry.
Fibre filter cleaning icon is lit.
Fibre filter (interior and exterior filter) may be unclean. → Wash the filters with warm water and dry.
A layer may be formed on the fibre filter pores that leads to clogging. → Wash the filters with warm water and dry.
A layer that may cause clogging of the pores of the fibre filters (internal and external filters) may have occurred.<<Wash and dry the filters with lukewarm water>>
Fibre filters may not be inserted. → Insert the interior and exterior filters to their places.
Environmentally-friendly filter cloth may not be installed on the plastic part and the front of the condenser may have clogged. → Install the environmentally-friendly filter to the plastic part and place it on the filter housing.
Environmentally-friendly filter may have not been replaced although the warning symbol is illuminated. "Replace your filter."
An audible warning is heard from the machine
Fibre filters may not be inserted. → Insert the interior and exterior filters to their places.
Filters of the machine may not have been installed. → Install the fibre filters (internal and external) or the environmentally-friendly filter to their housing.
Condenser warning icon is flashing.
Condenser front side may be clogged with fibres. → Clean the front side of the condenser.
Fibre filters may not be inserted. → Insert the interior and exterior filters to their places.
The lighting inside the drying machine turns on. (In models with lamp)
If the drying machine is plugged to the power outlet, the On/Off button is pressed and the door is open; the light turns on. → Unplug the drying machine or bring the On/Off button to Off position.
Wifi icon flashes continuously. (for models featuringHomeWhiz Function)
→ The product may not be connected to the wireless network. Follow the instructions to connect to the network. The device which the product utilize to connect to network may be faulty. Check it. The product may not be connecting to the network due to proximity.
If you see the "F L t" message on the screen, please follow the steps below.
Filters may be dirty. Clean internal and external filters or replace the eco-friendly filter.
If you use double filter, as an internal and external filter, on the cover area, ensure that both filters are installed.
If you use the eco-friendly filter feature, ensure that the filter cloth is installed to the plastic part. Install the filter cloth to the plastic part if it is not installed.
The are in front of the condenser may be dirty. Open and inspect the toe board area and ensure that it is clean. Refer to the Maintenance and Cleaning section.
If the problem persists after following the instructions in this section, contact your vendor or an Authorized Service. Never try to repair your product yourself.
If you experience any issue with your device, you can request a replacement by consulting to the nearest authorised service with the device model number.
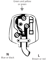
Make sure that you have an earthed power outlet socket rated at 13 amps (minimum).
When installed, the socket must be reachable after installation, or a separate switch (which can disconnect the two poles) must be used in the installation. Check for suitability.
For a permanent connection, a master switch with at least 3mm contact clearance and minimum 13 A rating must be used.
Before you insert the plug into the wall socket make sure that the voltage and the frequency shown in the rating label corresponds to your electricity supply.
We recommend that this appliance be connected to the mains supply via a suitable switched and fused socket in a readily accessible position.
Should the mains lead of the appliance become damaged or need replacing at any time, it must be replaced by a special purpose made mains lead which can only be obtained from an Authorised Service Agent.
This appliance must be earthed
If the fitted moulded plug is not suitable for your socket, then the plug should be cut off and an appropriate plug fitted.
The moulded plug on this appliance incorporates a 13A fuse. Should the fuse need to be replaced an ASTA approved BS1362 fuse of the same rating must be used. Do not forget to refit the fuse cover. In the event of losing the fuse cover, the plug must not be used until a replacement fuse cover has been fitted. Colour of the replacement fuse cover must be the same colour as that visible on the pin face of the plug. Fuse covers are available from any good electrical store.
In order to avoid hazards, damaged supply cord should be replaced by the manufacturer, its service agent or similarly qualified people.
Do not operate without the top cover fitted. Risk of injury.
As the colours of the wires in the mains lead of this appliance may not correspond with the coloured markings identifying the terminals on your plug, proceed as follows:
With the alternative plugs a 13 A fuse must be fitted either in the plug or adaptor or in the main fuse box. If in doubt contact a qualified electrician.

Do not stack washing machine on top of the tumble dryer. This would damage both appliances and guarantees would become void. It is also unsafe to stack an appliance on top of another without using a suitable and approved stacking kit obtained from specialist retailers.

Here you can download full pdf version of manual, it may contain additional safety instructions, warranty information, FCC rules, etc.
Download Beko B3T4911DW, B3T4911DG - Freestanding 9kg Condenser Tumble Dryer Manual
Advertisement









Need help?
Do you have a question about the B3T4911DW and is the answer not in the manual?
Questions and answers