Advertisement



Read "Safety Instructions" section first! Installation procedures must always be performed by the manufacturer, authorised service agent or a qualified person specified by the importer. To make the product ready for use, make sure that the electricity, tap water supply and water drainage systems are appropriate before calling the authorised service agent. If they are not, call a qualified technician and plumber to have the necessary arrangements carried out.
Preparation of the location and electrical, tap water and waste water installations at the place of installation is under customer's responsibility.
Installation and electrical connections must be carried out by the authorised service agent. Manufacturer shall not be held responsible for damages arising from processes carried out by unauthorised persons.
Prior to installation, check if the product has any defects on it. If the product is damaged, do not have it installed. Damaged products cause risks for your safety.
Make sure that the water inlet and discharge hoses are not folded, pinched or crushed while pushing the product into its place after installation or cleaning procedures.
The front of the appliance may not be removed on free-standing or under-thecounter models. The warranty will be void if this is done.
When placing the product, pay attention not to damage the floor, walls, piping, etc. Do not hold the product from its door or panel to move it.
In the area where this product is installed, there must not be a lockable, sliding or hinged door that will restrict full opening of the product's door.
Make sure that you select a location that will allow you to load and unload the dishes in a fast and comfortable manner.
Do not place the product on the power cable.
We recommend installing a filter at the water inlet in order to prevent the dirt (sand, clay, rust) in the mains or water installation of your home from damaging the machine or the dishes.
Permitted water temperature: up to 25°C ( 60°C for products equipped with Aquasafe+; please refer to Aquasafe+ section )
The dishwasher may not be connected to open warm water devices or flow-through water heaters.

NOTICE
Do not use an old or used water inlet hose on the new product. Use the new water inlet hose supplied with the product. Do not make extension at the hoses.
NOTICE
Connect the water inlet hose directly to the water tap. Pressure coming from the tap should be 0.3 bars minimum and 10 bars maximum. If the water pressure exceeds 10 bars, a pressure relief valve should be installed in between.
NOTICE
The water supply and draining hoses must be securely fastened and remain undamaged.
NOTICE
Open the taps completely after making the connections to check for water leaks.
(depends on the model)
The Aquasafe+ system protects against water leaks that may occur at the hose inlet. Water contact with the valve box of the system must be avoided to prevent damage to the electrical system.

As the hose set contains electrical connections and assemblies, never shorten or lengthen the hose with extension hoses.
If the Aquasafe+ system is damaged, unplug the product and call the authorised service agent.
Water discharge hose can directly be connected to the drain hole or sink's drainage. See the installation manual supplied with your machine for detailed information.

Drain pipe must be connected to the sewage system and it should not be connected to any surface water.
If the door of the product cannot be closed properly or if the product rocks when you push it slightly, then you need to adjust the feet of the product. Adjust the feet of the product as illustrated in the installation manual supplied with the product.
Steam may escape if the door of the dishwasher is not adjusted properly. Hot steam may cause serious burns and injuries and damage your furniture.
Connect the product to a grounded outlet protected by a fuse complying with the values in the "Technical specifications" table. Our company shall not be liable for any damages that will arise when the product is used without grounding in accordance with the local regulations.
Do not make connections via extension cables or multi-plugs.
Damaged power cables must be replaced by the authorised service agent.
This appliance must be earthed. If the fitted moulded plug is not suitable for your socket, then the plug should be cut off and an appropriate plug fitted.
Destroy the old plug, which is cut off as a plug with a bared cord could cause a shock hazard if inserted into a socket elsewhere in the house.
The moulded plug on this appliance incorporates a 13A fuse. Should the fuse need to be replaced an ASTA approved BS1362 fuse of the same rating must be used. Do not forget to refit the fuse cover. In the event of losing the fuse cover, the plug must not be used until a replacement fuse cover has been fitted. Colour of the replacement fuse cover must be the same colour as that visible on the pin face of the plug. Fuse covers are available from any good electrical store.
As the colours of the wires in the mains lead of this appliance may not correspond with the coloured markings identifying the terminals on your plug, proceed as follows:

With the alternative plugs a 13A fuse must be fitted either in the plug or adaptor or in the main fuse box. If in doubt contact a qualified electrician.
Read "Safety Instructions" section first!
Following information will help you use the product in an ecological and energy-efficient manner.
Wipe away any coarse food remnants on the dishes before putting them in the product.
Manual pre-rinsing of tableware items leads to increased water and energy consumption and is not recommended.
Washing tableware in a household dishwasher usually consumes less energy and water in the use phase than hand dishwashing when the household dishwasher is used according to the manufacturer's instructions.
Operate the product after filling it completely. When selecting a programme, consider the table of "Programme data and average consumption values" given on Quick Guide. Do not put more detergent than suggested on the detergent package.
The product is equipped with a water softening system which reduces the hardness of incoming water. This system softens the supply water to a level that will allow washing the dishes with the required quality.
The mains water hardness must be softened if it is over 7°dH. Otherwise, hardness ions will accumulate on the dishes that are washed and may affect the washing, rinsing and drying performances of the machine.
Washing performance will increase when water softening system is adjusted properly.
Read "Quick Guide - Adjusting Water Softening System" before this section!
The regeneration of the water softening system can be done in all programmes during drying step. When regeneration occurs, duration, energy and water consumption of the programme increase.
For regeneration process; frequency of regeneration cycle, maximum additional duration, water and energy consumption are given in table below depending on Eco 50°C programme water consumption, when the dishwasher is run under standard conditions with 14 dH water supply on its Eco 50°C programme:
| Eco 50°C water consumption (I) | Regeneration after... cycles | Additional duration (min) | Additional water consumption (I) | Additional energy consumption (kWh) |
| 12,3-14,7 | 5 | 5 | 3,0 | 0,05 |
| 9,6-12,2 | 6 | 5 | 3,0 | 0,05 |
| 9,0-9,5 | 7 | 5 | 3,0 | 0,05 |
| 8,0-9,0 | 8 | 5 | 3,0 | 0,05 |
| 7,0-7,9 | 9 | 5 | 3,0 | 0,05 |
For the water consumption of your dishwasher on Eco 50°C programme, look at the Programme data and average consumption values table given on Quick Guide.
Water softening system needs to be regenerated in order for the product to operate with the same performance continuously. Dishwasher salt is used for this purpose.
Use only special softening salts produced particularly for the dishwashers in your machine.
It is recommended to use granule- or powder-formed softening salts in the water softening system. Do not use salts that do not completely dissolve in water such as table salt or rock salt. Otherwise the performance of the system may deteriorate in time.
Salt reservoir will be filled with water when you start the product. For this reason, add salt before operating the machine.
You need to add salt right before starting the machine. Thus, the overflowing salty water will be flushed immediately, preventing the risk of corrosion in machine. In cases where you would not start washing immediately, run your machine empty in the shortest programme.
Since different salt brands in the market have different particle sizes and since the water hardness may vary, dissolution of the salt in water may take a couple of hours. Therefore, Salt Indicator remains on for a while after adding salt into the machine.
You can use powder, liquid/gel or tablet detergents in the machine.
Only use detergents produced particularly for use with dishwashers. Note that detergents that contain chlorine and phosphate can be harmful for the environment. Liquid detergents without chlorine may not remove tea and coffee stains from cups.
Pay attention to the warnings on the detergent packaging to get better washing and drying results. Contact the manufacturer of the detergent for further questions.
Do not put solvents into the detergent dispenser. There is the risk of explosion!
Put the detergent into the detergent dispenser just before operating the machine as illustrated below.
Use powder or liquid/gel detergent in short programmes without prewash since the solubility of the tablet detergent changes depending on the temperature and time.
In addition to the conventional tablet detergents, there are also commercially available detergent tablets that show water softening salt and/or rinse aid effect. Some types of these detergents contain specialpurpose components such as glass and stainless steel protectors. These tablets show their effects up to a certain water hardness level (21°dH). Water softening salt and rinse aid must also be used together with the detergent if the water hardness level is above the mentioned level.
The best washing performance in dishwashers is obtained by using detergent, rinse aid and water softening salt individually.

Observe the instructions of the detergent manufacturer on the package when using tablet detergents.
Contact the detergent manufacturer if your dishes are wet and/or if you notice limescale spots particularly on your glasses after the washing programme is over when using a tablet detergent.
When you switch to powder detergent from tablet detergent:
The rinse aid used in dishwashers is a special combination that aims to increase drying efficiency and prevent water or lime stains on the washed items. For this reason, care must be paid to have rinse aid in the rinse aid reservoir and to use rinse aids produced specially for dishwashers only.
The rinse aid adjustment is described under "Adjusting the amount of rinse aid" in the section for operating the machine.
Wipe clean any spilled rinse aid outside the reservoir. Rinse aid that spilled accidentally will cause foaming and it will eventually decrease washing performance.
Decorative prints of chinaware as well as aluminium and silver items may get discoloured or tarnished after washing in the dishwasher just as it happens in handwashing as well. Some delicate glass types and crystals may become dull in time. We strongly recommend you to check if the tableware you are going to purchase is suitable for washing especially in the dishwasher.
Depending on the capacity of your dishwasher, you can use your dishwasher in the optimum way with respect to energy consumption and washing and drying performance only if you place the dishes in an orderly way.
To prevent possible injuries, always place the sharp and pointed dishes such as service fork, bread knife, etc. upside down so as their pointed ends will face down or lay them horizontally in the dish basket.
Unload dishes in the lower basket first and then the dishes in the upper basket.

Suggestions for loading the dishwasher
Improper Loading Of Dishware


(depends on model)
Cutlery basket is designed to wash your dishes such as knife, fork, spoon, etc. in an efficient manner.
Since the cutlery basket can be moved (A, B), you can create more space while placing your dishes in the lower basket and free up space for your dishes of different sizes.

(depends on model)
There are foldable tines (A) located at the lower basket of the machine are designed for an easier placement of large pieces such as pans, bowls, etc. You can create larger spaces by folding each tines individually or all of them at once.

To bring the collapsible tines into horizontal position, grab the tines from mid position and push them in the directions of arrows (B). To bring the tines back to vertical position, just lift them up. Collapsible tines will click into the latch again (C).

Bringing the tines to the horizontal position by holding them from the tips may cause them to bend. Therefore, it will be appropriate to bring the tines in the middle to horizontal or vertical position by holding them from their stems and pushing in the direction of arrow.
(depends on model)
Use the supports to wash trays in the bottom basket.
See the Auxiliary functions section for appropriate programme and function selection.

(depends on model)
The SoftTouch Accessory found in the lower basket of your machine enables a safe washing for your fragile glasses.

(depends on model)
Lower Basket Glass Holder found in the lower basket of your machine enables a safe washing for your oversized and tall glasses.

(depends on model)
This accessory located at the lower basket of your machine allows you to easily wash pieces such as extra glasses, long ladles and bread knives.

You may use the racks as required by moving them to lower or upper position, or close them to create a wider space in your lower basket.
Make sure that the impeller does not touch the dishes you placed on the racks.
To close the racks:

You may open the racks in the same process in reverse order.
To adjust the height of the racks:

(depends on model)
Use the lower and upper parts of the height adjustable racks in the upper basket of the machine by sliding them down or up according to the heights of the glasses, cups or etc. (A, B, C).

(depends on model)
The bottle wire is designed for easier washing of long pieces with wide mouths. You may take out the bottle wire from the basket when not in use by pulling it out from both sides (H).

(depends on model)
This accessory located at the upper basket of your machine allows you to easily wash pieces such as extra long ladles and bread knives.

You can lift up the upper basket multipurpose service rack to remove it if you do not want to use it.

If you want to use the upper basket multipurpose service rack again, you can easily attach it to the side section of your upper basket.

(depends on model)
The upper basket height adjustment mechanism has been designed for you to create large spaces in the lower or upper sections of your machine depending on your needs by adjusting the height in the upper or lower direction while your basket is empty or loaded.
Thanks to this mechanism, you can use your basket in three different positions, namely lower, middle and upper positions (1, 2, 3).
Repeat the process if the height is not sufficient.
To lower the basket, while it is in the uppermost position;
Repeat the process if the height is not sufficient.
The movement mechanism may not function properly if the upper basket is overloaded or if the weight distribution is not balanced. In heavier conditions, there is the risk of falling one level down.
Make sure that the adjustment mechanism has the same positions on the right and left sides of the upper basket.
(depends on model)
In this model, the height setting of the upper basket may be changed using the wheels which are mounted at two different heights.
Release the latches on both the right and left tracks of the upper basket by pushing them outwards.

Pull the basket out completely.

Place the basket back into the tracks at the desired height.

Push the latches back into the correct position.
(depends on model)
You can use collapsible wires when you need a larger space for your dishes in the upper basket of your machine.
To bring the collapsible wires into horizontal position, grab the wire from the middle position and push them in the direction of arrow in the figure. Place your larger dishes into the area created. To bring the wires back to vertical position, just lift them up.

Bringing the wires to the horizontal position by holding them from the tips may cause them to bend. Therefore, hold the wires from their stems while bringing them to the horizontal or vertical positions.
(depends on model)
Ceiling cutlery basket is designed to wash your cutlery items such as forks, spoons and etc. by placing them between the bars on the basket.

In models with partial movement feature, pushing the bar (1) on the handle enables the central tray of the basket to get to the lower position and the system gets unlocked. Thus right and left side trays can be used as moving parts.

The free space enabled by the side trays allows long parts to be loaded in the upper basket.

When the central tray is in the lower position, you can load long/high items such as coffee cups, ladles, etc. on the tray. When the side trays lean on two side walls, the handle can be pulled to allow the central tray to rise and the system to be locked.

Read "Safety Instructions" section first!
Read "Quick Quide" before this section.
On / Off key
It is used to turn on or off the machine.
Press On / Off Key to switch ON. A signal is heard and the machine door is turned on. Press the On / Off key for 1 second to turn off. A signal will be heard and machine will turn off at the end of 1 second. To turn off while the programme is running, keep Off key pressed for 3 seconds. A countdown in the form of "3", "2", "1" will appear on the display. Machine will turn off with the end melody at the end of 3 seconds.
Machine will turn on with economy programme in On mode and the number of the economy programme will appear on the programme indicator. In Off position, indicators on the display will turn off.
Start / Pause / Cancel key
It is used to start, pause or cancel a selected programme or function.
Programme Selection keys
They are used to select the washing programme you determined from the table of "Programme data and average consumption values".
Delayed Start key
It should be pressed to make the time delay settings.
Washing programmes of your dishwasher are designed to obtain the best cleaning effect, considering the type of the soil, soiling degree and properties of the dishes to be washed.
Auxiliary functions are provided in order to enable you to save time, water and energy and to perform a more comfortable washing with conditions specific to you.
Auxiliary functions may cause changes in the programme duration.
Auxiliary functions are not suitable for all washing programmes. Indicator of the auxiliary function that is not compatible with the programme will not be active.
To add auxiliary function to the programme:
(Depends on model)
It is used to operate the machine without loading it completely.
While the function is enabled, the Half Load indicator will come on in the function selection indicator and on the display.
With the Half Load function you can save both water and power while using the lower and upper baskets of the machine.
(Depends on model)
It shortens the time of the washing cycle selected and decreases water consumption by enabling washing under higher pressure.
(Depends on model)
It provides superior drying performance.
(depends on model)
AquaIntense impeller located under the lower impeller helps washing your heavily soiled dishes placed in the right side of the lower basket. It will give better results to place the most soiled dish to the right front side.

Do not try to remove the AquaIntense impeller!
(Depends on model)
Auto Tablet is a feature which detects the use of combined tablet detergents automatically.
Drying performance of these type of detergents is improved by adjusting temperature and duration accordingly. Owing to this feature, there is no need to press any button in case of a tablet detergent use.
Feature can be activated if automatic detection is desired.
To activate / to deactivate:
(depends on the model)
Select Intensive 70°C programme and press function key to run this function.
(depends on the model)
IonGuard function is enabled at regular intervals and prevents the formation of bad odours due to putrefaction. If this function is selected, it will be activated while the product is turned off and the IonGuard indicator on the panel will flash. A ventilation noise can be heard, this is normal. Until the function selection is disabled, system is automatically activated intermittently.
(depends on the model)
With this function, your micro filter will be cleaned by a special system at the end of washing cycle and it is made ready for use for the next usage of the machine. This cleaning process increases the cleaning period of the micro filter from 2 weeks to 3 months and thus boosts the washing performance. Employing this function in every washing cycle is recommended in order to get the most out of it.
(depends on the model)
Designed to be used when more hygiene is required for washing the dishes. This function increases the washing and rinsing temperatures in the selected cycle and extends the periods of these steps in the cycle. Moreover, an additional rinsing cycle is performed to wash and rinse your dishes with more hygiene.
(depends on model)
Allows to obtain a better drying performance from the multi-purpose detergents called as all in one detergents such as 2in1, 3in1, 4in1, 5in1 and etc., depending on the hardness level of the tap water.
If you have used the Tablet features during the last washing programme you used, Tablet function will remain active in the next washing programme you will select.
Tablet Detergent function may cause change in the programme duration.
(Depends on model)
Depending on the type of the detergent used, if a detergent dissolving issue is encountered it will remove the resulting stains from the dishes and enables the optimum rinsing performance.
Warning to show that machine is in washing phase
(depends on the model)
Your machine reflects a light to the floor during the washing process. This light turns off after the washing process is complete.
Floor illumination is activated automatically when the washing programme starts and remains lit until the end of the programme.
Floor illumination cannot be cancelled by the user.
(depends on the model)
Some models have interior lighting to illuminate the interior when the door is opened.
(Depends on the Model)
Thanks to the "SelfDry" feature on your machine, the drying effectiveness of your machine is improved and power is saved. There are two options, namely "OFF" and "ON".
You may use sub-menu settings to change "SelfDry" settings.
When you activate this function, the door of your machine is opened automatically at the end of the washing cycle.
Auto door opening feature opens the doors at the end of the washing cycle thanks to the "door opening shafts". This process takes about 2 minutes. Do not force to close the door if the power is interrupted while the shafts are moving out. Operation shall be completed and shafts shall be retracted when the power is restored.
SelfDry function may cause changes to the cycle time.
Changing SelfDry Settings
Your machine is equipped with an audio signal to inform warnings audibly.
Time Delay
If an economical electricity tariff is applied in your region, you can use the Time Delay function to wash your dishes during appropriate hours.
You can delay the start of the selected programme until 24 hours. Time Delay cannot be set after the programme starts.
Changing the settings while Time Delay function is enabled
While the Time Delay function is activated, you cannot make changes in the washing programme, auxiliary functions or the duration of delay time.
Programme and auxiliary functions cannot be set/changed after the programme has started.
To cancel the Time Delay function
You can select and start a new programme following the cancellation of Time Delay function.
Time Delay function can not be set after the programme starts.
To start your machine after selecting the programme and auxiliary functions, press Start / Pause / Cancel key.
Once the programme starts a tune is played and the estimated time remained to the end of the programme will appear on the Display Information Line. Start / Pause / Cancel indicator starts lighting continuously.
Your machine performs water softening depending on the hardness level of the supply water. Remaining time displayed towards the end in some programmes can be different from the time indicated at the beginning due to this process. The total time can also change while the programme is running depending on the ambient temperature where your machine is installed, temperature of the supply water and amount of the dishes.
Pay attention not to open the door of the machine when it is running. Stop the machine by pressing Start / Pause / Cancel key if you have to open the door. Then, open the door of the machine. There may be a rush of steam when you open the door of your machine; be careful. Close the door of your machine and press Start/Pause/ Cancel key again. Programme will resume running.
The machine will remain silent in pause mode for some time in order to remove the water in the machine and on the dishes completely and to have the water softener cleaned, and then it will resume running in drying mode.
You may prevent other people from interrupting and changing the programme cycle and time delay while the machine is running.
To activate the Child Lock:
Child Lock prevents the selected programme or functions from being changed and disables the Start / Pause / Cancel key.
Child Lock does not lock the door of the machine.
If you turn your machine off by using On/Off key at the end of the programme, the Child Lock will be deactivated automatically.
For energy saving, the product is automatically turned off following the completion of the programme or if the programme is not started.
To deactivate the Child Lock:
There might be residues of detergent or rinse aid left in the machine and / or on the pieces being washed depending on the step the programme you have cancelled was in.
Please check the salt indicator (
) on the display to see whether there is adequate amount of softening salt in the dishwasher or not. You need to refill the salt reservoir with salt whenever salt warning indicator appears on the display of your machine.
Adjusting the water hardness level is explained in Water Softening System section.
Please check the rinse aid indicator (
) on the display to see whether there is adequate amount of rinse aid in the dishwasher or not. You need to refill the rinse aid reservoir with rinse aid whenever rinse aid warning indicator appears on the display of your machine.
Adjusting the amount of rinse aid
No rinse aid dispensed in P:0 wash position.
1 dose of rinse aid is dispensed in P:1 position.
2 doses of rinse aid are dispensed in P:2 position.
3 doses of rinse aid are dispensed in P:3 position.
4 doses of rinse aid are dispensed in P:4 position.
End of Programme indicator will light up once the washing programme is over.
For energy saving, the product is automatically turned off following the completion of the programme or if the programme is not started.
Leave your dishes in the machine for about 15 minutes to cool down after they are washed. Your dishes will dry in a shorter time if you leave the door of your machine ajar during this period. This process will increase the drying effectiveness of your machine.
If mains water is cut or water inlet tap is turned off the machine cannot take water in and E:02 icon will flash on the programme indicator. As long as the problem continues, washing programme is paused and the water inlet is checked regularly by the machine; when the water is restored E:02 icon will disappear after a while and the washing programme resumes.
If the machine intakes too much water or there is leakage at any of the components then the machine will detect this and E:01 icon will flash on the Programme indicator. As long as the overflowing continues safety algorithm will be active and try to discharge the water. If overflowing stops and safety is assured, E:01 icon will disappear. If E:01 does not disappear, there is a permanent fault. In this case the authorised service should be contacted.
(depends on model)
This programme is recommended to be operated on each 1-2 months for machine cleaning and necessary hygiene. The programme should be operated while the machine is empty.
In order to achieve an efficient result, it is recommended to use together with special machine cleaning agents.
Do not use this programme to clean dishes. As it operates in high temperatures, it is harmful for the dishes.
Read "Safety Instructions" section first!
Unplug the product and turn off the tap before attempting any cleaning procedures.
Do not use abrasive substances for cleaning.
Clean the filter and impellers at least once a week in order for the machine to operate efficiently.
Service life of the product extends and frequently faced problems decrease if it is cleaned at regular intervals.
NOTICE
Clean the outer surface and door gaskets of the product gently with a mild cleaning material and damp cloth. Wipe the "control panel" only with a damp cloth.
Clean the filters at least once a week in order for the machine operates efficiently. Check if food residues are left on the filters. If there are food residues on filters, take them out and clean well under running water.
Do not use the dishwasher without filter.
Incorrect placement of the filters will reduce washing efficiency.
(depends on model)
Filter cleanliness is increased by 80% with the micro filter cleaning system available on your machine.
If your machine has auto filter cleaning feature do not remove the micro filter cleaning mechanism (4) for cleaning.

Damages on the machine that may be caused by impurities coming from the urban supply water or your own water installation (such as sand, dirt, rust, etc.) can be prevented by means of the filter attached to the water inlet hose. Check the filter and the hose regularly and clean them if necessary.
Clean the impellers at least once a week in order for the machine operates efficiently.
Check if the holes on the lower impeller (1) are clogged. If they are clogged, remove and clean the impeller. You can pull the lower impeller up to remove it.
(depends on model)

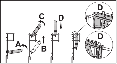
Check if the holes on the lower impeller assembly are clogged. If they are clogged, remove and clean the impeller assembly. (depends on model)

To remove and clean the lower impeller assembly together, hold by one hand from the (C) points shown in the figure and pull up to remove. After cleaning, follow these steps in reverse order to reinstall the impeller assembly.
Do not try to rotate the impeller by holding its ends. Trying to rotate the end sections may cause the gear system within the impeller to break.


Check if the holes on the upper impeller (1) are clogged. If they are clogged, remove and clean the impeller. Turn its nut to left to remove the upper impeller.
Make sure that the nut is tightened well when installing the upper impeller.
Machine does not start.
Dishes are not washed clean
Dishes are not dry at the end of cycle
It is normal that drying complaints can be experienced with Teflon kitchen utensils. It is associated with the structure of Teflon. Since the surface tensions of Teflon and water are different, water droplets will remain as beads on the Teflon surface.
Tea, coffee or lipstick stains remain on dishes.
Lime traces remain on dishes and glassware gains a misty appearance
There is a different odour in the machine
A new machine has a peculiar odour. It will fade out after a couple of washes.
Rust, discoloration or surface deterioration occurs on dishes
Detergent remains in detergent dispenser.
Decorations and ornaments on kitchen utensils are being erased.
Decorated glasses and decorated lustre porcelains are not suitable for washing in the dishwasher. Manufacturers of some glassware and porcelain tableware items do not recommend washing such kitchen utensils in the dishwashers either.
Dishes are scratched.
Kitchen utensils that contains or are made of aluminium should not be washed in dishwasher.
A smear remains on glasses that resembles milk stain which can not be removed when wiped by hand. A bluish / rainbow appearance occurs when the glass is pointed to light.
Foam forms in the machine.
Kitchen utensils are broken.
Water remains in the dishwasher at the end of the programme.
If you cannot eliminate the problem although you follow the instructions in this section, consult your dealer or the Authorised Service Agent. Never try to repair a nonfunctional product yourself.

Here you can download full pdf version of manual, it may contain additional safety instructions, warranty information, FCC rules, etc.
Download Beko DEN36X30W; DEN36X30X - Freestanding 60cm HygieneShield Dishwasher Manual
Advertisement




Need help?
Do you have a question about the DEN36X30W and is the answer not in the manual?
Questions and answers