Honeywell RTH7400, RTH7500 Series - Programmable Thermostat Manual

Honeywell RTH7400, RTH7500 Series - Programmable Thermostat Manual

Also See for RTH7400:

Advertisement

Honeywell RTH7400, RTH7500 Series - Programmable Thermostat Manual

Included in your box

Overview of the device

Tools you will need

Tools you may need

Removing your old thermostat

warning
Read and save these instructions

  1. Turn power OFF.
    warning
    To protect yourself and your equipment, Turn off the power at the breaker box or switch that controls your heating/cooling system.
  2. Check that your system is off.
    Change the temperature on your old thermostat. If you don't hear the system turn on within 5 minutes, the power is off.

    Note: If you have a digital thermostat that has a blank display, skip this step.
  3. Remove the old thermostat's faceplate.
    On most thermostats, you can take off the faceplate by grasping and gently pulling. Some thermostats may have screws, buttons, or clasps.

    warning
    Do not remove any wires from your thermostat at this time!
  4. Make sure there are no 120 V/240 V wires.
    warning
    Do you have thick black wires with wire nuts?
    Removing your old thermostat - Step 2
    Is your thermostat 120 V or higher?
    If you answered yes to either of these questions, you have a line voltage system and the thermostat will not work.

    If you are unsure visit: resideo.com
  5. Take a picture of how your wiring looks right now.
    Be sure to include the letters next to the terminals where the wires are inserted. This will be a helpful reference when wiring your thermostat.
    Removing your old thermostat - Step 3
    Tip: If the color of your wires has faded or if 2 terminals have the same wire color, use the wire labels provided in the package to label each wire.
  6. Remove any jumpers.
    A jumper connects one terminal to another terminal. It may look like a small staple or even a colored wire and must be removed before continuing. Use a screwdriver to release wires from terminals.

    The RTH7400/RTH7500 thermostat does not need jumpers.
  7. Record if you have wires in the following terminals.
    Do not include jumpers as a part of your count. The thermostat does not need jumpers.
  8. Write down the color of the wires.
    Check mark the wires that are connected to terminals. Next to the check mark, write down the color of the wire.
    Do not include jumpers as a part of your count.
    Check all that apply (Not all will apply):

    The RTH7400/RTH7500 thermostat does not support L/A, S, or U terminals.
    If there are wires in terminals that are not listed, you will need additional wiring support. Visit resideo.com to find out if the thermostat will work for you.
  9. Disconnect the wires and remove the old wall plate.
    Use a screwdriver to release wires from terminals. Then, use a wire label to identify each wire as it's disconnected. The letter on the wire label should match the letter on the terminal.
    Removing your old thermostat - Step 4
    Tip: To prevent wires from falling back into the wall, wrap the wires around a pencil.

Installing your RTH7400/RTH7500 thermostat

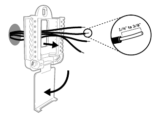
  1. Bundle and insert wires through the UWP.
    Pull open the UWP and insert the bundle of wires through the back of the UWP.
    Make sure at least 1/4-inch (6.3 mm) of each wire is exposed for easy insertion into the wire terminals.
    Installing new thermostat - Step 1
  2. Insert the wall anchors.
    It is recommended that you use the wall anchors included in the box to mount your thermostat.
    You can use the UWP to mark where you want to place the wall anchors.
    1. Level the wall plate.
    2. Mark the location of the wall anchors using a pencil.
    3. Drill anchor holes. If your box contains red anchors, drill 7/32" (5.6 mm) holes. If your box contains yellow anchors, drill 3/16" (4.8 mm) holes.
    4. Insert wall anchors.
    5. Make sure anchors are flush with wall.
  3. Set R-switch position and insert R-wire or wires.
    Set the R-switch up or down based on your wiring notes in Step 7.
    warning
    Insert wires into the inner holes of the terminals on the UWP. The tabs will stay down once the wire is inserted.
  • If you have 1 R-wire (R,Rh, or Rc)

  1. Set R-switch to the up position.

  2. Insert your R-wire (R, Rh or Rc) into R-terminal.

  • If you have 2 R-wires (R or Rh, and Rc)

    1. Set R-switch to the down position.
    2. Insert your Rc wire into Rc-terminal.
      Installing thermostat if have 2 R-wires
    3. Insert your R or Rh wire into R-Terminal.
  1. Connect wires from Step 8.
    Depress the tabs to put the wires into the inner holes of their corresponding terminals on the UWP (one wire per terminal) until it is firmly in place.
    This wiring is just an example, yours may vary.

    Gently tug on the wires to verify they are secure.
    Tip: If you need to release the wires again, push down the terminal tabs on the sides of the UWP.
  2. Mount the UWP and close the door.
    Mount the UWP using the provided screws. Install all three screws for a secure fit on your wall. Close the door after you're finished.
  3. Confirm wiring matches snapshot.
    Please confirm wiring matches terminals from the photo you took in Step 5.
  4. Install batteries.
    Insert two AA alkaline batteries in the back of the thermostat as shown.
    Install batteries
  5. Attach your thermostat.
    Align the thermostat onto the UWP and firmly snap it into place.
    Installing new thermostat - Step 2
  6. Turn your power ON.
    Turn on the power at the breaker box or switch that controls the heating/ cooling system.
    Installing new thermostat - Step 3

Set date and time

  1. Set the date.
    Press + or - to adjust the year. Press Select.
    Press + or - to adjust the month. Press Select.
    Press + or - to adjust the day. Press Select.
  2. Choose a clock format.
    Press + or - set the clock format: 12 hour (standard for North America) or 24 hour. Press Select.
  3. Set the time.
    Press + or - to adjust the hour. Press Select.
    Press + or - to adjust the minutes. Press Select.

System Setup

NOTE: If this is not a new installation, see the chapter "Advanced menu" for entering setup menu.

  1. Select System Setup options.
    Press + or - to change values or select from available options. Then press Select to save changes and advance to the next System Setup number.
    See "System Setup options" below for a full list of System Setup numbers and options.
    Repeat until all of the System Setup options have been set. The thermostat will automatically save and exit to the Home screen.
  2. Continue to "System operation settings".

System Setup options

Number Description Options (factory default in bold)
120 Scheduling Options

0 = Non-Programmable
1 = 1-Week Programmable
2 = 5-2 Programmable (RTH7560 only)
3
= 5-1-1 Programmable (RTH7460 only)
4 = 7-Day Programmable (RTH7560 only)

Note: You can change default MO-FR, SA-SU schedule here. To edit periods during days, temperature setpoints, or to turn Schedule On/Off, touch MENU and go to SCHEDULE.

125 Temperature Indication Scale 0 = Fahrenheit
1 = Celsius
200 Heating System Type

1 = Conventional Forced Air Heat
2 = Heat Pump
3= Radiant Heat (Boiler)
5 = None (Cool Only)

Note: This option selects the basic system type your thermostat will control.

205 Heating Equipment Type

Conventional Forced Air Heat:
1 = Standard Efficiency Gas Forced Air
2 = High Efficiency Gas Forced Air
3 = Oil Forced Air
4 = Electric Forced Air5 = Hot Water Fan Coil

Heat Pump:
7 = Air to Air Heat Pump

Radiant Heat:
9 = Hot Water Radiant Heat
12 = Steam

Note: This option selects the equipment type your thermostat will control. Note: This feature is NOT displayed if feature 200 is set to Cool Only.

218 Reversing Valve O/B

0 = O (O/B in Cool)
1 = B (O/B in Heat)

Note: This option is only displayed if the Heat Pump configured. Select whether reversing valve O/B should energize in cool or in heat.

220 Cool Stages / Compressor Stages 200=Conv / 200=HP

0, 1, 2

Note: Select how many Cool or Compressor stages of your equipment the thermostat will control. Maximum of 2 Cool/Compressor Stages. Set value to 0 if you do not have Cool Stage/Compressor Stage.

221 Heat Stages / Backup Heat Stages Heat Stages

Heat Stages: 1, 2
Backup Heat Stages: 0, 1

Note: Select how many Heat or Aux/E stages of your equipment the thermostat will control. Maximum of 2 Heat Stages for conventional systems. Maximum of 1 Aux/E stage for systems with more than 1 heating equipment type. Set value to 0 if you do not have Heat Stage/ Backup Heat Stage.

300 System Changeover

0 = Manual
1 = Automatic

Note: Thermostat can automatically control both heating and cooling to maintain the desired indoor temperature. To be able to select "automatic" system mode on thermostat home screen, turn this feature ON. Turn OFF if you want to control heating or cooling manually.

425 Smart Response

0 = No
1 = Yes

Note: Smart Response is a comfort setting. Heat or Cooling equipment will turn on earlier, ensuring the indoor temperature will match the setpoint at the scheduled time.

430 Minimum Cool Temperature Setpoint (RTH7500 Only)

50°F to 99°F (50°F)
10.0°C to 37.0°C (10.0°C)

Note: The cool temperature cannot be set below this level.

431 Maximum Heat Temperature Setpoint (RTH7500 Only)

40°F to 90°F (90°F)
4.5°C to 32.0°C (32.0°C)

Note: The heat temperature cannot be set above this level.

711 Air Filter 1 Replacement Reminder

0 = Off
1= 10 Run Time Days
2 = 20 Run Time Days
3 = 30 Run Time Days
4 = 45 Run Time Days
5 = 60 Run Time Days
6 = 90 Run Time Days
7 = 120 Run Time Days
8 = 150 Run Time Days
9 = 30 Calendar Days
10 = 45 Calendar Days
11 = 60 Calendar Days
12 = 75 Calendar Days
13 = 3 Calendar Months
14 = 4 Calendar Months
15 = 5 Calendar Months
16 = 6 Calendar Months
17 = 9 Calendar Months
18 = 12 Calendar Months
19 = 15 Calendar Months

Note: Set a reminder for when to change your air filter. Choose either calendar or equipment run time-based reminder.

1415 Daylight saving time

0 = Off
1 = On

Note: Set to Off in areas that do not follow Daylight Saving Time.

NOTE: Once you have cycled through all of the System Setup numbers, Done is displayed. Press Select to save and exit.

System operation settings

  1. Press the Mode button to cycle to the next available System mode.
  2. Cycle through the modes until the required System mode is displayed and leave it to activate.

NOTE: Available System modes vary by model and system settings.

System modes:

  • Auto: Thermostat selects heating or cooling as needed.
  • Heat: Thermostat controls only the heating system.
  • Cool: Thermostat controls only the cooling system.
  • Em Heat (only for heat pumps with auxiliary heat): Thermostat controls Auxiliary Heat. Compressor is not used.
  • Off: Heating and cooling system is off. Fan will still operate if fan is set to On or Circulate.

NOTE: Heat/Cool flash for 5 minutes due to compressor protection.

Fan operation settings

  1. Press the Fan button to cycle to the next available Fan mode.
  2. Cycle through the modes until the required Fan mode is displayed and leave it to activate.

NOTE: Available Fan modes vary with system settings.

Fan modes:

  • Auto: Fan runs only when the heating or cooling system is on.
  • On: Fan is always on.
  • Circ (RTH7500 Only): Fan circulates randomly about 33% of the time.

Program Schedule

You can program four time periods each day, with different settings for weekdays and weekends. We recommend the pre-set settings (shown in the table below), since they can reduce your heating/cooling expenses.

This picture is only an example.

  • Wake - Set to the time you wake up and the temperature you want during the morning, until you leave for the day.
  • Away - Set to the time you leave home and the temperature you want while you are away (usually an energy-saving level).
  • Home - Set to the time you return home and the temperature you want during the evening, until bedtime.
  • Sleep - Set to the time you go to bed and the temperature you want overnight (usually an energysaving level).

NOTE: To temporarily or permanently override any of the above program schedules, see the chapter "Program schedule override"

To adjust program schedules

  1. Press Menu on your thermostat.
  2. PROG is displayed. Press Select. Then ON is displayed. Press Select.
  3. Press + or - to select day or set of days to edit. Press Select.
  4. Press + or - to select a schedule period to edit (Wake, Away, Home, and Sleep). Press Select.
  5. ON is displayed. Press Select to keep the schedule period on. Or press + and then Select to turn off the schedule period.
  6. Time starts blinking. Press + or - to adjust the schedule period start time. Press Select.
  7. Temperature starts blinking. Press + or - to adjust the "Heat" setpoint temperature. Press Select. Press + or - to adjust the "Cool" temperature setpoint. Press Select.
  8. Repeat steps 4 through 7 for the remaining schedule periods.
  9. Press Home when you're finished to save program settings and return to the home screen.

Program schedule override (temporary)

  1. Press + or - to adjust the temperature.
  2. Once at the desired setpoint temperature, no further action is needed. The new setpoint temperature will be held until the next scheduled time period begins. For more information on schedule time periods, see "Program Schedule".
  3. To cancel the Temporary Hold, Press + or - and then press Cancel.

Program schedule override (permanent)

  1. Press + or - to adjust the temperature.
  2. TEMPORARY HOLD is displayed and the setpoint temperature flashes. While it's flashing, press Hold (Mode) button to change to Permanent Hold.
  3. To cancel the Permanent Hold, press + or - and then press Cancel.

Wiring—conventional systems

Alternate wiring (conventional systems)
If labels do not match terminals, connect wires as shown below (see notes, below).

NOTES:

  1. If you must connect both R and Rc wires, set the R Slider Tab to the down position (2 wires).
  2. If your old thermostat had both R and RH wires, set the R Slider Tab to the down position (2 wires). Then connect the R wire to the Rc terminal, and the RH wire to the R terminal.
  3. If your old thermostat had only 1 C or C1 wire, connect it to the C terminal. If your old thermostat had 2 C or C1 wires, wrap each separately with electrical tape and do not connect them.
    Wiring—conventional systems

Wiring—heat pump

Connect wires: heat pump

  1. Match each labeled wire with same letter on new thermostat.
  2. Insert the wires into the matching terminal.
    Connect wires: heat pump
    NOTE: If you have difficulty inserting wires, you may have to press down the terminal push button next to the corresponding terminal. Labels don't match?
    If labels do not match letters on thermostat, see the chapter "Alternate wiring (for heat pumps only)".

Alternate wiring (for heat pumps only)

NOTES:

  1. Keep R Slider Tab in the up position (1 wire).
  2. If your old thermostat had both V and VR wires, stop now and contact a qualified contractor for help.
  3. If your old thermostat had separate O and B wires, attach the B wire to the C terminal. If another wire is attached to the C terminal, stop now and contact a qualified contractor for help.
  4. If your old thermostat had Y1, W1 and W2 wires, stop now and contact a qualified contractor for help.
  5. C does not power the thermostat display or operations; batteries are always required.
  6. This model doesn't support the heat pump fault alert (L/A terminal). If this is desired, please contact a contractor for replacement model.
    Alternate wiring

NOTE: Do NOT use W for heat pump applications. Auxiliary heat must wire to AUX or E.

Advanced menu

  1. Press and hold Menu and + buttons for approximately 5 seconds to enter advanced menu.
  2. Press Select to enter System Setup (ISU) menu.
  3. Press Select to cycle through System Setup numbers.
    NOTE: See "System Setup options" for a full list of System Setup numbers and options.
  4. Press + or - to change values or select from available options.
  5. Press Select to save changes and advance to the next System Setup number.
  6. Once you have cycled through all of the System Setup numbers, "Done" is displayed. Press Select to save and exit.
    To save and exit early, press Home to return to the Home screen.

Smart Response® Technology

This feature allows the thermostat to "learn" how long the furnace and air conditioner take to reach programmed temperature settings, so the temperature is reached at the time you set. For example: Set the Wake time to 6 am, and the temperature to 70°. The heat will come on before 6 am, so the temperature is 70° by the time you wake at 6. The message "Recovery" is displayed when the system is activated before a scheduled time period.

Battery replacement

Batteries are required to provide power. Install fresh batteries immediately when the low battery icon appears. The icon appears about two months before the batteries are depleted.


Even if the low battery icon does not appear, you should replace batteries once a year, or before leaving home for more than a month.

If batteries are inserted within two minutes, the time and day will not have to be reset. All other settings are permanently stored in memory, and do not require battery power.

NOTE: When replacing batteries, alkaline batteries are recommended.

Setting the time

  1. Press Menu to enter the device menu. You will see PROG. Press + or - to choose TIME.
  2. Press Select.
  3. 12HR is displayed. Press + or - to choose a 12 hour clock or a 24 hour clock. Press Select.
  4. Set the time. Press + or - to adjust the hour. Press Select.
  5. Press + or - to adjust the minutes. Press Select.
  6. Press Select to save and exit.

Set the date

  1. Press Menu to enter the device menu. You will see PROG. Press + or - to chose DATE.
  2. Press Select.
  3. You will see the year blinking. Press + or - to adjust the year. Press Select.
  4. Press + or - to adjust the month. Press Select.
  5. Press + or - to adjust the day. Press Select to save and exit.

Setting degrees Fahrenheit (F) or Celsius (C)

  1. Press Menu to enter the device menu. You will see PROG. Press + or - to choose F/C.
  2. Press Select.
  3. You will see F or C displayed.
  4. Press + or - to adjust to the desired setting. F for Fahrenheit and C for Celsius. Press Select to save and exit.

Alert screen

  1. You will see the alert icon warning on the home screen. You can access alerts in the Menu to view the error/alert code. Once viewed the home screen will maintain the alert symbol until it is cleared.
  2. Snoozed alerts will appear 7 days after dismissing them in the alerts menu screen.
  3. When the alert icon appears, check the error code with the table below to determine the problem.
  4. Snooze the alert.
  5. Dismiss the alert.

Alerts codes

Number Alert/Reminder Definition
170 Internal Memory Error The memory of the thermostat has encountered an error. Please replace the thermostat.
173 Thermostat
Temperature Sensor Error
The sensor of the thermostat has encountered an error. Please replace the thermostat.
181 Replace Air Filter (1) Replace air filter (1). Reset the timer by touching the "dismiss" button on thermostat screen after it is replaced.
405 Low Battery Alert The batteries are getting low. Replace them within two months.
407 Critical Low Battery The batteries are almost depleted and should be replaced as soon as possible.

Troubleshooting

If you have difficulty with your thermostat, please try the following suggestions. Most problems can be corrected quickly and easily.

Display is blank Make sure fresh AA alkaline batteries are properly installed.
Cannot change system setting to Cool Check System Setup Option 220 to make sure the options are set to either 1 or 2.
Fan does not turn on when heat is required Check System Setup Option 205 to make sure it is set to match your heating equipment.
Heating system is running in cool mode Check System Setup Option 200 or 218 to make sure it is set to match your heating and cooling equipment
Heating or cooling system does not respond
  • Press System to set system to Heat. Make sure the temperature is set higher than the Inside temperature.
  • Press System to set system to Cool. Make sure the temperature is set lower than the Inside temperature.
  • Check circuit breaker and reset if necessary.
  • Make sure power switch at heating & cooling system is on.
  • Make sure furnace door is closed securely.
  • Wait 5 minutes for the system to respond.
Heat On / Cool On flashing on the screen Compressor protection feature is engaged. Wait 5 minutes for the system to restart safely, without damage to the compressor.
Heat pump issues cool air in heat mode, or warm air in cool mode Check System Setup Option 200 or 218 to make sure it is set to match your heating and cooling equipment

Models:
RTH7560E1001, RTH7560E1019, RTH7460D1000, RTH7460D1018

Electrical Ratings:

Terminal Voltage
(50Hz/60Hz)
Running Current
W
Heating
20 Vac-30 Vac 0.02 A-1.0 A
W2
(Aux) Heating
20 Vac-30 Vac 0.02 A-1.0 A
E
Emergency Heat
20 Vac-30 Vac 0.02 A-0.5 A
Y
Compressor Stage 1
20 Vac-30 Vac 0.02 A-1.0 A
Y2
Compressor Stage 2
20 Vac-30 Vac 0.02 A-1.0 A
G
Fan
20 Vac-30 Vac 0.02 A-0.5 A
O/B
Changeover
20 Vac-30 Vac 0.02 A-0.5 A
L/A
Input
Unused Unused

Input: 2 x AA Batteries (1.5 V each)

  • ELECTRICAL HAZARD
    Can cause electrical shock or equipment damage. Disconnect power before beginning installation.
    Pull to remove the thermostat from the UWP.
  • MERCURY NOTICE
    If this product is replacing a control that contains mercury in a sealed tube, do not place the old control in the trash. Contact your local waste management authority for instructions regarding recycling and proper disposal.

Customer assistance

For assistance with this product, please visit resideo.com.
Or call Resideo Customer Care toll-free at 1-800-468-1502.
Resideo Inc., 1985 Douglas Drive North
Golden Valley, MN 55422
© 2020 Resideo Technologies, Inc. All rights reserved.
The Honeywell Home trademark is used under license from Honeywell International, Inc.
This product is manufactured by Resideo Technologies, Inc. and its affiliates.

Documents / Resources

References

Download manual

Here you can download full pdf version of manual, it may contain additional safety instructions, warranty information, FCC rules, etc.

Download Honeywell RTH7400, RTH7500 Series - Programmable Thermostat Manual

Available languages

Advertisement

Need help?

Need help?

Do you have a question about the RTH7400 and is the answer not in the manual?

Questions and answers