Advertisement
Preparing the card remote commander
Before using the card remote commander for the first time, remove the insulation film.

Tip
For how to replace the battery, see "Replacing the lithium battery of the card remote commander."
The clock uses a 12-hour digital indication.
To display the clock, press
. Press
again to return to the previous display.
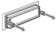
You can detach the front panel of this unit to prevent theft.
If you turn the ignition switch to the OFF position without detaching the front panel, the caution alarm will sound for a few seconds. The alarm will only sound if the built-in amplifier is used.
Notes
Engage part
of the front panel with part
of the unit, as illustrated, and push the left side into position until it clicks.

Note
Do not put anything on the inner surface of the front panel.

This section contains instructions on the location of controls and basic operations.

The following buttons on the card remote commander have also different buttons/ functions from the unit. Remove the insulation film before use.
Note
If the unit is turned off and the display disappears, it cannot be operated with the card remote commander unless
on the unit is pressed, or a disc is inserted to activate the unit first.

Track number/Elapsed playing time,
Disc/artist name, Album number*1,
Album name, Track name,
Text information*2, Clock
*1 Album number is displayed only when the album is changed.
*2 When playing an MP3, ID3 tag is displayed, and when playing a WMA, WMA tag is displayed.
To change display items, press
.
Tip
Displayed items will differ, depending on the disc type, recorded format and settings. For details on MP3/ WMA, see "About MP3 files" and "About WMA files."
| Select | To play |
TRACK | track repeatedly. |
ALBUM* | album repeatedly. |
| SHUF ALBUM* | album in random order. |
| SHUF DISC | disc in random order. |
* When an MP3/WMA is played.
To return to normal play mode, select "
OFF" or "SHUF OFF."
When tuning in stations while driving, use Best Tuning Memory (BTM) to prevent an accident.
Note
If you try to store another station on the same number button, the previous stored station will be replaced.
Tip
If you know the frequency of the station you want to listen to, press and hold
–/+ to locate the approximate frequency, then press
–/+ repeatedly to fine adjust to the desired frequency (manual tuning).
You can adjust the balance, fader, and subwoofer volume.
*1 When EQ3 is activated.
*2 When the audio output is set to "SUB." "ATT" is displayed at the lowest setting, and can be adjusted up to 21 steps.
*3 When AUX source is activated.
"CUSTOM" of EQ3 allows you to make your own equalizer settings.

Repeat steps 2 and 3 to adjust the equalizer curve.
To restore the factory-set equalizer curve, press and hold the select button before the setting is complete.
After 3 seconds, the setting is complete and the display returns to normal play/reception mode.
Tip
Other equalizer types are also adjustable.
Note
Displayed items will differ, depending on the source and setting.
The following items can be set:
"
" indicates the default settings.
| CLOCK-ADJ | (Clock Adjust) |
| BEEP | To set "BEEP-ON" ( ) or "BEEP-OFF." |
| AUX-A*1 (AUX Audio) | To turn the AUX source display "AUX-A-ON" ( ) or "AUX-A-OFF." |
| A.OFF (Auto Off) | To shut off automatically after a desired time when the unit is turned off: "A.OFF-NO" ( ),"A.OFF-30S (Seconds)," "A.OFF-30M (Minutes)" or "A.OFF-60M (Minutes)." |
| SUB/REAR*1 | To switch the audio output.
|
| DEMO (Demonstration) | To set "DEMO-ON" ( ) or "DEMO-OFF." |
| DIM (Dimmer) | To change the brightness of the display.
|
| M.DSPL (Motion Display) |
|
| A.SCRL (Auto Scroll) | To scroll long displayed item automatically when the album/track is changed.
|
| LOCAL (Local Seek Mode) |
|
| MONO*2 (Monaural Mode) | To improve poor FM reception, select monaural reception mode.
|
| LPF*3 (Low Pass Filter) | To select the subwoofer cut-off frequency: "LPF OFF" ( ), "LPF125Hz" or "LPF 78Hz." |
| LOUD (Loudness) | To allow you to listen clearly at low volume levels.
|
| BTM |
*1 When the unit is turned off.
*2 When FM is received.
*3 When the audio output is set to "SUB."
By connecting an optional portable audio device to the AUX input jack (stereo mini jack) on the unit and then simply selecting the source, you can listen on your car speakers. The volume level is adjustable for any difference between the unit and the portable audio device. Follow the procedure below:
Be sure to adjust the volume for each connected audio device before playback.

Note
If you play a high-bit-rate MP3, such as 320 kbps, sound may be intermittent.
* only for 64 kbps
Note
Playback of the following WMA files is not supported.
If you have any questions or problems concerning your unit that are not covered in this manual, consult your nearest Sony dealer.
Under normal conditions, the battery will last approximately 1 year. (The service life may be shorter, depending on the conditions of use.) When the battery becomes weak, the range of the card remote commander becomes shorter. Replace the battery with a new CR2025 lithium battery. Use of any other battery may present a risk of fire or explosion./

Notes on the lithium battery
Battery may explode if mistreated. Do not recharge, disassemble, or dispose of in fire.

When replacing the fuse, be sure to use one matching the amperage rating stated on the original fuse. If the fuse blows, check the power connection and replace the fuse. If the fuse blows again after replacement, there may be an internal malfunction. In such a case, onsult your nearest Sony dealer.
The unit may not function properly if the connectors between the unit and the front panel are not clean. In order to prevent this, detach the front panel and clean the connectors with a cotton swab. Do not apply too much force. Otherwise, the connectors may be damaged.

Main unit

Back of the front panel
Notes

CEA2006 Standard
Power Output: 16 Watts RMS × 4 at
4 Ohms < 1% THD+N
SN Ratio: 82 dBA (reference: 1 Watt into 4 Ohms)
Signal-to-noise ratio: 120 dB
Frequency response: 10 – 20,000 Hz
Wow and flutter: Below measurable limit
FM
Tuning range: 87.5 – 107.9 MHz
Antenna terminal: External antenna (aerial) connector
Intermediate frequency: 10.7 MHz/450 kHz
Usable sensitivity: 9 dBf
Selectivity: 75 dB at 400 kHz
Signal-to-noise ratio: 67 dB (stereo), 69 dB (mono)
Harmonic distortion at 1 kHz: 0.5% (stereo), 0.3% (mono)
Separation: 35 dB at 1 kHzЭ
Frequency response: 30 – 15,000 Hz
AM
Tuning range: 530 – 1,710 kHz
Antenna (aerial) terminal: External antenna (aerial) connector
Intermediate frequency: 10.7 MHz/450 kHz
Sensitivity: 30 µV
Outputs: Speaker outputs (sure seal connectors)
Speaker impedance: 4 – 8 ohms
Maximum power output: 45 W × 4 (at 4 ohms)
Outputs:
Audio outputs terminal (sub/rear switchable)
Power antenna relay control terminal
Power amplifier control terminal
Inputs:
Antenna (aerial) input terminal
AUX input jack (stereo mini jack)
Tone controls:
Low: ±10 dB at 60 Hz
Mid: ±10 dB at 1 kHz (XPLOD)
High: ±10 dB at 10 kHz
Power requirements: 12 V DC car battery (negative ground)
Dimensions: Approx. 178 × 50 × 179 mm (7 1/8 × 2 × 7 1/8 in) (w/h/d)
Mounting dimensions: Approx. 182 × 53 × 162 mm (7 1/4 × 2 1/8 × 6 1/2 in) (w/h/d)
Mass: Approx. 1.2 kg (2 lb 11 oz)
Supplied accessories:
Card remote commander: RM-X151
Parts for installation and connections (1 set)
Connecting cord
MPEG Layer-3 audio coding technology and patents licensed from Fraunhofer IIS and Thomson.
Design and specifications are subject to change without notice.

The following checklist will help you remedy problems you may encounter with your unit. Before going through the checklist below, check the connection and operating procedures.
No power is being supplied to the unit.
The power antenna (aerial) does not extend.
The power antenna (aerial) does not have a relay box.
No sound.
No beep sound.
The contents of the memory have been erased.
Stored stations and correct time are erased.
The fuse has blown.
Makes noise when the position of the ignition key is switched.
The leads are not matched correctly with the car's accessory power connector.
During playback or reception, demonstration mode starts.
If no operation is performed for 5 minutes with "DEMO-ON" set, demonstration mode starts.
➜ Set "DEMO-OFF."
The display disappears from/does not appear in the display window.
The Auto Off function does not operate.
The unit is turned on. The Auto Off function activates after turning off the unit.
➜ Turn off the unit.
Card remote commander operation is not possible.
Make sure the insulation film has been removed.
The disc cannot be loaded.
The disc does not playback.
MP3/WMA files cannot be played back.
The disc is incompatible with the MP3/WMA format and version.
MP3/WMA files take longer to play back than others.
The following discs take a longer time to start playback.
The display items do not scroll.
The sound skips.
The disc will not eject.
Press
(eject).
The stations cannot be received.
The sound is hampered by noises.
Preset tuning is not possible.
Automatic tuning is not possible.
During FM reception, the "ST" indication flashes.
An FM program broadcast in stereo is heard in monaural.
The unit is in monaural reception mode.
➜ Set "MONO-OFF."
ERROR
FAILURE
The connection of speakers/amplifiers is incorrect.
➜ See the installation/connections manual of this model to check the connection.
L. SEEK +/–
The local seek mode is on during automatic tuning.
NO INFO
Text information is not written in the MP3/WMA file.
NO MUSIC
The disc does not contain a music file.
➜ Insert a music CD.
NO NAME
An album/track name is not written in the track.
OFFSET
There may be an internal malfunction.
➜ Check the connection. If the error indication remains on in the display, consult your nearest Sony dealer.
PUSH EJT
The disc cannot be ejected.
➜ Press
(eject).
READ
The unit is reading all track and album information on the disc.
➜ Wait until reading is complete and playback starts automatically. Depending on the disc structure, it may take more than a minute.
"
" or "
"
During reverse or fast-forward, you have reached the beginning or the end of the disc and you cannot go any further.
"
"
The character cannot be displayed with the unit.
If these solutions do not help improve the situation, consult your nearest Sony dealer. If you take the unit to be repaired because of CD playback trouble, bring the disc that was used at the time the problem began.
If you have any questions/problems regarding this product, try the following:

Here you can download full pdf version of manual, it may contain additional safety instructions, warranty information, FCC rules, etc.
Advertisement
+.
. The unit is turned off.
, then pull it off towards you.
(eject) button
(front panel release) button
: ALBUM –/+ (during MP3/ WMA playback)
: REP
: SHUF
: PAUSE
buttons
–/+ on the unit.
.
(+)/
(–) buttons
(ALBUM –/+) on the unit.
.
(REP) or
(SHUF) repeatedly until the desired setting appears.
repeatedly. You can select from FM1, FM2, FM3, AM1 or AM2.
until "BTM" flashes.
to
) until "MEMORY" appears.
to
).
–/+ to search for the station.
repeatedly to select "CUSTOM."




.
(SCRL).
Need help?
Do you have a question about the CDX-GT08 and is the answer not in the manual?
Questions and answers