Husqvarna T435 Manual
![]()
Introduction
Intended use
This product is for professional tree maintenance such as pruning and to disassemble trees in sections.
Note: National regulations can set limit to the operation of the product.
Product description
The Husqvarna T435 is a chainsaw model with a combustion engine.
Work is constantly in progress to increase your safety and efficiency during operation. Speak to your servicing dealer for more information.
Product overview
![Husqvarna - T435 - Product overview Product overview]()
- Chain brake and front hand guard
- Information and warning decal
- Top handle
- Carburetor adjustment screws
- Filter cover
- Fuel tank
- Spark plug/spark plug cap
- Starter housing
- Starter rope handle
- Front handle
- Chain oil tank
- Oil pump adjustment screw
- Air purge bulb
- Choke
- Throttle trigger lockout
- Throttle trigger
- Start/stop switch
- Guide bar
- Saw chain
- Bar tip sprocket
- Belt eyelet
- Rope eyelet
- Clutch cover
- Product and serial number plate
- Chain tensioning screw
- Chain catcher
- Spiked bumper
- Operator's manual
- Transportation guard
- Combination wrench
- Screwdriver
- Air filter
- Bar nut
- Vibration damping system, 3 units
- Brake band
Symbols on the product
![warning]() | Be careful and use the product correctly. This product can cause serious injury or death to the operator or others. |
![]() | Read the operator's manual carefully and make sure that you understand the instructions before you use this product. |
![]() | Always wear approved protective helmet, approved hearing protection and eye protection. |
![]() | This product complies with applicable EC Directives. |
![]() | This product conforms to the applicable UK regulations. |
![]() | Noise emissions to the environment label as per EU and UK directives and regulations, and New South Wales legislation "Protection of the Environment Operations (Noise Control) Regulation 2017". The guaranteed sound power level of the product is specified in Technical data. |
![]() | Chain brake, engaged (right). Chain brake, disengaged (left). |
![]() | Air purge bulb. |
![]() | Adjustment of the oil pump. |
![]() | Fuel. |
![]() | Chain oil. |
![]() | Both of the operator's hands must be used to operate the chainsaw. |
![]() | Never operate the chainsaw holding it with one hand only. |
![]() | Never let the guide bar tip come in contact with any object. |
![]() | ![]() Kickback may occur when the nose or tip of the guide bar touches an object, and cause a lightning fast reverse reaction, kicking the guide bar up and towards the operator. May cause serious personal injury. |
![]() | Use appropriate protections for foot-leg and hand-arm. |
![]() | This chainsaw should only be used by persons who are specially trained in tree maintenance work. See operator's manual! |
![]() | Work position. |
![]() | Choke. |
| yyyywwxxxx | The rating plate shows serial number. yyyy is the production year and ww is the production week. |
Note: Other symbols/decals on the product refer to certification requirements for some markets.
Euro V Emissions
![]()
Tampering with the engine voids the EU type-approval of this product.
Safety
Safety definitions
Warnings, cautions and notes are used to point out specially important parts of the manual.
![]()
Used if there is a risk of injury or death for the operator or bystanders if the instructions in the manual are not obeyed.
![]()
Used if there is a risk of damage to the product, other materials or the adjacent area if the instructions in the manual are not obeyed.
Note: Used to give more information that is necessary in a given situation.
General safety instructions
![]()
Read the warning instructions that follow before you use the product.
- A chainsaw is a dangerous tool if used carelessly or incorrectly and can cause serious injury or death. It is very important that you read and understand the contents of this operator's manual.
- Under no circumstances may the design of the product be modified without the permission of the manufacturer. Do not use a product that appears to have been modified by others and only use accessories recommended for this product. Nonauthorized modifications and/or accessories can result in serious personal injury or the death of the operator or others.
- A used muffler/spark arrester and spark arrester mounting face may contain deposits of combustion particles that may be carcinogenic. Avoid being exposed to these compounds when handling the muffler and/or spark arrester. Prior to any handling of the muffler and/or the spark arrester, refer to Muffler.
- Long term inhalation of the engine's exhaust fumes, chain oil mist and sawdust can represent a health risk.
- This product produces an electromagnetic field during operation. This field may under some circumstances interfere with active or passive medical implants. To reduce the risk of serious or fatal injury, we recommend persons with medical implants to consult their physician and the medical implant manufacturer before operating this product.
- The information in this operator's manual is never a substitute for professional skills and experience. If you get into a situation where you feel unsafe, stop and seek expert advice. Contact your servicing dealer or an experienced chainsaw user. Do not attempt any task that you feel unsure of!
Safety instructions for operation
![]()
Read the warning instructions that follow before you use the product.
- This top handle chainsaw is designed specifically for tree surgery and maintenance in the tree. Due to the special compact handle design (closely spaced handles), there is an increased risk of losing control. For this reason these special chainsaws should be used only for work in a tree by persons who are trained in special cutting and working techniques and who are properly secured (lift bucket, ropes, safety harness). Regular chainsaws (with wider spaced handles) are recommended for all other cutting work at ground level.
- Working in a tree requires the use of special cutting and working techniques which must be observed in order to reduce the increased risk of personal injury. Never work in a tree unless you have received specific, professional training for such work, including training in the use of safety and other climbing equipment, such as harnesses, ropes, belts, climbing irons, snap hooks, carabiners, etcetera.
- Never attempt to catch falling sections. Never cut in the tree when you are only secured with one rope. Always use two secured ropes.
- During critical felling operations, hearing protectors should be lifted immediately when the sawing is completed so that sounds and warning signals can be heard.
- Before using this product you must understand the effects of kickback and how to avoid them. Refer to Kickback information for instructions.
- Never use a product that is faulty. Carry out the safety checks, maintenance and service instructions described in this manual. Some maintenance and service measures must be carried out by trained and qualified specialists. Refer to Maintenance for instructions.
- Never use the product with visible damage to the spark plug cap and ignition cable. A risk of sparking arises, which can cause a fire.
- Never use the product if you are fatigued, while under the influence of alcohol or drugs, medication or anything that could affect your vision, alertness, coordination or judgement.
- Do not use the product in bad weather such as dense fog, heavy rain, strong wind, intense cold, etcetera. Working in bad weather is tiring and often brings added risks, such as icy ground, unpredictable felling direction, etcetera.
- Faulty cutting equipment or the wrong combination of guide bar and saw chain increases the risk of kickback! Only use the guide bar and saw chain combinations we recommend, and follow the filing instructions. Refer to Accessories for instructions.
- Never start a product unless the guide bar, saw chain and all covers are fitted correctly. Refer to Assembly for instructions. Without a guide bar and saw chain attached to the product the clutch can come loose and cause serious injury.
![Husqvarna - T435 - Safety instructions for operation - Step 1 Safety instructions for operation - Step 1]()
- Never start the product indoors. Exhaust fumes can be dangerous if inhaled.
- Observe your surroundings and make sure that there is no risk of people or animals coming in contact with or affect your control of the product.
![Husqvarna - T435 - Safety instructions for operation - Step 2 Safety instructions for operation - Step 2]()
- Lack of concentration can lead to kickback if the kickback zone of the bar accidentally touches a branch, nearby tree or some other object.
- Never use a chainsaw by holding it with one hand. A chainsaw is not safely controlled with one hand; you can cut yourself. Always have a secure, firm grip around the handles with both hands.
- Always hold the chainsaw firmly with your right hand on the top handle and your left hand on the front handle. Wrap your fingers and thumbs around the handles. You should use this grip whether you are right handed or left handed. This grip minimizes the effect of kickback and lets you keep the chainsaw under control. Do not let go of the handles!
![Husqvarna - T435 - Safety instructions for operation - Step 3 Safety instructions for operation - Step 3]()
- Never use the chainsaw above shoulder height.
![Husqvarna - T435 - Safety instructions for operation - Step 4 Safety instructions for operation - Step 4]()
- Do not use the product in a situation where you cannot call for help in case of an accident.
- Sometimes chips get stuck in the clutch cover causing the saw chain to jam. Always stop the engine before cleaning.
- If the saw chain jams in the cut: stop the engine!
- Running an engine in a confined or badly ventilated area can result in death due to carbon monoxide poisoning.
- The exhaust fumes from the engine are hot and may contain sparks which can start a fire. Do not start the product indoors or near flammable material.
- Use the chain brake as a parking brake when you start the product and when you move short distances. Always carry the product in the front handle. This decreases the risk that you or a person near you get hit by the saw chain.
- Overexposure to vibration can lead to circulatory damage or nerve damage in people who have impaired circulation. Contact your doctor if you experience symptoms of overexposure to vibration. Such symptoms include numbness, loss of feeling, tingling, pricking, pain, loss of strength, changes in skin colour or condition. These symptoms normally appear in the fingers, hands or wrists. These symptoms may be increased in cold temperatures.
- It is not possible to cover every conceivable situation you can face when using a chainsaw. Always exercise care and use your common sense. Avoid all situations which you consider to be beyond your capability. If you still feel uncertain about operating procedures after reading these instructions, you should consult an expert before continuing. Do not hesitate to contact your dealer or Husqvarna if you have any questions about the use of the chainsaw. We will willingly be of service and provide you with advice as well as help you to use your chainsaw both efficiently and safely. Attend a training course in chainsaw usage if possible. Your dealer, forestry school or your library can provide information about which training materials and courses are available.
![Husqvarna - T435 - Safety instructions for operation - Step 5 Safety instructions for operation - Step 5]()
Personal protective equipment
![]()
Read the warning instructions that follow before you use the product.
![Husqvarna - T435 - Personal protective equipment Personal protective equipment]()
- Most chainsaw accidents occur when the saw chain touches the operator. You must use approved personal protective equipment during operation. Personal protective equipment does not give you full protection from injuries but it decreases the degree of injury if an accident occurs. Speak to your servicing dealer for recommendations about which equipment to use.
- Your clothing must be close-fitting but not limit your movements. Regularly do a check of the condition of the personal protective equipment.
- Use an approved protective helmet.
- Use approved hearing protection. Long-term exposure to noise can result in permanent damage to the hearing.
- Use approved protective glasses or a face visor to decrease the risk of injury from thrown objects. The product can throw objects, such as wood chips, small pieces of wood and more, at large force. This can result in serious injury, especially to the eyes.
- Use gloves with saw protection.
- Use pants with saw protection.
- Use boots with saw protection, steel toe-cap and non-slip sole.
- Always have a first-aid kit with you.
- Risk of sparks. Keep fire extinguishing tools and a shovel near to prevent forest fires.
Safety devices on the product
![]()
Read the warning instructions that follow before you use the product.
- Do not use a product with safety devices that are damaged or do not operate correctly.
- Do a check of the safety devices regularly. Refer to Maintenance and checks of the safety devices on the product.
- If the safety devices are damaged or do not operate correctly, speak to your Husqvarna servicing dealer.
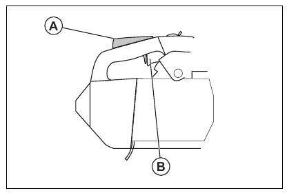
Chain brake and front hand guard
Your product has a chain brake that stops the saw chain if you get a kickback. The chain brake decreases the risk of accidents, but only you can prevent them.
The chain brake (A) engages manually by your left hand or automatically by the inertia release mechanism. Push the front hand guard (B) forward to engage the chain brake manually.
![Husqvarna - T435 - Chain brake and front hand guard - Step 1 Chain brake and front hand guard - Step 1]()
Pull the front hand guard rearward to disengage the chain brake.
![Husqvarna - T435 - Chain brake and front hand guard - Step 2 Chain brake and front hand guard - Step 2]()
Throttle trigger lockout
The throttle trigger lockout prevents accidental operation of the throttle trigger. If you put your hand around the handle and press the throttle trigger lockout (A), it releases the throttle trigger (B). If you release the handle, the throttle trigger and the throttle trigger lockout move back to their initial positions. This function locks the throttle trigger at idle speed.
![Husqvarna - T435 - Throttle trigger lockout Throttle trigger lockout]()
Chain catcher
The chain catcher catches the saw chain if it breaks or derails. Correct saw chain tension and correctly applied maintenance on the saw chain and guide bar, decrease the risk of accidents.
![Husqvarna - T435 - Chain catcher Chain catcher]()
Vibration damping system
The vibration damping system decreases vibration in the handles. Vibration damping units operate as a separation between the product body and the handle unit.
Refer to Product overview for information about where the vibration damping system is on your product.
Start/stop switch
Use the start/stop switch to stop the engine.
![Husqvarna - T435 - Start/stop switch Start/stop switch]()
Muffler
![]()
The muffler becomes very hot during/after operation and at idle speed. There is a risk of fire, especially when you operate the product near flammable materials and/or fumes.
![]()
Do not use the product if the muffler is missing or damaged. A muffler that is damaged or missing increases the noise level and the risk of fire. Keep fire extinguishing tools near. Do not use a product without, or with a broken, spark arrestor mesh if you must have a spark arrestor mesh in your area.
The muffler keeps the noise levels to a minimum and points the exhaust fumes away from the operator. In areas with a hot, dry weather there is a high risk of fire.
Obey local regulations and maintenance instructions.
Fuel safety
![]()
Read the warning instructions that follow before you use the product.
- Make sure there is plenty of ventilation when refuelling or mixing fuel (petrol and two-stroke oil).
- Fuel and fuel vapour are highly flammable and can cause serious injury when inhaled or allowed to come in contact with the skin. For this reason observe caution when handling fuel and make sure there is adequate ventilation.
- Take care when handling fuel and chain oil. Be aware of the risks of fire, explosion and those associated with inhalation.
- Do not smoke and do not place any hot objects in the vicinity of fuel.
- Always stop the engine and let it cool for a few minutes before refuelling.
- When refuelling, open the fuel cap slowly so that any excess pressure is released gently.
- Tighten the fuel cap carefully after refuelling.
- Never refuel the product while the engine is running.
- Always move the product at least 3 m (10 ft) away from the refuelling area and fuel source before starting.
![Husqvarna - T435 - Fuel safety Fuel safety]()
After refuelling, there are some situations where you must never start the product:
- If you have spilled fuel or chain oil on the product. Wipe off the spillage and allow remaining fuel to evaporate.
- If you have spilled fuel on yourself or on your clothes. Change your clothes and wash any part of your body that has come in contact with fuel. Use soap and water.
- If the product leaks fuel. Regularly do a check for leaks from the fuel tank, fuel cap and fuel lines.
Safety instructions for maintenance
![]()
Read the warning instructions that follow before you do maintenance on the product.
- Do only the maintenance and servicing given in this operator's manual. Let professional servicing personnel do all other servicing and repairs.
- Regularly do the safety checks, maintenance and service instructions given in this manual. Regular maintenance increases the life of the product and decreases the risk of accidents. Refer to Maintenance for instructions.
- If the safety checks in this operator's manual is not approved after you do maintenance, speak to your servicing dealer. We guarantee that there are professional repairs and servicing available for your product.
Safety instructions for the cutting equipment
![]()
Read the warning instructions that follow before you use the product.
- Only use approved guide bar/saw chain combinations and filing equipment. Refer to Accessories for instructions.
- Use protective gloves when you use or do maintenance on the saw chain. A saw chain that does not move can also cause injuries.
- Keep the cutting teeth correctly sharpened. Obey the instructions and use the recommended file gauge. A saw chain that is damaged or incorrectly sharpened increases the risk of accidents.
![Husqvarna - T435 - Safety instructions for the cutting equipment - Step 1 Safety instructions for the cutting equipment - Step 1]()
- Keep the correct depth gauge setting. Obey the instructions and use the recommended depth gauge setting. Too large depth gauge setting increases the risk of kickback.
![Husqvarna - T435 - Safety instructions for the cutting equipment - Step 2 Safety instructions for the cutting equipment - Step 2]()
- Make sure that the saw chain has the correct tension. If the saw chain is not tight against the guide bar, the saw chain can derail. An incorrect saw chain tension increases wear on the guide bar, saw chain and chain drive sprocket. Refer to To adjust the tension of the saw chain.
![Husqvarna - T435 - Safety instructions for the cutting equipment - Step 3 Safety instructions for the cutting equipment - Step 3]()
- Do maintenance on the cutting equipment regularly and keep it correctly lubricated. If the saw chain is not correctly lubricated, the risk of wear on the guide bar, saw chain and chain drive sprocket increases.
![Husqvarna - T435 - Safety instructions for the cutting equipment - Step 4 Safety instructions for the cutting equipment - Step 4]()
Assembly
Introduction
![]()
Read and understand the safety chapter before you assemble the product.
To assemble the guide bar and saw chain
- Disengage the chain brake.
- Loosen the bar nut and remove the clutch cover.
Note: If the clutch cover is not easy to remove, tighten the bar nut, engage the chain brake and release. A click is heard if it is released correctly. - Assemble the guide bar onto the bar bolt. Move theguide bar to its most rear position.
- Install the saw chain correctly around the drivesprocket and put it in the groove on the guide bar.
![]()
Always use protective gloves when you assemble the saw chain. - Make sure that the edges of the cutters point forwardon the top edge of the guide bar.
![Husqvarna - T435 - To assemble the guide bar and saw chain - Step 1 To assemble the guide bar and saw chain - Step 1]()
- Align the hole in the guide bar with the chain adjusterpin and install the clutch cover.
![Husqvarna - T435 - To assemble the guide bar and saw chain - Step 2 To assemble the guide bar and saw chain - Step 2]()
- Tighten the bar nut finger tight.
- Tighten the saw chain. Refer to To adjust the tension of the saw chain for instructions.
- Tighten the bar nuts.
Note: Some models have only one bar nut.
To assemble the belt eyelet
Use the belt eyelet to attach the product to a belt or harness.
- To assemble the belt eyelet, speak to your servicing dealer.
Operation
Introduction
![]()
Read and understand the safety chapter before you use the product.
To do a function check before you use the product
- Make sure that the chain brake operates correctlyand that it is not damaged.
- Make sure that the throttle trigger lockout operatescorrectly and that it is not damaged.
- Make sure that the start/stop switch operatescorrectly and that it is not damaged.
- Make sure that there is no oil on the handles.
- Make sure that the vibration damping systemoperates correctly and that it is not damaged.
- Make sure that the muffler is correctly attached andthat it is not damaged.
- Make sure that all parts are correctly attached andnot damaged or missing.
- Make sure that the chain catcher is correctlyattached.
- Make sure that the saw chain tension is correct.
![Husqvarna - T435 - To do a function check before you use the product To do a function check before you use the product]()
Fuel
This product has a two-stroke engine.
![]()
Incorrect type of fuel can result in engine damage. Use a mixture of gasoline and two-stroke oil.
Premixed fuel
- Use Husqvarna premixed alkylate fuel for best performance and extension of the engine life. This fuel contains less harmful chemicals compared to regular fuel, which decreases harmful exhaust fumes. The quantity of remains after combustion is lower with this fuel, which keeps the components of the engine more clean.
To mix fuel
Gasoline
- Use good quality unleaded gasoline with a maximum of 10% ethanol contents.
![]()
Do not use gasoline with an octane grade less than 90 RON/87 AKI. Use of a lower octane grade can cause engine knocking, which causes engine damages.
Two-stroke oil
- For best results and performance use Husqvarna two-stroke oil.
- If Husqvarna two-stroke oil is not available, use a two-stroke oil of good quality for air-cooled engines. Speak to your servicing dealer to select the correct oil.
![]()
Do not use two-stroke oil for water-cooled outboard engines, also referred to as outboard oil. Do not use oil for four-stroke engines.
To mix gasoline and two-stroke oil
| Gasoline, liter | Two-stroke oil, liter |
| | 2% (50:1) |
| 5 | 0.10 |
| 10 | 0.20 |
| 15 | 0.30 |
| 20 | 0.40 |
![]()
Small errors can influence the ratio of the mixture drastically when you mix small quantities of fuel. Measure the quantity of oil carefully and make sure that you get the correct mixture.
![Husqvarna - T435 - To mix gasoline and two-stroke oil To mix gasoline and two-stroke oil]()
- Fill half the quantity of gasoline in a clean containerfor fuel.
- Add the full quantity of oil.
- Shake the fuel mixture.
- Add the remaining quantity of gasoline to thecontainer.
- Carefully shake the fuel mixture.
![]()
Do not mix fuel for more than 1 month at a time.
To fill the fuel tank
![]()
Obey the procedure that follows for your safety.
- Stop the engine and let the engine become cool.
- Clean the area around the fuel tank cap.
![]()
- Shake the container and make sure that the fuel isfully mixed.
- Remove the fuel tank cap slowly to release thepressure.
- Fill the fuel tank.
![]()
Make sure that there is not too much fuel in the fuel tank. The fuel expands when it becomes hot. - Tighten the fuel tank cap carefully.
- Clean fuel spillage on and around the product.
- Move the product 3 m/10 ft or more away from therefueling area and fuel source before you start the engine.
Note: To see where the fuel tank is on your product, refer to Product overview.
To do a run-in
- During the first 10 hours of operation, do not apply full throttle without load for extended periods.
To use the correct chain oil
![]()
Do not use waste oil, which can cause injury to you and the environment. Waste oil also causes damage to the oil pump, the guide bar and the saw chain.
![]()
The saw chain can break if the lubrication of the cutting equipment is not sufficient. Risk of serious injury or death to the operator.
![]()
This product has a function that lets the fuel run out before the chain oil. Use the correct chain oil for this function to operate correctly. Speak to your servicing dealer when you select your chain oil.
- Use Husqvarna chain oil for maximum saw chain life and to prevent negative effects on the environment. If Husqvarna chain oil is not available, we recommend you to use a standard chain oil.
- Use a chain oil with good adherence to the saw chain.
- Use a chain oil with correct viscosity range that agrees with the air temperature.
![]()
If the oil is too thin, it runs out before the fuel. In temperatures below 0°C/32°F some chain oils become too thick, which can cause damage to the oil pump components. - Use the recommended cutting equipment. Refer to Accessories.
Kickback information
![]()
A kickback can cause serious injury or death to the operator or others. To decrease the risk you must know the causes of kickback and how to prevent them.
A kickback occurs when the kickback zone of the guide bar touches an object. A kickback can occur suddenly and with large force, which throws the product in the direction of the operator.
![Husqvarna - T435 - Kickback information - Step 1 Kickback information - Step 1]()
Kickback always occurs in the cutting plane of the guide bar. Usually, the product is thrown against the operator but can also move in a different direction. It is how you use the product when the kickback occurs that causes the direction of the movement.
![Husqvarna - T435 - Kickback information - Step 2 Kickback information - Step 2]()
A smaller bar tip radius decreases the force of the kickback.
Use a low kickback saw chain to decrease the effects of kickback. Do not let the kickback zone touch an object.
![]()
No saw chain fully prevents kickback. Always obey the instructions.
Common questions about kickback
- Will the hand always engage the chain brake during a kickback?
No. It is necessary to use some force to push the front hand guard forward. If you do not use the force necessary, the chain brake will not be engaged. You must also hold the handles of the product stable with two hands during work. If a kickback occurs, it is possible that the chain brake does not stop the saw chain before it touches you. There are also some positions in which your hand can not touch the front hand guard to engage the chain brake. - Will the inertia release mechanism always engage the chain brake during kickback?
No. First, the chain brake must operate correctly.
Refer to To do a check of the chain brake for instructions about how to do a check of the chain brake. We recommend you to do this each time before you use the product. Second, the force of the kickback must be large to engage the chain brake. If the chain brake is too sensitive, it can engage during rough operation. - Will the chain brake always protect me from injury during a kickback?
No. The chain brake must operate correctly to give protection. The chain brake must also be engaged during a kickback to stop the saw chain. If you are near the guide bar, it is possible that the chain brake does not have time to stop the saw chain before it hits you.
![]()
Only you and the correct working technique can prevent kickbacks.
To start the product
To prepare to start with a cold engine
![]()
The chain brake must be engaged when the product is started to decrease the risk of injury.
- Move the front hand guard forward to engage thechain brake.
![Husqvarna - T435 - To prepare to start with a cold engine - Step 1 To prepare to start with a cold engine - Step 1]()
- Push the air purge bulb approximately 6 times oruntil fuel starts to fill the bulb. It is not necessary to fill the air purge bulb fully.
![Husqvarna - T435 - To prepare to start with a cold engine - Step 2 To prepare to start with a cold engine - Step 2]()
- Set the start/stop switch to start position.
- Set the choke to choke position.
![Husqvarna - T435 - To prepare to start with a cold engine - Step 3 To prepare to start with a cold engine - Step 3]()
- Continue to To start the product for more instructions.
To prepare to start with a warm engine
![]()
The chain brake must be engaged when the product is started to decrease the risk of injury.
- Move the front hand guard forward to engage the chain brake.
![Husqvarna - T435 - To prepare to start with a warm engine - Step 1 To prepare to start with a warm engine - Step 1]()
- Push the air purge bulb about 6 times or until fuel starts to fill the bulb. It is not necessary to fill the air purge bulb fully.
![Husqvarna - T435 - To prepare to start with a warm engine - Step 2 To prepare to start with a warm engine - Step 2]()
- Continue to To start the product for more instructions.
To start the product
![]()
You must keep your feet in a stable position when you start the product.
![]()
If the saw chain rotates at idle speed, speak to your servicing dealer and do not use the product.
- Put the product on the ground.
- Put your left hand on the front handle.
- Put your knee on the rear part of the top handle.
- Pull the starter rope handle slowly with your right hand until you feel resistance.
![Husqvarna - T435 - To start the product - Step 1 To start the product - Step 1]()
![]()
Do not twist the starter cord around your hand.
![]()
Do not pull the starter rope to full extension and do not let go of the starter rope handle.
- If you start your product with a cold engine, pull the starter rope handle until the engine fires.
Note: You can identify when the engine fires through a "puff" sound. - Put the choke control in choke position.
- Pull the starter rope handle until the engine starts.
- Quickly disengage the throttle trigger lockout to set the product to idle speed.
![Husqvarna - T435 - To start the product - Step 2 To start the product - Step 2]()
- Move the front hand guard rearward to disengage the chain brake.
![Husqvarna - T435 - To start the product - Step 3 To start the product - Step 3]()
- Use the product.
To start the product in the tree
Note: Make sure that you have sufficient fuel before you start the product.
- Engage the chain brake.
- Hold the product on the left or right side of your body when you start the product.
- If you hold the product on your left side, put your left hand on the front handle. Hold the starter rope handle with your right hand and thrust the product away from your body when you start the product.
- If you hold the product on your right side, put your right hand on one of the two handles. Hold the starter rope handle with your left hand and thrust the product away from your body when you start the product.
To stop the product
- Push the start/stop switch to the STOP position.
![Husqvarna - T435 - To stop the product To stop the product]()
Information about working technique
![]()
The information related to working technique in this operator's manual is not sufficient training to operate this product. Only use this product if you have correct training in tree maintenance. Operation without correct training can result in serious injury or death to the operator or others.
- Use full throttle when you cut and decrease to idle speed after each cut.
![]()
Engine damage can occur if the engine runs for too long at full throttle without load. - When you cut, put the spiked bumper into the trunk and use it as a lever.
Note: Not all models have a spiked bumper.
Speak to your servicing dealer for more information.
![Husqvarna - T435 - Information about working technique Information about working technique]()
Pull stroke and push stroke
You can cut through wood with the product in 2 different positions.
- To cut on the pull stroke is when you cut with the bottom of the guide bar. The saw chain pulls through the tree when you cut. In this position you have better control of the product and the position of the kickback zone.
![Husqvarna - T435 - Pull stroke and push stroke - Step 1 Pull stroke and push stroke - Step 1]()
- To cut on the push stroke is when you cut with the top of the guide bar. The saw chain pushes the product in the direction of the operator.
![Husqvarna - T435 - Pull stroke and push stroke - Step 2 Pull stroke and push stroke - Step 2]()
![]()
If the saw chain is caught in the trunk, the product can be pushed at you. Hold the product tightly and make sure that the kickback zone of the guide bar does not touch the tree and causes a kickback.
![Husqvarna - T435 - Pull stroke and push stroke - Step 3 Pull stroke and push stroke - Step 3]()
To prepare the product for operation in the tree
Ground operator
As a ground operator, do the following steps.
- Examine the product.
- Fill the fuel and chain oil tanks.
- Attach the end of an approved safety strop to the rope eyelet.
![Husqvarna - T435 - Ground operator Ground operator]()
Note: A safety strop makes sure that the product does not hit the ground if it falls. - Make sure that there is a carabiner on the other end of the safety strop.
- Start and warm up the product.
- Stop the product.
- Engage the chain brake.
- Lift the product to the operator in the tree using ascent tools.
![]()
Make sure that the product is safely attached when you lift it to the operator in the tree.
Tree operator
As a tree operator, follow the instructions below.
- Before you disconnect the safety strop from the ascent tools, you must attach the product to the harness. Attach the product to the harness through the belt eyelet or a steel ring on the safety strop.
![]()
![]()
Attach the safety strop to 1 of the recommended connection points on the harness.
![]()
If you use only the safety strop to attach the product to the harness, lower the product fully down with the safety strop. Do not let go of the product from a height. - Use approved carabiners to attach the free end of the safety strop to one of the connection points on the harness. This is your primary connection point.
![]()
The safety strop must only be attached to the rope eyelet.
- Make sure that you are in a stable and safe position to make the cut.
- Release the product from the secondary connection point, start the product and make the cut.
- Engage the chain brake directly after the cut is completed.
- Stop the product and put it in its secondary connection point.
To operate the product in a tree
![]()
Most accidents occur when the operator does not have full control of the product or the work position.
- Keep a safe work position.
- Cut horizontal sections at hip level and vertical sections at solar plexus level.
- Hold the product with 2 hands.
- Make sure that you are stable on your feet and keep a low lateral force when you cut vertical branches. Steer the safety line through a different connection point to remove or prevent increasing lateral forces. You can also use an adjustable strop directly from the harness to a different connection point.
![Husqvarna - T435 - To operate the product in a tree - Step 1 To operate the product in a tree - Step 1]()
- Use a foot loop to keep a safe work position.
![Husqvarna - T435 - To operate the product in a tree - Step 2 To operate the product in a tree - Step 2]()
- Do a check of the harness, belt and ropes at a regular interval.
- If you must climb with the product, attach the product to the rear connection point on the harness. The rear connection point keeps the product clear from climbing lines and makes sure that the weight has central support down your spine.
![Husqvarna - T435 - To operate the product in a tree - Step 3 To operate the product in a tree - Step 3]()
![]()
You must engage the chain brake when you lower the product onto its strop.
To remove a trapped product
- Stop the product.
- Attach the product safely to the tree inboard, againstthe trunk side, of the cut or a different tool line.
- Carefully pull the saw away from the kerf while youlift the branch as necessary.
![]()
Do not try to pull the product free. Risk of serious injury. - If it is necessary, use a hand saw or a secondchainsaw to release the product. Cut the branch at a minimum of 30 cm/12 in from the caught product. Make the cut on the outer end from where the product is caught.
Maintenance
Introduction
![]()
Read and understand the safety chapter before you do maintenance on the product.
Maintenance schedule
| Daily maintenance | Weekly maintenance | Monthly maintenance |
| Clean the external parts of the product and make sure that there is no oil on the handles. | Clean the cooling system. Refer to To clean the cooling system. | Do a check of the brake band. Refer to To do a check of the brake band. |
| Do a check of the throttle trigger and throttle trigger lockout. Refer to To do a check of the throttle trigger and the throttle trigger lockout. | Do a check of the starter, starter rope and return spring. | Do a check of the clutch centre, clutch drum and clutch spring. |
| Make sure that there is no damage on the vibration damping units. | Lubricate the needle bearing. Refer to To lubricate the needle bearing. | Clean the spark plug. Refer to To do a check of the spark plug. |
| Clean and do a check of the chain brake. Refer to To do a check of the chain brake. | Remove burrs from the edges of the guide bar. Refer to To do a check of the guide bar. | Clean the external parts of the carburettor. |
| Do a check of the chain catcher. Refer to To do a check of the chain catcher. | Clean or replace the spark arrestor screen on the muffler. Refer to To do a check of the guide bar. | Do a check of the fuel filter and the fuel hose. Replace if necessary. |
| Turn the guide bar, do a check of the lubrication hole and clean the groove in the guide bar. Refer to To clean the air filter. | Clean the carburetor area. | Do a check of all cables and connections. |
| Make sure that the guide bar and saw chain are getting sufficient oil. | Clean or replace the air filter. Refer to To examine the cutting equipment. | Empty the fuel tank. |
| Do a check of the saw chain. Refer to To sharpen the saw chain. | Clean between the cylinder fins. | Empty the oil tank. |
| Sharpen the saw chain and do a check of its tension. Refer to To do a check of the spur sprocket. | | |
| Do a check of the chain drive sprocket. Refer to To do a check of the start/stop switch. | | |
| Clean the air intake on the starter. | | |
| Make sure that nuts and screws are tightened. | | |
| Do a check of the stop switch. Refer to To do a check of the start/stop switch. | | |
| Make sure that these are no fuel leaks from the engine, tank or fuel lines. | | |
| Make sure that the saw chain does not rotate when the engine is at idle speed. | | |
| Make sure that the muffler is correctly attached, has no damages and that no parts of the muffler are missing. | | |
Maintenance and checks of the safety devices on the product
To do a check of the brake band
- Use a brush to remove wood dust, resin and dirt from the chain brake and clutch drum. Dirt and wear can decrease the function of the brake.
![Husqvarna - T435 - To do a check of the brake band To do a check of the brake band]()
- Do a check of the brake band. The brake band must be at a minimum of 0.6 mm/0.024 in thick at its thinnest point.
To do a check of the front hand guard
- Make sure that the front hand guard has no cracks or other damages.
- Make sure that the front hand guard moves freely and that it is attached safely to the clutch cover.
![Husqvarna - T435 - To do a check of the front hand guard To do a check of the front hand guard]()
To do a check of the chain brake
- Start the product. Refer to To start the product for instructions.
![]()
Make sure that the saw chain does not touch the ground or other objects.
- Hold the product tightly.
![Husqvarna - T435 - To do a check of the chain brake - Step 1 To do a check of the chain brake - Step 1]()
![]()
Make sure that the saw chain does not touch the ground or other objects. - Apply full throttle and tilt your left wrist against the front hand guard to engage the chain brake. The saw chain must stop immediately.
![Husqvarna - T435 - To do a check of the chain brake - Step 2 To do a check of the chain brake - Step 2]()
![]()
Do not let go of the front handle when you engage the chain brake.
To do a check of the throttle trigger and the throttle trigger lockout
- Make sure that the throttle trigger and throttle trigger lockout move freely and that the return spring works correctly.
![Husqvarna - T435 - To do a check of the throttle trigger - Step 1 To do a check of the throttle trigger - Step 1]()
- Push down the throttle trigger lockout and make sure that it goes back to its initial position when you release it.
![Husqvarna - T435 - To do a check of the throttle trigger - Step 2 To do a check of the throttle trigger - Step 2]()
- Make sure that the throttle trigger is locked at the idle position when the throttle trigger lockout is released.
![Husqvarna - T435 - To do a check of the throttle trigger - Step 3 To do a check of the throttle trigger - Step 3]()
- Start the chainsaw and apply full throttle.
- Release the throttle trigger and make sure that the saw chain stops and stays stationary.
![]()
If the saw chain rotates when the throttle trigger is in the idle position, speak to your servicing dealer.
To do a check of the chain catcher
- Make sure that there is no damage on the chain catcher.
- Make sure that the chain catcher is stable and attached to the body of the product.
![Husqvarna - T435 - To do a check of the chain catcher To do a check of the chain catcher]()
To do a check of the vibration damping system
- Make sure that there are no cracks or deformation on the vibration damping units.
- Make sure that the vibration damping units are correctly attached to the engine unit and handle unit.
Refer to Product overview for information about where the vibration damping system is on your product.
To do a check of the start/stop switch
- Start the engine.
- Push the start/stop switch to the STOP position. The engine must stop.
![Husqvarna - T435 - To do a check of the start/stop switch To do a check of the start/stop switch]()
To do a check of the muffler
- Loosen the screws (A and B).
![Husqvarna - T435 - To do a check of the muffler - Step 1 To do a check of the muffler - Step 1]()
- Remove the muffler cover.
![Husqvarna - T435 - To do a check of the muffler - Step 2 To do a check of the muffler - Step 2]()
- Loosen the screws and nuts.
![Husqvarna - T435 - To do a check of the muffler - Step 3 To do a check of the muffler - Step 3]()
- Remove the muffler and make sure that it is not defective.
- Assemble the muffler and make sure that it is correctly attached to the product.
![Husqvarna - T435 - To do a check of the muffler - Step 4 To do a check of the muffler - Step 4]()
- Some mufflers have a special spark arrestor mesh. Clean the spark arrestor mesh one time each week if your product has this type of muffler.
![Husqvarna - T435 - To do a check of the muffler - Step 5 To do a check of the muffler - Step 5]()
Carburetor adjustment
Because of environmental and emissions laws, your product has adjustment limitations on the carburetor adjuster screws. This decreases the harmful exhaust fumes from your product. You can only turn the adjustment screws maximum ½ turn.
![Husqvarna - T435 - Carburetor adjustment Carburetor adjustment]()
Basic adjustments and run-in
The basic carburetor adjustments are done at the factory. For the recommended idle speed, refer to Technical data.
![]()
Do not operate the product at too high speed during the first 10 hours of operation.
![]()
If the saw chain rotates at idle speed, turn the idle speed screw counterclockwise until the saw chain stops.
To adjust the low speed needle (L)
- Turn the low speed needle clockwise until stop.
Note: If the product has a bad acceleration capacity or if the idle speed is not correct, turn the low speed needle counterclockwise. Turn the low speed needle until the acceleration capacity and idle speed is correct.
To adjust the idle speed screw (T)
- Start the product.
- Turn the idle speed screw clockwise until the sawchain starts to rotate.
- Turn the idle speed screw counterclockwise until thesaw chain stops.
Note: The idle speed is correctly adjusted when the engine runs correctly in all positions. The idle speed must also be safely below the speed at which the saw chain starts to rotate.
![]()
If the saw chain does not stop when you turn the idle speed screw, speak to your servicing dealer. Do not use the product until it is correctly adjusted.
To adjust the high speed needle (H)
The engine is adjusted at the factory to operate at sea level. At higher altitudes, in different weather or different temperatures it can be necessary to adjust the high speed needle.
- Turn the high speed needle to make adjustments.
![]()
Do not turn the high speed needle screw across the adjustment limitation stop. This can cause damage to the piston and the cylinder.
To examine if the carburetor is correctly adjusted
- Make sure that the product has the correct acceleration capacity.
- Make sure that the product 4-cycles a little at full throttle.
- Make sure that the saw chain does not rotate at idle speed.
- If the product is not easy to start or has less acceleration capacity, adjust the low and high speed needles.
![]()
Incorrect adjustments can cause damage to the engine.
To replace a broken or worn starter rope
- Loosen the screws to the starter housing.
- Remove the starter housing.
![Husqvarna - T435 - To replace a broken or worn starter rope - Step 1 To replace a broken or worn starter rope - Step 1]()
- Pull out the starter rope approximately 30 cm/12 in and put it in the notch on the pulley.
- Let the pulley rotate slowly rearward to release the recoil spring.
![Husqvarna - T435 - To replace a broken or worn starter rope - Step 2 To replace a broken or worn starter rope - Step 2]()
- Remove the bolt in the center of the pulley andremove the pulley.
- Remove the used starter rope from the handle andthe pulley.
- Attach a new starter rope to the pulley. Wind thestarter rope approximately 3 turns around the pulley.
- Connect the pulley to the recoil spring. The end ofthe recoil spring must engage in the pulley.
- Attach the screw to the center of the pulley.
![Husqvarna - T435 - To replace a broken or worn starter rope - Step 3 To replace a broken or worn starter rope - Step 3]()
- Pull the starter rope through the hole in the starterhousing and the starter rope handle.
- Make a tight knot at the end of the starter rope.
To tighten the recoil spring
- Put the starter rope into the notch in the pulley.
- Turn the starter pulley approximately 2 turnsclockwise.
- Make sure that you can turn the pulley ½ turn afterthe starter rope is fully extended.
![Husqvarna - T435 - To tighten the recoil spring To tighten the recoil spring]()
To assemble the starter housing on the product
- Pull out the starter rope and put the starter inposition against the crankcase.
- Slowly release the starter rope until the pulleyengages with the pawls.
- Tighten the screws that hold the starter.
![Husqvarna - T435 - To assemble the starter housing on the product To assemble the starter housing on the product]()
To clean the air filter
Clean the air filter from dirt and dust regularly. This prevents carburetor malfunctions, starting problems, loss of engine power, wear to engine parts and more fuel consumption than usual.
- Remove the air filter cover and the air filter.
- Use a brush or shake the air filter clean. Usedetergent and water to clean it fully. Note: An air filter that is used for a long time can not be fully cleaned. Replace the air filter regularly and always replace a defective air filter.
- Attach the air filter and make sure that the air filterseals tightly against the filter holder.
![Husqvarna - T435 - To clean the air filter To clean the air filter]()
Note: Because of different work conditions, weather or season, your product can be used with different types of air filter. Speak to your servicing dealer for more information.
To do a check of the spark plug
![]()
Use the recommended spark plug. Refer to Technical data. An incorrect spark plug can cause damage to the product.
- If the product is not easy to start or to operate or if the product operates incorrectly at idle speed, examine the spark plug for unwanted materials. To decrease the risk of unwanted material on the spark plug electrodes, do these steps:
- make sure that the idle speed is correctly adjusted.
- make sure that the fuel mixture is correct.
- make sure that the air filter is clean.
- Clean the spark plug if it is dirty.
- Make sure that the electrode gap is correct. Refer to, Technical data.
![Husqvarna - T435 - To do a check of the spark plug To do a check of the spark plug]()
- Replace the spark plug monthly or more frequently if necessary.
To sharpen the saw chain
Information about the guide bar and saw chain
![]()
Use protective gloves when you use or do maintenance on the saw chain. A saw chain that does not move can also cause injuries.
Replace a worn or damaged guide bar or saw chain with the guide bar and saw chain combination recommended by Husqvarna. This is necessary to keep the safety functions of the product. Refer to Accessories, for a list of replacement bar and chain combinations that we recommend.
- Guide bar length, in/cm. Information about the guide bar length can usually be found on the rear end of the guide bar.
![Husqvarna - T435 - To sharpen the saw chain - Step 1 To sharpen the saw chain - Step 1]()
- Number of teeth on bar tip sprocket (T).
![Husqvarna - T435 - To sharpen the saw chain - Step 2 To sharpen the saw chain - Step 2]()
- Chain pitch, in. The distance between the drive links of the saw chain must align with the distance of the teeth on the bar tip sprocket and drive sprocket.
![Husqvarna - T435 - To sharpen the saw chain - Step 3 To sharpen the saw chain - Step 3]()
- Number of drive links. The number of drive links is decided by the type of guide bar.
![Husqvarna - T435 - To sharpen the saw chain - Step 4 To sharpen the saw chain - Step 4]()
- Bar groove width, in/mm. The groove width in guide bar must be the same as the chain drive links width.
![Husqvarna - T435 - To sharpen the saw chain - Step 5 To sharpen the saw chain - Step 5]()
- Chain oil hole and hole for chain tensioner. The guide bar must align with product.
![Husqvarna - T435 - To sharpen the saw chain - Step 6 To sharpen the saw chain - Step 6]()
- Drive link width, mm/in.
![Husqvarna - T435 - To sharpen the saw chain - Step 7 To sharpen the saw chain - Step 7]()
General information about how to sharpen the cutters
Do not use a blunt saw chain. If the saw chain is blunt, you must apply more pressure to push the guide bar through the wood. If the saw chain is very blunt, there will be no wood chips but sawdust.
A sharp saw chain eats through the wood and the wood chips becomes long and thick.
The cutting tooth (A) and the depth gauge (B) together makes the cutting part of the saw chain, the cutter. The difference in height between the two gives the cutting depth (depth gauge setting).
![Husqvarna - T435 - General information about how to sharpen the cutters - Step 1 General information about how to sharpen the cutters - Step 1]()
When you sharpen the cutter, think about the following:
- Filing angle.
![Husqvarna - T435 - General information about how to sharpen the cutters - Step 2 General information about how to sharpen the cutters - Step 2]()
- Cutting angle.
![Husqvarna - T435 - General information about how to sharpen the cutters - Step 3 General information about how to sharpen the cutters - Step 3]()
- File position.
![Husqvarna - T435 - General information about how to sharpen the cutters - Step 4 General information about how to sharpen the cutters - Step 4]()
- Round file diameter.
![Husqvarna - T435 - General information about how to sharpen the cutters - Step 5 General information about how to sharpen the cutters - Step 5]()
It is not easy to sharpen a saw chain correctly without the correct equipment. Use a Husqvarna recommended file gauge. This will help you to keep maximum cutting performance and the kickback risk at a minimum.
![]()
The force of the kickback increases a lot if you do not follow the sharpening instructions.
Note: Refer to Accessories for information about sharpening of the saw chain.
To sharpen the cutters
- Use a round file and a file gauge to sharpen thecutting teeth.
![Husqvarna - T435 - To sharpen the cutters - Step 1 To sharpen the cutters - Step 1]()
Note: Refer to Accessories for information about which file and gauge that Husqvarna recommends for your saw chain. - Apply the file gauge correctly on to the cutter. Referto the instruction supplied with the file gauge.
- Move the file from the inner side of the cutting teethand out. Decrease the pressure on the pull stroke.
![Husqvarna - T435 - To sharpen the cutters - Step 2 To sharpen the cutters - Step 2]()
- Remove material from one side of all the cuttingteeth.
- Turn the product around and remove material on theother side.
- Make sure that all cutting teeth are the same length.
General information about how to adjust the depth gauge setting
The depth gauge setting (C) decreases when you sharpen the cutting tooth (A). To keep maximum cutting performance you must remove filing material from the depth gauge (B) to receive the recommended depth gauge setting. See Accessories for instructions about how to receive the correct depth gauge setting for your saw chain.
![Husqvarna - T435 - General information about how to adjust the depth gauge setting General information about how to adjust the depth gauge setting]()
![]()
The risk of kickback increases if the depth gauge setting is too large!
To adjust the depth gauge setting
Before you adjust the depth gauge setting or sharpen the cutters, refer to To sharpen the cutters, for instructions. We recommend you to adjust the depth gauge setting after each third operation that you sharpen the cutting teeth.
We recommend that you use our depth gauge tool to receive the correct depth gauge setting and bevel for the depth gauge.
![Husqvarna - T435 - To adjust the depth gauge setting - Step 1 To adjust the depth gauge setting - Step 1]()
- Use a flat file and a depth gauge tool to adjustthe depth gauge setting. Only use a Husqvarna recommended depth gauge tool to get the correct depth gauge setting and bevel for the depth gauge.
- Put the depth gauge tool on the saw chain.
Note: See the package of the depth gauge tool for more information about how to use the tool. - Use the flat file to remove the part of the depthgauge that extends through the depth gauge tool.
![Husqvarna - T435 - To adjust the depth gauge setting - Step 2 To adjust the depth gauge setting - Step 2]()
To adjust the tension of the saw chain
![]()
A saw chain with an incorrect tension can come loose from the guide bar and cause serious injury or death.
A saw chain becomes longer when you use it. Adjust the saw chain regularly.
- Loosen the bar nuts that hold the clutch cover/chainbrake. Use a wrench.
![Husqvarna - T435 - To adjust the tension of the saw chain - Step 1 To adjust the tension of the saw chain - Step 1]()
Note: Some models have only one bar nut. - Tighten the bar nuts by hand as tightly as you can.
- Lift the front of the guide bar and turn the chaintensioning screw. Use a wrench.
- Tighten the saw chain until it is tight against theguide bar but still can move easily.
![Husqvarna - T435 - To adjust the tension of the saw chain - Step 2 To adjust the tension of the saw chain - Step 2]()
- Tighten the bar nuts using the wrench and lift thefront of the guide bar at the same time.
- Make sure you can pull the saw chain around freelyby hand and that it does not hang from the guide bar.
![Husqvarna - T435 - To adjust the tension of the saw chain - Step 3 To adjust the tension of the saw chain - Step 3]()
Refer to Product overview for the position of the chain tensioning screw on your product.
To do a check of the saw chain lubrication
- Start the product and let it operate at ¾ throttle.
- Hold the guide bar approximately 20 cm/8 in above asurface of light color.
- If the saw chain lubrication is correct, you see a clearline of oil on the surface after 1 minute.
![Husqvarna - T435 - To do a check of the saw chain lubrication To do a check of the saw chain lubrication]()
- If the saw chain lubrication does not operatecorrectly, do a check of the guide bar. Refer to To do a check of the guide bar for instructions. Speak to your servicing dealer if the maintenance steps does not help.
To do a check of the spur sprocket
The clutch drum has a spur sprocket that is welded on the clutch drum.
![Husqvarna - T435 - To do a check of the spur sprocket To do a check of the spur sprocket]()
- Regularly do a visual check of the degree of wear on the spur sprocket. Replace the clutch drum with the spur sprocket if there is too much wear.
To lubricate the needle bearing
- Pull the front hand guard rearward to disengage thechain brake.
- Loosen the bar nuts and remove the clutch cover.
Note: Some models have only one bar nut. - Put the product on a stable surface with the clutchdrum up.
- Remove the clutch drum and lubricate the needle bearing with a grease gun. Use engine oil or a bearing grease of high quality.
![Husqvarna - T435 - To lubricate the needle bearing To lubricate the needle bearing]()
To examine the cutting equipment
- Make sure that there are no cracks in rivets and links and that no rivets are loose. Replace if it is necessary.
![Husqvarna - T435 - To examine the cutting equipment - Step 1 To examine the cutting equipment - Step 1]()
- Make sure that the saw chain is easy to bend. Replace the saw chain if it is rigid.
- Compare the saw chain with a new saw chain to examine if the rivets and links are worn.
- Replace the saw chain when the longest part of the cutting tooth is less than 4 mm/0.16 in. Also replace the saw chain if there are cracks on the cutters.
![Husqvarna - T435 - To examine the cutting equipment - Step 2 To examine the cutting equipment - Step 2]()
To do a check of the guide bar
- Make sure that the oil channel is not blocked. Clean if it is necessary.
![Husqvarna - T435 - To do a check of the guide bar - Step 1 To do a check of the guide bar - Step 1]()
- Examine if there are burrs on the edges of the guide bar. Remove the burrs using a file.
![Husqvarna - T435 - To do a check of the guide bar - Step 2 To do a check of the guide bar - Step 2]()
- Clean the groove in the guide bar.
![Husqvarna - T435 - To do a check of the guide bar - Step 3 To do a check of the guide bar - Step 3]()
- Examine the groove in the guide bar for wear. Replace the guide bar if it is necessary.
![Husqvarna - T435 - To do a check of the guide bar - Step 4 To do a check of the guide bar - Step 4]()
- Examine if the guide bar tip is rough or very worn.
![Husqvarna - T435 - To do a check of the guide bar - Step 5 To do a check of the guide bar - Step 5]()
- Make sure that the bar tip sprocket turns freely and that the lubricating hole in the bar tip sprocket is not blocked. Clean and lubricate if it is necessary.
![Husqvarna - T435 - To do a check of the guide bar - Step 6 To do a check of the guide bar - Step 6]()
- Turn the guide bar daily to extend its life cycle.
![Husqvarna - T435 - To do a check of the guide bar - Step 7 To do a check of the guide bar - Step 7]()
To do maintenance on the fuel tank and the chain oil tank
- Drain and clean the fuel tank and the chain oil tank regularly.
- Replace the fuel filter yearly or more frequently if necessary.
![]()
Contamination in the tanks causes malfunction.
To adjust the chain oil flow
![]()
: Stop the engine before you make adjustments to the oil pump.
- Turn the adjustment screw for the oil pump. Use a screwdriver or combination wrench.
- Turn the adjustment screw clockwise to increase the oil flow.
- Turn the adjustment screw counterclockwise to decrease the oil flow.
![Husqvarna - T435 - To adjust the chain oil flow To adjust the chain oil flow]()
To clean the cooling system
The cooling system keeps the engine temperature down. The cooling system includes the air intake on the starter (A), the air guide plate (B), the pawls on the flywheel (C), the cooling channel (D) and the clutch cover (E).
- Clean the cooling system with a brush weekly or more frequently if it is necessary.
- Make sure that the cooling system is not dirty or blocked.
![Husqvarna - T435 - To clean the cooling system To clean the cooling system]()
![]()
A dirty or blocked cooling system can make the product too hot, which can cause damage to the product.
Troubleshooting
The engine does not start
| Product part to examine | Possible cause | Action |
Starter pawls | The starter pawls are blocked. | Adjust or replace the starter pawls. |
| Clean around the pawls. |
| Speak to an approved service workshop. |
Fuel tank | Incorrect fuel type. | Drain the fuel tank and fill with correct fuel. |
| The fuel tank is filled with chain oil. | If you have tried to start the product, speak to your servicing dealer. If you have not tried to start the product, drain the fuel tank. |
Ignition, no spark | The spark plug is dirty or wet. | Make sure that the spark plug is dry and clean. |
| The electrode gap is incorrect. | Clean the spark plug. Make sure that the electrode gap and spark plug is correct, and that the correct spark plug type is the recommended or equivalent. |
| Refer to Technical data for the correct electrode gap. |
Spark plug and cylinder | The spark plug is loose. | Tighten the spark plug. |
| Engine is flooded because of repeated starts with full choke after ignition. | Remove and clean the spark plug. Put the product on its side with the spark plug hole away from you. Pull the starter rope handle 6-8 times. Assemble the spark plug and start the product. Refer to To start the product. |
The engine starts but stops again
| Product part to examine | Possible cause | Action |
| Fuel tank | Incorrect fuel type. | Drain the fuel tank and fill with correct fuel. |
| Carburetor | The idle speed is not correct. | Speak to your servicing dealer. |
| Air filter | Clogged air filter. | Clean or replace the air filter. |
| Fuel filter | Clogged fuel filter. | Replace the fuel filter. |
Transportation and storage
Transportation and storage
- For storage and transportation of the product and fuel, make sure that there are no leaks or fumes. Sparks or open flames, for example from electrical devices or boilers, can start a fire.
- Always use approved containers for storage and transportation of fuel.
- Empty the fuel and chain oil tanks before transportation or before long-term storage. Discard the fuel and chain oil at an applicable disposal location.
- Use the transportation guard on the product to prevent injuries or damage to the product. A saw chain that does not move can also cause serious injuries.
- Remove the spark plug cap from the spark plug and engage the chain brake.
- Attach the product safely during transportation.
To prepare your product for long-term storage
- Stop the product and let it become cool before youdisassemble it.
- Disassemble and clean the saw chain and thegroove in the guide bar.
![]()
If the saw chain and guide bar are not cleaned, they can become rigid or blocked. - Attach the transportation guard.
- Clean the product. Refer to Maintenance. Do a complete servicing of the product. for instructions.
- Do a complete servicing of the product.
Technical data
Technical data
| | Husqvarna T435 |
| Engine |
| Cylinder displacement, cm3 | 35.2 |
| Idle speed, rpm | 2900 |
| Maximum engine power acc. to ISO 8893, kW/hp @ rpm | 1.5/2.0@10000 |
| Ignition system [1] |
| Spark plug | NGK CMR6H |
| Electrode gap, mm | 0.65 |
| Fuel and lubrication system |
| Fuel tank capacity, liter/cm3 | 0.26/260 |
| Oil tank capacity, liter/cm3 | 0.17/170 |
| Type of oil pump | Adjustable |
| Weight |
| Weight, kg | 3.4 |
| Noise emissions |
| Sound power level, measured dB(A) | 112 |
| Sound power level, guaranteed LWA dB(A) | 114 |
| Sound levels [2] |
| Equivalent sound pressure level at the operator's ear, dB(A) | 100 |
| Equivalent vibration levels, a hveq [3] |
| Front handle, m/s2 | 4.8 |
| Rear handle, m/s2 | 3.9 |
| Saw chain/guide bar |
| Type of drive sprocket/number of teeth | 3/8"/Spur 6, 1/4"/Spur 8, 0.325''/Spur 7 |
1 Always use the recommended spark plug type. Use of the incorrect spark plug can cause damage to the piston/cylinder.
2 Equivalent sound pressure level, according to ISO 22868, is calculated as the time-weighted energy total for different sound pressure levels under various working conditions. Typical statistical dispersion for equivalent sound pressure level is a standard deviation of 1 dB (A).
3 Equivalent vibration level, according to ISO 22867, is calculated as the time-weighted energy total for vibration levels under various working conditions. Reported data for equivalent vibration level has a typical statistical dispersion (standard deviation) of 1 m/s 2 .
| | Husqvarna T435 |
| Saw chain speed at maximum engine power speed, m/s. | 19.0 |
Accessories
Recommended cutting equipment
Chainsaw model Husqvarna T435 have been evaluated for safety according to EN ISO 11681-2:2022 (Machinery for forestry - Portable chainsaws - Safety requirements and testing. Part 2: Chainsaws for tree service) and fulfill the safety requirements when equipped with the below listed guide bar and saw chain combinations.
Low kickback saw chain
A saw chain that is designated as Low kickback saw chain, meets the low kickback requirement specified in ANSI B175.1-2021.
Kickback and guide bar nose radius
| Guide bar | Saw chain |
| Length, in/cm | Pitch, in | Gauge, in/mm | Max. nose radius | Type | Length, drive links (no.) | Low kickback |
| 12/30 | 3/8 | 0.050/1.3 | 7T | Husqvarna H37 | 45 | Yes |
| 14/36 | 52 |
| 16/41 | 56 |
| 12/30 | 3/8 | 0.050/1.3 | 7T | Husqvarna H36 | 45 | |
| 14/36 | 52 |
| 16/41 | 56 |
| 10/25 | 1/4 | 0.050/1.3 | R10 | Husqvarna H00 | 60 | |
| 12/30 | 68 |
| 12/30 | 0.325 mini | 0.043/1.1 | 8T | Husqvarna SP21G | 51 | Yes |
| 14/36 | 59 |
| 16/41 | 64 |
The usable cutting length is usually 1 in less than the nominal guide bar length.
Filing equipment and filing angles
Use a Husqvarna file gauge to sharpen the saw chain. A Husqvarna file gauge makes sure that you get the correct filing angles. The part numbers are given in the table below.
If you are not sure how to identify the type of saw chain on your product, refer to www.husqvarna.com for more information.
| | | | | | |
| H36 | 5/32 in / 4.0 mm | 505 24 37-01 | 0.025 in / 0.65 mm | 30° | 80° |
| H37 | 5/32 in / 4.0 mm | 579 65 36-01 | 0.025 in / 0.65 mm | 30° | 80° |
| H00 | 5/32 in / 4.0 mm | 580 68 74-01 | 0.025 in / 0.65 mm | 30° | 85° |
| SP21G | 5/32 in / 4.0 mm | 595 00 47-01 | 0.025 in / 0.65 mm | 30° | 60° |
Documents / Resources
References
Download manual
Here you can download full pdf version of manual, it may contain additional safety instructions, warranty information, FCC rules, etc.
Download Husqvarna T435 Manual
Need help?
Do you have a question about the T435 and is the answer not in the manual?
Questions and answers