Haier 5 Series, HTW5618ENMP(UK), HTW5618EWMP(UK) Manual
![]()
Accessories
![]()
Check the accessories and literature in accordance with this list:
Intended use
This appliance is intended for cooling and freezing food. It has been designed exclusively for use in household and similar applications such as staff kitchen areas in shops, offices and other working environments; farm houses and by clients in hotels, motels and other residential type environments as well as in bed-and-breackfast and catering business. It is not intended for commercial or industrial use. Changes or modifications to the device are not allowed. Unintended use may cause hazards and loss of warranty claims.
Product description
NOTICE
Due to technical changes and different models, some of the illustrations in this manual may differ from your model.
![Haier - 5 Series - Product description - HDPW5620ANPD/HDPW5620DNPK Product description - HDPW5620ANPD/HDPW5620DNPK]()
HDPW5620ANPD(UK)
HDPW5620DNPK(UK)
HDPW5620CNPD(UK)
- Refrigerator compartment
- Wine rack
- Glass shelf
- Foldable shelf
- Humidity Zone drawer cover
- Humidity Zone drawer
- My Zone drawer cover
- My Zone drawer
- Door balcony
- Freezer compartment
- Upper freezer drawer
- Middle freezer drawer
- Lower freezer drawer
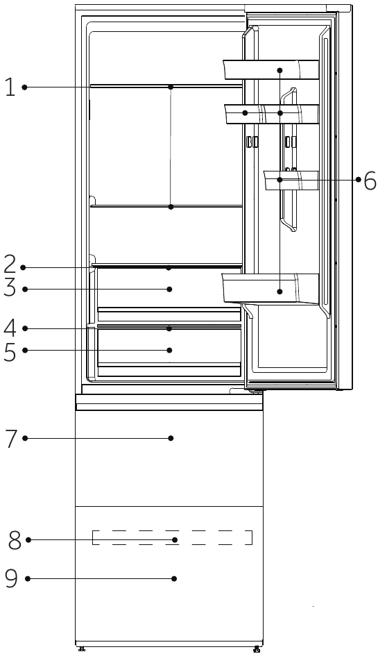
![Haier - 5 Series - Product description - HDPW5618DWPK/HDPW3618DWPK Product description - HDPW5618DWPK/HDPW3618DWPK]()
HDPW5618DWPK (UK)
- Refrigerator compartment
- Wine rack
- Foldable shelf
- Humidity Zone drawer cover
- Humidity Zone drawer
- My Zone drawer cover
- My Zone drawer
- Door balcony
- Water tank
- Freezer compartment
- Upper freezer drawer
- Middle freezer drawer
- Lower freezer drawer
HDPW3618DWPK(UK)
- Refrigerator compartment
- Glass shelf
- Glass shelf
- Glass shelf
- My Zone drawer cover
- My Zone drawer
- Door balcony
- Water tank
- Freezer compartment
- Upper freezer drawer
- Middle freezer drawer
- Lower freezer drawer
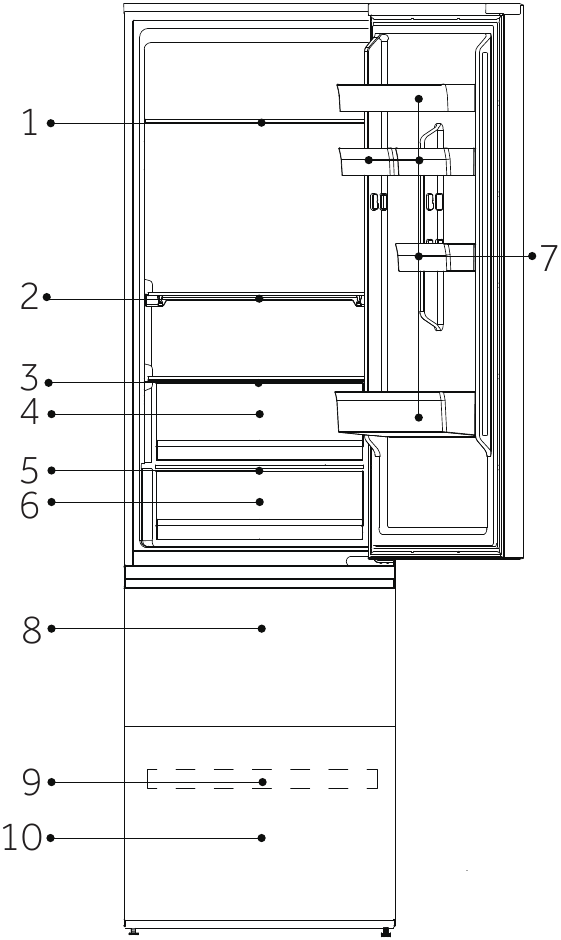
![Haier - 5 Series - Product description - HTW5618ENMP Product description - HTW5618ENMP]()
HTW5618ENMP(UK)
- Refrigerator compartment
- Wine rack
- Foldable shelf
- Humidity Zone drawer cover
- Humidity Zone drawer
- My Zone drawer cover
- My Zone drawer
- Door balcony
- Freezer compartment
- Upper freezer storage drawer
- Freezer tray
- Lower freezer storage drawer
![Haier - 5 Series - Product description - HTW5618ENMG Product description - HTW5618ENMG]()
HTW5618ENMG(UK)
- Refrigerator compartment
- Glass shelf
- Humidity Zone drawer cover
- Humidity Zone drawer
- My Zone drawer cover
- My Zone drawer
- Door balcony
- Freezer compartment
- Upper freezer storage drawer
- Freezer tray
- Lower freezer storage drawer
![Haier - 5 Series - Product description - HTW3618ENPB Product description - HTW3618ENPB]()
HTW3618ENPB(UK)
- Refrigerator compartment
- Glass shelf
- My Zone drawer cover
- My Zone drawer
- Door balcony
- Freezer compartment
- Upper freezer storage drawer
- Freezer tray
- Lower freezer storage drawer
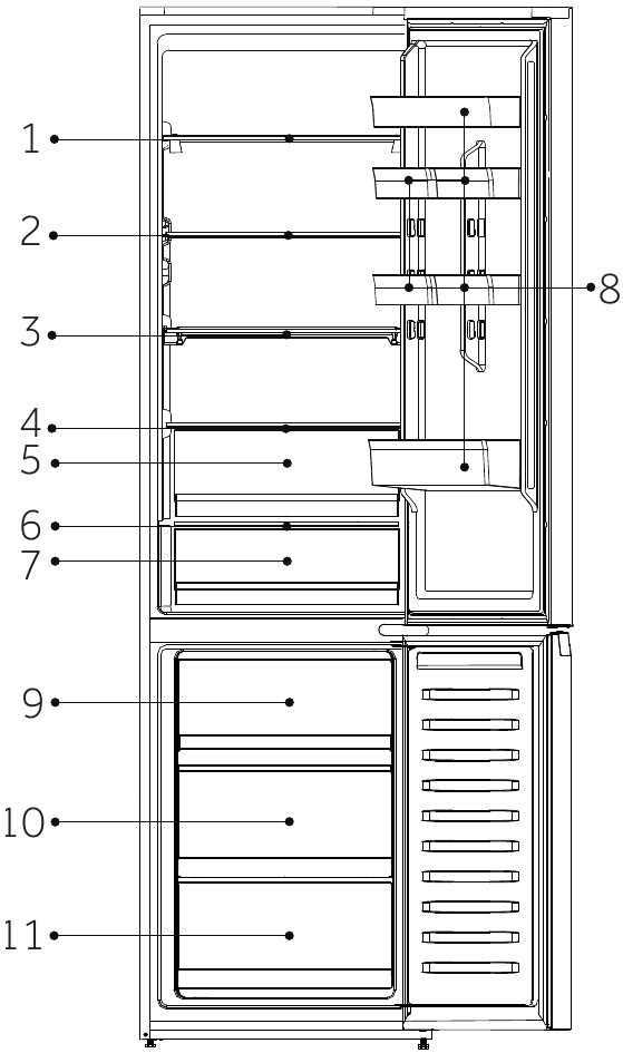
![Haier - 5 Series - Product description - HTW5618DWMG/HTW5618EWMP Product description - HTW5618DWMG/HTW5618EWMP]()
HTW5618DWMG(UK)
HTW5618EWMP(UK)
- Refrigerator compartment
- Wine rack
- Foldable shelf
- Humidity Zone drawer cover
- Humidity Zone drawer
- My Zone drawer cover
- My Zone drawer
- Door balcony
- Water tank
- Freezer compartment
- Upper freezer storage drawer
- Freezer tray
- Lower freezer storage drawer
![Haier - 5 Series - Product description - HTW3618EWPB Product description - HTW3618EWPB]()
HTW3618EWPB(UK)
- Refrigerator compartment
- Glass shelf
- My Zone drawer cover
- My Zone drawer
- Door balcony
- Water tank
- Freezer compartment
- Upper freezer storage drawer
- Freezer tray
- Lower freezer storage drawer
![Haier - 5 Series - Product description - HTW5618EWMG Product description - HTW5618EWMG]()
HTW5618EWMG(UK)
- Refrigerator compartment
- Glass Shelf
- Humidity Zone drawer cover
- Humidity Zone drawer
- My Zone drawer cover
- My Zone drawer
- Door balcony
- Water tank
- Freezer compartment
- Upper freezer storage drawer
- Freezer tray
- Lower freezer storage drawer
Control panel
![Haier - 5 Series - Control panel Control panel]()
Indicators:
- Fridge compartment
- Chill compartment (My Zone)
- Freezer compartment
- Temperature display
- Super Cool function
- Super Freeze function
- Holiday function
- Eco Mode function
- Wi-Fi function
Buttons:
K1 Decrease temperature
K2 Fridge, My Zone and Freezer selection
K3 Super Cool function on/off
K4 Super Freeze function on/off
K5 Holiday function on/off
K6 Eco Mode function on/off
K7 Wi-Fi function on/off
K8 Increase temperature
Before first use
- Remove all packaging materials, keep them out of children's reach and dispose them in an environmentally friendly manner.
- Clean the inside and outside of the appliance with water and a mild detergent before putting any food in it.
- After the appliance has been levelled and cleaned, wait for at least 2-5 hours before connecting it to the power supply. See Section INSTALLATION.
- Precool the compartments at high settings before loading with food. The function Power- Freeze helps to cool down the compartments quickly.
- The refrigerator temperature and freezer temperature are automatically set to 5°C and -18°C respectively. These are the recommended settings. If desired, you can change these temperatures manually. Please see ADJUST THE TEMPERATURE.
Use
Switch on/off the appliance
The appliance is in operation as soon as it is connected to the power supply.
When the appliance is powered on for the first time, temperature indicators "D" shows the presetting values (refer to the below Notice).
NOTICE
The appliance is preset to the recommended temperature of 5℃ (refrigerator) and -18℃(freezer). My Zone temperature is preset to about 2℃. These are the recommended settings. If desired, you can change these temperatures manually..
Door opening alarm
When the refrigerator door is open for more than 3 minutes, the door opening alarm will sound.
The alarm can be silenced by closing the door. If the door is open for more than 7 minutes, the light inside the refrigerator and control panel illumination will automatically turn off.
![]()
Adjust the temperature
The indoor temperatures are influenced by the following factors:
Ambient temperature
Frequency of door opening
Amount of stored foods
Installation of the appliance
Adjust the temperature for fridge
- Press the button "K2" (Fridge/ (My Zone)/ Freezer selection) to select the Fridge compartment. Icon "A" (Fridge compartment) and "D" (Temperature display) are bright.
- Press the button "K1/K8" to set the fridge temperature.
The temperature increases in sequences of 1°C, from a minimum of 2°C to a maximum of 8°C. The optimal temperature in the refrigerator is 5°C.Colder temperatures mean unnecessary energy consumption. - After about 5s, temperature icon "D" (Temperature display) will be bright permanently and the setting is confirmed.
Adjust the temperature for freezer
- Press the button "K2" (Fridge/ (My Zone)/ Freezer selection) to select the freezer compartment°C icon "C" (Freezer compartment) and "D" (Temperature display) are bright.
- Press the button "K1/K8" to set the freezer temperature.
The temperature increases in sequences of 1°C, from a minimum of -24°C to a maximum of -16°C. The optimal temperature in the refrigerator is -18. Colder temperatures mean unnecessary energy consumption. - After about 5s, temperature indicator "D" (Temperature display) will be bright permanently and the setting is confirmed
Adjust the temperature for My Zone
The fridge compartment is equipped with a My Zone drawer. In accordance with the food storage demands, the most suitable temperature can be selected to get the optimal nutritional value of the foods.
- Press the button "K2" (Fridge/ (My Zone)/ Freezer selection) to select the My Zone compartment. Icon "B" (My Zone compartment) and "D" (Temperature display) are bright.
- Press the button "K1/K8" to set the My Zone temperature.
The temperature increases in sequences of 1°C, from a minimum of 0°C to a maximum of 5°C. - After about 5s, temperature icon "D" (Temperature display) will be bright permanently and the setting is confirmed.
NOTICE
From the App it is possible to customize the temperature for fridge, freezer and My Zone. The temperature can be set with 1°C sensitivity.
NOTICE
- You can set the temperature of the My Zone compartment in the middle level (2°C), in order to preserve your food in the optimal storage environment.
- Due to different water contents of meat, some meat with higher moisture will be frozen at temperatures lower than 0°C, so "immediately cut" meat should be stored in My Zone drawer, with minimum temperature 0°C.
- Cold-sensitive fruit like pineapples, avocados, bananas, grapefruits and vegetables such as potatoes, aubergines, beans, cucumbers, zucchini and tomatoes and cheese should not be stored in the My Zone drawer.
- If the fridge temperature lower than My Zone temperature, it is normal the My Zone temperature lower than the My Zone setting temperature
NOTICE
After setting the temperature, if other buttons are pressed within 5 seconds, the current temperature setting will be confirmed immediately. If no button operation is performed within 5 seconds, the current set temperature is displayed until the screen extinguishes
Super Cool function
- It is suggested to switch on the Super Cool function if larger quantity of food should be stored (for example after the purchase). The Super Cool function accelerates the cooling of fresh food and protects the food already stored from undesirable warming.
- Press button "K3" or turn it on from the App, icon "E" (Super Cool function) is bright and the function is activated.
NOTICE
- The appliance quits "Super Cool function" after entering "Super Cool function" for 6 hours or pressing button "K3" when the icon "E" (Super Cool function) is bright or turn it off from the App.
- In the state of Super Cool, if the temperature of the fridge compartment is adjusted, icon "E" (Super Cool function) flashes to indicate that this operation cannot be done
Super Freeze function
- Fresh food should be frozen as quickly as possible to the core. This can preserve the best nutritional value, appearance and taste. The Super Freeze function accelerates the freezing of fresh food and protects the food already stored from undesirable warming. If you need to freeze a large amount of food at once, it is recommended to set the Super Freeze function on ahead for 24h before the usage of frozen room.
- Press button "K4" (Super Freeze function setting) or turn it on from the App, the icon "F" (Super Freezer function) is bright and the function is activated.
NOTICE
- The appliance quits "Super Freeze function" after entering "Super Freeze function" for 50 hours or pressing button "K4" when the icon "F" (Super Freeze function) is bright or turn it off from the App.
- In the state of Super Freeze, if the temperature of the freezer compartment is adjusted, icon "F" (Super Freezer function) flashes to indicate that this operation cannot be done
Holiday function
The Holiday function can be used to reduce the energy consumption of the appliance, when it is not used regularly. When the function is on, the fridge is turned off, whereas the freezer will keep working normally. The function sets the fridge temperature permanently to 17°C.
This allows to keep the door of the empty refrigerator closed without causing an odour or mold-during a long absence (e.g. during holiday). The freezer compartment is free for your setting.
- Press button "K5" (Holiday function on/off) or select the function from the App, the icon "G" (Holiday function) is bright and the function is activated.
- The function can be deactivated by pressing button "K5" (Holiday function on/off) again or by setting the fridge temperature or by performing any other setting, or turning it off from the App.
NOTICE
- During the Holiday function, no food should be stored in the fridge compartment. The temperature of 17°C is too high for storing food.
- When Holiady function is on, My Zone icon keeps off and fridge function is locked. If the temperature of the fridge compartment is adjusted, icon "G" (Holiday function) flashes to indicate that this operation cannot be done
Eco Mode function
The Eco Mode can be activated to optimize the performance of the appliance, whereas obtaining the best food storage. If you do not have any special requirements, we recommend that you use Eco Mode function.
This mode the fridge temperature is 5°C, the freezer temperature is -18°C.
- Press button "K6" (Eco Mode function on/off) or select the function from the App.
- Icon "H" (Eco Mode function) is bright and the function is activated.
By repeating the above steps or selecting another function or turning off from the App, this function can be switched off again. The previously set cooling levels are restored.
NOTICE
During the Eco Mode function, if the temperature of the fridge/freezer compartment are adjusted, icon "H" (Eco Mode function) flashes to indicate that this operation cannot be done
- Download the hOn-App from the stores.
![play.google.com]()
![www.apple.com]()
![]()
- Create your account in the hOn-App or log in if you already have an account.
![]()
- Follow pairing instructions in the hOn-App.
![]()
Wi-Fi function
- Follow in App instructions to configure the Wi-Fi.
- Once the Wi-Fi is configured and the connection established, the Wi-Fi icon "I" is bright and fixed.
- If the Wi-Fi has already been configured, it will automatically reconnect according to the configuration information if turns on the Wi-Fi.
NOTICE
- To turn off the Wi-Fi, press Wi-Fi button "K7"and the Wi-Fi icon "I" turns off.
- To turn on the Wi-Fi and start the configuration, press Wi-Fi button "K7" and the Wi-Fi icon "I" starts flashing slowly. If want to configure Wi-Fi function, press the button "K7" for 3 sec, the Wi-Fi icon flashes quickly and enters the configuration mode. If want to turn off the Wi-Fi function, press button "K7" once. The above steps are repeated.
- If the product has been configured and the Wi-Fi function was turn off, the refrigerator will not enter the configuration mode after reconnecting the power.
NOTICE
- This product is not intended for commercial use.
- The Max RF Output Power: 2.4 GHz Wi-Fi: 16dBm;
- Bluetooth LE:5dBm; Bluetooth(BR/EDR):10dBm.
- Frequency band of operation: 2400-2483.5 MHz.
Storing into the refrigerator compartment
- Keep your fridge temperature below 5°C.
- Hot food must be cooled to room temperature before storing in the appliance.
- Foods stored in the refrigerator should be washed and dried before storing.
- Food to be stored should be properly sealed to avoid odor or taste alterations.
- Do not store excessive quantities of food. Leave spaces between foods to allow cold air flowing around them, for a better and more homogeneous cooling.
- Foods eaten daily should be stored at the front of the shelf.
- Leave a gap between foods and the inner walls, allowing air flowing. In any way, don't store foods against the rear wall: foods could freeze against the rear wall. Avoid direct contact of food (especially oily or acidic food) with the inner liner, as oil/acid can erode the inner liner. Clean away oily/acid dirt whenever it is found.
- Frozen food can be gently defrizzed in the refrigerator compartment. This saves energy.
- The ageing process of fruit and vegetables such as courgettis, melons, papaya, bananas, pineapples, etc. can be accelerated in the refrigerator. Therefore, it is not recommended to store them in the refrigerator. However, the ripening of strongly green fruits can be promoted for a certain period. Onions, garlic, ginger and other root vegetables should also be stored at room temperature.
- Unpleasant odours inside the fridge are a sign that something has spilled and cleaning is required. See Care And Cleaning.
- Different foods should be placed in different areas according to their properties.
Storage into the freezer compartment
- Keep the freezer temperature at- 18°C.
- 24 hours before freezing, switch on the Super-Freeze function. For little quantities of food, 4-6 hours are sufficient.
- Hot food must be cooled to room temperature before storing in the freezer compartment.
- Food cut into small portions will freeze faster and be easier to defrost and cook. The recommended weight for each portion is less than 2.5 kg
- It is better to pack food before putting it into the freezer. The outside of the packaging must be dry to avoid bags sticking together. Packaging materials should be odour-free, airtight, non-poisonous and nontoxic.
- In order to avoid expiration of storage periods, please note the freezing date, time limit and name of the food on the packaging according to the storage periods of different foods.
![]()
- Acid, alkali and salt etc. could erode the internal surface of the freezer.
- Do not place the food with these substances (e.g. sea fish) directly on the internal surface. Salt water in the freezer should be cleaned up immediately.
- Do not exceed the food storage time recommended by the manufacturers. Only take the required amount of food out of the freezer.
- Consume defrosted food quickly. Defrosted food cannot be re-frozen unless it is first cooked, otherwise it may be less edible.
- Do not load excessive quantities of fresh food in the freezer compartment. Refer to the freezing capacity of the freezer - See TECHNICAL DATA or data at the type plate.
- Food can be stored in the freezer at a temperature of at least -18°C for 2 to 12 months, depending on its properties (e.g. meat: 3-12 months, vegetables: 6-12 months)
- While freezing fresh food, avoid bringing them in contact with already frozen food. Risk of thawing!
When storing commercially frozen foods, please follow these guidelines:
- Always follow manufacturers' guidelines for the length of time you should store food for. Do not exceed these guidelines!
- Try to keep the length of time between purchase and storage as short as possible to preserve food quality.
- Buy frozen food, which have been stored at a temperature of -18°C or below.
- Avoid buying food which has ice or frost on the packaging - This indicates that the products might have been partially defrosted and refrozen at some point temperature rising affects the quality of food.
Water dispenser
With the water dispenser cool drinking water can be tapped.
The water tank should be cleaned before first use (see CARE AND CLEANING).
Filling the water tank
![]()
- Ensure that the water tank is properly inserted (see EQUIPMENT)。
- Rotate and lift the round lid (A) and pour fresh drinking water into the water tank.
- Fill water only up to the mark (2.5 L); as it could overflow when the door opens and closes.
- Close the round lid (A) until it clicks into place.
![]()
Use drinking water only.
NOTICE
- When you don't need water for a long time, please empty the water tank and insert the cleaned tank.
- The cover (C) on the water tank is additionally used to save energy and insulation, please still install the cover even if you don't want to use the water dispenser for a long period.
Equipment
NOTICE
Due to different models, your product may not have all of the following features. Please refer to chapter Product Description.
Multi-air-flow
The refrigerator is equipped with a multi-air-flow system, with which cool air flows are located on every shelf level. This helps to maintain a uniform temperature to ensure that your food is kept fresher for longer.
Adjustable shelves
- The height of the shelves can be adjusted to fit your storage needs.
- To relocate a shelf, remove it first by uplifting its hind edge
and pulling it out
.
![]()
- To reinstall it, put it on the lugs on both sides and push it to the most rearward position until the rear of the shelf is fixed inside the slots in the sides
Removable door racks/bottle holder
- The door racks can be removed for cleaning:
- Place hands on each side of the rack, lift it upwards
and pull it out
.
- In order to insert the door rack, the above steps are carried out in reverse order.
My Zone drawer
For using and setting the My Zone compartment, please check section USE (My Zone).
![Haier - 5 Series - Equipment - My Zone drawer Equipment - My Zone drawer]()
Humidity Zone drawer
In this compartment the humidity level is controlled automatically by the system and it is suitable to store fruits, vegetables, salads etc.
![Haier - 5 Series - Equipment - Humidity Zone drawer Equipment - Humidity Zone drawer]()
Removable drawer
![Haier - 5 Series - Equipment - Removing the drawer Equipment - Removing the drawer]()
To remove the drawer out of the fridge or freezer compartment, pull out to the maximum extent (1), lift and remove (2).
In order to insert the drawer, the above steps are carried out in a reverse order.
Freezer drawer
The freezer drawer can be extended straightly and completely. They are mounted on easy roll telescopic rail. So that you can store and remove the freezing good comfortably. Because of the automatic door closing mechanism, the handing is easy and you can save energy.
![]()
Do not overload the drawers: Maximum load of each drawer: 35kg!
The Light
The LED interior light comes on when the door is open. The performance of the lights is not affected by any other appliances settings.
Foldable shelf
The foldable shelf will allow the user to put high bottles or items on the shelves. The shelf can be folded at the back and the available space of the lower shelf will be larger. The shelf can be folded following Step 1~3. If want to return to the original location, reverse the following procedures.
- Push the front of the shelf slowly to the end.
![]()
- Push the shelf upward slowly to its vertical location.
![]()
- The shelf is vertical. It will save space.
Foldable wine rack
![Haier - 5 Series - Equipment - Using the Foldable wine rack Equipment - Using the Foldable wine rack]()
For normal use
- Pull down the brackets of the wine rack
- Fit the bottles into the rack
When not use, the wine rack can be folded back in order to save space.
NOTICE
- Make sure the spout is firmly screwed to the water tank and the white O-ring (C) is in position.
- If the water tank is not properly inserted, water can drip from the connection.
- Do not use excessive force when removing or installing the water tank, to avoid damaging the tank
Water tank
Remove water tank
The water tank can be removed and reinstalled for cleaning in the same way as the door racks.
![Haier - 5 Series - Equipment - Removing the water tank Equipment - Removing the water tank]()
Insert water tank
- Make sure the dispenser spout (B) is firmly screwed to the water tank and the white O-ring (C) is in position.
![]()
- Place the water tank in the position that the dispenser spout (B) fits into the opening of the door (D).
![]()
NOTICE
- Make sure the spout is firmly screwed to the water tank and the white O-ring (C) is in position.
- If the water tank is not properly inserted, wate can drip from the connection.
- Do not use excessive force when removing or installing the water tank, to avoid damaging the tank.
Energy saving tips
- Make sure the appliance is properly ventilated (see INSTALLATION).
- Do not install the appliance in direct sunlight or in the near of heat sources (e.g. stoves, heaters).
- Avoid unnecessarily low temperature in the appliance. The energy consumption increases the lower the temperature in the appliance is set.
- Functions like POWER- FREEZE consume more energy.
- Allow warm food to cool down before placing it in the appliance.
- Open the appliance door as little and as briefly as possible.
- Do not overfill the appliance to avoid obstructing the air flow.
- Avoid air within the food packaging.
- Keep door seals clean so that the door always closes correctly.
- Defreeze frozen food in the fridge storage compartment.
- The most energy-saving configuration requires the appliance keep drawers, food box and shelves on factory-fresh condition, and food should be places as far as possible without blocking the air outlet of the duct.
Care and cleaning
![]()
Disconnect the appliance from the power supply before cleaning.
Cleaning
Clean the appliance when only little or no food is stored.
The appliance should be cleaned every four weeks for good maintenance and to prevent bad stored food odors.
![]()
- Do not clean the appliance with hard brushes, wire brushes, detergent powder, petrol, amyl acetate, acetone and similar organic solutions, acid or alkaline solutions. Please clean with special refrigerator detergent to avoid damage.
- Do not spray or flush the appliance during cleaning.
- Do not use water spray or steam to clean the appliance.
- Do not clean the cold glass shelves with hot water. Sudden temperature change may cause the glass to break.
- Do not touch the inside surface of the freezer storage compartment, especially with wet hands, as your hands may freeze onto the surface.
- In case of heating check the condition of frozen goods.
- Always keep the door gasket clean.
- Clean the inside and housing of the appliance with a sponge dampened in warm water and neutral detergent.
- Please scrub the interior and exterior of the refrigerator, including door sealing, door rack, glass shelves, boxes and so on, with a soft towel or sponge dipped in warm water (you may add neutral detergent into the warm water).
- If there is liquid spilled, remove all the contaminated parts, directly rinse with the flow water, dry and place it back into the fridge.
- If there is spilled cream (such as the cream, melting ice cream), please re move all the contaminated parts, put into the warm water with about 40°C for some time, then rinse with the flow water, dry and place it back into the fridge.
- In case some small part or component gets stuck inside of the fridge (bet ween shelves or drawers), use small soft brush to release it. If you could not reach the part, please contact Haier service
- Rinse and dry with soft cloth.
- Do not clean any of the parts of the appliance in a dishwasher.
- Allow at least 5 minutes before restarting the appliance as frequent starting may damage the compressor.
Defrosting
The defrosting of the refrigerator and the freezer compartment are done automatically; no manual operation is needed.
Replacing the LED-lamps
![]()
Do not replace the LED lamp yourself, it must only be replaced by either the manufacturer or the authorised service agent.
The lamps adopts LED as its light source, featuring low energy consumption and long service life. If there is any abnormality, please contact the customer service. See CUSTOMER SERVICE.
Parameters of the lamps:
Refrigerator compartment: 12 V max 1.5 W
Non-use for a longer period
If the appliance is not used for an extended period of time, and you will not use the Holiday-function for the refrigerator:
Take out the food.
Unplug the power cord.
Clean the appliance as described above.
Keep the doors open to prevent the creation of bad odours inside.
NOTICE
Turn the appliance off only if strictly necessary.
Moving the appliance
- Remove all food and unplug the appliance.
- Secure shelves and other moveable parts in the fridge and the freezer with adhesive tape.
- Do not tilt the refrigerator more than 45° to avoid damaging the refrigerating system.
![]()
- Do not lift the appliance by its handles.
- Never place the appliance horizontally on the ground.
Troubleshooting
Many occuring problems could be solved by yourself without specific expertise. In case of a problem please check all shown possibilities and follow below instructions before you contact an after sales service. See CUSTOMER SERVICE.
![]()
- Before maintenance, deactivate the appliance and disconnect the mains plug from the mains socket.
- Electrical equipment should be serviced only by qualified electrical experts, because improper repairs can cause considerable consequential damages.
- A damaged supply should only be replaced by the manufacturer, its service agent or similarly qualified persons in order to avoid a hazard.
| Problem | Possible Cause | Possible Solution |
| The compressor does not work. | - Mains plug is not connected in the mains socket.
- The appliance is in the defrosting cycle
| - Connect the mains plug.
- This is normal for an automatic defrosting
|
| The appliance runs frequently or runs for a too long period of time. | - The indoor or outdoor temperature is too high.
- The appliance has been off power for a period of time.
- A door of the appliance is not tightly closed.
- The door has been opened too frequently or for too long.
- The temperature setting for the freezer compartment is too low.
- The door gasket is dirty, worn, cracked or mismatched.
- The required air circulation is not guaranteed.
| - In this case, it is normal for the appliance to run longer.
- Normally, it takes 8 to 12 hours for the appliance to cool down completely.
- Close the door/drawer and ensure the appliance is located on a level ground and there is no food or container jarring the door.
- Do not open the door/drawer too frequently.
- Set the temperature higher until a satisfactory refrigerator temperature is obtained. It takes 24 hours for the refrigerator temperature to become stable.
- Clean the door/drawer gasket or replace them by the customer service.
- Ensure adequate ventilation.
|
| The inside of the refrigerator is dirty and/or smells. | - The inside of the refrigerator needs cleaning.
- Food of strong odour is stored in the refrigerator.
| - Clean the inside of the refrigerator.
- Wrap the food thoroughly..
|
| It is not cold enough inside the appliance. | - The temperature is set too high.
- Too warm goods has been stored.
- Too much food has been stored at one time.
- The goods are too close to each other.
- A door/drawer of the appliance is not tightly closed.
- The door/drawer has been opened too frequently or for too long.
| - Reset the temperature.
- Always cool down goods before storing them.
- Always store small quantities of food.
- Leave a gap between several foods allowing air flowing.
- Close the door/drawer.
- Do not open the door/drawer too frequently.
|
| It is too cold inside the appliance. | - The temperature is set too low.
- The Super-Frz/Super-Coolf unction is activated or is running too long.
| - Reset the temperature.
- Switch off the Super-Frz/Super-Cool function
|
| Moisture formation on the inside of the refrigerator compartment. | - The climate is too warm and too damp.
- A door/drawer of the appliance is not tightly closed.
- The door/drawer has been opened too frequently or for too long.
- Food containers or liquids are left open.
| - Increase the temperature.
- Close the door/drawer.
- Do not open the door/drawer too frequently.
- Let hot foods cool to room temperature and cover foods and liquids.
|
| Moisture accumulates on the refrigerators outside surface or between the doors/door and drawer. | - The climate is too warm and too damp.
- The door is not closed tightly. The cold air in the appliance and the warm air outside it condensates.
| - This is normal in damp climate and will change when the humidity decreases.
- Ensure that he door/drawer is tightly shut.
|
| Strong ice and frost in the freezer compartment. | - The goods were not adequately packaged.
- A door/drawer of the appliance is not tightly closed.
- The door/drawer has been opened too frequently or for too long.
- The door/drawer gasket is dirty, worn, cracked or mismatched.
- Something on the inside prevents the door/drawer to close properly.
| - Always pack the goods well.
- Close the door/drawer.
- Do not open the door/drawer too frequently.
- Clean the door/drawer gasket or replace them by new ones.
- Reposition the shelves, door racks, or internal containers to allow the door/drawer to close.
|
| The sides of the cabinet and door strip get warm. | | |
| The appliance makes abnormal sounds. | - The appliance is not located on level ground.
- The appliance touches some object around it.
| - Adjust the feet to level the appliance.
- Remove objects around the appliance.
|
| As light sound is to be heard similar to that of flowing water. | | |
| You will hear an alarm beep. | - The fridge storage compartment door is open.
| |
| You will hear a faint hum. | - The anti-condensation system is working
| - This prevents condensation and is normal
|
| The interior lighting or cooling system does not work. | - Mains plug is not connected in the mains socket.
- The power supply is not intact.
- The LED-lamp is out of order.
| - Connect the mains plug.
- Check the electrical supply to the room. Call the local electricity company!
- Please call the service for changing the lamp.
|
| Water leaking or dripping from the water dispenser spout. | - The water tank is not installed correctly
- The water dispenser spout is not screwed tight to the tank.
- The white silicon O ring is missing from the water spout.
| - Refit the water tank into the fridge door, ensure it is pushed fully into the door.
- The water spout is screwed in firmly to the water tank.
- Check the water spout has a white silicon O ring at the tank end before fitting the water spout to the water tank.
|
To contact the technical assistance, visit our website: https://corporate.haier-europe.com/en/
Under the section "website", choose the brand of your product and your country. You will be redirected to the specific website where you can find the telephone number and form to contact the technical assistance.
Power interruption
In the event of a power cut, food should remain safely cold for about 5 hours. Follow these tips during a prolonged power interruption, especially in summer:
- Open the door/drawer as few times as possible.
- Do not put additional food into the appliance during a power interruption.
- If prior notice of a power interruption is given and the interruption duration is longer than 5 hours, make some ice and put it in a container in the top of the refrigerator compartment.
- An inspection of the goods is required immediately after the interruption.
- As temperature in the refrigerator will rise during a power interruption or other failure, the storage period and edible quality of food will be reduced. Any food that defrosts should be either consumed, or cooked and refrozen (where suitable) soon afterwards in order to prevent health risks.
Memory function during power interruption
After restoration of power the appliance continues with the settings that were set before the power failure.
Installation
Unpacking
![]()
- The appliance is heavy. Always handle with at least two persons.
- Keep all packaging materials out of children´s reach and dispose them in an environmentally friendly manner.
- Take the appliance out of the packaging.
- Remove all packaging materials.
Environmental conditions
The room temperature should always be between 10°C and 43°C, since it can influence the temperature inside the appliance and its energy consumption. Do not install the appliance near other heat-emitting appliances (ovens, refrigerators) without isolation.
Space requirement
Required space when door is opened.
![Haier - 5 Series - Installation - Space requirement Installation - Space requirement]()
Ventilaton cross-section
To achieve sufficient ventilation of the appliance for safety reasons, the information of the required ventilation cross sections must be observed.
![Haier - 5 Series - Installation - Required ventilation cross sections Installation - Required ventilation cross sections]()
Aligning the appliance
The appliance should be placed on a flat and solid surface.
- Tilt the refrigerator slightly backwards.
![]()
- Set the feet to the desired level.
Make sure the distance to the wall on the hinge side is at least 100 mm for the door to open properly.
- The stability can be checked by alternately bumping on the diagonals. The slightly swaying should be the same in both directions. Otherwise the frame can warp; possible leaking door seals are the result. A low tendency to the rear facilitates the closing of the doors.
![]()
NOTICE
For a free standing appliance: this refrigerating appliance is not intended to be used as a built-in appliance
Waiting time
To the maintenance-free lubrication oil is located in the capsule of the compressor. This oil can get through the closed pipe system during slanting transport. Before connecting the appliance to the power supply you have to wait at least 2 hours so that the oil runs back into the capsule.
![]()
Electrical connection
Before each connection check if:
- power supply, socket and fusing are appropriate to the rating plate.
- the power socket is earthed and no multi-plug or extension.
- the power plug and socket are strictly according.
Connect the plug to a properly installed household socket.
![]()
To avoid risks a damaged power cord must be replaced by the customer service (see warranty card).
Door Reversibility
Before connecting the appliance to the power supply, you should check whether the door swing must be changed from right (as delivered) to left, if this is required by the installation location and the usability.
![]()
- The appliance is heavy. You need two persons to carry out the door reversibility.
- Before any operation, first unplug the appliance from the mains
- Do not tilt the appliance more than 45°C to prevent damage of the refrigeration system.
Assembly steps
- Provide necessary tool.
![]()
- Unplug the appliance.
![]()
- Remove the upper hinge cover 1 and unscrew the upper hinge (three screws) on right side 2.
![]()
- Unplug the connection cable
![]()
- Lift the loose refrigerator door carefully off the middle hinge.
![]()
- Remove the middle hinge.
![]()
- Remove the small cover of the front panel from left to right side.
![]()
- Turn the door upside down and unscrew the cover (1). Take out the new cover (2) from the necessary bag and screw them to opposite side.
![]()
- Change the positions of the blanking plugs and the screw on the side.
![]()
- Screw the middle hinge to the left side of the appliance. Pay attention to inverting the pivot of the middle hinge, ensuring that the side with the gasket is facing upwards
![]()
- Lift the upper door carefully on the middle hinge. And be sure the pivot fits into the hinge barrel of the lower door.
![]()
- Take out the new upper hinge and hinge cover from the accessary bag. Put the connection cable through the upper hinge and fix the upper hinge with three screws on left side of appliance. And the put the hinge cover over the hinge.
![]()
- Plug in the connection cable.
![]()
- Replace front panel and fix it with five screws.
After the change of the door, check if the door seals are located properly on the housing and all screws are tightened well.
Ambient temperatures
Extended temperate: this refrigerating appliance is intended to be used at ambient temperatures ranging from 10°C to 32°C
Temperate: this refrigerating appliance is intended to be used at ambient temperatures ranging from 16°C to 32°C;
Subtropical: this refrigerating appliance is intended to be used at ambient temperatures ranging from 16°C to 38°C;
Tropical: "this refrigerating appliance is intended to be used at ambient temperatures ranging from 16°C to 43°C.
Technical data
Product parameters according to regulation (EU)2019/2016
Based on standard test results for 24 hours. Actual energy consumption will depend on how the appliance is used and where it is located
| Model | HTW5618DWMG(UK) | HTW5618ENMP(UK) HTW5618ENMG(UK) HTW3618ENPB(UK) | HTW5618EWMP(UK) HTW5618EWMG(UK) HTW3618EWPB(UK) | HDPW3618DNPK(UK) |
| Type of refrigerating appliance | Refrigerator-freezer | Refrigerator-freezer | Refrigerator-freezer | Refrigerator-freezer |
| Energy efficiency class | D | E | E | D |
| Annual energy consumption (kWh/annum) | 216 | 271 | 270 | 214 |
| Volume Refrigerator compartment(L) | 198 | 201 | 198 | 201 |
| Volume Freezer compartment(L) | 125 | 125 | 125 | 117 |
| Volume Chill compartment(L) | 34 | 34 | 34 | 34 |
| Freezing Class | 4-star | 4-star | 4-star | 4-star |
| Defrosting type | Auto-defrost | Auto-defrost | Auto-defrost | Auto-defrost |
| Temperature rise time(h) | 13 | 11 | 11 | 13 |
| Freezing capacity(kg/24h) | 10.0 | 10.0 | 10.0 | 10.0 |
| Climate class | SN.N.ST.T | SN.N.ST.T | SN.N.ST.T | SN.N.ST.T |
| Noise emission class and airborne acoustical noise emissions (dB(A) re 1 pW) | B(35) | B(35) | B(35) | B(35) |
| Model | HDPW5618DWPK(UK) | HDPW5620ANPD(UK) | HDPW5620DNPK(UK) | HDPW5620CNPD(UK) |
| Type of refrigerating appliance | Refrigerator-freezer | Refrigerator-freezer | Refrigerator-freezer | Refrigerator-freezer |
| Energy efficiency class | D | A | D | C |
| Annual energy consumption (kWh/annum) | 214 | 114 | 220 | 176 |
| Volume Refrigerator compartment(L) | 198 | 255 | 255 | 255 |
| Volume Freezer compartment(L) | 117 | 120 | 117 | 117 |
| Volume Chill compartment(L) | 34 | 34 | 34 | 34 |
| Freezing Class | 4-star | 4-star | 4-star | 4-star |
| Defrosting type | Auto-defrost | Auto-defrost | Auto-defrost | Auto-defrost |
| Temperature rise time(h) | 13 | 16 | 13 | 13 |
| Freezing capacity(kg/24h) | 10.0 | 10.0 | 10.0 | 10.0 |
| Climate class | SN.N.ST.T | SN.N.ST.T | SN.N.ST.T | SN.N.ST.T |
| Noise emission class and airborne acoustical noise emissions (dB(A) re 1 pW) | B(35) | B(35) | B(35) | B(35) |
Explanations:
- Based on the results of the standards conformance test over 24 hours. The actual consumption depends on the use and the location of the appliance.
- Climate rating SN: This appliance is intended for use in an ambient temperature of between +10°C and +32°C
Climate rating N: This appliance is intended for use in an ambient temperature of between +16°C and +32°C
Climate rating ST: This appliance is intended for use in an ambient temperature of between +16°C and +38°C
Climate rating T: This appliance is intended for use in an ambient temperature of between +16°C and +43°C
| Additional technical data |
| Model | HTW5618ENMP(UK) HTW5618ENMG(UK) HTW3618ENPB(UK) | HTW5618DWMG(UK) HTW5618EWMP(UK) HTW5618EWMG(UK) HTW3618EWPB(UK) | HDPW5620CNPD(UK) |
| Total volume(L) | 360 | 357 | 406 |
| Voltage/Frequency | 220~240V/50Hz | 220~240V/50Hz | 220~240V/50Hz |
| Rated current(A) | 1.4 | 1.4 | 1.4 |
| Main fuse(A) | 16 | 16 | 15 |
| Refrigerant | R600a(53g) | R600a(53g) | R600a(53g) |
Dimensions (W/D/H in mm) | 595*667*1850 | 595*667*1850 | 595*667*2050 |
| Model | HDPW5618DWPK(UK) | HDPW5620ANPD(UK) | HDPW5620CNPD(UK) |
| Total volume(L) | 349 | 409 | 406 |
| Voltage/Frequency | 220~240V/50Hz | 220~240V/50Hz | 220~240V/50Hz |
| Rated current(A) | 1.4 | 1.4 | 1.4 |
| Main fuse(A) | 16 | 15 | 16 |
| Refrigerant | R600a(53g) | R600a(50g) | R600a(53g) |
Dimensions (W/D/H in mm) | 595*667*1850 | 595*667*2050 | 595*667*2050 |
| Model | HDPW3618DNPK(UK) | | |
| Total volume(L) | 352 | | |
| Voltage/Frequency | 220~240V/50Hz | | |
| Rated current(A) | 1.4 | | |
| Main fuse(A) | 16 | | |
| Refrigerant | R600a(53g) | | |
Dimensions (W/D/H in mm) | 595*667*1850 | | |
![]() | Important Safety information |
NOTICE | General information and tips |
![]()
Risk of injury or suffocation
Refrigerants and gases must be disposed of professionally. Ensure that the tubing of the refrigerant circuit is not damaged before being properly disposed of it.
Disconnect the appliance from the mains supply. Cut off the mains cable and dispose of it. Remove the trays and drawers as well as the door catch and seals, to prevent children and pets to get closed in the appliance.
![burn hazard]()
![]()
![burn hazard]()
Risk of fire/flammable material
The symbol indicates there is a risk of fire since flammable materials are used. Take care to avoid causing a fire by igniting flammable material.
Before switching on the appliance for the first time read the following safety hints:
![]()
Before first use
- Make sure there is no transport damage.
- Remove all packaging and keep out of children´s reach.
- Wait at least two hours before installing the appliance in order to ensure the refrigerant circuit is fully efficient.
- Handle the appliance always with at least two persons because it is heavy.
Installation
- The appliance should be placed in a well-ventilated place. Ensure a space of at least 10 cm above and around the appliance.
- Never place the appliance in a damp area or location where it might be splashed with water. Clean and dry water splashes and stains with a soft clean cloth.
- Do not install the appliance in direct sunlight or in the near of heat sources(e.g. stoves, heaters).
- Install and level the appliance in an area suitable for its size and use.
- Keep ventilation openings in the appliance or in the in-built structure clear of obstruction.
- Make sure that the electrical information on the rating plate agrees with the power supply. If it does not, contact an electrician.
- The appliance is operated by a 220-240 VAC/50 Hz power supply. Abnormal voltage fluctuation may cause the appliance to fail to start, or damage to the temperature control or compressor, or there may be an abnormal noise when operating. In such case, an automatic regulator shall be mounted.
- Do not use multi-plug adapters and extension cables.
- Do not locate multiple portable socket-outlets or portable power supplies at the rear of the appliance.
- Ensure that the power cable is not trapped by the refrigerator. Do not step on the power cable.
- Use a separate earthed socket for the power supply which is easy accessible. The appliance must be earthed.
Only for UK: The appliance's power cable is fitted with 3-cord (grounding) plug that fits a standard 3-cord (grounded) socket. Never cut off or dismount the third pin (grounding). After the appliance is installed, the plug should be accessible. - Do not damage the refrigerant circuit.
Daily use
- This appliance can be used by children aged from 8 years and above and persons with reduced physical, sensory or mental capabilities or lack of experience and knowledge if they have been given supervision or instruction concerning use of the appliance in a safe way and understand the hazards involved.
- Children aged from 3 to 8 years are allowed to load and unload, but not allowed to clean or install the refrigerating appliances.
- Keep away children under 3 years of age from the appliance unless they are con stantly supervised.
- Children shall not play with the appliance.
- If cool gas or other inflammable gas is leaking in the vicinity of the appliance, turn off the valve of the leaking gas, open the doors and windows and do not unplug a plug in the power cable of the refrigerator or any other appliance.
- Notice that the appliance is set for operation at a specific ambient range between 10 and 43°C. The appliance may not work properly if it is left for a long period at a temperature above or below the indicated range.
Do not place unstable articles (heavy objects, containers filled with water) on top of the refrigerator, to avoid personal injury caused by falling or electric shock caused by contact with water. - Do not pull on the door shelves. The door may be pulled slant, the bottle rack, may be pulled away, or the appliance may topple.
- Open and close the doors only with the handles. The gap between the doors and between the doors and the cabinet is very narrow. Do not extend your hands in these areas to avoid pinching your fingers. Open or close the refrigerator doors only when there are no children standing within the range of door movement.
![]()
- Do not store or use inflammable, explosive or corrosive materials in the appliance or in the vicinity.
- Do not store medicines, bacteria or chemical agents in the appliance. This appliance is a household appliance. It is not recommended to store materials that require strict temperatures.
- Never store liquids in bottles or cans (besides high percentage spirits) especially carbonated beverages in the freezer, as these will burst during freezing.
- Check the condition of food if a warming in the freezer has taken place.
- Do not set unnecessarily low temperature in the refrigerator compartment. Minus temperatures may occur at high settings. Attention: Bottles can burst
- Do not touch frozen goods with wet hands (wear gloves). Especially do not eat ice lollies immediately after removal from the freezer compartment. There is the risk to freeze or the formation of frost blisters. FIRST aid: keep immediately under running cold water. Do not pull away!
- Do not touch the inside surface of the freezer storage compartment when in operation, especially with wet hands, as your hands may freeze onto the surface.
- Unplug the appliance in the event of a power interruption or before cleaning. Allow at least 7 minutes before restarting the appliance, as frequent starting may damage the compressor.
- Do not use electrical devices inside the food storage compartments of the appliance, unless they are of the type recommended by the manufacturer. Maintenance / cleaning
- Make sure children are supervised if they carry out cleaning and maintenance.
- Disconnect the appliance from the electrical supply before undertaking any routine maintenance. Allow at least 5 minutes before restarting the appliance, as frequent starting may damage the compressor.
- Hold the plug, not the cable, when unplugging the appliance.
- Do not clean the appliance with hard brushes, wire brushes, detergent powder, petrol, amylacetate, acetone and similar organic solutions, acid or alkaline solutions. Please clean with special refrigerator detergent to avoid damage.
- Do not scrape off frost and ice with sharp objects. Do not use sprays, electric heaters like heater, hair dryer, steam cleaners or other sources of heat in order to avoid damage to the plastic parts.
- Do not use mechanical devices or other means to accelerate the defrosting process, other than those recommended by the manufacturer.
- If the supply cord is damaged, it must be replaced by the manufacturer, its service agent or similarly qualified persons in order to avoid a hazard.
- Do not try to repair, disassemble or modify the appliance by yourself. In case of repair please contact our customer service.
Eliminate the dust on the back of the unit at least once in the year to avoid hazard by fire, as well as increased energy consumption. - Do not spray or flush the appliance during cleaning.
- Do not use water spray or steam to clean the appliance.
- Do not clean the cold glass shelves with hot water. Sudden temperature change may cause the glass to break
![]()
Refrigerant gas information
The appliance contains the flammable refrigerant ISOBUTANE (R600a). Make sure the refrigerant circuit is not damaged during transportation or installation. Leaking refrigerant may cause eye injuries or ignite. If a damage has occurred, keep away open fire sources, thoroughly ventilate the room, do not plug or unplug the power cords of the appliance or any other appliance. Inform the customer service.
In case of eyes get into contact with the refrigerant, rinse immediately it under running water and call immediately the eye specialist.
Customer service
We recommend our Haier Customer Service and the use of original spare parts.
If you have a problem with your appliance, please first check section TROUBLESHOOTING.
If you cannot find a solution there, please contact
- your local dealer or
- our European Call Service-Center (see listed phone numbers below) or
- the Service & Support area at www.haier.com where you can activate the service
- claim and also find FAQs.
To contact our Service, ensure that you have the model and serial numbers available. The information can be found on the rating plate.
Also check the Warranty Card supplied with the product in case of warranty.
| European Call Service-Center |
| Country* | Phone number | Costs |
| Haier Italy (IT) | 199 100 912 | |
| Haier Spain (ES) | 902 509 123 | |
| Haier Germany (DE) | 0180 5 39 39 99 | - 14 Ct/Min Landline
- max 42 Ct/Min Mobile
|
| Haier Austria (AT) | 0820 001 205 | - 14,53 Ct/Min Landline
- max 20 Ct/Min all others
|
| Haier United Kingdom (UK) | 0333 003 8122 | |
| Haier France (FR) | 0980 406 409 | |
* For other countries please refer to www.haier.com
Haier Europe Trading S.r.l
Branch UK
Westgate House, Westgate, Ealing
London, W5 1YY
*For further information about the product, please consult https://eprel.ec.europe.eu/ or scan the QR on the energy label supplied with the appliance.
Documents / Resources
References
Download manual
Need help?
Do you have a question about the 5 Series and is the answer not in the manual?
Questions and answers